|
|
(21), (22) Заявка: 2008127238/11, 07.07.2008
(24) Дата начала отсчета срока действия патента:
07.07.2008
(46) Опубликовано: 10.04.2010
(56) Список документов, цитированных в отчете о поиске:
RU 2235233 С2, 27.08.2004. RU 2303180 С2, 20.07.2007. JP 2003118571 A, 23.04.2003. GB 1450441 A, 22.09.1976.
Адрес для переписки:
170003, г.Тверь, Петербургское ш., 45Г, ЗАО НО “ТИВ”, зам. директора по научной работе А.А. Юхневскому
|
(72) Автор(ы):
Скачков Александр Николаевич (RU), Зайцев Андрей Валентинович (RU), Василевский Виктор Валентинович (RU)
(73) Патентообладатель(и):
Закрытое акционерное общество Научная организация “Тверской институт вагоностроения” (ЗАО НО “ТИВ”) (RU)
|
(54) СИСТЕМА ДЕМПФИРОВАНИЯ ВЕРТИКАЛЬНЫХ КОЛЕБАНИЙ КУЗОВА ЖЕЛЕЗНОДОРОЖНОГО ПАССАЖИРСКОГО ВАГОНА
(57) Реферат:
Изобретение относится к устройствам гашения колебаний, в частности на железнодорожном транспорте. Система содержит установленные под кузовом вертикально гидравлические демпферы, датчики частоты колебаний кузова вагона, установленные на кузове в зоне расположения каждого демпфера, датчик скорости вагона, блок управления, источник электропитания. Каждый демпфер выполнен в виде поршневого насоса с напорной и безнапорной полостями для рабочей жидкости, сообщающимися друг с другом через дроссель. Демпфер снабжен штоком дросселя с возможностью регулировки коэффициента сопротивления за счет перекрытия дроссельного отверстия. Шток дросселя каждого демпфера снабжен приводом, выполненным в виде электромагнита, сердечник которого связан со штоком дросселя. Выходы датчиков частоты колебаний кузова вагона, датчика скорости вагона, источника электропитания соединены с входами блока управления. Катушка электромагнита каждого из демпферов присоединена к соответствующему выходу блока управления. Блок управления обеспечивает автоматическую подачу необходимой величины требуемого электрического сигнала на электромагниты каждого демпфера. Достигается повышение качества виброзащиты. 1 з.п. ф-лы, 1 ил.
Область техники
Изобретение относится к машиностроению, к устройствам гашения колебаний, в частности на железнодорожном транспорте, преимущественно в средствах демпфирования колебаний пассажирских вагонов.
Уровень техники
Известны устройства гашения колебаний (Авторское свидетельство СССР 495467, кл. F16F 9/06, 1973 – [1] и заявка РФ 2006124009 – [2]), где используется электропроводящая жидкость с ферромагнитным порошком. Недостатком этих устройств является низкая эффективность виброзащиты.
Известны устройства гашения колебаний (Авторское свидетельство СССР 1753091, кл. F16F 6/00, 1992 – [3], патенты РФ 2150621- [4] и 2249734, кл. F16F 5/00, 2004 г. – [5]), где демпфирование осуществляется с помошью упругих элементов-сильфонов. В этих устройствах эффективность виброзащиты повышена за счет изменения собственной частоты колебаний устройства.
Известны гидравлические гасители колебаний (а.с. 1084508, 1983 – [6], патенты РФ 2324088 – [7], 2324089 – [8], 2268419 – [9], 2215232 – [10], патент США 3731709 – [11]), где для демпфирования используют закручивающий момент, воспринимаемый упругим штоком поршня.
Известны также устройства с магнитоуправляемыми клапанами (патенты РФ 2313716, кл. F16К 31/08, 2007 г. – [12], 2307279, кл. F16К 31/08, 2007 г. [13], патент DE 10009835, кл. F16К 31/08, F16Н 01, 2007 г. – [14]). Недостатком указанных устройств является невозможность применения в сложных условиях эксплуатации, в частности невозможность применения на железнодорожных вагонах.
Системы демпфирования колебаний пассажирских вагонов, в частности с гидравлическими демпферами, предназначены для гашения энергии колебаний вагонов, особенно в резонансных режимах, когда от воздействия неровностей пути на движущийся вагон появляется тенденция к нарастанию амплитуд колебаний вагона, что увеличивает нагрузку на вагон и железнодорожный путь, ухудшает условия комфорта пассажиров. Для обеспечения устойчивых процессов колебаний вагона при любых сочетаниях возмущающих сил, действующих на него при движении с различными скоростями, целесообразно обеспечить, чтобы основной параметр гидродемпферов, а именно их коэффициент сопротивления, изменялся в соответствии со скоростью движения и частотами колебаний кузова.
Известны гидравлические гасители колебаний, где используют предохранительные и обратные клапаны с подпружиненными запорными органами и дроссельный канал, который соединяет надпоршневую полость цилиндра с резервуаром с рабочей жидкостью, образованным между корпусом и цилиндром (см. авт.св. СССР 362958, кл. В61F 5/10, 1972 г. – [15]; авт.св. СССР 1006819, кл. F16F 5/00, 1983 г. – [16]; авт.св. 1044859 – [17]; авт.св. СССР 1325225, кл. F16F 5/00, 1987 г. – [18]; гаситель колебаний пассажирских вагонов КВЗ-ЛИИЖТ – [19]; гаситель колебаний пассажирских вагонов 4065.33.000 РЭ, ТВЗ, 2003 г. – [20] патент РФ 2020310 кл. F16F 5/00, 1994 г. – [21], 2145010 кл. F16F 5/00, 2000 г. – [22], 2230241, 2006 г. – [23], 2145010 кл. F16F 5/00, 2000 г. – [24]).
Эти устройства могут быть применены в сложных условиях эксплуатации, но создаваемые ими силы сопротивления не имеют широкой регулировки и не всегда способны обеспечить плавность хода, а следовательно, и создание комфортных условий для людей, находящихся в транспортных средствах с такими гасителями колебаний.
Известна система демпфирования колебаний кузова железнодорожного пассажирского вагона [25] Соколов М.М., Варава В.Н., Левит Г.М. Гасители колебаний подвижного состава. М. «Транспорт», 1985 г., стр.17, рис.2.1, содержащая установленные под кузовом гидравлические демпферы, каждый из которых выполнен в виде поршневого насоса с напорной и безнапорной полостями для рабочей жидкости, сообщающимися друг с другом через дроссель с определенным сечением проходного отверстия. При колебаниях кузова во время движения вагона по неровностям железнодорожного пути в каждом гидродемпфере происходит продавливание рабочей жидкости через узкое проходное сечение дросселя. При этом механическая энергия колебаний вагона превращается в тепло, уменьшая интенсивность этих колебаний. При постоянном коэффициенте сопротивления гидродемпферов (постоянном сечении проходного отверстия дросселя) проходное сечение дросселя, а следовательно, и коэффициент сопротивления выбираются так, чтобы уменьшить амплитуды колебаний кузова, обеспечить хорошее демпфирование колебаний кузова в зоне основного резонанса, то есть при низких скоростях движения вагона и низких частотах колебаний кузова. В таких гидродемпферах при высоких частотах колебаний кузова, возникающих при высоких скоростях движения вагона, рабочая жидкость не успевает перетекать через дроссель. Демпферы при этом уподобляются жестким твердым телам и увеличивают динамический коэффициент передачи воздействия неровностей пути на кузов. Это является существенным недостатком системы демпфирования [25] и доказывает целесообразность использования системы, демпферы которой имеют регулируемое значение коэффициента сопротивления.
Наиболее близкой к предлагаемому техническому решению по технической сущности и назначению является система демпфирования вертикальных колебаний кузова пассажирского вагона, содержащая гидродемпферы с обеспечением возможности регулировки параметра их сопротивления (Демпфер подвески транспортного средства. Патент РФ 2235233, F16F 5/00, 9/18, 9/34, 9/36, 2004 г. – [26]). Эта система содержит установленные под кузовом вертикально гидравлические демпферы, каждый из которых выполнен в виде поршневого насоса с напорной и безнапорной полостями для рабочей жидкости, сообщающимися друг с другом через дроссель, снабженный штоком перекрытия дроссельного отверстия, связанным с приводом перемещения штока и возможностью за счет этого регулировать коэффициент сопротивления демпфера. Шток дросселя в известной системе демпфирования [26] выполнен с кольцевой проточкой, перемещающейся при осевом движении штока в зоне проходного сечения дросселя, за счет чего обеспечивается изменение степени перекрытия проходного сечения дросселя и коэффициента сопротивления демпфера. Другой конец штока снабжен резьбой и закреплен в резьбовом отверстии корпуса гидродемпфера с выходом головки винта штока наружу корпуса демпфера. Привод осевых перемещений штока обеспечивается вращением головки штока. Достоинством данной системы демпфирования [26] является возможность регулировки коэффициентов сопротивления, например, после их изготовления, а также в эксплуатации путем осуществления предварительных настроек в соответствии с условиями предполагаемого режима эксплуатации и качества железнодорожного полотна. Недостатком этой системы является невозможность регулирования коэффициентов сопротивления демпферов во время движения вагонов.
Раскрытие изобретения
В основу изобретения поставлена задача создания системы демпфирования колебаний кузова железнодорожного пассажирского вагона, которая обеспечивает повышение качества виброзащиты и улучшение комфортных условий для пассажиров за счет улучшения динамических характеристик колебаний кузова вагона в вертикальной плоскости при всех режимах его эксплуатации.
Решение поставленной задачи достигается тем, что в известной системе демпфирования колебаний кузова железнодорожного пассажирского вагона, содержащей установленные под кузовом вертикально гидравлические демпферы, каждый из которых выполнен в виде поршневого насоса с напорной и безнапорной полостями для рабочей жидкости, сообщающимися друг с другом через дроссель, и снабжен штоком дросселя с обеспечением возможности регулировки коэффициента сопротивления за счет перекрытия дроссельного отверстия, согласно изобретению введены датчики частоты колебаний кузова вагона, установленные на кузове в зоне расположения каждого демпфера, датчик скорости вагона, блок управления, источник электропитания, шток дросселя каждого демпфера снабжен приводом, выполненным в виде электромагнита, сердечник которого связан со штоком дросселя, выходы датчиков частоты колебаний кузова вагона, датчика скорости вагона, источника электропитания соединены с входами блока управления, катушка электромагнита каждого из демпферов присоединена к соответствующему выходу блока управления, причем блок управления выполнен с обеспечением автоматической подачи необходимой величины требуемого электрического сигнала на электромагниты каждого демпфера для реализации коэффициента сопротивления в соответствии с запрограммированной зависимостью мгновенного значения коэффициента сопротивления каждого демпфера от частот колебаний кузова и скорости движения вагона, обеспечивающей минимизацию вертикальных ускорений кузова.
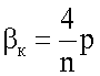
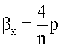
Предусмотрено также, что в блоке управления реализован алгоритм его срабатывания в соответствии с запрограммированной зависимостью мгновенного значения коэффициента сопротивления каждого из n демпферов, имеющей вид:

при fк<2,

при fк=[2-4],

при fк>4,
где p=45 при V=[0-140];
при V=[140-220];
p=25 при V>220;
к – порядковый номер гидравлического демпфера вагона;
к – мгновенное значение коэффициента сопротивления к-го демпфера в зависимости от частоты колебаний и скорости вагона (кНс/м);
р – коэффициент, учитывающий скорость вагона;
fк– частота колебаний кузова вагона в зоне установки к-го демпфера (Гц);
V – скорость движения вагона вдоль пути (км/ч).
Введение указанных признаков позволяет создать систему демпфирования с автоматическим изменением параметров гидродемпферов пассажирского вагона, обеспечивающую снижение интенсивности колебаний кузова не только в основной резонансной зоне (при низких скоростях движения вагона и низких частотах колебаний кузова), но и в зарезонансных зонах, возникающих при высоких скоростях движения вагона и высоких частотах колебаний кузова. За счет этого улучшаются динамические характеристики вагона в целом, улучшается плавность хода вагона, то есть обеспечивается повышение качества виброзащиты и улучшение комфортных условий для пассажиров.
При анализе технического решения на соответствие критерию «новизна» выявлено, что часть признаков заявленной совокупности является новой, следовательно, изобретение соответствует критерию «новизна». При анализе изобретения на соответствие критерию «изобретательский уровень» выявлено, что введение новых отличительных признаков приводит к получению нового технического свойства: получена зависимость коэффициента сопротивления в зависимости от частоты и скорости, в блоке управления вырабатываются сигналы для управления электромагнитами гидродемпферов в соответствии с этой зависимостью, в результате реализуется переменный коэффициент сопротивления демпфирования и осуществляется минимизация вертикальных ускорений кузова в данный момент времени.
Техническое решение анализируемого объекта обладает новизной и соответствует критерию «изобретательский уровень», поскольку оно представляет собой новую совокупность признаков и нового технического свойства, а также представляет собой новое расположение, количество и связи элементов. Предлагаемое устройство не следует явным образом из уровня техники. Кроме того, посредством предлагаемого технического решения достигнут результат, удовлетворяющий существующим потребностям в создании гидравлических гасителей колебаний с повышенной эффективностью виброзащиты, обеспечивающих комфортные условия проезда пассажиров. Проведенные маркетинговые исследования показали назревшую потребность в таком товаре на рынке.
Краткое описание чертежей
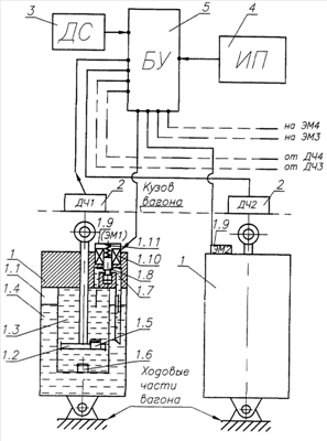
Сущность предложенного изобретения поясняется чертежом, на котором схематично представлен вариант реализации системы демпфирования вертикальных колебаний кузова железнодорожного пассажирского вагона (рассматривается система демпфирования с четырьмя демпферами).
Позициями на чертеже обозначены:
1 – гидравлический демпфер,
1.1 – корпус демпфера,
1.2 – шток-поршень демпфера,
1.3 – напорная полость демпфера,
1.4 – безнапорная полость демпфера,
1.5, 1.6 – обратные клапаны демпфера,
1.7 – дроссельное отверстие (дроссель) демпфера,
1.8 – шток дросселя.
1.9 – электромагнит (ЭМ) привода штока дросселя.
1.10 – индукционная катушка электромагнита,
1.11 – возвратная пружина электромагнита,
2 – датчик частоты (ДЧ) колебаний кузова вагона,
3 – датчик скорости (ДС) движения вагона,
4 – источник питания (ИП),
5 – блок управления (БУ).
Осуществление изобретения
Осуществление предлагаемой системы демпфирования вертикальных колебаний кузова вагона рассматривается на примере ее реализации с четырьмя гидродемпферами (см. чертеж). Предлагаемая система демпфирования содержит установленные под кузовом вертикально гидравлические демпферы 1, каждый из которых имеет размещенный в корпусе 1.1 демпфера шток-поршень 1.2. Корпус 1.1 выполнен с двумя полостями для рабочей жидкости: напорной полостью 1.3 и безнапорной полостью 1.4. Демпфер оборудован двумя обратными клапанами, один из которых 1.5 установлен в поршне, другой 1.6 – в корпусе демпфера. Напорная полость 1.3 сообщается с безнапорной полостью 1.4 через дроссельное отверстие (дроссель) 1.7, которое перекрывается штоком дросселя 1.8. Шток дросселя 1.8 в зоне дроссельного отверстия 1.7 выполнен с кольцевой канавкой и при осевых перемещениях штока изменяет проходное сечение дросселя, а следовательно, и коэффициент сопротивления демпфера. Привод осевых перемещений штока 1.8 осуществляется электромагнитом 1.9 с катушкой 1.10 и сердечником, связанным со штоком 1.8 дросселя. В данной конструкции сердечник электромагнита и шток дросселя 1.8 выполнены за одно целое (шток – сердечник перекрытия дроссельного отверстия демпфера). Указанный шток – сердечник 1.8 подпружинен относительно корпуса электромагнита возвратной пружиной 1.11.
Предлагаемая система демпфирования колебаний оснащена датчиками 2 частоты колебаний вагона, установленными в кузове вагона в зоне расположения каждого гидродемпфера, датчиком скорости 3 движения вагона вдоль пути, источником 4 электропитания и блоком управления 5. Каждый из датчиков 2, 3 и источник электропитания 4 присоединены к соответствующим входным клеммам блока управления 5, выходные клеммы которого электрически связаны с катушками электромагнитов 1.9 каждого демпфера.
Блок управления 5 предназначен для выработки электрических сигналов управления электромагнитом каждого демпфера и автоматической передачи их на электромагниты 1.9 соответствующих демпферов. В блоке управления 5 реализован алгоритм выработки таких сигналов в соответствии с запрограммированной (и заложенной изначально в блоке управления) зависимостью коэффициента сопротивления демпфера от скорости движения вагона (по датчику скорости) и частоты колебаний кузова (по датчикам частоты), обеспечивающей минимизацию вертикальных ускорений кузова в данный момент времени.
Запрограммированная зависимость мгновенного значения коэффициента сопротивления каждого демпфера, в общем случае -при наличии в системе демпфирования n гидродемпферов, имеет вид:

при fк<2;

при fк=[2-4];

при fк>4,
где p=45 при V=[0-140];
при V=[140-220];
p=25 при V>220;
к – порядковый номер гидравлического демпфера вагона;
к – мгновенное значение коэффициента сопротивления к-го демпфера в зависимости от частоты колебаний и скорости вагона (кНс/м);
р – коэффициент, учитывающий скорость вагона;
fк – частота колебаний кузова вагона в зоне установки к-го демпфера (Гц);
V – скорость движения вагона вдоль пути (км/ч).
Указанная зависимость получена в результате обобщающего многовариантного анализа колебаний кузова вагона при компьютерном моделировании динамики пассажирских вагонов с учетом широкого частотного спектра реальных возмущающих воздействий железнодорожного пути на вагон, а так же в результате ходовых испытаний пассажирских вагонов.
Для рассматриваемого примера эта зависимость принимает вид:
к=p при fк<2;

при fк=[2-4];
к=10 при fк>4,
где p=45 при V=[0-140];
при V=[140-220];
p=25 при V>220.
Предлагаемая система демпфирования вертикальных колебаний кузова пассажирского вагона работает следующим образом.
Возникающие при движении вагона по неровностям железнодорожного пути колебания кузова вагона вызывают в каждом гидравлическом демпфере 1 перемещение штока-поршня 1.2 относительно корпуса 1.1. При циклическом движении штока-поршня 1.2 вверх-вниз и соответствующем функционировании обратных клапанов 1.5 и 1.6 гидродемпферы работают как поршневые насосы, перекачивая рабочую жидкость из безнапорной полости 1.4 в напорную полость 1.3, и через дроссельное отверстие 1.7 выдавливают жидкость в безнапорную полость 1.4. При этом установленные над каждым демпфером в зоне расположения каждого демпфера датчики 2 частот колебаний кузова вагона (ДЧ-1, ДЧ-2, ДЧ-3, ДЧ-4) подают сигналы на соответствующие входы блока управления 5. На вход блока 5 подается также напряжение от источника питания 4 и сигналы от датчика 3 скорости движения вагона. При низких скоростях движения (от 0 до 140 км/ч) и низких частотах колебаний кузова в зонах установки датчиков 2 (до 2 Гц) в соответствии с системой уравнений (1) блок управления 5 через выходные контакты подает сигналы (например, в виде соответствующих напряжений или токов) на электромагнитные катушки 1.10, соответствующие такому положению сердечника-штока 1.8, находящегося под воздействием втягивающей силы магнитного поля этой катушки и пружины 1.11, при котором он перекрывает проходное сечение дроссельного отверстия 1.7, обеспечивая коэффициент сопротивления демпфера, равный его максимальному значению =45 кНс/м, оптимальному для гашения колебании в зоне основного резонанса.
С увеличением скорости движения вагона (более 140 км/ч) или при увеличении частоты колебаний (более 2 Гц) блок управления работает по другим функциональным зависимостям системы уравнений (1), а именно:

при fк=[2-4],
где 
В этом режиме (при увеличении скорости до 220 км/ч и частоты колебаний до 4 Гц) коэффициенты сопротивления демпферов плавно уменьшаются, и при частотах колебаний более 4 Гц обеспечивается постоянное минимальное его значение, равное 10 кНс/м. При этом устраняется указанный ранее существенный недостаток систем демпфирования колебаний вагонов с демпферами, имеющими постоянные значения коэффициентов сопротивления, настроенными на гашение основного резонанса колебаний (при низкой скорости вагона и низких частотах колебаний кузова). В известной системе, как это отмечалось ранее, при высоких скоростях движения вагонов и высоких частотах колебаний кузова рабочая жидкость демпферов не успевает перетекать через узкий дроссель, и демпферы уподобляются жестким твердым телам, увеличивая динамический коэффициент передачи воздействия неровностей пути на кузов. В предлагаемой системе демпфирования этот недостаток устраняется за счет того, что коэффициенты сопротивления автоматически подстраиваются под скоростной режим движения и частоты колебаний кузова, уменьшая при этом вертикальные ускорения кузова, динамическое воздействие пути на вагон, что обеспечивает повышение плавности хода и долговечность вагона. Благодаря введенным существенным отличительным признакам изобретения в предлагаемой системе демпферы имеют независимые друг от друга цепи управления. Они реагируют на общую для них скорость движения вагона и разную для каждого демпфера частоту колебаний кузова. Поэтому система реагирует не только на повышение скорости движения вагона и частот колебаний кузова или на их снижение, но и на различные комбинации этих параметров, например на повышение частот колебаний в зоне низких скоростей движения вагона или на снижение частот в зоне высоких скоростей движения. Таким образом, система в целом гасит резонансные явления не только в зоне основного резонанса (на низкой частоте), но и в зарезонансных зонах, возникающих при высоких скоростях движения вагона и высоких частотах колебаний кузова, которые могут возникать во всем эксплуатационном диапазоне изменения скорости вагонов, а так же на железнодорожных путях с разным качеством железнодорожного полотна.
Эффективность предлагаемой системы демпфирования подтверждается результатами компьютерного моделирования динамики вагонов при различных режимах движения и ходовыми испытаниями пассажирских вагонов.
Как видно из примера осуществления, предложенное техническое решение может быть осуществлено с помощью доступных средств и методов и позволяет получить новый технический результат. Изобретение может быть тиражировано и, следовательно, соответствует критерию «промышленная применимость».
Промышленная применимость
Предложенная система демпфирования изготовлена и испытана. Результаты испытаний показали, что она улучшает плавность хода пассажирских вагонов на 7-10%. В настоящее время ведется подготовка производства для изготовления партии опытных вагонов.
Источники информации
1. Авторское свидетельство СССР 495467, кл. F16F 9/06, 1973.
2. Заявка РФ 2006124009, кл. F16F 9/06, 2006.
3. Авторское свидетельство СССР 1753091, кл. F16F 6/00, 1992.
4. Патент РФ 2150621.
5. Патент РФ 2249734, кл. F16F 5/00, 2004 г.
6. Авторское свидетельство СССР 1084508, 1983.
7. Патент РФ 2324088.
8. Патент РФ 2324089.
9. Патент РФ 2268419.
10. Патент РФ 2215232.
11. Патент США 3731709.
12. Патент РФ 2313716, кл. F16К 31/08, 2007 г.
13. Патент РФ 2307279, кл. F16К 31/08, 2007 г.
14. Патент DE 10009835, кл. F16К 31/08, F16Н 01, 2007 г.
15. Авторское свидетельство СССР 362958, кл. В61F 5/10, 1972 г.
16. Авторское свидетельство СССР 1006819, кл. F16F 5/00, 1983 г.
17. Авторское свидетельство СССР 1044859 – [17].
18. Авторское свидетельство СССР 1325225, кл. F16F 5/00, 1987 г.
19. Гаситель колебаний пассажирских вагонов КВЗ-ЛИИЖТ, 2004.
20. Гаситель колебаний пассажирских вагонов 4065.33.000 РЭ, ТВЗ, 2003.
21. Патент РФ 2020310 кл. F16F 5/00, 1994 г.
22. Патент РФ 2145010 кл. F16F 5/00, 2000 г.
23. Патент РФ 2230241, 2006 г.
24. Патент РФ 2145010, кл. F16F 5/00, 2000 г.
25. Соколов М.М., Варава В.Н., Левит Г.М. Гасители колебаний подвижного состава. М.: «Транспорт», 1985 г., стр.17, рис.2.1.
26. Демпфер подвески транспортного средства. Патент РФ 2235233, F16F 5/00, 9/18, 9/34, 9/36, 2004 г. Прототип.
Формула изобретения
1. Система демпфирования вертикальных колебаний кузова железнодорожного пассажирского вагона, содержащая установленные под кузовом вертикально гидравлические демпферы, каждый из которых выполнен в виде поршневого насоса с напорной и безнапорной полостями для рабочей жидкости, сообщающимися друг с другом через дроссель, и снабжен штоком дросселя с обеспечением возможности регулировки коэффициента сопротивления за счет перекрытия дроссельного отверстия, отличающаяся тем, что введены датчики частоты колебаний кузова вагона, установленные на кузове в зоне расположения каждого демпфера, датчик скорости вагона, блок управления, источник электропитания, шток дросселя каждого демпфера снабжен приводом, выполненным в виде электромагнита, сердечник которого связан со штоком дросселя, выходы датчиков частоты колебаний кузова вагона, датчика скорости вагона, источника электропитания соединены с входами блока управления, катушка электромагнита каждого из демпферов присоединена к соответствующему выходу блока управления, причем блок управления выполнен с обеспечением автоматической подачи необходимой величины требуемого электрического сигнала на электромагниты каждого демпфера для реализации коэффициента сопротивления в соответствии с запрограммированной зависимостью мгновенного значения коэффициента сопротивления каждого демпфера от частот колебаний кузова и скорости движения вагона, обеспечивающей минимизацию вертикальных ускорений кузова.
2. Система демпфирования колебаний кузова железнодорожного пассажирского вагона по п.1, отличающаяся тем, что в блоке управления реализован алгоритм его срабатывания в соответствии с запрограммированной зависимостью мгновенного значения коэффициента сопротивления каждого из демпферов, которая имеет вид:
,

, где p=45 при V=[0-140],
, р=25 при V>220; к – порядковый номер гидравлического демпфера вагона;
к – мгновенное значение коэффициента сопротивления к – того демпфера в зависимости от частоты колебаний и скорости вагона (кНс/м); p – коэффициент, учитывающий скорость вагона; fк – частота колебаний кузова вагона в зоне установки к – того демпфера (Гц); V – скорость движения вагона вдоль пути (км/ч).
РИСУНКИ
|
|