|
|
(21), (22) Заявка: 2006123083/06, 29.06.2006
(24) Дата начала отсчета срока действия патента:
29.06.2006
(43) Дата публикации заявки: 10.01.2008
(46) Опубликовано: 10.04.2010
(56) Список документов, цитированных в отчете о поиске:
RU 2160383 С2, 27.06.2006. SU 1201558 А, 30.12.1985. RU 2154198 C1, 10.08.2000. GE 3460 В, 10.09.2004. GE 3102 В, 27.10.2003. UA 8387 U, 15.08.2005.
Адрес для переписки:
113534, Москва, ул. Кировоградская, 42, корп.1, кв.363, А.С.Полякову
|
(72) Автор(ы):
Поляков Анатолий Сергеевич (RU)
(73) Патентообладатель(и):
Поляков Анатолий Сергеевич (RU)
|
(54) ВИБРАЦИОННЫЙ НАСОС
(57) Реферат:
Изобретение относится к области насосостроения и предназначено для использования в системах перекачивания жидкостей из скважин, колодцев и других источников. Вибрационный насос содержит корпус 1, крышку 15, электромагнитный вибратор с упругим амортизатором 8, всасывающий и нагнетательный клапаны 19 и 20, установленные на крышке 15, рабочую камеру 16, образованную между амортизатором 8 и крышкой 15. Амортизатор 8 выполнен металлорезиновым. Его металлический элемент выполнен в виде кольца 9, центральной втулки с глухой резьбой 10 и упругой части между кольцом и втулкой, которая выполнена в виде мембраны 11 с волновым изгибом или множества лепестков с тем же изгибом. Изобретение направлено на упрощение конструкции насоса при увеличении его надежности и производительности. 1 з.п. ф-лы, 5 ил.
Изобретение относится к области насосостроения и может быть использовано в быту для подъема жидкостей из скважин, колодцев и других источников.
Известен вибрационный насос, содержащий корпус, крышку, всасывающий клапан и поршень, связанный с электромагнитным вибратором, снабженным упругим резинометаллическим амортизатором, имеющим профильную рабочую часть, выполненную в виде тела вращения, площади каждого соосного концентрического сечения которого равны между собой (А.с. 737645, 30.05.1980, F04B 43/04).
Указанный насос, имея определенные преимущества перед другими аналогами, все же не лишен некоторых недостатков. В указанном насосе полость электромагнитного вибратора отделена от рабочей камеры и проточного кольцевого канала амортизатором, на котором установлен стакан, состоящий из цилиндра, опорного седла и упругой диафрагмы. Амортизатор, состоящий из металлического кольца и вибростойкой резины, имеет профильную рабочую часть, выполненную в виде тела вращения, площади каждого соосного концентрического сечения которого равны между собой. В указанном насосе он работает, как упругий элемент и закреплен на штоке якоря электромагнита гайками. На этом же штоке гайками и шайбами закреплен поршень, выполненный из вибростойкой резины. Этот набор деталей усложняет конструкцию насоса, а гайки и шайбы в водной среде покрываются ржавчиной. Наиболее экономичный режим работы насоса – резонансный, а он зависит от жесткости системы и приведенной массы подвижных деталей. В этом насосе жесткость системы складывается из жесткости упругой диафрагмы и жесткости упругого амортизатора, которые изготовлены из вибростойкой резины. Жесткость резиновых деталей, изготовленных путем вулканизации сырой резины зависит от многих параметров (температуры, давления, состава сырой резины) и не является постоянной величиной. Это осложняет настройку насоса в резонансном режиме работы.
Известен мембранный насос (Патент России 2278993, 27.06.2006, F04B 43/04). Вариант этого насоса содержит корпус, крышку, электромагнитный привод, мембрану из эластичного материала, всасывающий и нагнетательный клапаны, установленные в крышке. Упругий элемент этого насоса выполнен в виде металлической пружины, жестко соединенной с якорем, на котором установлена эластичная мембрана. Указанный насос сложен в изготовлении, дорог в эксплуатации и предназначен для дозированной перекачки специальных жидкостей.
Задачей изобретения является упрощение конструкции насоса при увеличении его надежности и производительности.
Поставленная задача решается посредством того, что в вибрационном насосе, содержащем корпус, крышку, электромагнитный вибратор с упругим амортизатором, всасывающий и нагнетательный клапаны, установленные на крышке, рабочую камеру, образованную между амортизатором и крышкой, согласно изобретению амортизатор выполнен металлорезиновым, а его металлический элемент выполнен в виде кольца, центральной втулки с глухой резьбой и упругой части между кольцом и втулкой, которая выполнена в виде мембраны с волновым изгибом или множества лепестков с тем же изгибом, при этом жесткость этого элемента составляет 10-70% от суммарной жесткости амортизатора.
Кроме того, упругая часть металлического элемента выполнена в виде плоской прорезной пружины.
Техническим результатом изобретения является простота конструкции, увеличение надежности в сочетании с высокой производительностью.
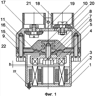
На фиг.1 представлен описываемый насос, на фиг.2 – первый вариант металлорезинового амортизатора, на фиг.3 – первый вариант упругого металлического элемента, на фиг.4 – второй вариант металлорезинового амортизатора, на фиг.5 – второй вариант упругого металлического элемента.
В корпусе 1 (фиг.1) установлен электромагнитный вибратор, включающий электромагнит, содержащий ярмо 2 и катушки 3. Якорь электромагнита 4 болтом 5 через регулировочную шайбу 6 и шайбу 7 закреплен в центральной втулке амортизатора 8. Металлический элемент (фиг.3) металлорезинового амортизатора 8 (фиг.2) выполнен в виде кольца 9, центральной втулки с глухой резьбой 10 и упругой части между кольцом и втулкой, которая выполнена в виде мембраны 11 с волновым изгибом или множества лепестков 12 с тем же изгибом. На фиг.4 представлен металлорезиновый упругий амортизатор 23, металлический, элемент которого выполнен в виде плоской прорезной пружины 13.
Суммарная жесткость амортизатора состоит из жесткости упругой части 11, или 12, или 13 металлического элемента и жесткости резиновой массы 14. Жесткость металлического элемента составляет 10-70%, а жесткость вибростойкой резины может составлять 30-90%. В такой конструкции амортизатора основную упругую нагрузку может нести упругий металлический элемент, а резиновая масса дополняет ее и служит защитным слоем от воздействия среды на этот элемент. Такая конструкция амортизатора позволяет легко варьировать его суммарной жесткостью с ограниченными наружными габаритами. Зазор h между якорем и ярмом электромагнита регулируется шайбой 6. Шайба 7 увеличивает надежность сборки от раскрутки при вибрации. Крышка 15 и амортизатор 8 образуют рабочую камеру 16. Они закреплены между собой через корпус 1. На крышке 15 выполнены два патрубка 17 и 18 с клапанами всасывания 19 и нагнетания 20. Насос подвешивается через отверстие 21 в крышке, а электропитание к катушкам подается по кабелю 22.
При питании электромагнита от сети переменного тока создаются колебания амортизатора, который работает как поршень с частотой, равной двойной частоте питающего тока. За период колебаний происходит периодические изменения объема рабочей камеры. Объем рабочей камеры изменяется не только за счет прогиба центральной части амортизатора, но и за счет дополнительного прогиба упругого металлического элемента. При увеличении объема рабочей камеры 16 открыт всасывающий клапан 19 и жидкость, в которую погружен насос, заполняет ее, при этом нагнетающий клапан закрыт, а при уменьшении объема камеры всасывающий клапан закрывается, и жидкость через нагнетающий клапан 20 заполняет напорный трубопровод.
Формула изобретения
1. Вибрационный насос, содержащий корпус, крышку, электромагнитный вибратор с упругим амортизатором, всасывающий и нагнетательный клапаны, установленные на крышке, рабочую камеру, образованную между амортизатором и крышкой, отличающийся тем, что амортизатор выполнен металлорезиновым, а его металлический элемент выполнен в виде кольца, центральной втулки с глухой резьбой и упругой части между кольцом и втулкой, которая выполнена в виде мембраны с волновым изгибом или множества лепестков с тем же изгибом, при этом жесткость этого элемента составляет 10-70% от суммарной жесткости амортизатора.
2. Вибрационный насос по п.1, отличающийся тем, что упругая часть металлического элемента выполнена в виде плоской прорезной пружины.
РИСУНКИ
|
|