|
|
(21), (22) Заявка: 2007121334/06, 30.11.2005
(24) Дата начала отсчета срока действия патента:
30.11.2005
(30) Конвенционный приоритет:
23.12.2004 DE 102004062301.5
(43) Дата публикации заявки: 27.01.2009
(46) Опубликовано: 10.04.2010
(56) Список документов, цитированных в отчете о поиске:
US 5779455 A, 14.07.1998. SU 1608360 A1, 23.11.1990. US 2002057974 A1, 16.05.2002. US 2721024 A, 18.10.1955.
(85) Дата перевода заявки PCT на национальную фазу:
23.07.2007
(86) Заявка PCT:
EP 2005/056359 20051130
(87) Публикация PCT:
WO 2006/069885 20060706
Адрес для переписки:
191186, Санкт-Петербург, а/я 230, ООО “АРС-Патент”, пат.пов. В.М.Рыбакову
|
(72) Автор(ы):
ШАДЕ Александер (DE), ШУБЕРТ Ян-Григор (DE)
(73) Патентообладатель(и):
БСХ БОШ УНД СИМЕНС ХАУСГЕРЕТЕ ГМБХ (DE)
|
(54) ЛИНЕЙНЫЙ КОМПРЕССОР И ПРИВОД ДЛЯ ТАКОГО КОМПРЕССОРА
(57) Реферат:
Устройство предназначено для использования в области компрессоростроения для сжатия хладагента в холодильном устройстве. Привод для линейного компрессора включает в себя каркас (21, 29, 30) и колеблющееся тело (24, 10), выполненное в каркасе (21, 29, 30) при помощи по меньшей мере одной пружинной мембраны (8) с возможностью возвратно-поступательного движения в определенном направлении, причем пружинная мембрана (8) имеет несколько ветвей (14), воздействующих одним концом на каркас (21, 29, 30), а другим концом на колеблющееся тело (24), каждому из которых соответствует возвратная пружина (31), противодействующая деформации ветви (14) в линейном направлении перемещения колеблющегося тела. 2 н. и 10 з.п.ф-лы, 3 ил.
Область техники
Данное изобретение относится к линейному компрессору, применяемому, в частности, для сжатия хладагента в холодильном устройстве, и, в частности, к приводу для приведения в колебательное движение поршня такого линейного компрессора.
Уровень техники
Из патентного документа US 6596032 B2 известен линейный компрессор, привод которого включает в себя каркас и колеблющееся тело, смонтированное в каркасе при помощи пружинной мембраны. Колеблющееся тело включает в себя постоянный магнит, поршневой шток, жестко связанный с постоянным магнитом, и поршень, шарнирно соединенный с поршневым штоком, смонтированный в цилиндре с возможностью возвратно-поступательного движения. Перемещение поршня совершается под действием электромагнита, расположенного вокруг цилиндра и взаимодействующего с постоянным магнитом. Пружинная мембрана, имеющая форму диска, в своем центре закреплена на поршневом штоке при помощи резьбы, а внешняя кромка пружинной мембраны связана с коромыслом, которое окружает цилиндр, электромагнит и постоянный магнит.
Колеблющееся тело и пружинная мембрана образуют колебательную систему, частота собственных колебаний которой определяется массой колеблющегося тела и пружинной мембраны, а также жесткостью пружинной мембраны. Пружинная мембрана допускает только небольшие амплитуды колебаний, так как каждое отклонение колеблющегося тела связано с растяжением пружинной мембраны. Вследствие незначительной амплитуды колебаний трудно надежно сократить мертвый объем цилиндра. Однако чем больше мертвый объем, тем ниже КПД компрессора. Кроме того, короткий ход цилиндра заставляет использовать для достижения той же производительности цилиндр с большим, относительно длины, диаметром. Достаточно надежное уплотнение соответственно большой окружности поршня обходится дорого.
Так как колеблющееся тело поддерживается в радиальном направлении только благодаря его соединению с мембраной, существует возможность раскачивания головки поршневого штока, несущей поршень, в стороны и стирания стенки цилиндра.
Для предотвращения этого для поршня предусмотрена подушка из сжатого газа, т.е. стенка цилиндра, вдоль которой ходит поршень, имеет отверстия, связанные с выпуском высокого давления линейного компрессора, чтобы между внутренней стенкой цилиндра и поршнем образовывалась газовая подушка. Однако такой газовый подшипник функционирует только в том случае, если на выходе линейного компрессора достигается необходимое избыточное давление, то есть такой газовый подшипник не функционирует во время пуска или останова компрессора. В эти промежутки времени существует опасность стирания поршнем стенки цилиндра, что вызывает преждевременный износ компрессора.
Из патентного документа US 6641377 B2 известен линейный компрессор по ограничительной части пункта 2 формулы изобретения. В этом линейном компрессоре со связанными поршнями каждый поршень поддерживается двумя двуплечими пружинными мембранами.
Благодаря изгибу рычагов становится возможным увеличенный ход поршня. Рычаги деформируются в направлении хода поршня легче, чем в поперечном к нему направлении, так что они препятствуют контакту поршня со стенкой цилиндра.
Для достижения желаемой производительности компрессора частота колебаний поршня должна быть не слишком низкой. Эта частота колебаний тем выше, чем жестче пружинная мембрана. Однако слишком жесткая пружинная мембрана при больших амплитудах колебаний подвергается риску усталости материала.
Раскрытие изобретения
Задачей данного изобретения является создание привода для линейного компрессора с каркасом и колеблющимся телом, смонтированным в каркасе при помощи пружинной мембраны, в котором пружинная мембрана без опасности усталости допускает большой ход колеблющегося тела, что позволяет достигать высокой производительности при незначительном диаметре поршня.
Чтобы значительная величина хода достигалась без опасности усталости материала, ветви по меньшей мере одной пружинной мембраны должны быть изготовлены из очень тонкого материала. Его толщина может быть рассчитана так, чтобы она являлась лишь достаточной для предотвращения отклонения колеблющегося тела в стороны. Однако такая слабая пружинная мембрана привела бы к низкой частоте собственных колебаний привода и тем самым, при неизменном значении хода, к низкой производительности компрессора, приводимого в действие приводом. Поэтому, чтобы получить частоту собственных колебаний привода, достаточную для необходимой производительности, согласно изобретению каждой ветви придана возвратная пружина, противодействующая деформации ветви, так что пружинная мембрана вместе с возвратными пружинами образует упругую систему, жесткость которой значительно выше, чем жесткость пружинной мембраны.
В простейшем случае каждая ветвь имеет единственный участок, изогнутый в одном направлении. Такая ветвь, отклоняясь, переносит на прикрепленное к нему колеблющееся тело также и крутящий момент, что наряду с возвратно-поступательным движением вызывает также крутильное колебание колеблющегося тела. Чтобы предотвратить мешающее влияние такого крутильного колебания, по меньшей мере некоторые части компрессора должны иметь вращательно-симметричную форму.
Но могут предусматриваться также и пары ветвей, согнутых соответственно в противоположных направлениях. При такой конструкции крутящие моменты, возникающие в изогнутых по-разному ветвях, компенсируют друг друга, так что колеблющееся тело наряду с возвратно-поступательным движением совсем не испытывает крутильных колебаний или испытывает их только в небольшой степени.
Предпочтительно каждая ветвь имеет два участка, изогнутых в различных направлениях. Поскольку и здесь различно изогнутые участки вызывают крутящие моменты в противоположных направлениях, может случиться так, что крутящий момент каждой отдельной ветви будет сделан очень малым или исчезнет.
Предпочтительно следует также предусмотреть по меньшей мере еще одну, вторую пружинную мембрану, ветви которой воздействуют на ту область колеблющегося тела, которая расположена на расстоянии в направлении колебательного движения от области воздействия первой пружинной мембраны. Двумя пружинными мембранами колеблющееся тело надежно приводится в линейное колебательное движение в желаемом направлении и отклонений в стороны, которые могли бы приводить к контакту между укрепленным на колеблющемся теле поршнем и окружающим поршень цилиндром, удается избегать.
Ветви такой пружинной мембраны предпочтительно сходятся вместе, в единое целое, на ее концах, воздействующих на каркас, и/или на ее концах, воздействующих на колеблющееся тело. Концы мембраны, воздействующие на каркас, могут быть связаны рамкой, составляющей единое целое с мембранами.
Имеется возможность сделать эффективный коэффициент жесткости комбинации пружинной мембраны и возвратной пружины изменяемым, чтобы при необходимости настраивать частоту собственных колебаний привода.
В качестве возвратной пружины предпочтительно используется спиральная пружина.
Предметом изобретения является также линейный компрессор с рабочей камерой, с поршнем, установленным в рабочей камере с возможностью возвратно-поступательного движения для сжатия рабочей среды, и с приводом описанного выше типа, соединенным с поршнем для приведения его в возвратно-поступательного движение.
Краткий комментарий к чертежам
Дальнейшие признаки и преимущества изобретения видны из приведенного ниже описания вариантов осуществления, ссылающихся на прилагаемые чертежи. На них показано следующее.
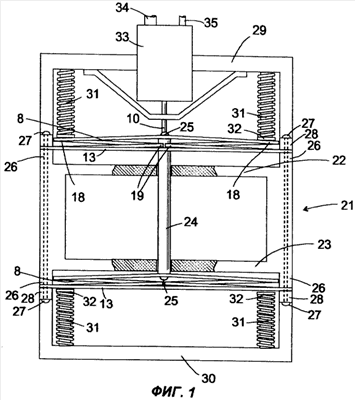
Фиг.1 – вид сбоку линейного компрессора согласно изобретению, с частичным разрезом.
Фиг.2 – вид сверху на пружинную мембрану согласно изобретению, применяемую в линейном компрессоре соответственно фиг.1.
Фиг.3 – вид сверху на мембранную пружину по второму варианту осуществления.
Осуществление изобретения
На фиг.1 показан с частичным разрезом вид линейного компрессора сбоку. Компрессор имеет каркас с центральной камерой 21, в двух противоположных стенках которой, для наглядности обозначаемых здесь, со ссылкой на изображение на чертеже, как крышка 22 и днище 23, образованы отверстия, сквозь которые проходит с зазором колеблющееся тело 24, имеющее форму стержня. Камера 21 предусмотрена для того, чтобы в ней размещались не показанные электромагниты, служащие для приведения в возвратно-поступательное движение постоянного магнита, встроенного в колеблющееся тело 24.
Концы колеблющегося тела 24 закреплены в центральных областях 16 двух пружинных мембран 8 при помощи болтов или заклепок 25.
Одна из пружинных мембран 8 показана на фиг.2 в горизонтальной проекции. Пружинная мембрана 8 имеет замкнутое внешнее кольцо или рамку 13 прямоугольной формы, которая стабилизирует мембрану до встраивания в компрессор и предохраняет от деформации. От углов рамки 13 к ее центральной области 16 проходят четыре ветви 14, каждая из которых составлена из трех прямолинейных участков 17 и из двух изогнутых участков 18,19, связывающих участки 17 между собой. Два участка 18, 19 каждой из ветвей 14 изогнуты в противоположных направлениях. На углах рамки 13 имеются четыре отверстия 20 для крепления пружинной мембраны 8.
Рамка 13 каждой пружинной мембраны 8 опирается на бортики 26, расположенные на расстоянии от крышки 22 или от днища 23 центральной камеры 21. Пружинные мембраны 8 удерживаются в бортиках 26 болтами или заклепками 27, которые проходят через основания 28 верхнего или нижнего пояса 29, 30 и через одно из отверстий 20 в углах рамы 13 и зажимают центральную камеру 21. Высота бортиков 26 задает максимальный ход перемещения колеблющегося тела 24; если это значение максимального хода превышено, то центральная область 16 пружинной мембраны 8 упираются в крышку 22 или в днище 23.
Когда центральная область 16 отклоняется, это приводит к небольшому прогибу изогнутых участков 18, 19. Благодаря противоположным направлениям изгибов двух участков 18, 19 каждой из ветвей прогиб вызывает соответственно противоположно направленные крутящие моменты, так что крутящий момент, воздействующий на центральную область 16 со стороны каждой из ветвей 14 в целом, незначителен. Кроме того, крутящие моменты соседних друг с другом ветвей 14 взаимно компенсируются, так как один из них является зеркальным отражение другого, и поэтому вызываемые ими крутящие моменты противоположны друг другу. Таким образом, центральная область 16, а также, следовательно, и укрепленный на ней поршневой шток 10 перемещаются строго линейно и без крутильных деформаций.
На нижнем поясе 30 укреплены две спиральные пружины 31, размещенные так, что каждая из их свободных головок 32, как показывает намеченный пунктиром контур на фиг.2, касается изогнутых участков 18 двух ветвей 14, когда последние отклоняются вниз, и таким образом препятствует отклонению вниз колеблющегося тела 24. Соответствующие спиральные пружины 31, которые касаются изогнутых участков 18 ветвей верхней пружинной мембраны 8 и препятствуют отклонению колеблющегося тела вверх, предусмотрены в верхнем поясе 29.
Далее, на верхнем поясе 29 укреплен цилиндр 33, в котором смонтирован с возможностью возвратно-поступательного движения не показанный на чертеже поршень, связанный с колеблющимся телом 24 через поршневой шток 10. Так как колеблющееся тело 24 перемещается строго линейно благодаря двум пружинным мембранам 8, поршневой шток 12 и вместе с ним связанный с ним поршень не может отклоняться в направлении, перпендикулярном направлению движения, и удается избегать трения поршня о внутреннюю стенку цилиндра 33. В результате движения поршня рабочая среда всасывается через всасывающий патрубок 34 цилиндра 33, сжимается там и снова выталкивается через напорный патрубок 35.
Когда колеблющееся тело 24 находится в точке реверса своего хода, вся его кинетическая энергия собрана в форме энергии деформации пружинных мембран 8 и спиральных пружин 31, причем распределение энергии между пружинами разных типов определяется их коэффициентами жесткости. Поэтому пружинные мембраны могут делаться очень тонкими и легко деформируемыми, чтобы даже при долговременной эксплуатации не проявлялась усталость материала, поскольку та энергия, которую пружинные мембраны не в состоянии сохранить в себе из-за недостаточной жесткости, может восприниматься спиральными пружинами 31 с соответствующими параметрами.
Кроме того, имеется возможность реализовать с одним тем же типом пружинной мембраны компрессоры различной производительности, комбинируя пружинные мембраны каждый раз со спиральными пружинами, имеющими различные коэффициенты жесткости, что в итоге дает соответственно различные собственные частоты колебательной системы.
Имеется также возможность делать частоту собственных колебаний привода настраиваемой, монтируя спиральные пружины 31 на поясах 29, 30 подвижно. Чем ближе к центральной области 16 пружинных мембран 8 находится та область ветвей 14, которой касаются головки 32 спиральных пружин 31, тем более жесткой является совокупная система из пружинной мембраны и спиральных пружин и тем выше частота собственных колебаний получающегося привода.
В крайнем случае можно у каждого из поясов 29, 30 заменить две спиральные пружины 31 одной единственной спиральной пружиной, контактирующей непосредственно с центральной областью 16.
На фиг.3 показан видоизмененный вариант пружинной мембраны 8 по фиг.2, применяемый вместо нее в компрессоре фиг.1. В пружинной мембране фиг.3 отсутствует внешняя защитная рамка 13; вместо нее только две правых и, соответственно, две левых ветви 14 на тех их концах, которые удалены от центральной области 16, попарно связаны полосой 34 материала. Ветви здесь при тех же габаритных размерах пружинной мембраны более широкие и соответственно более жесткие, чем в мембране фиг.2. Принцип действия не отличается от принципа действия пружинной мембраны фиг.3.
Формула изобретения
1. Привод для линейного компрессора, включающий в себя каркас (21, 29, 30) и колеблющееся тело (24, 10), установленное в каркасе (21, 29, 30) посредством по меньшей мере одной пружинной мембраны (8) с возможностью возвратно-поступательного движения в осевом направлении, причем пружинная мембрана (8) имеет несколько ветвей (14), которые взаимодействуют одним концом с каркасом (21, 29, 30), а другим концом – с колеблющимся телом (24), отличающийся тем, что каждой ветви (14) придана возвратная пружина (31), противодействующая деформации ветви (14) в линейном направлении перемещения колеблющегося тела.
2. Привод по п.1, отличающийся тем, что ветви (14) между двумя своими концами имеют изогнутую форму.
3. Привод по п.2, отличающийся тем, что каждая из ветвей (14) имеет по два участка (18, 19), изогнутых в различных направлениях.
4. Привод по одному из пп.1-3, отличающийся тем, что он включает в себя по меньшей мере еще одну, вторую, пружинную мембрану (8) и что первая и вторая пружинные мембраны (8) воздействуют на области колеблющегося тела (24, 10), расположенные на расстоянии друг от друга в направлении колебательного движения.
5. Привод по одному из пп.1-3, отличающийся тем, что ветви (14) одной мембранной пружины (8) своими концами (16), воздействующими на колеблющееся тело (24, 10), сходятся вместе в единое целое.
6. Привод по одному из пп.1-3, отличающийся тем, что рычаги (14) одной мембранной пружины (8) своими концами, воздействующими на каркас (21, 29, 30), сходятся вместе в единое целое.
7. Привод по п.6, отличающийся тем, что концы мембранной пружины, воздействующие на каркас (21, 29, 30), связаны друг с другом рамкой (13), составляющей единое целое с ветвями (14).
8. Привод по одному из пп.1-3 и 7, отличающийся тем, что жесткость пружинной мембраны (8) в направлении деформации меньше, чем жесткость возвратной пружины (31).
9. Привод по одному из пп.1-3 и 7, отличающийся тем, что эффективный коэффициент жесткости комбинации пружинной мембраны (8) и возвратной пружины (31) является изменяемым.
10. Привод по одному из пп.1-3 и 7, отличающийся тем, что возвратная пружина (31) представляет собой спиральную пружину.
11. Привод по одному из пп.1-3 и 7, отличающийся тем, что масса колеблющегося тела (24, 10) больше, чем масса всех пружин (8, 31).
12. Линейный компрессор, содержащий рабочую камеру, поршень, установленный в рабочей камере с возможностью возвратно-поступательного движения для сжатия рабочей среды, а также соединенный с поршнем для создания возвратно-поступательного движения привод по одному из предыдущих пунктов.
РИСУНКИ
|
|