|
|
(21), (22) Заявка: 2009113875/09, 15.04.2009
(24) Дата начала отсчета срока действия патента:
15.04.2009
(46) Опубликовано: 27.03.2010
(56) Список документов, цитированных в отчете о поиске:
ПЕТРОВ Г.Н. Электрические машины, ч.3, Коллекторные машины постоянного и переменного тока. – М.: Энергия, 1968, с.8-29, 35. RU 2082275 C1, 20.06.1997. SU 1399854 A1, 30.05.1988. SU 1119129 A, 15.10.1984. RU 2185018 C2, 10.07.2002. RU 2171525 С1, 27.02.2001. DE 10361254 A1, 12.08.2004. US 7188403 B2, 13.03.2007. ЕР 1793471 A1, 06.06.2007. US2007228863 A1, 04.10.2007. АРНОЛЬД Э., ЛА-КУР И.Л. Машины постоянного тока. Том 1. – М.: Государственное техническое издательство, 1931, с.22-23.
Адрес для переписки:
107023, Москва, Медовый пер., 6, кв.54, В.М. Чернухину
|
(72) Автор(ы):
Чернухин Владимир Михайлович (RU)
(73) Патентообладатель(и):
Чернухин Владимир Михайлович (RU)
|
(54) КОЛЛЕКТОРНАЯ ЭЛЕКТРИЧЕСКАЯ МАШИНА ПОСТОЯННОГО ТОКА С ПОЛЮСНЫМ ЯКОРЕМ
(57) Реферат:
Изобретение относится к области электротехники и может быть использовано во всех отраслях народного хозяйства в качестве электрических двигателей и генераторов постоянного тока любой мощности с независимым, параллельным, последовательным и смешанным возбуждением. Коллекторная электрическая машина постоянного тока с полюсным якорем содержит корпус из магнитомягкого материала, явно выраженные полюса индуктора с катушечной обмоткой возбуждения, якорь с явно выраженными полюсами, коллектор, механизм щеточно-контактного узла, замкнутую барабанную простую последовательную (волновую) обмотку якоря из катушек, каждая из которых расположена на соответствующем явно выраженном полюсе якоря и содержит один или несколько витков, а начала и концы катушек соединены между собой определенным образом и подключены к соответствующим коллекторным пластинам коллектора, образуя замкнутую электрическую цепь с двумя параллельными ветвями. При этом необходимо соблюдение определенных соотношений между числом явно выраженных полюсов индуктора и числом явно выраженных полюсов якоря, а также выполнение полюсов индуктора и полюсов якоря с определенной шириной полюсной дуги, а коллекторных пластин коллектора и щеток определенной ширины и определенного числа. Технический результат – обеспечение высоких энергетических показателей с хорошей коммутацией и возможностью глубокого и плавного регулирования выходных параметров коллекторной электрической машины постоянного тока с полюсным якорем при одновременном достижении простоты конструкции и высокой надежности, а также обеспечение возможности использования данной электрической машины как при низких, так и при высоких напряжениях. 7 з.п. ф-лы, 5 ил., 1 табл.
Изобретение относится к области электротехники, касается конструктивного исполнения коллекторных электрических машин постоянного тока с электромагнитным возбуждением и может быть использовано в качестве электрических двигателей и генераторов постоянного тока любых мощностей во всех отраслях народного хозяйства. Питание предлагаемых электрических машин при работе их в режиме электродвигателей может осуществляться не только от стационарных электрических сетей переменного тока промышленной частоты с последующим преобразованием в постоянный ток, но и от передвижных и переносных автономных источников постоянного тока (мини-электростанций, аккумуляторных батарей и гальванических элементов питания).
Известна конструкция электрической машины Жерара с полюсным якорем (Машины постоянного тока. Том 1. Э.Арнольд, проф. и И.Л.Ла-Кур. Государственное техническое издательство. Москва – 1931. Стр.22, 23), имеющая индуктор с четырьмя полюсами, якорь с четырьмя полюсами, на каждом из которых расположена своя катушка обмотки, четыре коллекторные пластины, соединенные попарно через одну, и две щетки, расположенные между полюсами индуктора и под углом 90° относительно друг друга, катушки обмотки якоря соединены между собой встречно-согласно, а начало первой и конец четвертой катушек подсоединены к двум соответствующим пластинам, расположенным по оси полюсов якоря. Недостатком таких электрических машин является большая пульсация момента при работе в качестве электрического двигателя и большая пульсация выходного напряжения при работе в качестве электрического генератора из-за одинакового числа полюсов индуктора и якоря, низкие энергетические показатели, а из-за того, что обмотка якоря является открытой, неизбежно искрообразование при коммутации вследствие большой самоиндукции катушек.
Известна конструкция электрической машины для питания дуговых ламп электрической компании Вестингауз, имеющая шесть полюсов возбуждения, два коллектора, четыре щетки, восемь полюсов якоря, на каждом полюсе которого расположена своя секция обмотки (Машины постоянного тока. Том 1. Э.Арнольд, проф. и И.Л.Ла-Кур. Государственное техническое издательство. Москва – 1931. Стр.23). Обмотка якоря выполнена в виде нечетных и четных секций, образующих две независимые системы обмотки, каждая из которых присоединена к своему коллектору. Вторая и третья щетки замкнуты между собой накоротко, соединяя обе системы обмоток последовательно. Первая и вторая щетки служат для снятия напряжения в режиме генератора. Недостатком таких электрических машин является сложность конструкции из-за наличия двух коллекторов, большая пульсация выходного напряжения при работе электрическим генератором, а из-за того, что обмотка якоря является открытой, неизбежно искрообразование при коммутации вследствие большой самоиндукции секций.
Известна конструкция коллекторной электрической машины с полюсным якорем фирмы Шуккерт и К°, обмотка якоря которой имеет сходство с трехфазной обмоткой и выполнена катушками, расположенными на тройном Т-образном якоре, полюсы которого сдвинуты друг относительно друга на 120°, концы обмотки соединены в «звезду», а начала обмотки присоединены к трем коллекторным пластинам, по которым скользят две щетки (Машины постоянного тока. Том 1. Э.Арнольд, проф. и И.Л.Ла-Кур. Государственное техническое издательство. Москва – 1931. Стр.22÷23). Недостатком аналога является плохое использование полезного объема электрической машины, что негативным образом отражается на энергетических показателях, а из-за того, что обмотка якоря является открытой и каждая катушка обмотки якоря состоит только из одной секции, неизбежно искрообразование при коммутации вследствие большой самоиндукции катушек, и по этой причине применение этих электрических машин возможно только при низких напряжениях.
Известна конструкция принятой за прототип коллекторной электрической машины с замкнутой барабанной обмоткой якоря (Г.Н.Петров. Электрические машины. В 3-х ч. Часть 3. Коллекторные машины постоянного и переменного тока. Изд. 2-е, переработ. и доп. – М.: Энергия, 1968. Стр.8÷29, 35), состоящая из статора и ротора. На валу ротора машины укрепляется якорь из листовой стали. На внешней поверхности якоря проштамповываются пазы, в которые укладывается обмотка, соединенная с коллектором. Статор машины состоит из массивной стальной или чугунной станины, на которой укреплены главные магнитные полюса и между ними дополнительные (коммутационные) полюса, служащие для уменьшения искрения щеток на коллекторе. Сердечники главных и дополнительных полюсов выполняются или массивными или чаще набираются из стальных листов, стянутых в осевом направлении шпильками. Сердечники главных полюсов со стороны ротора заканчиваются полюсными наконечниками. На сердечниках главных полюсов размещается обмотка возбуждения, которая в зависимости от способа возбуждения машины включается или параллельно, или последовательно с цепью якоря или питается от независимого источника тока. Щетки устанавливаются на коллекторе с помощью щеточных болтов, укрепленных на траверсе. На щеточных болтах размещаются щеткодержатели, с помощью которых щетки удерживаются в требуемом положении и прижимаются к коллектору. Обмотка якоря таких машин постоянного тока является всегда замкнутой и состоит из последовательно соединенных секций, каждая из которых присоединена к соответствующей коллекторной пластине. Секция состоит из одного или нескольких витков. Одна или несколько секций, имеющих общую изоляцию, образуют катушку обмотки, которая уложена в пазы и охватывает несколько зубцов якоря. Общее число коллекторных пластин равно общему числу секций обмотки. В зависимости от способа присоединения секций к коллекторным пластинам якорные обмотки подразделены на простые параллельные обмотки, простые последовательные обмотки, сложные или многоходовые параллельные обмотки, сложные или многоходовые последовательные обмотки, комбинированные сложные обмотки или сложные или многоходовые параллельно-последовательные обмотки. В соответствии с внешним очертанием контуров, образуемых последовательно соединяемыми витками обмотки, параллельные барабанные обмотки названы петлевыми, последовательные – волновыми, комбинированные сложные – «лягушачьими». Основная характеристика простых последовательных обмоток: 2·а=2, где а – число параллельных цепей (ветвей) в обмотке якоря. Недостатком описанных электрических машин является конструктивная сложность обмотки якоря, которая выполняется распределенными по поверхности якоря катушками, охватывающими несколько зубцов якоря и перекрещивающимися между собой в лобовых частях, что снижает надежность этих обмоток. Кроме этого, коллекторные электрические машины средней и большой мощности выполняются с дополнительными полюсами, что также усложняет их конструкцию.
Целью настоящего изобретения является создание новой, более простой, надежной и технологичной конструкции коллекторной электрической машины постоянного тока за счет выполнения якоря полюсным.
Задачей настоящего изобретения является оптимальный выбор числа полюсов индуктора и полюсов якоря при выполнении замкнутой барабанной простой последовательной (волновой) катушечной обмотки якоря, оптимальный выбор полюсной дуги полюса индуктора и полюса якоря, ширины коммутационной зоны и числа коллекторных пластин коллекторной электрической машины постоянного тока с полюсным якорем.
Техническим результатом настоящего изобретения является получение конструкции коллекторной электрической машины постоянного тока с полюсным якорем с высокими энергетическими показателями и хорошей коммутацией, с возможностью глубокого и плавного регулирования выходных параметров машины и возможностью применения ее как при низких, так и при высоких напряжениях.
Поставленная задача достигается тем, что коллекторная электрическая машина постоянного тока с полюсным якорем содержит корпус, индуктор с явно выраженными полюсами, которые крепятся к корпусу, катушечную обмотку возбуждения индуктора, расположенную на явно выраженных полюсах индуктора, подшипниковые щиты с подшипниками, вал, коллектор, механизм щеточно-контактного узла со щетками и полюсный якорь с замкнутой барабанной простой последовательной катушечной обмоткой якоря, каждая катушка которой размещена на соответствующем явно выраженном полюсе якоря, а начала и концы катушек соединены между собой определенным образом и подключены к соответствующим коллекторным пластинам коллектора, образуя замкнутую электрическую цепь с двумя параллельными ветвями независимо от числа полюсов индуктора. Явно выраженные полюса индуктора выполнены всегда четными, начиная с четырех, и при протекании по обмотке возбуждения индуктора постоянного тока образуют в воздушном зазоре в радиальном направлении «северные» магнитные полюса «N» и «южные» магнитные полюса «S» индуктора с чередующейся магнитной полярностью. Сердечник полюсного якоря выполнен с явно выраженными полюсами, число которых незначительно отличается от числа явно выраженных полюсов индуктора. Следует отметить, что при увеличении числа явно выраженных полюсов якоря при прочих равных условиях коммутация машины улучшается за счет увеличения углового пространства, ограничивающего ширину коммутационной зоны, но при этом непропорционально уменьшается вращающий момент и увеличивается частота вращения ротора, что несколько снижает энергетические и удельные показатели машины.
В настоящем изобретении индуктор является статором, а якорь – ротором, обмотка якоря питается постоянным током через щеточно-контактный узел. Возможны конструктивные исполнения коллекторной электрической машины постоянного тока с полюсным якорем с внешним индуктором и внутренним якорем с внутренним индуктором и внешним якорем, а также с индуктором и якорем, вращающимися друг относительно друга и относительно стационарного вала. По способу возбуждения индуктора возможны исполнения коллекторной электрической машины постоянного тока с полюсным якорем с независимым, параллельным, последовательным и смешанным возбуждением.
В соответствии с настоящим изобретением для создания замкнутой барабанной простой последовательной катушечной обмотки якоря и получения наилучших энергетических показателей с хорошей коммутацией коллекторной электрической машины постоянного тока с полюсным якорем число явно выраженных полюсов индуктора Zp и число явно выраженных полюсов якоря Zя связаны между собой и определяются равенствами (1) и (2) соответственно при выполнении условия (3):



где =2, 3, 4, 5, – число пар явно выраженных полюсов индуктора, начиная с двух, R – целое положительное число, i=1, 2, 3, – целое положительное число.
Ширина полюсной дуги bzP явно выраженного полюса индуктора связана с полюсным делением tzP явно выраженных полюсов индуктора и определяется выражением

где tzP=360°/ZP и bzP измеряются в геометрических градусах. Следует отметить, что для лучшего использования полезного объема и получения более высоких энергетических показателей с хорошей коммутацией коллекторной электрической машины постоянного тока с полюсным якорем желательно выбирать bzP, близкой к tzP.
Ширина полюсной дуги bzя явно выраженного полюса якоря связана с полюсным делением bzя явно выраженных полюсов якоря и определяется выражением

где 0,7 k<1, a fzя=360°/Zя и bzя измеряются в геометрических градусах.
Коммутация в коммутируемой катушке обмотки якоря должна проходить в тот промежуток времени, когда изменение магнитного потока, пронизывающего полюс якоря, на котором находится коммутируемая катушка, минимально и вызвано «искривлением» основного магнитного поля полюсов индуктора магнитным полем якоря.
Ширина коммутационной зоны в угловом измерении для получения хорошей коммутации не должна превышать разности между шириной полюсной дуги полюса индуктора и шириной полюсной дуги полюса якоря и определяется выражением

Коллекторные пластины выполнены одинаковой ширины. Общее число коллекторных пластин nкп коллектора определяется равенством

где с=2, 3, 4, – целое положительное число, начиная с двух. Число коллекторных пластин, к которым подключены начала и концы катушек обмотки якоря равно числу явно выраженных полюсов якоря.
Щетки выполнены одинаковой ширины. Число щеток пропорционально числу явно выраженных полюсов индуктора.
Ширина коллекторной пластины и ширина щетки выбираются таким образом, чтобы выполнялось условие (6).
Полюсный якорь выполнен с замкнутой барабанной простой последовательной катушечной обмоткой якоря, каждая катушка которой размещена на соответствующем явно выраженном полюсе якоря, причем конец катушки, расположенной на предыдущем явно выраженном полюсе якоря, соединен с началом катушки, расположенной на последующем явно выраженном полюсе якоря, отстоящем от предыдущего полюса на число полюсов якоря, равное Zя-ZP, и подключен к ближайшей соответствующей коллекторной пластине коллектора, равноудаленной от этих полюсов якоря, и т.д., при таком соединении образуется замкнутая электрическая цепь с двумя параллельными ветвями независимо от числа полюсов индуктора.
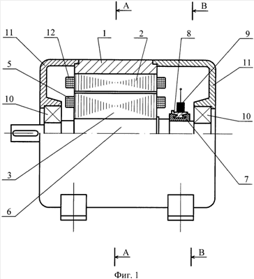
Сущность изобретения поясняется чертежами.
На фиг.1 показан общий вид коллекторной электрической машины постоянного тока с полюсным якорем. На фиг.2 и 4 показаны примеры реализации изобретения в виде поперечных сечений коллекторной электрической машины постоянного тока с полюсным якорем. На фиг.3 и 5 приведены схемы соединений катушек обмотки якоря с коллекторными пластинами коллектора, причем с целью наглядности полюса якоря с обмоткой якоря и коллекторными пластинами показаны в развернутом виде в радиальном направлении, а полюса индуктора с обмоткой возбуждения индуктора и щетки показаны в развернутом виде в аксиальном направлении.
Явно выраженные полюса якоря обозначены буквой и цифрой, например Я2. Цифра 2 обозначает номер явно выраженного полюса, а буква Я – принадлежность полюса к якорю.
Положение якоря относительно индуктора на соответствующих фигурах показано в один и тот же момент времени. Соответствие фигур приведено в таблице 1.
Рассмотрим конструкцию коллекторной электрической машины постоянного тока с полюсным якорем (фиг.1, 2, 4). Машина содержит следующие основные части: корпус 1, явно выраженные полюса 2 индуктора, катушечную обмотку возбуждения индуктора, сердечник 3 якоря с явно выраженными полюсами 4 якоря, катушечную обмотку якоря, вал 6, коллектор 7, щеточно-контактный узел, подшипники 10, подшипниковые щиты 11. Корпус 7 выполнен из магнитомягкой стали или чугуна с высокой магнитной проницаемостью. Явно выраженные полюса 2 индуктора крепятся к корпусу 1 и могут быть выполнены из набранных листов электротехнической стали с высокой магнитной проницаемостью и скрепленных между собой в аксиальном направлении, а могут быть выполнены из цельных кусков магнитомягкой стали с неразъемными или разъемными полюсными наконечниками. Для машин средней и большой мощности и для машин, работающих при резко переменной нагрузке, с целью недопущения «кругового» огня по коллектору явно выраженные полюса 2 индуктора могут быть выполнены с пазами в аксиальном направлении (фиг.4) с уложенной в них компенсационной обмоткой (не показана), подключенной через щеточно-контактный узел последовательно с катушечной обмоткой якоря. Якорь с обмоткой якоря и коллектором 7 при помощи подшипников 10 и подшипниковых щитов 11 позиционирован относительно индуктора. На металлическом валу 6 насажены сердечник 3 якоря и коллектор 7. С целью уменьшения потерь на гистерезис и «вихревые» токи перемагничиваемый с высокой частотой сердечник 3 якоря выполнен шихтованным пакетом из изолированных листов электротехнической стали с высокой магнитной проницаемостью. Сердечник 3 якоря имеет явно выраженные полюса 4 (фиг.2, 3, 4, 5), на каждом из которых расположена соответствующая катушка 5 замкнутой барабанной простой последовательной катушечной обмотки якоря. Каждая катушка 5 обмотки якоря выполнена из обмоточного медного провода или обмоточной медной шины и состоит из одного или нескольких витков. Коллектор 7 имеет медные коллекторные пластины 8, электрически изолированные друг от друга и от вала 6. Концы и начала катушек 5 соединены между собой и с коллекторными пластинами 8 таким образом (например, на фиг.3), что конец катушки, расположенной на предыдущем явно выраженном полюсе якоря, например Я2, соединен с началом катушки, расположенной на последующем явно выраженном полюсе якоря, например Я5, отстоящем от предыдущего полюса на число полюсов якоря, равное Zя-ZP, и подключен к ближайшей соответствующей коллекторной пластине 8 коллектора 7, равноудаленной от этих полюсов якоря, и т.д., образуя замкнутую электрическую цепь с двумя параллельными ветвями независимо от числа явно выраженных полюсов 2 индуктора. Механизм щеточно-контактного узла чаще всего крепится к подшипниковому щиту 11 со стороны коллектора 7 и может иметь возможность перемещения щеток 9 по коллекторным пластинам 8 в тангенциальном направлении для установки щеток 9 в зоне с наилучшей коммутацией. Щетки 9 установлены по оси явно выраженных полюсов 2 индуктора в аксиальном направлении или близко к ней. Количество щеточных болтов траверсы, на которых крепятся щеткодержатели со щетками 9, равно количеству явно выраженных полюсов 2 индуктора машины. На щеточном болте может располагаться несколько щеток 9, но при этом число щеток 9 на каждом щеточном болте должно быть одинаковым. Катушечная обмотка возбуждения индуктора состоит из катушек 12, расположенных на соответствующих явно выраженных полюсах 2 индуктора. Каждая катушка 12 обмотки возбуждения индуктора выполнена из обмоточного медного провода или обмоточной медной шины. Катушки 12 соединяются между собой таким образом, чтобы при протекании по ним постоянного электрического тока явно выраженные полюса 2 индуктора образовывали в воздушном зазоре в радиальном направлении «северные» магнитные полюса «N» и «южные» магнитные полюса «S» индуктора с чередующейся магнитной полярностью. При этом обмотка возбуждения индуктора может быть подключена к независимому источнику постоянного напряжения (для машин с независимым возбуждением), может быть подключена к источнику постоянного напряжения параллельно с обмоткой якоря (для машин с параллельным возбуждением), может быть подключена к источнику постоянного напряжения последовательно с обмоткой якоря (для машин с последовательным возбуждением), может иметь две системы обмоток, одна из которых подключена к источнику постоянного напряжения параллельно с обмоткой якоря, а другая – последовательно (для машин со смешанным возбуждением).
Коллекторная электрическая машина постоянного тока с полюсным якорем работает в двигательном и генераторном режимах.
Рассмотрим двигательный режим (фиг.2-5) на примере коллекторной электрической машины постоянного тока с полюсным якорем с независимым возбуждением индуктора. От независимого источника постоянного напряжения подают питание на обмотку возбуждения индуктора. Под действием постоянного напряжения по катушкам обмотки возбуждения будет протекать постоянный электрический ток. Явно выраженные полюса 2 индуктора возбуждаются и образуют в воздушном зазоре в радиальном направлении «северные» магнитные полюса «N» и «южные» магнитные полюса «S» индуктора с чередующейся магнитной полярностью. От другого независимого источника постоянного напряжения подают питание на щетки 9, причем «плюс» источника питания соединяют со щетками, обозначенными на фигурах знаком «+», а «минус» источника питания соединяют со щетками, обозначенными на фигурах знаком «-». Под действием постоянного напряжения в направлении от «плюсовых» щеток к «минусовым» щеткам через скользящие контакты и коллекторные пластины 8 по катушкам 5 замкнутой обмотки якоря по двум ветвям будет протекать постоянный электрический ток, показанный на чертежах стрелками, намагничивая при этом явно выраженные полюса якоря 4 то как «северные» магнитные полюса «N», то как «южные» магнитные полюса «S», в зависимости от положения полюсов якоря 4 относительно щеток 9. В катушках 5 обмотки якоря, подключенных в определенный момент времени к однополярным щеткам, происходит коммутация. На фиг.3 и 5 коммутация происходит в катушке 5, расположенной на явно выраженном полюсе якоря Я3. «Северные» магнитные полюса «N» якоря стремятся вытолкнуться из-под «северных» магнитных полюсов «N» индуктора и втянуться под «южные» магнитные полюса «S» индуктора, а «южные» магнитные полюса «S» якоря, в свою очередь, стремятся вытолкнуться из-под «южных» магнитных полюсов «S» индуктора и втянуться под «северные» магнитные полюса «N» индуктора, создавая тем самым вращающий момент, действующий на статор и якорь электрического двигателя. При перемещении якоря относительно индуктора на один полюс картина повторяется. Направление вращающего момента, действующего на якорь при стационарном состоянии индуктора, показано на чертежах стрелкой с буквой М.
Рассмотрим генераторный режим (фиг.2-5) на примере коллекторной электрической машины постоянного тока с полюсным якорем с независимым возбуждением индуктора. От независимого источника постоянного напряжения подают питание на обмотку возбуждения индуктора. Под действием постоянного напряжения по катушкам обмотки возбуждения будет протекать постоянный электрический ток. Явно выраженные полюса 2 индуктора возбуждаются и образуют в воздушном зазоре в радиальном направлении «северные» магнитные полюса «N» и «южные» магнитные полюса «S» индуктора с чередующейся магнитной полярностью. При вращении якоря сторонним источником момента в сторону, противоположную показанной на фиг.3 и 5 стрелкой с буквой М, постоянный магнитный поток явно выраженных полюсов 2 индуктора пронизывает через воздушный зазор явно выраженные полюса 4 якоря то со стороны индуктора, то со стороны якоря, создавая при этом в явно выраженных полюсах 4 якоря переменный магнитный поток, наводящий в каждой катушке 5 обмотки якоря переменную во времени ЭДС. Переменные ЭДС катушек каждой параллельной ветви суммируются. При помощи коллектора ЭДС ветвей выпрямляются. Они направлены в параллельных ветвях в одну сторону, образуя «плюс» источника ЭДС на «плюсовых» щетках и «минус» источника ЭДС на «минусовых» щетках. Если внешняя цепь – цепь нагрузки замкнута, то по ней протекает выпрямленный электрический ток в направлении от «плюсовой» щетки к «минусовой», электрическая мощность отдается потребителю.
Глубокое и плавное регулирование выходных параметров коллекторной электрической машины постоянного тока с полюсным якорем осуществляется путем изменения постоянного напряжения на обмотке якоря, а также путем изменения величины постоянного тока в обмотке возбуждения индуктора.
Применение коллекторной электрической машины постоянного тока с полюсным якорем как при низких, так и при высоких напряжениях, при хорошей коммутации возможно за счет выполнения замкнутой барабанной простой последовательной катушечной обмотки якоря.
Формула изобретения
1. Коллекторная электрическая машина постоянного тока с полюсным якорем, содержащая корпус, индуктор с явно выраженными полюсами, на которых расположена катушечная обмотка возбуждения индуктора, подшипниковые щиты с подшипниками, вал, коллектор, механизм щеточно-контактного узла со щетками и якорь с замкнутой барабанной обмоткой, отличающаяся тем, что якорь выполнен с явно выраженными полюсами и катушечной простой последовательной обмоткой, каждая катушка которой размещена на соответствующем явно выраженном полюсе якоря и содержит один или несколько витков, а начала и концы катушек соединены между собой определенным образом и подключены к соответствующим коллекторным пластинам коллектора, образуя замкнутую электрическую цепь с двумя параллельными ветвями, число явно выраженных полюсов индуктора ZP определяется равенством: ZP=2·р, где р=2, 3, 4, 5, – число пар явно выраженных полюсов индуктора, начиная с двух, число явно выраженных полюсов якоря ZЯ определяется равенством: ZЯ=ZP+R при выполнении условия: R i·р, где R – целое положительное число, i=1, 2, 3, – целое положительное число, ширина полюсной дуги bZp явно выраженного полюса индуктора связана с полюсным делением tZp явно выраженных полюсов индуктора и определяется выражением: 2/3 tZp bZpZp, где tZp=360°/ZP и bZр измеряются в геометрических градусах, ширина полюсной дуги bZя явно выраженного полюса якоря связана с полюсным делением tZя явно выраженных полюсов якоря и определяется выражением: bZя=k·tZя, где 0,7 k<1, а tZя=360°/ZЯ и bZя измеряются в геометрических градусах, ширина коммутационной зоны в угловом измерении определяется выражением: bКЗZp-bZя, коллекторные пластины коллектора выполнены одинаковой ширины, общее число коллекторных пластин nкп определяется равенством: nкп=с·ZЯ, где с=2, 3, 4, – целое положительное число, начиная с двух, причем число коллекторных пластин, к которым подключены начала и концы катушек обмотки якоря, равно числу явно выраженных полюсов якоря, щетки выполнены одинаковой ширины, причем число щеток пропорционально числу явно выраженных полюсов индуктора.
2. Коллекторная электрическая машина постоянного тока с полюсным якорем по п.1, отличающаяся тем, что обмотка возбуждения индуктора подключена к независимому источнику постоянного напряжения.
3. Коллекторная электрическая машина постоянного тока с полюсным якорем по п.1, отличающаяся тем, что обмотка возбуждения индуктора подключена к источнику постоянного напряжения параллельно с обмоткой якоря.
4. Коллекторная электрическая машина постоянного тока с полюсным якорем по п.1, отличающаяся тем, что обмотка возбуждения индуктора подключена к источнику постоянного напряжения последовательно с обмоткой якоря.
5. Коллекторная электрическая машина постоянного тока с полюсным якорем по п.1, отличающаяся тем, что обмотка возбуждения индуктора имеет две системы обмоток, одна из которых подключена к источнику постоянного напряжения параллельно с обмоткой якоря, а другая – последовательно.
6. Коллекторная электрическая машина постоянного тока с полюсным якорем по п.1, отличающаяся тем, что индуктор расположен снаружи, якорь – внутри.
7. Коллекторная электрическая машина постоянного тока с полюсным якорем по п.1, отличающаяся тем, что индуктор расположен внутри, якорь – снаружи.
8. Коллекторная электрическая машина постоянного тока с полюсным якорем по п.1, отличающаяся тем, что явно выраженные полюса индуктора выполнены с компенсационной обмоткой.
РИСУНКИ
|
|