|
|
(21), (22) Заявка: 2007125131/28, 02.12.2005
(24) Дата начала отсчета срока действия патента:
02.12.2005
(30) Конвенционный приоритет:
03.12.2004 US 60/632,645 09.06.2005 KR 10-2005-0049468
(43) Дата публикации заявки: 10.01.2009
(46) Опубликовано: 27.03.2010
(56) Список документов, цитированных в отчете о поиске:
JP 2002049518 А, 15.02.2002. US 2003163486 A1, 28.08.2003. US 6119116 A, 12.09.2000. JP 2004214918 A, 29.07.2004.
(85) Дата перевода заявки PCT на национальную фазу:
03.07.2007
(86) Заявка PCT:
KR 2005/004102 20051202
(87) Публикация PCT:
WO 2006/059887 20060608
Адрес для переписки:
129090, Москва, ул.Б.Спасская, 25, стр.3, ООО “Юридическая фирма Городисский и Партнеры”, Ю.Д.Кузнецову
|
(72) Автор(ы):
СЕО Канг Соо (KR), ЙОО Дзеа Йонг (KR), КИМ Биунг Дзин (KR)
(73) Патентообладатель(и):
ЭлДжи ЭЛЕКТРОНИКС ИНК. (KR)
|
(54) СПОСОБ И УСТРОЙСТВО ДЛЯ УПРАВЛЕНИЯ ФАЙЛАМИ ДАННЫХ, ХРАНЯЩИХСЯ В ЛОКАЛЬНОМ ЗАПОМИНАЮЩЕМ УСТРОЙСТВЕ
(57) Реферат:
Способ управления файлами данных локального запоминающего устройства включает в себя этапы, на которых загружают, по меньшей мере, один файл данных от поставщика контента, сохраняют загруженный файл данных в локальном запоминающем устройстве и формируют блок связывания с использованием сохраненного файла. Блок связывания представляет собой набор файлов, имеющих информацию, ассоциированную с носителем записи. По приему команды на удаление конкретного файла, содержащегося в блоке связывания, удаляют все файлы, ассоциированные с тайтлом, включая этот конкретный файл, или удаляют только этот конкретный файл, который должен быть удален. Технический результат – эффективное управление файлами данных, хранящихся в локальном запоминающем устройстве в масштабе диска, масштабе тайтла или масштабе контента. 5 н. и 21 з.п. ф-лы, 7 ил.
ОБЛАСТЬ ТЕХНИКИ, К КОТОРОЙ ОТНОСИТСЯ ИЗОБРЕТЕНИЕ
Настоящее изобретение относится к способу и устройству для управления файлами данных, хранящихся в локальном запоминающем устройстве, входящем в состав оптического устройства записи/воспроизведения.
ПРЕДШЕСТВУЮЩИЙ УРОВЕНЬ ТЕХНИКИ
Вообще говоря, оптический диск широко использовался в качестве носителя записи, на который можно записывать большой объем данных. В частности, недавно был разработан оптический носитель записи высокой плотности, на котором можно записывать и сохранять высококачественные видеоданные и высококачественные аудиоданные длительное время, например диск стандарта Blu-ray (BD).
BD диск, основывающийся на технологии носителей записи следующего поколения, считается решением в области оптических носителей записи следующего поколения, обеспечивающим возможность хранения намного больше данных, чем известный цифровой многофункциональный диск (DVD). В последнее время множество разработчиков проводило активные исследования в рамках технических спецификаций международных стандартов, ассоциированных с BD диском, наряду со спецификациями других цифровых устройств.
В связи с вышеупомянутой ситуацией, недавно было разработано оптическое устройство записи/воспроизведения, основанное на международном стандарте BD, но международный стандарт BD еще не является совершенным, так что возникает много ограничений и проблем при разработке оптического устройства записи/воспроизведения.
В частности, вышеупомянутое оптическое устройство записи/воспроизведения может предназначаться не только для основной функции BD диска для записи/воспроизведения данных, но также для дополнительной функции, заключающейся в обеспечении возможности для оптического устройства записи/воспроизведения взаимодействовать с периферийными цифровыми устройствами. Другими словами, оптическое устройство записи/воспроизведения должно принимать внешний входной сигнал, должно отображать принятый сигнал и должно воспроизводить желательные данные с использованием внешнего входного сигнала и BD диска.
Однако еще не разработан способ для удаления данных локального запоминающего устройства так, чтобы одновременно воспроизводить загружаемый внешний входной сигнал и данные BD диска, а также чтобы эффективно управлять данными, хранимыми в локальном запоминающем устройстве, вследствие чего возникает много ограничений и проблем при разработке оптического устройства записи/воспроизведения, основанного на BD диске.
СУЩНОСТЬ ИЗОБРЕТЕНИЯ
Соответственно, настоящее изобретение направлено на создание способа и устройства для управления файлами данных, хранящихся в локальном запоминающем устройстве, которые по существу устраняют одну или несколько проблем, обусловленных ограничениями и недостатками предшествующего уровня техники.
Задача настоящего изобретения заключается в том, чтобы обеспечить способ и устройство для эффективного управления файлами данных, хранящихся в локальном запоминающем устройстве.
Другая задача настоящего изобретения заключается в том, чтобы обеспечить способ и устройство для удаления файлов данных, хранящихся в локальном запоминающем устройстве в масштабе диска, масштабе тайтла (наибольшего элемента форматирования данных на носителе записи (в частности, диске)) или масштабе контента. Дополнительные достоинства, задачи и признаки изобретения будут частично формулироваться в последующем описании и частично станут очевидными специалистам после ознакомления с описанием или будут изучены из практической реализации изобретения. Цели и достоинства изобретения могут быть реализованы или достигнуты посредством структуры, конкретным образом изложенной в описании и основывающейся на нем формуле изобретения, а также в сопровождающих чертежах.
Для реализации этих и других задач и достоинств в соответствии с целью изобретения, как осуществляется и подробно описано здесь, способ управления файлами данных локального запоминающего устройства содержит этапы, на которых: а) загружают по меньшей мере один файл данных от поставщика контента, сохраняют загруженный файл данных в локальном запоминающем устройстве и формируют блок связывания (BU) с использованием сохраненного файла; и b) удаляют все файлы, содержащиеся в блоке связывания, по приему команды на удаление конкретного файла, содержащегося в блоке связывания.
В другом аспекте настоящего изобретения обеспечивается способ управления файлами данных локального запоминающего устройства, содержащий этапы, на которых: а) загружают по меньшей мере один файл данных от поставщика контента, сохраняют загруженный файл данных в локальном запоминающем устройстве и формируют блок связывания с использованием сохраненного файла; и b) по приему команды на удаление конкретного файла, содержащегося в блоке связывания, одновременно удаляют все файлы, ассоциированные с тайтлом, включая упомянутый конкретный файл, который должен быть удален.
Еще в одном аспекте настоящего изобретения, обеспечивается способ управления файлами данных локального запоминающего устройства, содержащий этапы, на которых: а) загружают по меньшей мере один файл данных от поставщика контента, сохраняют загруженный файл данных в локальном запоминающем устройстве и формируют блок связывания с использованием сохраненного файла; и b) по приему команды на удаление конкретного файла, содержащегося в блоке связывания, удаляют только упомянутый конкретный файл, который должен быть удален, и корректируют файл базы данных, ассоциированный с удалением упомянутого файла.
Еще в одном аспекте настоящего изобретения, обеспечивается устройство для управления файлами данных локального запоминающего устройства, содержащее: модуль головки для считывания данных с носителя записи; локальное запоминающее устройство для загрузки по меньшей мере одного файла, ассоциированного с данными носителя записи, и для сохранения загруженного файла; и контроллер для формирования блока связывания с использованием файла, сохраненного в локальном запоминающем устройстве, и для удаления конкретного файла или конкретных файлов из блока связывания в масштабе диска, масштабе тайтла и масштабе контента.
Должно быть понятно, что и предыдущее общее описание, и последующее подробное описание настоящего изобретения являются иллюстративными и пояснительными и предназначены для того, чтобы обеспечить дополнительное объяснение формулы изобретения.
ПЕРЕЧЕНЬ ЧЕРТЕЖЕЙ
В дальнейшем изобретение поясняется описанием конкретных вариантов его осуществления со ссылками на сопровождающие чертежи, на которых:
фиг.1 – концептуальная схема, иллюстрирующая способ и устройство для воспроизведения данных с носителя записи согласно настоящему изобретению;
фиг.2 – концептуальная схема, иллюстрирующая файловую структуру, записанную на оптическом диске, выступающем в роли носителя записи, и способ воспроизведения конкретного тайтла с использованием этой файловой структуры;
фиг.3 – структурная схема, иллюстрирующая структуру записи данных оптического диска, действующего в качестве носителя записи, согласно настоящему изобретению;
фиг.4а – блок-схема, иллюстрирующая оптическое устройство записи/воспроизведения, согласно настоящему изобретению;
фиг.4б – блок-схема, иллюстрирующая устройство для воспроизведения данных с использованием локального запоминающего устройства из числа компонентов, входящих в состав оптического устройства записи/воспроизведения, согласно настоящему изобретению;
фиг.5а-5б – концептуальные схемы, иллюстрирующие способ удаления данных локального запоминающего устройства согласно первому предпочтительному варианту осуществления настоящего изобретения, в котором блок связывания локального запоминающего устройства конфигурируется в масштабе диска (то есть, на каждый диск);
фиг.6а-6б – концептуальные схемы, иллюстрирующие способ удаления данных локального запоминающего устройства согласно второму предпочтительному варианту осуществления настоящего изобретения, в котором блок связывания локального запоминающего устройства конфигурируется в масштабе тайтла (то есть, на каждый тайтл); и
фиг.7а-7б – концептуальные схемы, иллюстрирующие способ удаления данных локального запоминающего устройства согласно третьему предпочтительному варианту осуществления настоящего изобретения, в котором блок связывания локального запоминающего устройства конфигурируется в масштабе контента (то есть, на каждый контент).
ПОДРОБНОЕ ОПИСАНИЕ ПРЕДПОЧТИТЕЛЬНЫХ ВАРИАНТОВ ОСУЩЕСТВЛЕНИЯ
Теперь будут подробно описаны предпочтительные варианты осуществления настоящего изобретения, примеры которых иллюстрируются на сопровождающих чертежах. Там где возможно, на всех чертежах для одинаковых или подобных частей будут использоваться одинаковые номера позиций.
Ниже будут описаны способ и устройство для удаления данных локального запоминающего устройства согласно настоящему изобретению со ссылкой на приложенные чертежи.
Перед описанием настоящего изобретения следует отметить, что большинство терминов, раскрытых в настоящем изобретении, соответствуют основным терминам, известным в уровне техники, но некоторые термины выбраны заявителем по необходимости и будут в дальнейшем раскрываться в последующем описании настоящего изобретения. Следовательно, предпочтительно, что заданные заявителем термины будут понятны на основе их значения в настоящем изобретении.
Носитель записи для использования в настоящем изобретении характеризует все записываемые носители, например оптический диск, магнитную ленту и т.п., согласно различным схемам записи.
Для удобства описания и для лучшего понимания настоящего изобретения в дальнейшем в качестве примера вышеупомянутого носителя записи согласно настоящему изобретению будет использоваться оптический диск, такой как BD. Следует отметить, что технические идеи настоящего изобретения могут применяться к другим носителям записи, не выходя за рамки объема и не отклоняясь от сущности настоящего изобретения.
Термин “локальное запоминающее устройство” характеризует модуль памяти, входящий в состав оптического устройства записи/воспроизведения, показанного на фиг.1. Более подробно термин “локальное запоминающее устройство” характеризует компонент, способный принимать необходимую информацию или данные от пользователя и сохранять принятую информацию или данные. Например, основное локальное запоминающее устройство может характеризовать накопитель на жестких магнитных дисках (HDD, НЖМД), но следует отметить, что термин “локальное запоминающее устройство” настоящего изобретения не ограничивается НЖМД и при необходимости применим к другим примерам.
В частности, термин “локальное запоминающее устройство” характеризует модуль памяти для сохранения данных, ассоциированных с носителем записи, таким как BD. Данные, ассоциированные с носителем записи, в основном загружаются из внешнего устройства.
В связи с вышеупомянутым описанием, область каталогов, в которой можно сохранять загружаемые данные локального запоминающего устройства, упоминается как файловая структура локального запоминающего устройства.
В связи с вышеупомянутым описанием, специалистам должно быть очевидно, что локальное запоминающее устройство может непосредственно считывать некоторые данные полномочий с носителя записи и может генерировать системные данные (например, метаданные), ассоциированные с операциями записи/воспроизведения носителя записи, так что эти системные данные могут сохраняться в локальном запоминающем устройстве.
Термин “блок связывания” характеризует набор файлов, хранящихся в локальном запоминающем устройстве. В частности, блок связывания характеризует набор информации (то есть, информационный набор), ассоциированный с конкретным носителем записи. В этом случае информационный набор объединяется с файлом, содержащимся в носителе записи, или добавляется к такому файлу, так что с его помощью можно одновременно воспроизводить данные носителя записи и данные локального запоминающего устройства.
Для удобства описания данные, записанные на носителе записи, упоминаются как “исходные данные”, а данные, ассоциированные с носителем записи из множества блоков данных, хранящихся в локальном запоминающем устройстве, упоминаются как “дополнительные данные”.
Фиг.1 – концептуальная схема, иллюстрирующая способ и устройство для воспроизведения данных согласно настоящему изобретению. На фиг.1 показаны унифицированные применения оптического устройства 10 записи/воспроизведения и периферийных устройств.
Оптическое устройство 10 записи/воспроизведения может записывать/воспроизводить данные в отношении различных оптических дисков, имеющих различные форматы. При необходимости, оптическое устройство 10 записи/воспроизведения может записывать/воспроизводить специфические данные только в отношении конкретного оптического диска, такого как BD, или может воспроизводить данные с оптического диска без записи данных на него. Должно быть понятно, что настоящее изобретение для примера использует проигрыватель BD дисков, способный воспроизводить данные с BD диска, или устройство записи BD дисков, способное записывать данные на BD диск, учитывая корреляцию между BD диском и периферийными устройствами для удобства описания. Из уровня техники известно, что оптическое устройство 10 записи/воспроизведения также применимо к дисководу, встроенному в специфическое устройство, также как, например, компьютер.
Оптическое устройство 10 записи/воспроизведения записывает или воспроизводит данные в отношении оптического диска 30, принимает внешний входной сигнал, выполняет обработку принятого сигнала и передает обработанный результирующий сигнал на внешний дисплей 20, так что пользователь может видеть обработанный результирующий сигнал на дисплее 20. В этом случае, не имеется ограничений на принимаемый внешний сигнал. Для примера, типичные внешние входные сигналы могут определяться как сигнал, ассоциированный с цифровым телевидением (DTV),сигнал, ассоциированный с Интернет, и т.п. В частности, Интернет является типичной сетью связи, к которой пользователь легко получает доступ, так что пользователь может загружать специфические Интернет-данные с использованием оптического устройства 10 записи/воспроизведения, и может использовать загружаемые данные.
В связи с вышеупомянутым описанием, объектная сущность для предоставления данных контента, используемых в качестве внешнего источника, обычно называется поставщиком контента (СР).
Например, предполагается, что мультиплексированные AV (аудио/видео) потоки записываются в качестве исходных данных, записываемых на оптическом диске, а дополнительные данные для использования в Интернет представляют собой аудиопоток, отличный от аудиопотока (например, корейского) исходных данных. В этом случае, некоторые пользователи могут загружать из Интернета конкретный аудио поток (например, английский), выступающий в роли дополнительных данных, и могут желать воспроизводить загружаемый аудио поток наряду с AV потоком, выступающим в роли исходных данных, или могут желать воспроизводить только дополнительные данные. Для реализации вышеупомянутых желаний пользователей должна быть установлена корреляция между исходными данными и дополнительными данными и необходим систематизированный способ для управления воспроизведением вышеупомянутых данных согласно запросу пользователя.
Хотя для удобства описания сигнал, записанный на диске, называют исходными данными, а другие сигналы, существующие вне диска, называют дополнительными данными, следует отметить, что исходные данные и дополнительные данные не ограничиваются только конкретными данными.
В основном, дополнительные данные могут представлять аудиоданные (А), данные демонстрационной графики (PG), данные интерактивной графики (IG), текстовые субтитры и т.п., но дополнительные данные также могут представлять мультиплексированный AV поток, включающий в себя вышеупомянутые данные или видеоданные (V). Другими словами, данные, ассоциированные с исходными данными, одновременно существующие вне оптического диска, могут выступать в роли дополнительных данных.
Когда исходные данные записаны на оптическом диске, установленном в оптическом устройстве 10 записи/воспроизведения, и дополнительные данные, ассоциированные с исходными данными, присутствуют в других местах хранения информации (например, Интернете), настоящее изобретение удаляет ненужные файлы, формирует блок связывания, который должен объединяться с исходными данными, так что на его основе воспроизводятся исходные данные и дополнительные данные в одно и то же время. Кроме того, если локальное запоминающее устройство должно быть пустым для загрузки новых данных от внешнего поставщика контента (СР), настоящее изобретение обеспечивает способ удаления файлов дополнительных данных, хранящихся в локальном запоминающем устройстве.
Чтобы вышеупомянутые исходные и дополнительные данные удовлетворяли желанию пользователя, между исходными данными и дополнительными данными должна быть установлена предварительно заданная файловая структура. Соответственно, файловая структура и структура записи данных для использования в BD диске будут описаны ниже со ссылкой на фиг.2-3.
Фиг.2 – концептуальная схема, иллюстрирующая файловую структуру для воспроизведения/управления исходных данных, записанных на оптическом диске, и способ воспроизведения конкретного тайтла согласно этой файловой структуре.
На фиг.2 показан пример вышеупомянутой файловой структуры. Файловая структура согласно настоящему изобретению включает в себя один или несколько BD каталогов (BDMV) под единым корневым каталогом. BD каталог (BDMV) включает в себя не только индексный файл “index”, выступающий в роли общего файла (то есть, верхнего файла), способного гарантировать возможность взаимодействия с пользователем, но также объектный файл. Файловая структура включает в себя разнообразие каталогов для хранения информации фактических данных, записанных на диске, и другой информации, ассоциированной со способом воспроизведения данных, например каталог списков воспроизведения (PLAYLIST), каталог информации клипов (CLIPINF), каталог потоков (STREAM), каталог вспомогательных данных (AUXDATA) и каталог резервного копирования (BACKUP). Далее здесь будут описаны вышеупомянутые каталоги и разнообразие файлов, включенных в эти каталоги.
Каталог AUXDATA включает в себя файл дополнительных данных для воспроизведения данных диска. Например, каталог AUXDATA включает в себя файл “sound.bdmv”, предназначенный для обеспечения пользователя данными звукового сопровождения, когда выполняется функция интерактивной графики, и файл “11111.otf”, предназначенный для обеспечения пользователя информацией шрифтов, когда воспроизводятся данные диска.
Каталог потоков (STREAM) включает в себя множество файлов AV (аудио/видео) потоков, записанных на диске, согласно специфическому формату. В основном, отдельные потоки записываются с использованием транспортного пакета, основанного на стандарте MPEG-2, и каталог потоков (STREAM) использует имена расширения файлов потоков (01000.m2ts и 02000.m2ts) как специфическое имя расширения “*.m2ts”. В частности, если видео/аудио/графическая информация из числа вышеупомянутых потоков мультиплексируется, то мультиплексированная информация называется AV (аудио/видео) потоком, и один тайтл состоит, по меньшей мере, из одного файла AV потока.
Каталог информации клипов (Clip-info) (CLIPINF) состоит из множества файлов информации клипов (01000.dpi и 02000.clpi), связанных с вышеупомянутыми файлами потоков на однозначной основе. В частности, в файлах информации клипа (*.clpi) записывается информация атрибутов и информация временных характеристик файлов потоков. Файлы информации клипа (*.clpi), связанные с файлами потоков (*.m2ts) на однозначной основе, обобщенно называются клипом (“Clip”), Другими словами, это означает, что один клип характеризует данные, состоящие из файла потока (*.m2ts) и файла информации клипа (*.clpi). Клип, записанный на диске, упоминается как исходный клип. Клип, который загружается и сохраняется в локальном запоминающем устройстве, упоминается как дополнительный клип.
Каталог списков для воспроизведения (PLAYLIST) включает в себя множество файлов списков воспроизведения (*.mpls). Каждый файл списка воспроизведения включает в себя один или несколько элементов воспроизведения (PlayItem) и один или несколько субэлементов воспроизведения (SubPlayItem). Каждый элемент воспроизведения (PlayItem) и каждый субэлемент воспроизведения (SubPlayItem) приспособлены для обозначения интервала воспроизведения, во время которого воспроизводится конкретный клип. Элемент воспроизведения (PlayItem) и субэлемент воспроизведения (SubPlayItem) включает в себя информацию, ассоциированную с конкретным клипом, который должен воспроизводиться, то есть информацию, ассоциированную с моментом начала воспроизведения (IN-Time), и другую информацию, ассоциированную со временем завершения воспроизведения (OUT-Time) конкретного клипа. В связи с вышеупомянутым описанием, процесс для воспроизведения данных с использованием, по меньшей мере, одного элемента воспроизведения (PlayItem) в файле списка воспроизведения упоминается как главный путь, а процесс для воспроизведения данных с использованием отдельных субэлементов воспроизведения (SubPlayItem) упоминается как подпуть. Файл списка воспроизведения должен содержать один главный путь. Файл списка воспроизведения при необходимости может содержать, по меньшей мере, один подпуть согласно наличию или отсутствию субэлемента воспроизведения (SubPlayItem).
В заключение, файл списка воспроизведения действует как основная файловая единица воспроизведения/управления, входящая в состав совокупных файловых структур воспроизведения/управления для воспроизведения желательного клипа посредством объединения одного или нескольких элементов воспроизведения (PlayItem).
Каталог резервного копирования (BACKUP) сохраняет множество дублирующих файлов, то есть дублирующий файл (также называемый “копированный файл”) индексного файла “index”, хранящий информацию, ассоциированную с воспроизведением диска; дублирующий файл объектного файла “MovieObject”; дублирующие файлы всех файлов списков воспроизведения (*.mpls), содержащихся в каталоге списков воспроизведения (PLAYLIST); и дублирующие файлы всех файлов информации клипов (*.clpi), содержащихся в каталоге информации клипа (CLIPINF). Если вышеупомянутые файлы (“index”, “MovieObject”, “*.mpls” и “*.clpi”) повреждены, то процесс воспроизведения диска неизбежно повреждается, так что каталог резервного копирования (BACKUP) предназначен для того, чтобы предварительно сохранять дублирующие файлы вышеупомянутых файлов в виде резервных копий файлов. В связи с вышеупомянутым описанием, на фиг.2 показан способ воспроизведения конкретного тайтла с использованием вышеупомянутой файловой структуры диска.
Если пользователь вводит команду на воспроизведение тайтла в связи с тайтлом, используемым в качестве индексного файла (также называемого “индексная таблица”), то начинается воспроизведение этого тайтла. В дальнейшем будет приведено подробное описание этого.
Индексный файл (index.bdmv) включает в себя информацию “первого воспроизведения”, характеризующую информацию, ассоциированную изображением с изображением, соответствующим первому воспроизведению, когда загружаются данные соответствующего диска, информацию меню верхнего уровня “меню верхнего уровня” для обеспечения изображения меню и информацию по меньшей мере одного тайтла “тайтл #1~тайтл #n”.
Если оптический диск 30 устанавливается в оптическое устройство 10 для записи/воспроизведения, то информация меню верхнего уровня, ассоциированная с индексной таблицей, обеспечивается пользователю через дисплей 20. Если пользователь выбирает конкретный тайтл или конкретный пункт меню, содержащийся в изображении меню, то воспроизведение данных начинается согласно сценарию, предварительно заданному изготовителем диска. Другими словами, если пользователь вводит команду на воспроизведение конкретного тайтла (например, тайтла #1), то исполняется конкретный файл списка воспроизведения согласно команде, содержащейся в объектном файле (MovieObject) файловой структуры воспроизведения/управления. После этого, воспроизводятся один или несколько клипов (например, клип #1~клип #3), составляющих тайтл #1, по конкретным элементам воспроизведения и/или субэлементам воспроизведения, содержащимся в файле списка воспроизведения, согласно информации файла списка воспроизведения.
Фиг.3 – структурная схема, иллюстрирующая структуру записи данных, записанную на носителе записи, согласно настоящему изобретению. Более подробно, фиг.3 показывает формат записи на диске информации, ассоциированной с файловой структурой. Как показано на фиг.3, глядя от внутренней области диска, вышеупомянутая структура диска последовательно включает в себя: область информации файловой системы, служащую в качестве системной информации для управления всеми файлами, область базы данных для записи файла списка воспроизведения и файла информации клипа для воспроизведения записанного AV потока (*.m2ts) и область AV потоков для записи множества потоков, состоящих из аудиоданных, видеоданных, графических данных и т.п. В частности, следует отметить, что данные, записанные в области AV потоков, могут быть определены как исходные данные, как утверждалось выше.
Настоящее изобретение обеспечивает способ и устройство для загрузки внешних дополнительных данных в локальное запоминающее устройство и для удаления конкретных данных из загруженных данных по приему команды запроса от пользователя, перед воспроизведением исходных данных (например, файловой структуры, показанной на фиг.2), записанных на диске, и дополнительных данных, записанных в локальном запоминающем устройстве, и разнообразие предпочтительных вариантов осуществления настоящего изобретения будет описано в дальнейшем.
Фиг.4а – блок схема, иллюстрирующая оптическое устройство записи/воспроизведения согласно настоящему изобретению.
Как показано на фиг.4а, оптическое устройство записи/воспроизведения включает в себя модуль 11 головки, сервомодуль 14, процессор 13 сигналов и микропроцессор 16. Модуль 11 головки воспроизводит исходные данные, записанные на оптическом диске, и информацию управления, включающую в себя файловую информацию воспроизведения/управления. Сервомодуль 14 управляет операциями модуля 11 головки. Процессор 13 сигналов принимает сигнал воспроизведения от модуля 11 головки, восстанавливает принятый сигнал воспроизведения до желательной величины сигнала или модулирует сигнал, подлежащий записи в виде другого сигнала, записываемого на оптическом диске, так чтобы он передавал восстановленный или модулированный результат. Микропроцессор 16 управляет взаимными операциями вышеупомянутых компонентов.
Контроллер 12 загружает дополнительные данные, существующие вне оптического диска, по приему команды от пользователя, сохраняет загружаемые дополнительные данные в локальном запоминающем устройстве 15 и конфигурирует виртуальную файловую систему (VFS) для воспроизведения исходных данных, записанных на оптическом диске, и дополнительных данных, хранимых в локальном запоминающем устройстве. Контроллер 12 формирует виртуальную компоновку данных, включающую в себя исходные данные и ассоциированные дополнительные данные, с использованием VFS и воспроизводит исходные данные и/или дополнительные данные с использованием сформированной виртуальной компоновки данных по приему запроса от пользователя.
В этом случае, виртуальная файловая система (VFS) характеризует виртуальную файловую систему, которая унифицирует файловую систему, содержащуюся в локальном запоминающем устройстве 15, и файловую систему введенного диска, так что она управляет такой унифицированной системой.
Для того чтобы одновременно воспроизводить исходные данные, содержащиеся на диске, и дополнительные данные, содержащиеся в локальном запоминающем устройстве, с использованием виртуальной файловой системы (VFS), формируется новая виртуальная компоновка данных. Эта виртуальная компоновка данных, сформированная посредством операции связывания, действует как файловая структура воспроизведения/управления для воспроизведения/управления исходного клипа, состоящего из исходных данных диска, и дополнительного клипа, состоящего из дополнительных данных локального запоминающего устройства. В этом случае, исходный клип и дополнительный клип сохраняются в различных областях.
В связи с локальным запоминающим устройством 15, файловая структура локального запоминающего устройства включает в себя блок связывания, дополнительные данные которого, ассоциированные с исходными данными, конфигурируются в модулях диска, масштабе тайтла или масштабе контента. Следовательно, дополнительные данные сохраняются в файловой структуре локального запоминающего устройства.
Контроллер 12 формирует файловую структуру локального запоминающего устройства в локальном запоминающем устройстве 15 и управляет внешними данными в файловой структуре локального запоминающего устройства. В дополнение, контролер 12 управляет функцией для сохранения загружаемых данных в файловой структуре локального запоминающего устройства и функцией для удаления выбранных пользователем файлов, содержащихся в загружаемых данных, из файловой структуры локального запоминающего устройства.
В заключение декодер 17 декодирует выходные данные (то есть, исходные данные и/или дополнительные данные) по приему управляющего сигнала из контроллера 12 и обеспечивает пользователя декодированным результатом.
Кодер 18 преобразует входной сигнал в сигнал конкретного формата (например, транспортный поток по стандарту MPEG-2) по приему управляющего сигнала из контроллера 12 и передает преобразованный результат в процессор 13 сигналов.
Новая виртуальная компоновка данных может быть сохранена в локальном запоминающем устройстве 15, так что ее может повторно использовать в будущем. Также новая виртуальная компоновка данных может временно сохраняться в дополнительной динамической памяти и затем может использоваться.
Фиг.4б – блок-схема, иллюстрирующая устройство для воспроизведения данных оптического диска с использованием локального запоминающего устройства из числа компонентов, входящих в состав оптического устройства записи/воспроизведения, согласно настоящему изобретению.
В дальнейшем будет описана информация, хранимая в локальном запоминающем устройстве 15. Локальное запоминающее устройство 15 согласно настоящему изобретению сохраняет файловую информацию (информацию дерева-каталогов файлов для индентификатора диска ((Disc_id) #n), включая каталоги и файлы для информации идентификации (ID) каждого отдельного диска, и множество дополнительных клипов, загружаемых извне. Формируется блок связывания локального запоминающего устройства 15, и могут быть сформированы файлы объявления блока связывания, включающие в себя информацию объявления блока связывания для операции связывания, ассоциированной с файловой структурой диска (то есть, компоновкой данных диска).
В частности, локальное запоминающее устройство 15 может включать в себя множество блоков файловой информации (каталоги-файлы под disc_ID #n), для работы с различными дисками. Следовательно, локальное запоминающее устройство 15 дополнительно требует файловую систему для управления вышеупомянутыми блоками файловой информации. В частности, файловая система также упоминается как файловая система 41 локального запоминающего устройства, и файловая система 41 локального запоминающего устройства характеризует систему для управления всеми файлами, хранимыми в локальном запоминающем устройстве 15.
Следовательно, если оптический диск (например, disc_ID #1) с конкретным идентификатором диска (disc_ID) устанавливается в оптическое устройство 10 записи/воспроизведения, то контроллер 12, входящий в состав оптического устройства 10 записи/воспроизведения, распознает ID информацию диска с использованием модуля 11 головки и процессора 13 сигналов. Если локальное запоминающее устройство 15 хранит файловую информацию, то контроллер считывает файловую информацию блока связывания, равносильную загружаемой ID информации диска, из числа всех блоков файловой информации, хранящихся в локальном запоминающем устройстве 15, формирует виртуальную компоновку данных посредством связывания (или объединения) считанной информации и компоновки данных диска, и воспроизводит как исходные данные, так и дополнительные данные локального запоминающего устройства с использованием сформированной виртуальной компоновки данных.
Однако, если данные, предварительно загруженные от внешнего поставщика контента (СР), не сохраняются в файловой структуре локального запоминающего устройства, то есть, если в локальном запоминающем устройстве 15 не содержится никакой файловой информации, то данные, предварительно загруженные от внешнего поставщика контента (СР), выступающего в роли внешнего источника входных данных, загружаются в файловую структуру локального запоминающего устройства, так что формируется блок связывания. Контроллер 12 считывает файловую информацию блока связывания и формирует виртуальную компоновку данных посредством связывания (или объединения) считанной информации и компоновку данных диска.
Если данные, загружаемые от внешнего поставщика контента (СР), сохраняются в масштабе диска, в масштабе тайтла или в масштабе контента, то настоящее изобретение обеспечивает способ и устройство для удаления файлов данных из файловой структуры локального запоминающего устройства по приему команды на удаление от пользователя.
В соответствии со способом загрузки данных в локальное запоминающее устройство и удаления загруженных данных из локального запоминающего устройства блок связывания локального запоминающего устройства конфигурируется в масштабе диска (то есть, на каждый диск), блок связывания локального запоминающего устройства конфигурируется в масштабе тайтла (то есть, на каждый тайтл), и блок связывания локального запоминающего устройства, конфигурированный в масштабе контента (то есть, на каждый контент), будут описаны здесь со ссылкой на фиг.5а-7б.
Фиг.5а-5б – концептуальные схемы, иллюстрирующие способ удаления данных локального запоминающего устройства согласно первому предпочтительному варианту осуществления настоящего изобретения, в котором блок связывания локального запоминающего устройства конфигурируется в масштабе диска (то есть, на каждый диск).
Файловая структура локального запоминающего устройства включает в себя каталог данных блока связывания (BindingUnitData), включающий в себя множество модулей связывания в корневом каталоге. Файловая структура локального запоминающего устройства может включать в себя каталог организации (например, org_ID #1), характеризующий поставщика контента (СР), что равносильно автору диска, в каталоге данных блока связывания (BindingUnitData). Каталог (org_ID #1) организации включает в себя множество конкретных каталогов диска (disc_ID) и совместно используемый каталог (Shared) в каталоге org_ID поставщика контента. Далее будет описан способ удаления данных локального запоминающего устройства согласно настоящему изобретению со ссылкой на фиг.5Б.
Как показано на фиг.5Б, диск устанавливается в оптическое устройство записи/воспроизведения, оптическое устройство записи/воспроизведения загружает дополнительные данные от внешнего поставщика контента (СР), формирует файловую структуру локального запоминающего устройства в масштабе диска и сохраняет файловую структуру локального запоминающего устройства в локальном запоминающем устройстве на этапе 10.
Когда локальное запоминающее устройство загружает данные от внешнего поставщика контента (СР), контроллер оптического устройства записи/воспроизведения формирует блок связывания, выступающий в роли файловой структуры локального запоминающего устройства, в масштабе диска, используя интерактивную прикладную программу, предназначенную для распространения на ВД дисках (BDJ), служащую в качестве прикладной программы загрузки, и загружает дополнительные данные.
Файловая структура локального запоминающего устройства, включающая в себя загружаемые данные, включает в себя специфический для конкретного диска каталог (disc_ID #1) и другой конкретный каталог (disc_ID #1) в каталоге (например, org_ID #1) для каждого поставщика контента (СР). BD каталог (BDMV), указывающий блок связывания 60, содержится в специфическом для конкретного диска каталоге (disc_ID #1). Блок связывания 60, указанный каталогом BDMV, конфигурируется в масштабе диска.
Модуль 60 связывания включает в себя индексный файл (index.bdmv) 61, выступающий в роли общего файла (то есть, верхнего файла), способного гарантировать возможность взаимодействия с пользователем, объектный файл (MovieObject.bdmv) 62, каталог списков воспроизведения (PLAYLIST), состоящий из файлов списков воспроизведения (00000.mpls:63 и 00002.mpls:64), каталог информации клипов (CLIPINF), состоящий из файла информации клипа (01002.clpi) 65, и каталог потоков (STREAM), состоящий из файла потока (01002. m2ts) 66, в каталоге BDMV.
После выполнения вышеупомянутого этапа 10, на этапе 11 оптическое устройство записи/воспроизведения определяет наличие команды на удаление файлов конкретного диска (диск #1), загруженных/сохраненных в локальном запоминающем устройстве.
Если определено отсутствие вышеупомянутой команды на удаление для удаления файлов конкретного диска (диска #1), то оптическое устройство записи/воспроизведения не удаляет все файлы этого конкретного диска на этапе 12.
Если на этапе 11 определено присутствие команды на удаление для удаления файлов конкретного диска (диска #1), то на этапе 13 оптическое устройство записи/воспроизведения удаляет все файлы этого конкретного диска из файловой структуры локального запоминающего устройства, так что оно может удалить модуль 60 связывания.
Предпочтительно, удаление файлов конкретного диска на вышеупомянутом этапе 13 может быть выполнено посредством резидентной прикладной программы контроллера, содержащегося в оптическом устройстве записи/воспроизведения, так что это означает, что все загруженные данные контента блока связывания для диска удаляются.
Также на этапе 13 удаляются все данные контента блока связывания, и нет необходимости модифицировать структуру данных индексной таблицы индексного файла (index.bdmv) и/или объектного файла (MovieObject.bdmv).
Следовательно, файловая структура локального запоминающего устройства, удаленная на вышеупомянутом этапе 13, включает в себя только конкретный для конкретного диска каталог (disc_ID #2) в каталоге (например, каталога org_lD #1) для каждого поставщика контента (СР).
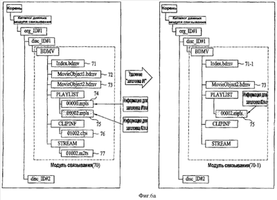
Фиг.6а-6б – концептуальные схемы, иллюстрирующие способ удаления данных локального запоминающего устройства согласно второму предпочтительному варианту осуществления настоящего изобретения, в котором блок связывания локального запоминающего устройства конфигурируется в масштабе тайтла (то есть, на каждый тайтл).
Основная структура каталогов локального запоминающего устройства по фиг.6а равносильна таковой по фиг.5а. В отличие от первого предпочтительного варианта осуществления по фиг.5 файлы, содержащиеся в отдельных каталогах модуля 70 связывания файловой структуры локального запоминающего устройства, изменяются согласно отдельным тайтлам, и подробное описание этого будет приведено здесь далее со ссылкой на фиг.6а-6б.
Как показано на фиг.6а-6б, если диск устанавливается в оптическое устройство записи/воспроизведения, оптическое устройство записи/воспроизведения загружает дополнительные данные от внешнего поставщика контента (СР), формирует файловую структуру локального запоминающего устройства в масштабе тайтла и сохраняет файловую структуру локального запоминающего устройства в локальном запоминающем устройстве на этапе 20.
Когда локальное запоминающее устройство загружает данные от внешнего поставщика контента (СР), контроллер оптического устройства записи/воспроизведения формирует блок связывания, выступающий в роли файловой структуры локального запоминающего устройства, в масштабе тайтла, используя прикладную программу BDJ, служащую в качестве прикладной программы загрузки, и загружает дополнительные данные.
В соответствии со специфической информацией, показывающей, соответствуют ли файлы модуля 70 связывания, содержащиеся в файловой структуре локального запоминающего устройства, файлам конкретного тайтла, локальное запоминающее устройство загружает не только данные, но также файловую информацию тайтлов. В этом случае, специалистам должно быть очевидно, что локальное запоминающее устройство загружает не только первую информацию, указывающую, что конкретные файлы (00000.mpls: 74, 01002.clpi: 76 и 01002. m2ts:77) равносильны файлам, ассоциированным с модулем связывания тайтла #1, но также и вторую информацию, показывающую, что конкретный файл (00002.mpls) 75 равносилен файлу, ассоциированному с модулем связывания тайтла #2, при загрузке данных от внешнего поставщика контента (СР).
В частности, следует отметить, что специфическая информация, которая показывает, равнозначны ли файлы модуля 70 связывания, содержащиеcя в вышеупомянутой файловой структуре локального запоминающего устройства, файлам конкретного тайтла, может быть включена в информацию обнаруженных файлов блока связывания, загружаемых от поставщика контента (СР).
Файловая структура локального запоминающего устройства, включающая в себя загружаемые данные, включает в себя специфический для конкретного диска каталог (disc_ID #1) и другой конкретный каталог (disc_ID #1) в каталоге (например, org_ID #1) для каждого поставщика контента (СР). BD каталог (BDMV), указывающий блок связывания 70, содержится в специфическом для конкретного диска каталоге (disc_ID #1).
Модуль 70 связывания, указываемый каталогом BDMV, конфигурируется в масштабе тайтла. Модуль 70 связывания включает в себя индексный файл (index.bdmv) 71, выступающий в роли общего файла (то есть, верхнего файла), способного гарантировать возможность взаимодействия с пользователем, объектный файл 72 тайтла #1 (MovieObject.bdmv), каталог списков воспроизведения (PLAYLIST), состоящий из файлов списков воспроизведения (00000.mpls:74 и 00002.mpls:75), каталог информации клипов (CLIPINF), состоящий из файла информации клипа (01002.dpi) 76, и каталог потоков (STREAM), состоящий из файла потоков (01002. m2ts) 77, в каталоге BDMV.
В этом случае, объектный файл (MovieObject.bdmv) 72, файл 74 списка воспроизведения (00000.mpls), файл 76 информации клипа (01002.clpi) и файл 77 потока (01002.m2ts) из числа вышеупомянутых файлов модуля 70 связывания доступны для тайтла #1. Объектный файл (MovieObject. bdmv) 73 и файл 75 (00002.mpls) списка воспроизведения доступны для тайтла #2.
После выполнения вышеупомянутого этапа 20, на этапе 21 оптическое устройство записи/воспроизведения определяет наличие команды на удаление файлов конкретного тайтла (тайтла #1), загруженных/сохраненных в локальном запоминающем устройстве.
Если определено отсутствие вышеупомянутой команды на удаление для удаления файлов конкретного тайтла (тайтла #1), то оптическое устройство записи/воспроизведения не удаляет все файлы этого конкретного тайтла (тайтл #1) на этапе 22.
Если на этапе 21 определено присутствие команды на удаление для удаления файлов конкретного тайтла (тайтла #1), то на этапе 23 оптическое устройство записи/воспроизведения удаляет все файлы этого конкретного тайтла (тайтла #1) из файловой структуры локального запоминающего устройства.
Другими словами, на этапе 23 множество файлов конкретного тайтла (тайтла #1) (то есть, объектный файл (MovieObject.bdmv) 72, файл 74 списка воспроизведения (00000.mpls), файл 76 информации клипа (01002.clpi) и файл 77 потока (01002. m2ts) удаляются из модуля 70 связывания.
Предпочтительно, удаление файлов конкретного тайтла на вышеупомянутом этапе 23 может быть выполнено посредством резидентной прикладной программы контроллера, содержащегося в оптическом устройстве записи/воспроизведения, так что это означает, что все загруженные данные контента блока связывания для тайтла #1 удаляются.
После выполнения вышеупомянутого этапа 23, оптическое устройство записи/воспроизведения модифицирует структуру базы данных конкретного файла из числа файлов локального запоминающего устройства на этапе 24. Например, индексная таблица индексного файла (Index.bdmv) 71-1 может быть модифицирована согласно тайтлу, сформированному после удаления структуры базы данных, или может быть модифицирована структура базы данных объектного файла (MovieObject.bdmv) 73.
Следовательно, согласно файловой структуре локального запоминающего устройства, сформированной после того, как вышеупомянутые файлы удалены/модифицированы на вышеупомянутых этапах, блок 70-1 связывания включает в себя индексный файл (Index.bdmv) 71-1, имеющий модифицированную структуру базы данных, объектный файл (MovieObject.bdmv) 73, каталог списков воспроизведения (PLAYLIST), снабженный файлом 75 списка воспроизведения (00002.mpls) для тайтла #2, каталог информации клипа (CLIPINF), не имеющий файлов, и каталог потоков (STREAM), не имеющий файлов, в BDMV каталоге.
Фиг.7а-7б – концептуальные схемы, иллюстрирующие способ удаления данных локального запоминающего устройства согласно третьему предпочтительному варианту осуществления настоящего изобретения, в котором блок связывания локального запоминающего устройства конфигурируется в масштабе контента (то есть, на каждый контент).
Как показано на фиг.7а-7б, если диск устанавливается в оптическое устройство записи/воспроизведения, оптическое устройство записи/воспроизведения загружает дополнительные данные от внешнего поставщика контента (СР), формирует файловую структуру локального запоминающего устройства в масштабе контента и сохраняет файловую структуру локального запоминающего устройства в локальном запоминающем устройстве на этапе 30.
Когда локальное запоминающее устройство загружает данные от внешнего поставщика контента (СР), контроллер оптического устройства записи/воспроизведения формирует блок связывания, выступающий в роли файловой структуры локального запоминающего устройства, в масштабе контента, используя прикладную программу BDJ, служащую в качестве прикладной программы загрузки, и загружает дополнительные данные.
Файловая структура локального запоминающего устройства, включающая в себя загружаемые данные, включает в себя специфический для конкретного диска каталог (disc_ID #1) и другой конкретный каталог (disc_ID #1) в каталоге (например, org_ID #1) для каждого поставщика контента (СР). BD каталог (BDMV), указывающий блок 80 связывания, содержится в специфическом для конкретного диска каталоге (disc_ID #1).
Модуль 80 связывания, указываемый каталогом BDMV, конфигурируется в масштабе контента. Модуль 80 связывания включает в себя индексный файл (index.bdmv) 81, выступающий в роли общего файла (то есть, верхнего файла), способного гарантировать возможность взаимодействия с пользователем, объектный файл (MovieObject.bdmv) 82, каталог списков воспроизведения (PLAYLIST), состоящий из файлов списков воспроизведения (00000.00.mpls:83, 00000.01.mpls:84 и 00002.mpls:85), каталог информации клипов (CLIPINF), состоящий из файлов информации клипа (01002.dpi: 86 и 01003.dpi:87), и каталог потоков (STREAM), состоящий из файлов потоков (01002.m2ts:88 и 01003.m2ts:89), в BDMV каталоге.
В этом случае, файл списка воспроизведения (00000.00.mpls) 83, файл информации клипа (01002.dpi) 86 и файл потока (01002.m2ts) 88 из числа вышеупомянутых файлов модуля 80 связывания доступны для контента #1. Файл (00000.01.mpls) 84 списка файлов для воспроизведения и файл потока (01003.m2ts) 89 доступны для контента #2.
После выполнения вышеупомянутого этапа 30, на этапе 31 оптическое устройство записи/воспроизведения определяет наличие команды на удаление файлов конкретного контента (контента #1), загруженных/сохраненных в локальном запоминающем устройстве.
Если определено отсутствие вышеупомянутой команды на удаление для удаления файлов конкретного контента (контента #1), то оптическое устройство записи/воспроизведения не удаляет все файлы этого конкретного контента (контента #1) на этапе 32.
Если на этапе 31 определено присутствие команды на удаление для удаления файлов конкретного контента (контента #1), то на этапе 33 оптическое устройство записи/воспроизведения удаляет все файлы этого конкретного контента (контента #1) из файловой структуры локального запоминающего устройства.
Другими словами, на этапе 33 множество файлов конкретного контента (контента #1) (то есть, файл списка воспроизведения (00000.00.mpls) 83, файл информации клипа (01002. clpi) 86 и файл потока (01002.m2ts) 88) удаляются из модуля 80 связывания.
Предпочтительно, удаление файлов конкретного контента на вышеупомянутом этапе 33 может быть выполнено посредством резидентной прикладной программы контроллера, содержащегося в оптическом устройстве записи/воспроизведения, так что это означает, что все загруженные данные контента блока связывания для этого контента удаляются.
После выполнения вышеупомянутого этапа 33, оптическое устройство записи/воспроизведения модифицирует структуру базы данных конкретного файла из числа файлов локального запоминающего устройства на этапе 34. Например, индексная таблица частичного индексного файла (Index.bdmv) 81-1 и структура базы данных объектного файла (MovieObject.bdmv) 8201 могут быть модифицированы согласно контенту, сформированному после удаления структуры базы данных.
Следовательно, согласно файловой структуре локального запоминающего устройства, сформированной после того, как вышеупомянутые файлы удалены/модифицированы на вышеупомянутых этапах, блок связывания 80-1 включает в себя индексный файл (Index.bdmv) 81-1, имеющий модифицированную структуру базы данных для контента #2, объектный файл (MovieObject.bdmv) 82-1, каталог списков воспроизведения (PLAYLIST), снабженный файлами списков воспроизведения (00000.01.mpls:84 и 00002.mpls:85) для контента #2, каталог информации клипов (CLIPINF), состоящий из файла информации клипа (01003. clpi) 87, и каталог потоков (STREAM), состоящий из файла потока (01003.m2ts) 89, в каталоге BDMV.
В связи с вышеупомянутым описанием, при условии, что блок связывания, сконфигурированный в масштабе контента, повреждается или разрушается, вышеупомянутый способ удаления данных блока связывания в масштабе контента может удалять только поврежденные или разрушенные данные контента. Однако, если данные блока связывания удаляются в масштабе диска, то все файлы диска могут быть удалены. Если данные блока связывания удаляются в масштабе тайтла, то все файлы тайтла могут быть удалены.
Как очевидно из вышеупомянутого описания, способ и устройство для удаления данных локального запоминающего устройства согласно настоящему изобретению могут удалять данные из блока связывания файловой структуры локального запоминающего устройства в масштабе диска, масштабе тайтла или в масштабе контента, так что можно максимально использовать локальное запоминающее устройство, имеющее ограниченную емкость. Также настоящее изобретение может эффективно воспроизводить исходные данные, записанные на носителе записи, и дополнительные данные, загружаемые извне, приводя к созданию более удобных функций для пользователя.
Промышленная применимость
Специалистам должно быть очевидно, что в настоящем изобретении могут быть выполнены различные модификации и вариации, не отклоняясь от сущности и объема настоящего изобретения. Таким образом, имеется в виду, что настоящее изобретение охватывает модификации и вариации настоящего изобретения при условии, что они подпадают под объемом приложенной формулы изобретения и ее эквивалентов.
Формула изобретения
1. Способ управления файлами данных локального запоминающего устройства, содержащий этапы, на которых загружают, по меньшей мере, один файл данных от поставщика контента, сохраняют загруженный файл данных в локальном запоминающем устройстве и формируют с использованием сохраненного файла блок связывания, представляющий собой набор файлов, имеющих информацию, ассоциированную с носителем записи; и по приему команды на удаление конкретного файла, содержащегося в блоке связывания, удаляют все файлы, содержащиеся в блоке связывания.
2. Способ по п.1, в котором файл данных сохраняют в локальном запоминающем устройстве в масштабе соответствующего диска.
3. Способ управления файлами данных локального запоминающего устройства, содержащий этапы, на которых загружают, по меньшей мере, один файл данных от поставщика контента, сохраняют загруженный файл данных в локальном запоминающем устройстве и формируют с использованием сохраненного файла блок связывания, представляющий собой набор файлов, имеющих информацию, ассоциированную с носителем записи; и по приему команды на удаление конкретного файла, содержащегося в блоке связывания, удаляют все файлы, ассоциированные с тайтлом, включая упомянутый конкретный файл, который должен быть удален.
4. Способ по п.3, в котором блок связывания включает в себя информацию, ассоциированную с упомянутым тайтлом.
5. Способ по п.3, дополнительно содержащий этап, на котором модифицируют файл базы данных, содержащийся в блоке связывания, после удаления всех файлов, ассоциированных с упомянутым тайтлом.
6. Способ по п.5, в котором файл базы данных обозначает индексный файл.
7. Способ по п.5, в котором файл базы данных обозначает объектный файл.
8. Способ по п.3, в котором файл базы данных сохраняется в локальном запоминающем устройстве в масштабе тайтла для каждого диска.
9. Способ по п.3, в котором ассоциированная с тайтлом информация содержится в файле объявления блока связывания и затем загружается.
10. Способ управления файлами данных локального запоминающего устройства, содержащий этапы, на которых загружают, по меньшей мере, один файл данных от поставщика контента, сохраняют загруженный файл данных в локальном запоминающем устройстве и формируют с использованием сохраненного файла блок связывания, представляющий собой набор файлов, имеющих информацию, ассоциированную с носителем записи; и по приему команды на удаление конкретного файла, содержащегося в блоке связывания, удаляют только этот конкретный файл, который должен быть удален, и корректируют файл базы данных, ассоциированный с удалением упомянутого файла.
11. Способ по п.10, в котором файл базы данных сохраняют в локальном запоминающем устройстве в масштабе контента для каждого диска.
12. Способ по п.11, в котором файловая структура локального запоминающего устройства, сконфигурированная в масштабе контента, включает в себя файл списка воспроизведения на каждый контент.
13. Способ по п.10, в котором файл базы данных обозначает индексный файл.
14. Способ по п.10, в котором файл базы данных обозначает объектный файл.
15. Устройство для управления файлами данных локального запоминающего устройства, содержащее модуль головки для считывания данных с носителя записи; локальное запоминающее устройство для загрузки, по меньшей мере, одного файла, ассоциированного с данными носителя записи, и для сохранения загруженного файла; и контроллер для формирования блока связывания, представляющего собой набор файлов, имеющих информацию, ассоциированную с носителем записи, с использованием файла, сохраненного в локальном запоминающем устройстве, и для удаления конкретного файла или конкретных файлов из блока связывания в масштабе диска, масштабе тайтла и масштабе контента.
16. Устройство по п.15, в котором контроллер включает в себя интерактивную прикладную программу для дисков стандарта Blu-Ray (BDJ), такую, что он загружает/сохраняет в локальном запоминающем устройстве с использованием этой прикладной программы BDJ.
17. Устройство по п.15, в котором контроллер включает в себя резидентную прикладную программу, такую, что он удаляет конкретный файл или специфические файлы из блока связывания с использованием этой резидентной прикладной программы.
18. Способ управления файлами данных локального запоминающего устройства, содержащий этапы, на которых загружают, по меньшей мере, один файл данных от поставщика контента; сохраняют файл данных в локальном запоминающем устройстве; формируют с использованием файла данных блок связывания, представляющий собой набор файлов, имеющих информацию, ассоциированную с носителем записи; и удаляют файл данных, содержащийся в модуле связывания.
19. Способ по п.18, в котором при удалении файла данных удаляют все файлы, ассоциированные с тайтлом.
20. Способ по п.18, в котором файл базы данных представляет собой файл потока.
21. Способ по п.18, в котором блок связывания включает в себя информацию, ассоциированную с тайтлом.
22. Способ по п.18, дополнительно содержащий этап, на котором модифицируют файл базы данных, содержащийся в модуле связывания, после удаления файла данных.
23. Способ по п.22, в котором файл базы данных обозначает индексный файл.
24. Способ по п.22, в котором файл базы данных обозначает объектный файл.
25. Способ по п.18, в котором файл данных сохраняют в локальном запоминающем устройстве в масштабе тайтла для каждого диска.
26. Способ по п.21, в котором ассоциированная с тайтлом информация содержится в файле обновления блока связывания и затем загружается.
РИСУНКИ
|
|