|
|
(21), (22) Заявка: 2008132637/28, 07.08.2008
(24) Дата начала отсчета срока действия патента:
07.08.2008
(46) Опубликовано: 27.03.2010
(56) Список документов, цитированных в отчете о поиске:
US 5502592 А, 26.03.1996. RU 2178194 C1, 10.01.2002. US 2003048543 A1, 13.03.2003. JP 55017128 A, 06.02.1980. JP 2008008960 A, 17.01.2008.
Адрес для переписки:
630090, г.Новосибирск, ул. Николаева, 8, Новосибирский филиал Института физики полупроводников СО РАН “Конструкторско-технологический институт прикладной микроэлектроники”
|
(72) Автор(ы):
Хацевич Татьяна Николаевна (RU), Терешин Евгений Александрович (RU)
(73) Патентообладатель(и):
Институт физики полупроводников СО РАН (RU)
|
(54) СВЕТОСИЛЬНЫЙ ШИРОКОУГОЛЬНЫЙ ОБЪЕКТИВ ДЛЯ ИНФРАКРАСНОЙ ОБЛАСТИ СПЕКТРА (ВАРИАНТЫ)
(57) Реферат:
Объектив содержит первый отрицательный мениск, обращенный выпуклой поверхностью к пространству предметов, вторую положительную линзу, третий отрицательный мениск, обращенный вогнутой поверхностью к пространству предметов, четвертую положительную линзу и пятый положительный мениск, обращенный вогнутой поверхностью к плоскости изображений, и апертурную диафрагму. В первом варианте апертурная диафрагма расположена между пятым мениском и плоскостью изображений, вторая линза – мениск, обращенный вогнутой поверхностью к плоскости изображений, четвертая – двояковыпуклая. Относительные оптические силы линз составляют соответственно -(0,20÷0,26), (0,16÷0,26), -(0,12÷0,15), (0,12÷0,15), (0,15÷0,20). Расстояние между первой и второй линзами не более 12 фокусных расстояний объектива. Во втором варианте апертурная диафрагма между второй и третьей линзами, вторая линза – двояковыпуклая, четвертая – мениск, обращенный выпуклой поверхностью к пятой. Относительные оптические силы линз составляют соответственно -(0,24÷0,28), (0,24÷0,28), -(0,12÷0,15), (0,12÷0,15), (0,15÷0,20). Расстояние между первой и второй линзами не более 9 фокусных расстояний объектива. Технический результат – повышение масштаба изображения, уменьшение габаритов и массы при сохранении светосилы и высокого качества изображения. 2 н.п. ф-лы, 4 ил., 5 табл.
Изобретение относится к области оптического приборостроения, а именно к объективам, работающим в инфракрасной (ИК) области спектра, и может быть использовано в оптических системах тепловизоров, использующих для регистрации теплового изображения матричные приемники излучения, например микроболометры.
Известны светосильные объективы, работающие в дальней инфракрасной области 8-12 мкм, имеющие относительное отверстие 1:1,5 и выше, содержащие четыре или пять линз [Тарасов В.В., Якушенков Ю.Г. Инфракрасные системы «смотрящего» типа. – М.: Логос, 2004. – с.108-109, таблицы 6.5 и 6.6]. Наибольшее угловое поле объективов составляет 30×40°.
Также известен светосильный широкоугольный объектив для ИК области спектра, состоящий из четырех линз, включая линзу с асферической поверхностью, или пяти линз со сферическими преломляющими поверхностями [Полезная модель 65254. Светосильный широкоугольный объектив для инфракрасной области спектра, 2007]. Относительное отверстие объектива 1:0,8, угловое поле в пространстве предметов 60-68°. Среднеквадратическое значение (RMS) волновой аберрации не превышает 0,09 , значение функции передачи модуляции на частоте 20 л/мм не превышает 0,5.
Недостатком этих объективов является малое угловое поле в пространстве предметов, не позволяющее использовать их в ИК широкопольных обзорных системах без сканирования.
Наиболее близким по технической сущности, принятым за прототип, является светосильный широкоугольный объектив для ИК области спектра [патент США 5502592, 1996 г., вариант реализации 5 (таблица V, фиг.18)], предназначенный для спектрального диапазона работы от 8 до 12 мкм. Объектив имеет следующие характеристики: фокусное расстояние f’=3,65 мм, относительное отверстие 1:1, угловое поле 270°, длина вдоль оптической оси между первой преломляющей поверхностью и плоскостью изображения 128,5 мм, размер изображения 2 y’=12,8 мм. Масса линз объектива составляет 300 г. Качество изображения характеризуется среднеквадратическим размером пятна рассеяния, величина которого лежит в пределах от 0,017 мм на оси до 0,040 мм на краю изображения.
Объектив содержит последовательно расположенные по ходу лучей первый отрицательный мениск, обращенный выпуклой поверхностью к пространству предметов, вторую положительную линзу, третий отрицательный мениск, обращенный вогнутой поверхностью к пространству предметов, четвертую положительную линзу, выполненную в виде мениска, обращенного вогнутой поверхностью к пространству предметов, и пятый положительный мениск, обращенный вогнутой поверхностью к пространству изображений, все преломляющие поверхности которых являются сферическими. Все линзы выполнены из германия.
Относительные оптические силы линз в этом объективе, начиная с первой, составляют -0,15; 0,077; -0,110; 0,101; 0,114, т.е. оптические силы третьего отрицательного мениска и четвертой положительной линзы равны по абсолютной величине. Расстояние между первой и второй линзами в 20 раз превышает фокусное расстояние объектива, длина объектива превышает фокусное расстояние объектива в 35 раз, диаметр первого мениска превышает размер изображения в 6,8 раза.
Основным недостатком прототипа является малый масштаб изображения, большие габаритные размеры и масса объектива.
Современные инфракрасные фотоприемные устройства (ФПУ), рабочий спектральный диапазон которых соответствует 8-12 мкм, имеют ограниченные размеры чувствительных площадок. Поэтому при значительном увеличении углового поля в пространстве предметов, например до 270°, величина фокусного расстояния объектива, согласованная с ограниченным размером инфракрасного ФПУ, получается малой, а следовательно, и масштаб изображения, с которым объектив проецирует объекты на ФПУ, определяемый как М=1:s/f’, также будет малым, что ведет к снижению разрешающей способности объектива в пространстве предметов (здесь s – расстояние до объектов).
При высокой степени коррекции аберраций объектива и дифракционном качестве изображения из-за дискретного характера матричного ФПУ размер разрешаемого элемента в пространстве предметов обратно пропорционален масштабу изображения и уменьшается при повышении масштаба. Например, при s=200 м и f’=3,65 мм масштаб изображения получается М=1:54800. При размере пикселя матричного ФПУ, равном 0,025 мм, размер разрешаемого элемента в пространстве предметов определится как ·М и составит 1370 мм. Повышение разрешения или дальности обнаружения объектов в ИК-диапазоне спектра связано с увеличением масштаба изображения объектов при сохранении качества изображения, даваемого объективом, согласованным с размерами пикселя ФПУ.
Для обеспечения необходимой дальности обнаружения объектов в ИК-диапазоне в ряде применений поле зрения широкоугольных объективов не должно превышать 150° при минимальных массе и габаритах.
Если же в объективе-прототипе ограничить поле в пространстве предметов, например, величиной 150°, то при том же размере ФПУ получится, что длина объектива в 29 раз, а диаметр первой линзы в 12,3 раза превышают размер изображения, т.е. объектив имеет большие габариты. В частности, при пересчете объектива прототипа на фокусное расстояние 8 мм и угловое поле 150° масса линз составляет 650 г.
Большие габаритные размеры объектива, а именно большая длина вдоль оптической оси между первой преломляющей поверхностью и плоскостью изображения и большой в сравнении с размером изображения диаметр линз объектива, а также большая масса объектива ограничивают возможность его применения в малогабаритных приборах, предназначенных для регистрации теплового изображения объектов и размещаемых на малогабаритных платформах, например на беспилотных летательных аппаратах.
Изобретение решает задачу повышения масштаба изображения и уменьшения габаритных размеров и массы при сохранении светосилы и высокого качества изображения в инфракрасном широкоугольном светосильном объективе.
Для решения указанной задачи необходимо обеспечить такое сочетание оптических сил линз, формы линз и их взаимного расположения, чтобы одновременно удовлетворялась совокупность требований: корригирование первичных аберраций широких пучков лучей (сферическая, кома), полевых аберраций (астигматизм, кривизна изображения, дисторсия), хроматических аберраций до величин, обеспечивающих размер пятна рассеяния в плоскости приемника излучения, сопоставимый с размером дифракционного пятна и размера пикселя ФПУ, с учетом налагаемых ограничений на продольные и поперечные габаритные размеры, а также на обеспечение высокой светосилы объектива.
Имеющиеся аналитические методы применимы лишь для расчета объективов малой светосилы и небольших угловых полей и не могут быть использованы для расчета широкоугольного светосильного объектива.
Предложен светосильный широкоугольный объектив для ИК области спектра, содержащий в первом варианте последовательно расположенные по ходу лучей первый отрицательный мениск, обращенный выпуклой поверхностью к пространству предметов, вторую положительную линзу, третий отрицательный мениск, обращенный вогнутой поверхностью к пространству предметов, четвертую положительную линзу и пятый положительный мениск, обращенный вогнутой поверхностью к плоскости изображений, а также апертурную диафрагму, расположенную в воздушном промежутке между пятым положительным мениском и плоскостью изображений, все преломляющие поверхности являются сферическими, оптические силы третьего отрицательного мениска и четвертой положительной линзы равны по абсолютной величине, линзы выполнены из одного материала, отличающийся тем, что вторая положительная линза выполнена в виде мениска, обращенного вогнутой поверхностью к плоскости изображений, четвертая положительная линза выполнена двояковыпуклой, при этом относительные оптические силы линз составляют соответственно -(0,20÷0,26), (0,16÷0,26), -(0,12÷0,15), (0,12÷0,15), (0,15÷0,20), расстояние между первой и второй линзами составляет не более 12 фокусных расстояний объектива.
Во втором варианте исполнения предложен светосильный широкоугольный объектив для ИК области спектра, содержащий последовательно расположенные по ходу лучей первый отрицательный мениск, обращенный выпуклой поверхностью к пространству предметов, вторую двояковыпуклую линзу, третий отрицательный мениск, обращенный вогнутой поверхностью к пространству предметов, четвертый и пятый положительные мениски, обращенные выпуклыми поверхностями друг к другу, а также апертурную диафрагму, все преломляющие поверхности являются сферическими, оптические силы третьего отрицательного мениска и четвертого положительного мениска равны по абсолютной величине, линзы выполнены из одного материала, отличающийся тем, что апертурная диафрагма размещена в воздушном промежутке между второй двояковыпуклой линзой и третьим отрицательным мениском, при этом относительные оптические силы линз составляют соответственно -(0,24÷0,28), (0,24÷0,28), -(0,12÷0,15), (0,12÷0,15), (0,15÷0,20), расстояние между первой и второй линзами составляет не более 9 фокусных расстояний объектива.
Таким образом, второй вариант объектива отличается от первого формой второй и четвертой линз, оптическими силами первых трех линз, расстоянием между первой и второй линзами, положением диафрагмы.
Предлагаемый светосильный широкоугольный объектив для ИК области спектра позволяет повысить масштаб изображения при работе с современными инфракрасными ФПУ, рабочий спектральный диапазон которых соответствует 8-12 мкм, уменьшить габаритные размеры и массу объектива при сохранении его светосилы и высокого качества изображения в широком угловом поле.
Во втором варианте объектива дополнительно реализуется телецентрический ход главных лучей в пространстве изображений, что является положительным моментом при работе с болометрическими матричными ФПУ, т.к. при таком ходе лучей условия освещения будут одинаковыми для всех пикселей ФПУ, т.е. повышается светораспределение по полю.
Повышение технических характеристик в светосильном широкоугольном объективе для ИК области спектра достигается новой совокупностью отличительных признаков:
– вторая положительная линза выполнена в виде мениска, обращенного вогнутой поверхностью к плоскости изображений; четвертая положительная линза выполнена двояковыпуклой;
– относительные оптические силы линз составляют, начиная с первой по ходу лучей линзы, соответственно -(0,20÷0,26), (0,16÷0,26), -(0,12÷0,15), (0,12÷0,15), (0,15÷0,20),
– расстояние между первой и второй линзами составляет не более 12 фокусных расстояний объектива.
Во втором варианте светосильного широкоугольного объектива для ИК области спектра положительный эффект достигается новой совокупностью отличительных признаков:
– апертурная диафрагма размещена в воздушном промежутке между второй двояковыпуклой линзой и третьим отрицательным мениском;
– относительные оптические силы линз составляют, начиная с первой по ходу лучей линзы, соответственно -(0,24÷0,28), (0,24÷0,28), -(0,12÷0,15), (0,12÷0,15), (0,15÷0,20),
– расстояние между первой и второй линзами составляет не более 9 фокусных расстояний объектива.
Выполнение в светосильном широкоугольном объективе для ИК области спектра второй положительной линзы в виде мениска, обращенного вогнутой поверхностью к плоскости изображений, четвертой положительной линзы двояковыпуклой позволяет уменьшить углы падения лучей широких наклонных пучков на преломляющие поверхности и улучшить коррекцию аберраций широких наклонных пучков, сохранив светосилу и высокое качество изображения в заявляемом объективе.
Соблюдение указанных соотношений между оптическими силами линз и расстояний между ними позволяет повысить фокусное расстояние объектива, что обеспечивает при величине изображения, ограниченной размерами современных инфракрасных матичных ФПУ, повышение масштаба изображения, а вместе с тем создает условия для коррекции полевых аберраций и, как результат, сохранение высокого качества изображения.
Ограничение расстояния между первой и второй линзами величиной 12 фокусных расстояний объектива в первом варианте и величиной 9 фокусных расстояний объектива во втором варианте совместно с указанными соотношениями между оптическими силами линз в вариантах объектива позволяет уменьшить габаритные размеры и массу в предлагаемом светосильном широкоугольном объективе для ИК-области спектра.
Во втором варианте предлагаемого объектива при найденных соотношениях оптических сил эквивалентная передняя фокальная плоскость третьего, четвертого и пятого менисков размещается в воздушном промежутке между второй двояковыпуклой линзой и третьим отрицательным мениском и совмещение с ней апертурной диафрагмы обеспечивает телецентрический ход главных лучей в пространстве изображений, что является дополнительным положительным эффектом при работе светосильного широкоугольного объектива совместно с болометрическими приемниками ИК-диапазона.
Указанное решение обладает новизной и изобретательским уровнем. Изобретение основано на впервые установленной заявителями зависимости между оптическими силами, формой, взаимным расположением линз в светосильном широкоугольном объективе для ИК области спектра.
Авторам не известны светосильные широкоугольные объективы для ИК области спектра, в которых были бы реализованы указанные признаки.
Предложенное изобретение иллюстрируется следующими графическими материалами:
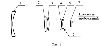
фиг.1 – оптическая схема светосильного широкоугольного объектива для ИК области спектра (вариант первый);
фиг.2 – оптическая схема светосильного широкоугольного объектива для ИК области спектра (вариант второй);
фиг.3 – среднеквадратический (RMS) размер пятна рассеяния по полю (вариант первый);
фиг.4 – среднеквадратический (RMS) размер пятна рассеяния по полю (вариант второй).
На фиг.1 изображена предлагаемая оптическая схема светосильного широкоугольного объектива для ИК-области спектра (вариант первый). Оптическая система содержит расположенные по ходу лучей первый отрицательный мениск 1, обращенный выпуклой поверхностью к пространству предметов, второй положительный мениск 2, обращенный вогнутой поверхностью к плоскости изображений, третий отрицательный мениск 3, обращенный вогнутой поверхностью к пространству предметов, четвертую двояковыпуклую линзу 4 и пятый положительный мениск 5, обращенный вогнутой поверхностью к плоскости изображений. Апертурная диафрагма 6 расположена в воздушном промежутке между мениском 5 и плоскостью изображений. Преломляющие поверхности всех линз объектива являются сферическими. Оптические силы третьего отрицательного мениска и четвертой двояковыпуклой линзы равны по абсолютной величине. Линзы выполнены из одного материала. Относительные оптические силы линз составляют соответственно -(0,20÷0,26), (0,16÷0,26), -(0,12÷0,15), (0,12÷0,15), (0,15÷0,20). Расстояние между первой и второй линзами составляет не более 12 фокусных расстояний объектива. На фиг.1 дополнительно показана плоскопараллельная пластинка 7, являющаяся защитным стеклом инфракрасного ФПУ.
Инфракрасное излучение, идущее от каждой точки удаленного объекта, проходя последовательно мениски 1, 2, 3, линзу 4, мениск 5, защитное стекло 7, фокусируется в плоскости матричного ФПУ, при этом размер пятна рассеяния соразмерен величине пикселя ФПУ, в результате чего на площадке ФПУ создается качественное изображение объектов и фона в ИК спектральном диапазоне. Диафрагма 6 ограничивает пучки лучей, обеспечивая высокое относительное отверстие объектива.
На фиг.2 изображена предлагаемая оптическая схема светосильного широкоугольного объектива для ИК области спектра (вариант второй). Оптическая схема содержит последовательно расположенные по ходу лучей первый отрицательный мениск 1, обращенный выпуклой поверхностью к пространству предметов, вторую двояковыпуклую линзу 2, третий отрицательный мениск 3, обращенный вогнутой поверхностью к пространству предметов, четвертый 4 и пятый 5 положительные мениски, обращенные выпуклыми поверхностями друг к другу, а также апертурную диафрагму 6. Все преломляющие поверхности являются сферическими. Оптические силы третьего отрицательного мениска и четвертого положительного мениска равны по абсолютной величине. Линзы выполнены из одного материала. Апертурная диафрагма размещена в воздушном промежутке между второй двояковыпуклой линзой и третьим отрицательным мениском. Относительные оптические силы линз составляют соответственно -(0,24÷0,28), (0,24÷0,28), -(0,12÷0,15), (0,12÷0,15), (0,15÷0,20). Расстояние между первой и второй линзами составляет не более 9 фокусных расстояний объектива. На фиг.2 дополнительно показана плоскопараллельная пластинка 7, являющаяся защитным стеклом инфракрасного ФПУ.
Инфракрасное излучение, идущее от каждой точки удаленного объекта, проходя последовательно мениск 1, линзу 2, мениски 3, 4, 5 и защитное стекло, фокусируется в плоскости матричного ФПУ, при этом размер пятна рассеяния соразмерен величине пикселя ФПУ, в результате чего на площадке ФПУ создается качественное изображение объектов и фона в ИК спектральном диапазоне, близкое к дифракционно ограниченному. Диафрагма ограничивает пучки лучей, обеспечивая высокое относительное отверстие объектива. Кроме того, размещение диафрагмы в воздушном промежутке между второй двояковыпуклой линзой и третьим отрицательным мениском, в эквивалентной передней фокальной плоскости менисков 3, 4 и 5 обеспечивает телецентрический ход главных лучей в пространстве изображений, что является дополнительным положительным эффектом при работе светосильного широкоугольного объектива совместно с болометрическими приемниками инфракрасного диапазона.
В таблицах 1 и 2 приведены оптические силы и расстояния между линзами в конкретных примерах исполнения светосильного широкоугольного объектива для ИК области спектра соответственно первого и второго вариантов. Значения параметров в таблицах 1 и 2 приведены при нормировке фокусного расстояния f’=1. Спектральный диапазон от 8 до 12 мкм, материал линз – германий. Относительное отверстие объектива 1:1,1. Угловое поле в пространстве предметов 150°.
| Таблица 1 |
| Параметры светосильного широкоугольного объектива для ИК области спектра (вариант первый) |
| Номер линз в соответствии с фиг.1 |
Оптическая сила |
Расстояние между линзами |
Диаметр линзы |
| 1 |
-0,218 |
11,51 |
9,14 |
| 2 |
0,165 |
0,73 |
5,30 |
| 3 |
-0,124 |
3,95 |
4,86 |
| 4 |
0,125 |
0,06 |
3,77 |
| 5 |
0,172 |
0,39 |
3,36 |
| 6 |
0 |
2,32 |
2,78 |
| 7 |
– |
0,39 |
2,79 |
| Таблица 2 |
| Параметры светосильного широкоугольного объектива для ИК области спектра (вариант второй) |
| Номер линз в соответствии с фиг.2 |
Оптическая сила |
Расстояние между линзами |
Диаметр линзы |
| 1 |
-0,26 |
8,88 |
7,06 |
| 2 |
0,26 |
0,40 |
3,43 |
| 6 |
– |
0,17 |
2,05 |
| 3 |
-0,124 |
3,49 |
2,65 |
| 4 |
0,140 |
0,06 |
4,28 |
| 5 |
0,188 |
1,42 |
4,09 |
| 7 |
0 |
0,50 |
2,69 |
Позицией 6 в таблицах 1 и 2 указана апертурная диафрагма.
Для применения этого объектива с конкретным ФПУ, исходя из приведенных в таблицах 1 и 2 значений, используя стандартную оптимизацию по методу наименьших квадратов, входящую в состав всех современных программ для оптических расчетов, устанавливаются точные значения оптических сил, радиусов преломляющих поверхностей и толщин вдоль оптической оси для конкретного значения фокусного расстояния, величина которого согласована с размером чувствительной площадки ФПУ и требуемым угловым полем в пространстве предметов, достигающим величины 150°.
Анализ примера реализации светосильного широкоугольного объектива для ИК области спектра (вариант первый) проведен для фокусного расстояния f’=8,2 мм, углового поля 150°, размера изображения 16,8 мм. Расстояние между первой и второй линзами равно 94,2 мм, т.е. составляет 11,5 f’. Длина объектива – расстояние вдоль оптической оси между первой преломляющей поверхностью и плоскостью изображения составляет 197,5 мм, т.е. превышает фокусное расстояние не более чем в 22 раза, что в 1,5 раза меньше, чем в объективе прототипе. Диаметр первого мениска равен 92,3 мм, т.е. превышает размер изображения не более чем в 4,5 раза, что меньше, чем в прототипе. Масса линз 252 г, что меньше, чем в прототипе. Для удобства сравнения с прототипом оценка качества изображения в предлагаемом объективе также характеризуется интегральной характеристикой – величиной RMS пятна рассеяния для различных точек поля. На фиг.3 представлены зависимости RMS пятна рассеяния для различных точек поля для монохроматического (с длинами волн 8, 10 и 12 мкм) и полихроматического излучений (обозначения соответственно «8», «10», «12» и «полихром»). Высокое качество изображения в предлагаемом объективе подтверждается малыми значениями RMS пятна рассеяния для различных точек поля: среднеквадратический размер пятна рассеяния для полихроматического излучения лежит для всех точек поля в диапазоне от 0,006 до 0,020 мм, что меньше, чем в объективе-прототипе.
Анализ примера реализации второго варианта светосильного широкоугольного объектива для ИК области спектра проведен для фокусного расстояния f’=8,1 мм, углового поля 150°, размера изображения 16,8 мм. Расстояние между первой и второй линзами равно 71,8 мм, т.е. составляет 8,9 f’. Длина объектива – расстояние вдоль оптической оси между первой преломляющей поверхностью и плоскостью изображения составляет 140,6 мм, т.е. превышает фокусное расстояние в 17,3 раза, что в 2 раза меньше, чем в объективе-прототипе. Диаметр первого мениска равен 57 мм, т.е. превышает размер изображения не более чем в 3,4 раза, что меньше, чем в прототипе. Масса линз 150 г, что меньше, чем в прототипе. На фиг.4 представлены зависимости RMS пятна рассеяния для различных точек поля для монохроматического и полихроматического излучений. Высокое качество изображения в предлагаемом объективе подтверждается малыми значениями RMS пятна рассеяния для различных точек поля: среднеквадратический размер пятна рассеяния для полихроматического излучения лежит для всех точек поля в диапазоне от 0,007 до 0,014 мм, что меньше, чем в объективе-прототипе. Предлагаемый объектив относится к дифракционно-ограниченным оптическим системам.
Расчетные интегральные характеристики качества изображения, приведенные на фиг.3 и 4, свидетельствуют о высокой степени коррекции монохроматических и хроматических аберраций, достигаемой при соблюдении заявляемых соотношений оптических сил, расстояний между линзами и форм линз в светосильном широкоугольном объективе для ИК области спектра.
Таким образом, предлагаемый светосильный широкоугольный объектив для инфракрасной области спектра, обладающий совокупностью указанных отличительных признаков, в сравнении с прототипом позволяет повысить масштаб изображения и уменьшить габаритные размеры и массу при сохранении светосилы и высокого качества изображения.
Предлагаемый светосильный широкоугольный объектив для инфракрасной области спектра может быть использован в оптических системах тепловизоров, использующих для регистрации теплового изображения матричные приемники излучения, например микроболометры.
Литература
1. Тарасов В.В., Якушенков Ю.Г. Инфракрасные системы «смотрящего» типа. – М.: Логос, 2004. – 444 с.
2. Свидетельство на полезную модель 65254. Светосильный широкоугольный объектив для инфракрасной области спектра, 2007.
3. Патент США 5502592, 1996 г.
Формула изобретения
1. Светосильный широкоугольный объектив для инфракрасной области спектра, содержащий последовательно расположенные по ходу лучей первый отрицательный мениск, обращенный выпуклой поверхностью к пространству предметов, вторую положительную линзу, третий отрицательный мениск, обращенный вогнутой поверхностью к пространству предметов, четвертую положительную линзу и пятый положительный мениск, обращенный вогнутой поверхностью к плоскости изображений, а также апертурную диафрагму, расположенную в воздушном промежутке между пятым положительным мениском и плоскостью изображений, все преломляющие поверхности являются сферическими, оптические силы третьего отрицательного мениска и четвертой положительной линзы равны по абсолютной величине, линзы выполнены из одного материала, отличающийся тем, что вторая положительная линза выполнена в виде мениска, обращенного вогнутой поверхностью к плоскости изображений, четвертая положительная линза выполнена двояковыпуклой, при этом относительные оптические силы линз составляют соответственно -(0,20÷0,26), (0,16÷0,26), -(0,12÷0,15), (0,12÷0,15), (0,15÷0,20), расстояние между первой и второй линзами составляет не более 12 фокусных расстояний объектива.
2. Светосильный широкоугольный объектив для инфракрасной области спектра, содержащий последовательно расположенные по ходу лучей первый отрицательный мениск, обращенный выпуклой поверхностью к пространству предметов, вторую двояковыпуклую линзу, третий отрицательный мениск, обращенный вогнутой поверхностью к пространству предметов, четвертый и пятый положительные мениски, обращенные выпуклыми поверхностями друг к другу, а также апертурную диафрагму, все преломляющие поверхности являются сферическими, оптические силы третьего отрицательного мениска и четвертого положительного мениска равны по абсолютной величине, линзы выполнены из одного материала, отличающийся тем, что апертурная диафрагма размещена в воздушном промежутке между второй двояковыпуклой линзой и третьим отрицательным мениском, при этом относительные оптические силы линз составляют соответственно -(0,24÷0,28), (0,24÷0,28), -(0,12÷0,15), (0,12÷0,15), (0,15÷0,20), расстояние между первой и второй линзами составляет не более 9 фокусных расстояний объектива.
РИСУНКИ
|
|