|
|
(21), (22) Заявка: 2008137887/03, 22.09.2008
(24) Дата начала отсчета срока действия патента:
22.09.2008
(46) Опубликовано: 27.03.2010
(56) Список документов, цитированных в отчете о поиске:
RU 2289069 С1 (КУЗНЕЦОВ В.П.), 10.12.2006. SU 112752 A1 (ИТКИН Г.М.), 01.01.1958. RU 2276755 С1 (СТЕПАНОВ В.А.), 20.05.2006. RU 2291999 С1 (КУРИН С.Ф.), 20.01.2007. RU 2229064 С1 (ГИЗАТОВ P.M.), 20.05.2004. RU 46561 U1 (OOO «ЕРМАК-ТЕРМО»), 10.07.2005. RU 56183 U1 (КЫЧАКОВ А.Д. и др.), 10.09.2006.
Адрес для переписки:
614051, г.Пермь, ул. Юрша, 64, кв.399, В.А. Степанову
|
(72) Автор(ы):
Степанов Владимир Александрович (RU)
(73) Патентообладатель(и):
Степанов Владимир Александрович (RU)
|
(54) ПЕЧЬ
(57) Реферат:
Изобретение относится к конструкциям печей и может быть использовано для оборудования бань, для обогрева домиков, для приготовления пищи. Печь содержит корпус 1, топку 2, трубу 3 для дымоудаления с задвижкой 4, как минимум одну камеру 5 с теплоаккумулирующей загрузкой 6 или как минимум одну емкость-теплоприемник, газоход 7, выполненный вокруг камер(ы) с теплоаккумулирующей загрузкой или емкости(ей) теплоприемников, а также топки и соединенный с полостью, расположенной ниже топки. Печь содержит дополнительную трубу, установленную в топке и в отверстии камер(ы) 5 с теплоаккумулирующей загрузкой и соединяющую полость 8 ниже топки 2 с трубой 3 для дымоудаления. Верхний торец дополнительной трубы 9 расположен ниже уровня задвижки 4 трубы 3 для дымоудаления. Задвижка 4 трубы 3 для дымоудаления выполнена с возможностью перекрытия отверстия между трубой 3 для дымоудаления и дополнительной трубой 9 с возможностью движения дымовых газов при закрытой задвижке 4 по газоходу 7, полости 8, дополнительной трубе 9 и трубе 3 для дымоудаления выше задвижки 4. Технический результат – увеличение тепловой отдачи печи, снижение расхода топлива. 3 з.п. ф-лы, 4 ил.
Изобретение относится к конструкциям печей и может быть использовано для оборудования бань, для обогрева домиков, для приготовления пищи.
Наиболее близким к заявляемому техническому решению является печь, содержащая корпус, топку, трубу для дымоудаления с задвижкой, как минимум одну камеру с теплоаккумулирующей загрузкой или как минимум одну емкость-теплоприемник, газоход, выполненный вокруг камер(ы) с теплоаккумулирующей загрузкой или емкости(ей) теплоприемников, а также топки и соединенный с полостью, расположенной ниже топки, и дополнительную трубу, установленную в топке и в отверстии камер(ы) с теплоаккумулирующей загрузкой и соединяющую полость ниже топки с трубой для дымоудаления (см. патент RU 2289069, опубл. 2006.12.10).
Недостатками ее являются большой расход топлива, сложность конструкции, неудобство пользования.
Задачей изобретения является увеличение тепловой отдачи печи, снижение расхода топлива, упрощение конструкции, повышение удобства пользования, расширение функциональных возможностей печи.
Технический результат достигается тем, что печь содержит корпус, топку, трубу для дымоудаления с задвижкой, как минимум одну камеру с теплоаккумулирующей загрузкой или как минимум одну емкость-теплоприемник, газоход, выполненный вокруг камер(ы) с теплоаккумулирующей загрузкой или емкости(ей) теплоприемников, а также топки и соединенный с полостью, расположенной ниже топки, и дополнительную трубу, установленную в топке и в отверстии камер(ы) с теплоаккумулирующей загрузкой и соединяющую полость ниже топки с трубой для дымоудаления, причем верхний торец дополнительной трубы расположен ниже уровня задвижки трубы для дымоудаления, а задвижка трубы для дымоудаления выполнена с возможностью перекрытия отверстия между трубой для дымоудаления и дополнительной трубой и обеспечения движения дымовых газов при закрытой задвижке по газоходу, полости, дополнительной трубе и трубе для дымоудаления выше задвижки, при этом печь содержит вихреобразователь, например, в виде улитки, расположенной в полости ниже топки и соединенный с дополнительной трубой, и воздуховод в виде трубопровода, расположенного в дополнительной трубе и улитке вдоль их осей и снабженного вентилем, кроме того, печь снабжена завихрителем, например, в виде лопаток, установленных в отверстии между дополнительной трубой и камерой(ами) с теплоаккумулирующей загрузкой.
Отличительной особенностью предлагаемой конструкции от известной, наиболее близкой по технической сути, является то, что верхний торец дополнительной трубы расположен ниже уровня задвижки трубы для дымоудаления, а задвижка трубы для дымоудаления выполнена с возможностью перекрытия отверстия между трубой для дымоудаления и дополнительной трубой с возможностью движения дымовых газов при закрытой задвижке по газоходу, полости, дополнительной трубе и трубе для дымоудаления выше задвижки, при этом печь содержит вихреобразователь, например, в виде улитки, расположенной в полости ниже топки, и соединенный с дополнительной трубой, и воздуховод в виде трубопровода, расположенного в дополнительной трубе и улитке вдоль их осей и снабженного вентилем, кроме того, печь снабжена завихрителем, например, в виде лопаток, установленных в отверстии между дополнительной трубой и камерой(ами) с теплоаккумулирующей загрузкой.
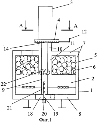
Предлагаемое изобретение иллюстрируется чертежами, где на фиг.1 изображен общий вид печи с теплоаккумулирующей загрузкой в разрезе, на фиг.2 – разрез по А-А фиг.1, на фиг.3 изображена пластина задвижки, на фиг.4 – общий вид печи с емкостями теплоприемников в разрезе.
Печь содержит корпус 1, топку 2, трубу 3 для дымоудаления с задвижкой 4, камеру 5 с теплоаккумулирующей загрузкой 6, газоход 7, выполненный вокруг камеры 5 с теплоаккумулирующей загрузкой, а также топки 2 и соединенный с полостью 8, расположенной ниже топки. Кроме того, печь содержит дополнительную трубу 9 меньшего диаметра, чем труба 3 для дымоудаления в месте соединения ее к корпусу 1 печи. Дополнительная труба 9 установлена в топке 2 и соединяет полость 8 ниже топки 2 с трубой 3 для дымоудаления с образованием отверстия 10 между трубами 3 и 9 и отверстия 11 между трубой 9 и камерой(ми) 5 с теплоаккумулирующей загрузкой 6. Задвижка 4 трубы 3 для дымоудаления снабжена пластиной 12 с отверстием 13, диаметр которого не больше внешнего диаметра трубы дополнительной трубы 9. Верхний торец 14 дополнительной трубы 9 расположен в трубе 3 для дымоудаления на уровне нижней поверхности пластины 12 задвижки 4, которая установлена с возможностью перекрытия отверстия 10 между трубой для дымоудаления 3 и дополнительной трубой 9 с обеспечением движения дымовых газов при закрытой задвижке 4 из топки 2, через отверстие 11 по газоходу 7, полости 8, дополнительной трубе 9 и трубе 3 для дымоудаления выше пластины 12 задвижки 4.
Печь может быть снабжена емкостями-теплоприемниками 15 (фиг.4) и дополнительной перегородкой 16, установленной между корпусом 1 печи и емкостями 15, с образованием газохода 17, соединяющего топку 2 с полостью 8 ниже топки 2. Дополнительная дымовая труба 9 с нижнего торца может быть снабжена устройством для закрутки газов, например, в виде улитки 18 (или тангенциально выполненных отверстий в дополнительной трубе 9). Печь может быть снабжена дополнительным воздуховодом 19 в виде трубопровода с вентилем 20 на входе в воздуховод и отверстиями 21 на другом конце, расположенном в дополнительной трубе 9. Воздуховод 19 расположен в дополнительной дымовой трубе 9 по оси улитки 18 и по оси (соосно) дополнительной дымовой трубы 9 и жестко связан с ними. Отверстия 21 выполнены тангенциально к трубопроводу воздуховода 19. Кроме того, печь может быть снабжена завихрителем, выполненным, например, в виде лопаток 22, жестко связанных, например, с дополнительной трубой 9 и установленных под углом к оси трубы 9 в отверстии 11 между дополнительной трубой 9 и камерой 5 с теплоаккумулирующей загрузкой.
Печь работает следующим образом.
В топке 2 разжигается топливо, например дрова. Дымоудаление происходит через отверстия 11, 10 и трубу для дымоудаления 3. После разогрева трубы 3 и повышения тяги с помощью пластины 12 с отверстием 13 перекрывают отверстие 10 между трубой для дымоудаления 3 и дополнительной трубой 9.
При этом продукты сгорания в виде дымовых газов проходят по газоходу 7 или 17 через полость 8 и поступают в улитку 18, закручиваются и поступают в дополнительную дымовую трубу 9 и далее в отверстие 13 и в трубу для дымоудаления 3. При этом дымовые газы в трубе 9, расположенной в топке 2, движутся по спирали вихреобразно, соприкасаясь с разогретыми до высокой температуры внутренними поверхностями этой трубы 9. Поскольку через дополнительный воздуховод 19 поступает свежий воздух, то идет догорание этих дымовых газов в интенсивном режиме и происходит выделение дополнительного тепла. Использование лопаток 22 и улитки 18 для вихреобразования и движения по спирали интенсифицирует процесс сгорания, увеличивает время движения дымовых газов в отверстии 11 и в трубе 9, что приводит к более полному их сгоранию, увеличивает теплоотдачу. Движение дымовых газов по газоходу 7 вокруг камеры 5 с теплоаккумулирующей загрузкой 6 увеличивает теплоотдачу. Установка емкостей теплоприемников 15 вокруг трубы 9 и выполнение перегородки 16 между емкостями 15 и корпусом 1 печи с возможностью контакта с продуктами сгорания снизу и с боковых сторон емкостей 15 обеспечивает быстрый нагрев емкостей и экономию топлива. Снабжение печи завихрителем в виде лопаток 22 позволяет интенсифицировать процесс догорания дымовых газов, увеличить теплоотдачу печи.
Режим горения топлива и дымовых газов регулируется задвижкой 4 с помощью пластин 12 с разными отверстиями 13 или дополнительной пластиной, накладываемой на пластину 12 (не показано), с возможностью регулируемого перекрытия отверстия 13 в ней, а также дверцей поддувала (не показана) и вентилем 20 воздуховода 19. Испытания опытного образца печи показали на обеспечение более полного сгорания топлива, увеличение тепловой отдачи печи, снижение расхода топлива, расширение функциональных возможностей печи, повышение надежности и удобства эксплуатации.
Формула изобретения
1. Печь, содержащая корпус, топку, трубу для дымоудаления с задвижкой, как минимум одну камеру с теплоаккумулирующей загрузкой или как минимум одну емкость – теплоприемник, газоход, выполненный вокруг камер(ы) с теплоаккумулирующей загрузкой или емкости(ей) теплоприемников, а также топки и соединенный с полостью, расположенной ниже топки, и дополнительную трубу, установленную в топке и в отверстии камер(ы) с теплоаккумулирующей загрузкой и соединяющую полость ниже топки с трубой для дымоудаления, отличающаяся тем, что верхний торец дополнительной трубы расположен в трубе для дымоудаления ниже уровня задвижки, а задвижка трубы для дымоудаления выполнена с возможностью перекрытия отверстия между трубой для дымоудаления и дополнительной трубой с возможностью движения дымовых газов при закрытой задвижке по газоходу, полости, дополнительной трубе и трубе для дымоудаления выше задвижки.
2. Печь по п.1, отличающаяся тем, что она содержит вихреобразователь, например, в виде улитки, расположенной в полости ниже топки, и соединенный с дополнительной трубой.
3. Печь по п.1 или 2, отличающаяся тем, что она снабжена воздуховодом в виде трубопровода, расположенного в дополнительной трубе и улитке вдоль их осей и снабженного вентилем.
4. Печь по п.1, отличающаяся тем, что она снабжена завихрителем, например, в виде лопаток, установленных в отверстии между дополнительной трубой и камерой(ами) с теплоаккумулирующей загрузкой.
РИСУНКИ
|
|