|
|
(21), (22) Заявка: 2008128325/03, 11.07.2008
(24) Дата начала отсчета срока действия патента:
11.07.2008
(30) Конвенционный приоритет:
27.09.2007 UA A200710660
(46) Опубликовано: 27.03.2010
(56) Список документов, цитированных в отчете о поиске:
UA 12783 U, 15.02.2006. RU 2212584 C2, 20.09.2003. SU 1320014 A1, 30.06.1987. RU 2153130 C1, 20.07.2000. DE 1193860 A, 26.05.1965.
Адрес для переписки:
61166, Украина, г. Харьков-166, пр-кт Ленина, 9, УкрГНТЦ “Энергосталь”
|
(72) Автор(ы):
Сталинский Дмитрий Витальевич (UA), Куклич Владимир Иванович (UA), Михайлевич Эдуард Абрамович (UA), Моисеенко Владимир Петрович (UA), Пирогов Александр Юрьевич (UA)
(73) Патентообладатель(и):
Украинский государственный научно-технический центр по технологии и оборудованию, обработке металлов, защите окружающей среды и использованию вторичных ресурсов для металлургии и машиностроения “Энергосталь” (UA)
|
(54) УСТАНОВКА ДЛЯ ТЕРМИЧЕСКОГО УНИЧТОЖЕНИЯ ЯДОХИМИКАТОВ
(57) Реферат:
Изобретение относится к устройствам для уничтожения специфических отходов и может быть использовано для уничтожения непригодных ядохимикатов и подобных им химических веществ. Установка содержит загрузочный механизм, печь с загрузочным окном, задвижку для герметизации загрузочного окна, камеру дожигания, вихревой аппарат, каталитический реактор, рекуператор, газоохладитель, рукавный фильтр, дымосос и дымовую трубу. Загрузочный механизм содержит шлюзовую камеру, соединенную с загрузочным окном, установленную в шлюзовой камере приводную площадку и приводной грузоподающий узел. Грузоподающий узел содержит грузовой корытообразный лоток, который установлен со стороны входа в шлюзовую камеру с возможностью поворота вокруг оси в направлении загрузочного окна, при этом лоток установлен с возможностью герметизации входа в шлюзовую камеру. Технический результат: повышение эффективности улавливания и обезвреживания продуктов разложения, образующихся при сжигании непригодных ядохимикатов и подобных им химических веществ. 1 з.п. ф-лы, 10 ил.
Изобретение относится к уничтожению твердых специфических отходов путем сжигания и может быть использовано для уничтожения непригодных ядохимикатов и подобных им химических веществ.
Наиболее близкой к заявляемому изобретению по совокупности признаков в качестве прототипа выбрана установка для обезвреживания пестицидов и ядохимикатов и подобных им химических веществ. Эта установка содержит загрузочный механизм, печь кипящего слоя с загрузочным окном, установленную на печи приводную задвижку для герметизации загрузочного окна. Загрузочный механизм соединен желобом с печью для сжигания ядохимикатов. Для измельчения и перемещения ядохимикатов загрузочный механизм оборудован фрезой и винтовым толкателем. В печи кипящего слоя расположены горелка и сопло для подачи нагретого в рекуператоре воздуха. Верхняя часть печи представляет собой камеру дожигания, которая соединена с вихревым аппаратом для предварительной очистки дымовых газов. Установка также содержит каталитический реактор для очистки дымовых газов от недогоревших органических токсинов, рекуператор, газоохладитель, рукавный фильтр для тонкой очистки дымовых газов от мелких частиц пыли, дымосос и дымовую трубу (описание изобретения к декларационному патенту Украины на полезную модель 12783 U, опубл. 30.01.2006, бюл. 2).
В заявляемом объекте и прототипе совпадают такие существенные признаки. Обе установки содержат загрузочный механизм, печь с загрузочным окном, приводную задвижку для герметизации загрузочного окна, камеру дожигания, вихревой аппарат для предварительной очистки дымовых газов, каталитический реактор для очистки дымовых газов от недогоревших органических токсинов, рекуператор, газоохладитель, рукавный фильтр, дымосос и дымовую трубу.
Анализ технических свойств прототипа, обусловленных его признаками, показывает, что получению ожидаемого технического результата при использовании прототипа препятствуют такие причины. Известная установка не обеспечивает достаточно высокую экологическую безопасность, что вызвано попаданием в окружающее пространство пыли ядохимикатов, образующейся при измельчении ядохимикатов фрезой и при перемещении ядохимикатов винтовым толкателем, а также попаданием в окружающее пространство неочищенных дымовых газов из открытого загрузочного окна печи при загрузке в печь ядохимикатов. Кроме того, периодическая разгерметизация загрузочного окна печи для загрузки очередной порции ядохимикатов приводит к колебаниям разрежения в последовательно установленных вихревом аппарате для предварительной очистки дымовых газов, каталитическом реакторе для очистки дымовых газов от недогоревших органических токсинов и в рукавном фильтре для тонкой очистки дымовых газов от мелких частиц пыли, что, в свою очередь, снижает эффективность улавливания и обезвреживания продуктов разложения, образующихся при сжигании непригодных ядохимикатов и подобных им химических веществ.
В основу заявляемого изобретения поставлена задача создать такую установку для термического уничтожения ядохимикатов, в которой усовершенствования путем введения новых элементов позволяют при использовании изобретения обеспечить достижение технического результата, заключающегося в повышении экологической безопасности установки и эффективности улавливания и обезвреживания продуктов разложения, образующихся при сжигании непригодных ядохимикатов и подобных им химических веществ.
Заявляемая установка для термического уничтожения ядохимикатов содержит загрузочный механизм, печь с загрузочным окном, приводную задвижку для герметизации загрузочного окна. В печи расположены горелка и сопло для подачи нагретого в рекуператоре воздуха. Печь соединена с камерой дожигания. Установка также содержит камеру дожигания, вихревой аппарат для предварительной очистки дымовых газов, каталитический реактор для очистки дымовых газов от недогоревших органических токсинов, рекуператор, газоохладитель, рукавный фильтр, дымосос и дымовую трубу. Отличительной чертой установки является то, что загрузочный механизм содержит шлюзовую камеру, выход которой соединен с загрузочным окном, приводную площадку загрузочную, которая установлена в шлюзовой камере с возможностью поворота вокруг оси в направлении загрузочного окна. Кроме того, загрузочный механизм содержит приводной грузоподающий узел, содержащий грузовой корытообразный лоток, который установлен со стороны входа в шлюзовую камеру с возможностью поворота вокруг оси в направлении загрузочного окна для обеспечения соскальзывания ядохимикатов на площадку загрузочную. При этом грузовой корытообразный лоток установлен с возможностью герметизации входа в шлюзовую камеру после перемещения ядохимикатов на площадку загрузочную. Установка также оборудована системой управления для обеспечения работы упомянутых приводных элементов в заданной последовательности при загрузке ядохимикатов в печь.
В частном случае использования заявляемая установка для термического уничтожения ядохимикатов характеризуется тем, что задвижка установлена с возможностью вертикального перемещения, поверхность нижней части задвижки, контактирующая с нижней частью загрузочного окна при его герметизации, и поверхность нижней части загрузочного окна выполнены с наклоном вовнутрь печи.
При использовании изобретения обеспечивается достижение технического результата, заключающегося в повышении экологической безопасности установки и эффективности улавливания и обезвреживания продуктов разложения, образующихся при сжигании непригодных ядохимикатов и подобных им химических веществ.
Между совокупностью существенных признаков заявляемого изобретения и достигаемым техническим результатом существует такая причинно-следственная связь. Оборудование загрузочного механизма шлюзовой камерой, выход которой соединен с загрузочным окном, наличие приводной площадки загрузочной, которая установлена в шлюзовой камере с возможностью поворота вокруг оси в направлении загрузочного окна, наличие приводного грузоподающего узла, содержащего грузовой лоток, который выполнен корытообразным и установлен со стороны входа в шлюзовую камеру с возможностью поворота вокруг оси в направлении загрузочного окна для обеспечения соскальзывания ядохимикатов на площадку загрузочную, установка грузового лотка с возможностью герметизации входа в шлюзовую камеру после перемещения ядохимикатов на площадку загрузочную и наличие системы управления для обеспечения работы упомянутых приводных элементов в заданной последовательности при загрузке печи обеспечивает перемещение в печь очередной порции ядохимикатов без их измельчения и без открытого винтового толкателя. Ядохимикаты, находящиеся в закрытой таре, например, в мешке, сначала поступают в закрывающуюся герметично шлюзовую камеру, а уже из нее через загрузочное окно попадаются в печь, что предотвращает попадание пыли ядохимикатов и неочищенных дымовых газов из загрузочного окна печи в окружающее пространство при загрузке ядохимикатов в печь. Благодаря закрывающейся герметично шлюзовой камере, при периодической загрузке очередной порции ядохимикатов в печь и периодическом открывании загрузочного окна печи отсутствуют колебания разрежения в последовательно установленных вихревом аппарате для предварительной очистки дымовых газов, каталитическом реакторе для очистки дымовых газов от недогоревших органических токсинов и в рукавном фильтре для тонкой очистки дымовых газов от мелких частиц пыли, что, в свою очередь, повышает эффективность улавливания и обезвреживания продуктов разложения, образующихся при сжигании ядохимикатов и подобных им химических веществ.
Установка задвижки с возможностью вертикального перемещения и выполнение поверхности нижней части задвижки, контактирующей с нижней частью загрузочного окна при его герметизации, и поверхности нижней части загрузочного окна с наклоном вовнутрь печи конструктивно просто обеспечивают герметизацию загрузочного окна путем обеспечения образования в результате взаимодействия наклонных плоскостей дополнительных усилий, плотно прижимающих задвижку к загрузочному окну в периоды между подачей ядохимикатов. Это способствует предотвращению попадания неочищенных дымовых газов из печи в окружающее пространство в периоды между загрузкой в печь очередной порции уничтожаемых ядохимикатов. Кроме того, выполнение поверхности нижней части загрузочного окна с наклоном вовнутрь печи конструктивно просто обеспечивает перемещение очередной порции ядохимикатов в печь путем их соскальзывания по наклонной плоскости загрузочного окна.
Заявляемая установка для термического уничтожения ядохимикатов может быть выполнена в виде компактного агрегата и размещена на специальной грузовой автомобильной платформе, что обеспечивает транспортирование установки непосредственно к месту накопления нуждающихся в уничтожении ядохимикатов.
Сущность изобретения поясняется чертежами, на которых изображено:
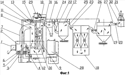
– на фиг.1 – схема установки для термического уничтожения ядохимикатов;
– на фиг.2 – общий вид печи с загрузочным механизмом;
– на фиг.3 – выносной элемент А приводного вала грузового корытообразного лотка на фиг.2;
– на фиг.4-10 – последовательные положения приводных элементов при загрузке печи ядохимикатами.
На чертежах проставлены такие обозначения:
1 – загрузочный механизм;
2 – печь;
3 – щелочная ванна;
4 – выпускное отверстие для расплава шлаков;
5 – горелка;
6 – сопло для подачи нагретого воздуха;
7 – газопровод;
8 – камера дожигания;
9 – рекуператор;
10 – газоохладитель;
11 – вертикальная перегородка;
12 – газовый канал;
13 – горелка;
14 – форсунка для распыления щелочного раствора;
15 – сопло для подачи нагретого воздуха;
16 – вихревой аппарат;
17 – каталитический реактор;
18 – дополнительный газоохладитель;
19 – рукавный фильтр;
20 – дымосос;
21 – дымовая труба;
22 – газопровод;
23 – газопровод;
24 – форсунка для распыления щелочного раствора;
25 – форсунка для распыления щелочного раствора;
26 – патрубок подсасывания воздуха;
27 – патрубок подсасывания воздуха;
28 – система подачи топлива к горелкам;
29 – система подачи щелочного раствора к форсункам;
30 – система подачи нагретого в рекуператоре воздуха в печь и камеру дожигания;
31 – дроссельный клапан;
32 – угольный фильтр.
33 – шлюзовая камера;
34 – загрузочное окно;
35 – загрузочная площадка;
36 – винтовой привод;
37 – рычаг;
38 – грузоподающий узел;
39 – грузовой лоток;
40 – уплотняющее обрамление шлюзовой камеры;
41 – приводной вал;
42 – привод;
43 – цепная передача;
44 – конечный выключатель;
45 – конечный выключатель;
46 – лыжа;
47 – рама;
48 – задвижка;
49 – винтовой привод;
50 – канатно-блочный узел;
51 – упаковки с ядохимикатами.
В конкретном примере выполнения заявляемая установка для термического уничтожения ядохимикатов содержит (фиг.1) загрузочный механизм 1, соединенный с печью 2 для сжигания ядохимикатов. Печь 2 оборудована жидкой ванной 3 из расплава щелочных реагентов (например, каустической соды), а в печи выполнено выпускное закрываемое отверстие 4 с желобом (не показано) для слива расплава шлаков в шлаковню (не показано). В печи 2 расположена горелка 5 и сопло 6 для подачи нагретого в рекуператоре воздуха. Печь 2 газопроводом 7 соединена с камерой дожигания 8. Камера дожигания 8 объединена в одном корпусе с комбинированным рекуператором 9 и газоохладителем 10, которые отделены от камеры дожигания вертикальной перегородкой 11, образующей в нижней части камеры дожигания газовый канал 12, соединяющий камеру дожигания 8 и рекуператор 9. При этом на верхнем торце камеры дожигания установлена горелка 13, форсунка 14 для распыления щелочного раствора и сопло 15 для подачи нагретого воздуха.
Установка также содержит последовательно установленные вихревой аппарат 16 для предварительной очистки дымовых газов, каталитический реактор 17 для очистки дымовых газов от недогоревших органических токсинов, дополнительный газоохладитель 18, рукавный фильтр 19 для тонкой очистки дымовых газов от мелких частиц пыли, дымосос 20 и дымовую трубу 21. Каталитический реактор 17 соединен с вихревым аппаратом 16 и дополнительным газоохладителем 18 газопроводами 22 и 23 с вертикальными участками, в которые, соответственно, вмонтированы вертикально ориентированные форсунки 24 и 25 для распыления щелочного раствора. На входе и выходе из рукавного фильтра 19 установлены, соответственно, патрубки для подсасывания воздуха 26 и 27. Установка также оборудована системой 28 подачи топлива к горелкам, системой 29 подачи щелочного раствора к форсункам и системой 30 подачи нагретого в рекуператоре воздуха в печь и камеру дожигания. В газоходе на выходе из комбинированного рекуператора 9 с газоохладителем 10 установлен дроссельный клапан 31, предназначенный для регулирования давления – разрежения в печи 2. В расширении дымовой трубы 21 установлены угольный фильтр 32 для обеспечения конденсации и адсорбции паров ртути и других тяжелых металлов.
Загрузочный механизм 1 содержит (фиг.2) шлюзовую камеру 33, выход которой соединен с загрузочным окном 34 печи 2. Внутри шлюзовой камеры 33 с возможностью поворота вокруг горизонтальной оси в направлении загрузочного окна 34 установлена приводная загрузочная площадка 35. Поворот площадки загрузочной 35 вокруг горизонтальной оси обеспечивает закрепленный на шлюзовой камере 33 винтовой привод 36, шарнирно соединенный с площадкой загрузочной 35 с помощью рычага 37. Загрузочный механизм 1 также содержит приводной грузоподающий узел 38, содержащий грузовой лоток 39, который выполнен корытообразным и установлен со стороны входа в шлюзовую камеру 33 с возможностью поворота вокруг оси в направлении загрузочного окна 34 печи 2 для обеспечения соскальзывания ядохимикатов на площадку загрузочную 35. При этом грузовой лоток 39 установлен с возможностью герметизации входа в шлюзовую камеру 33, перекрывая собой этот вход путем взаимодействия с уплотняющим обрамлением 40 шлюзовой камеры 33 в своем крайнем вертикальном положении после перемещения ядохимикатов на площадку загрузочную 35.
Для обеспечения поворота вокруг оси грузовой лоток 39 закреплен на приводном вале 41, который соединен с приводом 42 цепной передачей 43. Угол поворота грузового лотка 39 вокруг оси регулируется с использованием конечных выключателей 44 и 45 и установленной на приводном вале 41 лыже 46 (фиг.3). Шлюзовая камера 33 и приводной вал 41 с грузовым лотком 39 смонтированы на раме 47.
На печи 2 с возможностью вертикального перемещения между вертикальными направляющими смонтирована приводная задвижка 48 для герметизации загрузочного окна 34. Поверхность нижней части задвижки 48, контактирующая с нижней частью загрузочного окна 34 при его герметизации, и поверхность нижней части загрузочного окна 34 выполнены с наклоном, например, 45° вовнутрь печи. Перемещение задвижки осуществляется винтовым приводом 49 и канатно-блочным узлом 50.
Установка оборудована системой управления (не показано) для обеспечения работы винтового привода 49, привода 42 и винтового привода 36 в заданной последовательности при загрузке в печь уничтожаемых ядохимикатов. В состав этой системы управления входят конечные выключатели 44 и 45, фиксирующие крайние положения грузового лотка 39, и конечные выключатели, смонтированные внутри корпусов винтового привода 36 и винтового привода 49, фиксирующие крайние положения штоков этих приводов и, следовательно, крайние положения площадки загрузочной 35 и задвижки 48. Электрические сигналы от конечных выключателей автоматически обеспечивают роботу винтового привода 49, привода 42 и винтового привода 36 в заданной последовательности при загрузке ядохимикатов в печь.
Установка для термического уничтожения ядохимикатов работает так. Непригодные ядохимикаты в герметичных мешках весом 20-30 кг и пакеты с каустической содой весом 10-15 кг загрузочным механизмом 1 подают в печь 2, имеющую щелочную ванную 3 из расплава каустической соды, температуру которой поддерживают горелкой 5 на уровне 850°С. Воздух горения, нагретый в рекуператоре 9 до 350-400°С, подается в печь 2 через сопло 6 для подачи нагретого воздуха. В щелочной ванне 3 с расплавом каустической соды органические соединения ядохимикатов в основном сгорают, а неорганический наполнитель образует со щелочью жидкий шлак. Значительная часть неорганических и кислых неорганических соединений, содержащих хлор, фосфор, серу, образует со щелочными составляющими шлака инертные соединения типа NaCl, NaPO4, Na2SO4, Na2S и остается в шлаке, который после выдержки в печи не содержит нерасщепленных ядохимикатов и растворимых соединений тяжелых металлов. Расплав шлака из печи 2 через выпускное отверстие 4 поступает в шлаковню, где кристаллизуется и охлаждается. Выходящие из печи 2 дымовые газы на входе в камеру дожигания 8 имеют температуру 850-1000°С. Дымовые газы через газопровод 7 подают в верхнюю часть камеры дожигания 8, в которой дымовые газы смешивают с направленными горелкой 13 сверху вниз потоками продуктов сгорания жидкого топлива и дополнительно подаваемым через сопло 15 нагретым воздухом и обрабатывают аэрозолем раствора каустической соды, которая подается через форсунку 14 для распыления щелочного раствора. Дожигание дымовых газов в камере дожигания 8 осуществляют при 1100-1200°С на протяжении 2 секунд при коэффициенте избытка воздуха 1,4 и концентрации щелочных веществ в дымовых газах около 0,03 мас.%. На выходе из нижней части камеры дожигания 8 дымовые газы направляют в комбинированный рекуператор 9 с газоохладителем 10, где дымовые газы охлаждаются до 550-600°С и одновременно в рекуператоре 9 нагревается воздух горения. После этого осуществляют предварительную очистку дымовых газов в вихревом аппарате 16 и очистку дымовых газов от недогоревших органических токсинов и оксида углерода в каталитическом реакторе 17 с импульсной регенерацией. Перед входом в каталитический реактор 17 и после выхода из него дымовые газы с помощью форсунок 24 и 25 для распыления щелочного раствора обрабатывают аэрозолем щелочного раствора каустической соды при концентрации щелочи в дымовых газах 0,01-0,03 мас.%. Потом дымовые газы дополнительно охлаждают в дополнительном газоохладителе 18 второй ступени до 130°С, направляют в рукавный фильтр 19 для очистки от пыли и далее дымососом 20 через угольный фильтр 32 подают в дымовую трубу 21.
Периодическую загрузку ядохимикатов в печь осуществляют так. При закрытой задвижке 48, которая герметически перекрывает загрузочное окно 34 печи 2 со стороны открытой шлюзовой камеры 33, упаковки с ядохимикатами 51 укладывают в грузовой лоток 39 (фиг.4). С пульта управления включается привод 42, который через цепную передачу 43 и приводной вал 41 поворачивает грузовой лоток 39 вокруг горизонтальной оси в направлении загрузочного окна 34 для обеспечения соскальзывания упаковок с ядохимикатами 51 по корытообразному грузовому лотку 39 в шлюзовую камеру 33 на загрузочную площадку 35 (фиг.5). Скорость поворота грузового лотка 39 устанавливают с учетом обеспечения медленного соскальзывания упаковок с ядохимикатами 51 при наклоне грузового лотка 39 к горизонту на угол 30-45°. Грузовой лоток 39 оборачивается вокруг горизонтальной оси в направлении загрузочного окна 34 печи 2 до соприкосновения с уплотняющим обрамлением 40 шлюзовой камеры 33, обеспечивая герметизацию входа в шлюзовую камеру 33 после перемещения упаковок с ядохимикатами 51 в шлюзовую камеру 33 на площадку загрузочную 35. В этом положении грузового лотка 39 под влиянием закрепленной на приводном вале 41 лыже 46 срабатывает конечный выключатель 44, что отключает привод 42 и включает винтовой привод 49, который через канатно-блочный узел 50 поднимает задвижку 48, открывая загрузочное окно 34 печи 2 (фиг.6). После поднятия задвижки 48 в крайнее верхнее положение от конечного выключателя винтового привода 49 поступает сигнал на включение винтового привода 36, который рычагом 37 поворачивает на 90° площадку загрузочную 35 вокруг горизонтальной оси в направлении загрузочного окна 34, обеспечивая перемещение упаковок с ядохимикатами 51 из герметически закрытой шлюзовой камеры 33 через загрузочное окно 34 в печь 2 (фиг.7). После выполнения возвратно-поступательного движения винтовой привод 36 возвращает площадку загрузочную 35 в начальное горизонтальное положение внутри шлюзовой камеры 33 (фиг.8). При этом сигнал от конечного выключателя винтового привода 36 включает винтовой привод 49, который опускает задвижку 48, и она снова герметически перекрывает загрузочное окно 34 печи 2 (фиг.9). В конечном положении штока винтового привода 49 его конечный выключатель включает привод 42, который возвращает грузовой лоток 39 в начальное положение, при котором снова приоткрывается вход в шлюзовую камеру 33 для загрузки очередной порции ядохимикатов (фиг.10).
Благодаря закрываемой герметически шлюзовой камере 33, при периодической загрузке очередной порции ядохимикатов в печь и периодическом открывании загрузочного окна 34 печи 2, не происходит попадание пыли ядохимикатов и неочищенных дымовых газов из загрузочного окна 34 печи 2 в окружающее пространство и не происходит колебание разрежения в последовательно установленных вихревом аппарате 16 для предварительной очистки дымовых газов, каталитическом реакторе 17 для очистки дымовых газов от недогоревших органических токсинов и в рукавном фильтре 19 для тонкой очистки дымовых газов от мелких частиц пыли, что повышает эффективность улавливания и обезвреживания продуктов разложения, образующихся при сжигании ядохимикатов и подобных им химических веществ. Используемая в установке система газоочистки обеспечивает минимальные, на уровне европейских норм, выбросы загрязнений в окружающую среду. Вредные твердые химические соединения остаются в шлаке, который можно использовать в строительстве, например, как наполнитель для бетона.
Формула изобретения
1. Установка для термического уничтожения ядохимикатов, содержащая загрузочный механизм, печь с загрузочным окном, приводную задвижку для герметизации загрузочного окна, камеру дожигания, вихревой аппарат для предварительной очистки дымовых газов, каталитический реактор для очистки дымовых газов от недогоревших органических токсинов, рекуператор, газоохладитель, рукавный фильтр, дымосос и дымовую трубу, отличающаяся тем, что загрузочный механизм содержит шлюзовую камеру, выход которой соединен с загрузочным окном, приводную площадку загрузочную, которая установлена в шлюзовой камере с возможностью поворота вокруг оси в направлении загрузочного окна, приводной грузоподающий узел, содержащий грузовой лоток, который выполнен корытообразным и установлен со стороны входа в шлюзовую камеру с возможностью поворота вокруг оси в направлении загрузочного окна для обеспечения соскальзывания ядохимикатов на загрузочную площадку, причем грузовой корытообразный лоток установлен с возможностью герметизации входа в шлюзовую камеру после перемещения ядохимикатов на площадку загрузочную, при этом установка оборудована системой управления для обеспечения работы упомянутых приводных элементов в заданной последовательности при загрузке ядохимикатов в печь.
2. Установка по п.1, отличающаяся тем, что задвижка установлена с возможностью вертикального перемещения, поверхность нижней части задвижки, контактирующая с нижней частью загрузочного окна при его герметизации, и поверхность нижней части загрузочного окна выполнены с наклоном вовнутрь печи.
РИСУНКИ
|
|