|
|
(21), (22) Заявка: 2009100979/11, 15.01.2009
(24) Дата начала отсчета срока действия патента:
15.01.2009
(46) Опубликовано: 27.03.2010
(56) Список документов, цитированных в отчете о поиске:
RU 2282080 C1, 20.08.2006. SU 1479759 A2, 15.05.1989. DE 4029490 A1, 19.03.1992. US 5660379 A, 26.08.1997.
Адрес для переписки:
123458, Москва, ул. Твардовского, 11, кв.92, О.С. Кочетову
|
(72) Автор(ы):
Кочетов Олег Савельевич (RU)
(73) Патентообладатель(и):
Кочетов Олег Савельевич (RU)
|
(54) ВИБРОИЗОЛИРУЮЩАЯ СИСТЕМА ДЛЯ СТАНКОВ
(57) Реферат:
Изобретение относится к машиностроению и может быть использовано для виброизоляции технологического оборудования со смещенным центром масс. Виброизолирующая система содержит по крайней мере четыре виброизолятора, имеющих разную жесткость. Платформа опирается на два вертикально расположенных виброизолятора и демпфирующий элемент. Один виброизолятор расположен над свободным концом платформы и закреплен другим торцом на рычаге. На рычаге закреплены по крайней мере два виброизолятора с противоположных сторон относительно свободного конца платформы. На противоположном конце платформы установлен демпфирующий элемент, образованный двумя соосными цилиндрическими гильзами. Между внешней и внутренней гильзами образована герметичная кольцевая полость. Верхняя часть полости закрыта подвижным кольцевым фланцем, а нижняя – закрыта кольцевой шайбой. В кольцевой полости размещен кольцевой поршень с дросселирующими отверстиями. Поршень шарнирно соединен посредством, по крайней мере, трех тяг с кольцевым фланцем, на который опирается пружина. Верхнее основание пружины упирается в крышку, жестко связанную со штоком демпфера. Втулка жестко связана с крышкой и служит направляющим устройством для пружины. Шток установлен коаксиально гильзам. Нижний конец штока соединен с виброизолируемым объектом, а верхний – с крышкой. Достигается повышение эффективности виброизоляции в резонансном режиме. 3 ил.
Изобретение относится к машиностроению и может быть использовано для виброизоляции технологического оборудования со смещенным центром масс, например станки токарной группы, ткацкие станки, платформы вентиляционных агрегатов и др.
Наиболее близким техническим решением к заявляемому объекту является виброизолирующая система по патенту РФ 2282080, F16F 7/00, 1989 г. (прототип), содержащая по крайней мере четыре виброизолятора с маятниковым подвесом, имеющих разную жесткость и связанных с опорными элементами оборудования.
Недостатком известного устройства является недостаточная эффективность на резонансе из-за отсутствия демпфирования колебаний.
Технический результат – повышение эффективности виброизоляции в резонансном режиме и упрощение конструкции и монтажа.
Это достигается тем, что в виброизолирующей системе для станков, содержащей по крайней мере четыре виброизолятора, имеющих разную жесткость и связанных с опорными элементами оборудования, система дополнительно содержит платформу, на которой крепится виброизолируемый станок и которая опирается на два вертикально расположенных виброизолятора и демпфирующий элемент, расположенные под платформой, а один виброизолятор расположен над свободным концом платформы и закреплен другим торцем на рычаге, имеющем Г-образное сечение в вертикальной плоскости и П-образное в сечении горизонтальной плоскостью, а на рычаге с П-образным сечением в горизонтальной плоскости закреплены по крайней мере два виброизолятора с противоположных сторон относительно свободного конца платформы, а на противоположном конце платформы установлен демпфирующий элемент, который образован двумя соосными цилиндрическими гильзами – внешней и внутренней с образованием герметичной кольцевой полости, верхняя часть которой закрыта подвижным кольцевым фланцем с уплотнениями по внутренней и внешней поверхностям, а нижняя герметично закрыта кольцевой шайбой, при этом в кольцевой полости размещен кольцевой поршень с дросселирующими отверстиями для прохождения амортизирующей среды из нижней части кольцевой полости в верхнюю и наоборот, а поршень шарнирно соединен посредством, по крайней мере, трех тяг с кольцевым фланцем, на который опирается пружина, при этом верхнее основание пружины упирается в крышку, жестко связанную со штоком демпфера, а втулка, жестко связанная с крышкой, служит направляющим устройством для пружины, причем шток коаксиально установлен гильзам – внешней и внутренней, причем его нижний конец соединен с виброизолируемым объектом, а верхний – с крышкой.
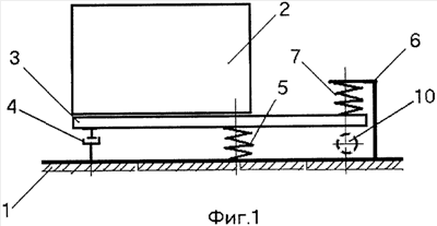
На фиг.1 представлена общая компоновочная схема предлагаемой виброизолирующей системы, на фиг.2 – вид сверху фиг.1, на фиг.3 – демпфирующий элемент.
Виброизолирующая система для станков содержит основание 1 и по крайней мере четыре виброизолятора 5, 7, 9, 10, имеющих разную жесткость и связанных с опорными элементами оборудования. Система дополнительно содержит платформу 3, на которой крепится виброизолируемый станок 2 и которая опирается на два вертикально расположенных виброизолятора 5 и демпфирующий элемент 4, расположенные под платформой, а один виброизолятор 7 расположен над свободным концом платформы 3 и закреплен другим торцем на рычаге 6, имеющем Г-образное сечение в вертикальной плоскости и П-образное в сечении 8 горизонтальной плоскостью. На рычаге 8 с П-образным сечением в горизонтальной плоскости закреплены по крайней мере два виброизолятора 9 и 10 с противоположных сторон относительно свободного конца платформы 3, а на противоположном конце платформы установлен демпфирующий элемент 4.
Гидравлический демпфер образован двумя соосными цилиндрическими гильзами – внешней 16 и внутренней 17 с образованием герметичной кольцевой полости 8, верхняя часть которой закрыта подвижным кольцевым фланцем 15 с уплотнениями по внутренней и внешней поверхностям, а нижняя герметично закрыта кольцевой шайбой 20. В кольцевой полости 8 размещен кольцевой поршень 21, который делит полость 18 на две части: верхнюю и нижнюю. В поршне 21 выполнены дросселирующие отверстия 22 для прохождения амортизирующей среды из нижней части кольцевой полости 8 в верхнюю и наоборот. При этом поршень 21 шарнирно соединен посредством, по крайней мере, трех тяг 19 с кольцевым фланцем 15, на который опирается пружина 14, при этом верхнее основание пружины 14 упирается в крышку 12, жестко связанную со штоком 11 демпфера, а втулка 13, жестко связанная с крышкой, служит направляющим устройством для пружины 14.
Шток 11 коаксиально установлен гильзам – внешней 16 и внутренней 17, причем его нижний конец соединен с виброизолируемым объектом (не показано), а верхний – с крышкой 12. Такое размещение позволяет штоку 11 совершать маятниковые колебания с амплитудой, измеряемой в пределах диаметра внутренней гильзы 17.
За счет введения маятникового подвеса обеспечивается дополнительная пространственная виброизоляция объекта по всем шести направлениям колебаний (по трем координатным осям х, у, z и поворотным вокруг этих осей).
В целом конструкция демпфера является эффективной, технологичной и отвечает требованиям эргономики и дизайна.
Виброизолирующая система работает следующим образом.
При колебаниях виброизолируемого объекта 2 пружины 5 и 7 воспринимают вертикальные нагрузки, ослабляя тем самым динамическое воздействие на перекрытия зданий. Горизонтальные нагрузки воспринимаются пружинами 9 и 10, расположенными на рычаге 8 с П-образным сечением в горизонтальной плоскости. За счет такой схемы выполнения маятникового подвеса обеспечивается дополнительная пространственная виброизоляция оборудования по всем шести направлениям колебаний (по трем координатным осям х, у, z и поворотным колебаниям вокруг этих осей).
Гидравлический демпфер работает следующим образом.
Колебания виброизолируемого объекта посредством направляющего механизма передаются на шток 11, при этом пружина 14 воспринимает вертикальные нагрузки, ослабляя тем самым динамическое воздействие. Горизонтальные нагрузки воспринимаются маятниковым подвесом. Существенно повысить демпфирование в системе на резонансных режимах работы возможно за счет диссипации энергии при прохождении среды через дросселирующие отверстия 22 в поршне 21.
Предложенная виброизолирующая система является эффективной, а также отличается простотой при монтаже и эксплуатации.
Формула изобретения
Виброизолирующая система для станков, содержащая по крайней мере четыре виброизолятора, имеющих разную жесткость и связанных с опорными элементами оборудования, платформу, на которой крепится виброизолируемый станок и которая опирается на два вертикально расположенных виброизолятора, и демпфирующий элемент, расположенные под платформой, а один виброизолятор расположен над свободным концом платформы и закреплен другим торцом на рычаге, имеющем Г-образное сечение в вертикальной плоскости и П-образное в сечении горизонтальной плоскостью, отличающаяся тем, что на рычаге с П-образным сечением в горизонтальной плоскости закреплены по крайней мере два виброизолятора с противоположных сторон относительно свободного конца платформы, а на противоположном конце платформы установлен демпфирующий элемент, который образован двумя соосными цилиндрическими гильзами – внешней и внутренней с образованием герметичной кольцевой полости, верхняя часть которой закрыта подвижным кольцевым фланцем с уплотнениями по внутренней и внешней поверхностям, а нижняя герметично закрыта кольцевой шайбой, при этом в кольцевой полости размещен кольцевой поршень с дросселирующими отверстиями для прохождения амортизирующей среды из нижней части кольцевой полости в верхнюю и наоборот, а поршень шарнирно соединен посредством, по крайней мере, трех тяг с кольцевым фланцем, на который опирается пружина, при этом верхнее основание пружины упирается в крышку, жестко связанную со штоком демпфера, а втулка, жестко связанная с крышкой, служит направляющим устройством для пружины, причем шток коаксиально установлен гильзам – внешней и внутренней, причем его нижний конец соединен с виброизолируемым объектом, а верхний – с крышкой.
РИСУНКИ
|
|