|
|
(21), (22) Заявка: 2009101248/11, 16.01.2009
(24) Дата начала отсчета срока действия патента:
16.01.2009
(46) Опубликовано: 27.03.2010
(56) Список документов, цитированных в отчете о поиске:
SU 971687 A1, 07.11.1982. SU 1479759 А2, 15.05.1989. DE 4029490 A1, 19.03.1992. US 5660379 A, 26.08.1997.
Адрес для переписки:
123458, Москва, ул. Твардовского, 11, кв.92, О.С. Кочетову
|
(72) Автор(ы):
Кочетов Олег Савельевич (RU)
(73) Патентообладатель(и):
Кочетов Олег Савельевич (RU)
|
(54) ГИДРАВЛИЧЕСКИЙ ДЕМПФЕР
(57) Реферат:
Изобретение относится к устройствам для виброизоляции сидений операторов и технологического оборудования. Демпфер содержит основание, направляющее устройство и амортизирующее устройство, шарнирно связанное посредством кронштейна с основанием. Демпфер образован двумя соосными цилиндрическими гильзами. Между внешней и внутренней гильзами образована герметичная кольцевая полость. Верхняя часть полости закрыта подвижным кольцевым фланцем с уплотнениями по внутренней и внешней поверхностям, а нижняя закрыта кольцевой шайбой. В кольцевой полости размещен кольцевой поршень с дросселирующими отверстиями. Поршень шарнирно соединен посредством, по крайней мере, трех тяг с кольцевым фланцем, на который опирается пружина. Верхнее основание пружины упирается в крышку, жестко связанную со штоком демпфера. Втулка жестко связана с крышкой и служит направляющим устройством для пружины. Шток установлен коаксиально гильзам. Нижний конец штока соединен с виброизолируемым объектом, а верхний – с крышкой. Достигается повышение эффективности виброизоляции в горизонтальном направлении, упрощение конструкции и повышение эксплуатационных свойств. 1 ил.
Изобретение относится к устройствам для виброизоляции сидений операторов технологического оборудования.
Наиболее близким техническим решением по технической сущности и достигаемому результату является демпфер, содержа щи й основание, направляющее устройство и амортизирующее устройство, шарнирно связанное посредством кронштейна с основанием (а.с. СССР 971687, кл. В60N 1/02, 1981 г.).
Недостатками известного устройства являются сравнительно невысокие виброизляционные свойства в горизонтальном направлении, а также сложность обслуживания пневмогидравлического амортизирующего устройства.
Технический результат – повышение эффективности виброизоляции в горизонтальном направлении, упрощение конструкции и повышение эксплуатационных свойств.
Это достигается тем, что в гидравлическом демпфере, содержащем основание и направляющее устройство и амортизирующее устройство, шарнирно связанное посредством кронштейна с основанием, демпфер образован двумя соосными цилиндрическим гильзами – внешней и внутренней с образованием герметичной кольцевой полости, верхняя часть которой закрыта подвижным кольцевым фланцем с уплотнениями по внутренней и внешней поверхностям, а нижняя герметично закрыта кольцевой шайбой, при этом в кольцевой полости размещен кольцевой поршень с дросселирующими отверстиями для прохождения амортизирующей среды из нижней части кольцевой полости в верхнюю, и наоборот, а поршень шарнирно соединен посредством, по крайней мере, трех тяг с кольцевым фланцем, на который опирается пружина, при этом верхнее основание пружины упирается в крышку, жестко связанную со штоком демпфера, а втулка, жестко связанная крышкой, служит направляющим устройством для пружины 4, причем шток коаксиально установлен гильзам – внешней и внутренней, причем его нижний конец соединен с виброизолируемым объектом, а верхний – с крышкой.
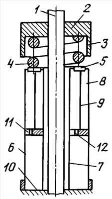
На чертеже изображена схема предлагаемого устройства.
Гидравлический демпфер образован двумя соосными цилиндрическими гильзами – внешней 6 и внутренней 7 с образованием герметичной кольцевой полости 8, верхняя часть которой закрыта подвижным кольцевым фланцем 5 с уплотнениями по внутренней и внешней поверхностям, а нижняя герметично закрыта кольцевой шайбой 10. В кольцевой полости 8 размещен кольцевой поршень 11, который делит полость 8 на две части: верхнюю и нижнюю. В поршне 11 выполнены дросселирующие отверстия 12 для прохождения амортизирующей среды из нижней части кольцевой полости 8 в верхнюю и наоборот. При этом поршень 11 шарнирно соединен посредством, по крайней мере, трех тяг 9 кольцевым фланцем 5, на который опирается пружина 4, при этом верхнее основание пружины 4 упирается в крышку 2, жестко связанную со штоком 1 демпфера, а втулка, жестко связанная с крышкой, служит направляющим устройством для пружины 4.
Шток 1 коаксиально установлен гильзам – внешней 6 и внутренней 7, причем его нижний конец соединен с виброизолируемым объектом (не показано), а верхний – с крышкой 2. Такое размещение позволяет штоку 1 совершать маятниковые колебания с амплитудой, измеряемой в пределах диаметра внутренней гильзы 7.
Гидравлический демпфер работает следующим образом.
Колебания виброизолируемого объекта посредством направляющего механизма передаются на шток 1, при этом пружина 4 воспринимает вертикальные нагрузки, ослабляя тем самым динамическое воздействие. Горизонтальные нагрузки воспринимаются маятниковым подвесом. Существенно повысить демпфирование в системе на резонансных режимах работы возможно за счет диссипации энергии при прохождении среды через дросселирующие отверстия 12 в поршне 11.
За счет введения маятникового подвеса обеспечивается дополнительная пространственная виброизоляция объекта по всем шести направлениям колебаний (по трем координатным осям x, y, z и поворотные вокруг этих осей).
В целом конструкция демпфера является эффективной, технологичной и отвечает требованиям эргономики и дизайна.
Формула изобретения
Гидравлический демпфер, содержащий основание, направляющее устройство и амортизирующее устройство, шарнирно связанное посредством кронштейна с основанием, отличающееся тем, что демпфер образован двумя соосными цилиндрическими гильзами – внешней и внутренней, с образованием герметичной кольцевой полости, верхняя часть которой закрыта подвижным кольцевым фланцем с уплотнениями по внутренней и внешней поверхностям, а нижняя герметично закрыта кольцевой шайбой, при этом в кольцевой полости размещен кольцевой поршень с дросселирующими отверстиями для прохождения амортизирующей среды из нижней части кольцевой полости в верхнюю и наоборот, а поршень шарнирно соединен посредством, по крайней мере, трех тяг с кольцевым фланцем, на который опирается пружина, при этом верхнее основание пружины упирается в крышку, жестко связанную со штоком демпфера, а втулка, жестко связанная с крышкой, служит направляющим устройством для пружины, причем шток коаксиально установлен гильзам – внешней и внутренней, причем его нижний конец соединен с виброизолируемым объектом, а верхний – с крышкой.
РИСУНКИ
|
|