|
|
(21), (22) Заявка: 2009100991/11, 15.01.2009
(24) Дата начала отсчета срока действия патента:
15.01.2009
(46) Опубликовано: 27.03.2010
(56) Список документов, цитированных в отчете о поиске:
RU 2279589 C1, 10.07.2006. SU 1479759 A2, 15.05.1989. DE 4029490 A1, 9.03.1992. US 5660379 A, 26.08.1997.
Адрес для переписки:
123458, Москва, ул. Твардовского, 11, кв.92, О.С. Кочетову
|
(72) Автор(ы):
Кочетов Олег Савельевич (RU)
(73) Патентообладатель(и):
Кочетов Олег Савельевич (RU)
|
(54) ПРУЖИННЫЙ ВИБРОИЗОЛЯТОР С МАЯТНИКОВЫМ ПОДВЕСОМ
(57) Реферат:
Изобретение относится к машиностроению и может быть использовано для виброизоляции технологического оборудования. Виброизолятор содержит пружину сжатия, взаимодействующую с основанием корпуса и маятниковым подвесом. Демпфер содержит основание, направляющее устройство и амортизирующее устройство, шарнирно связанное посредством кронштейна с основанием. Демпфер образован двумя соосными цилиндрическими гильзами. Между внешней и внутренней гильзами образована герметичная кольцевая полость. Верхняя часть полости закрыта подвижным кольцевым фланцем с уплотнениями по внутренней и внешней поверхностям, а нижняя закрыта кольцевой шайбой. В кольцевой полости размещен кольцевой поршень с дросселирующими отверстиями. Поршень шарнирно соединен посредством, по крайней мере, трех тяг с кольцевым фланцем, на который опирается пружина. Верхнее основание пружины упирается в крышку, жестко связанную со штоком демпфера. Втулка жестко связана с крышкой и служит направляющим устройством для пружины. Шток установлен коаксиально гильзам. Нижний конец штока соединен с виброизолируемым объектом, а верхний – с крышкой. Достигается повышение эффективности виброизоляции в резонансном режиме и упрощение конструкции и монтажа виброизолятора. 1 ил.
Изобретение относится к машиностроению и может быть использовано для виброизоляции технологического оборудования, в том числе ткацких станков.
Наиболее близким техническим решением к заявляемому объекту является пружинный виброизолятор по патенту РФ 2279589, F16F 15/06, 1986 г. (прототип), содержащий упругий элемент в виде цилиндрической пружины, один торец которой опирается на основание корпуса, а другой взаимодействует с маятниковым подвесом.
Недостатком известного устройства является сложность шарнирного элемента и недостаточная эффективность на резонансе из-за отсутствия демпфирования колебаний.
Технический результат – повышение эффективности виброизоляции в резонансном режиме и упрощение конструкции и монтажа.
Это достигается тем, что в пружинном виброизоляторе с маятниковым подвесом, содержащем пружину сжатия, взаимодействующую с основанием корпуса и маятниковым подвесом, демпфер образован двумя соосными цилиндрическими гильзами – внешней и внутренней – с образованием герметичной кольцевой полости, верхняя часть которой закрыта подвижным кольцевым фланцем с уплотнениями по внутренней и внешней поверхностям, а нижняя герметично закрыта кольцевой шайбой, при этом в кольцевой полости размещен кольцевой поршень с дросселирующими отверстиями для прохождения амортизирующей среды из нижней части кольцевой полости в верхнюю и наоборот, а поршень шарнирно соединен посредством, по крайней мере, трех тяг с кольцевым фланцем, на который опирается пружина, при этом верхнее основание пружины упирается в крышку, жестко связанную со штоком демпфера, а втулка, жестко связанная с крышкой, служит направляющим устройством для пружины 4, причем шток коаксиально установлен гильзам – внешней и внутренней, причем его нижний конец соединен с виброизолируемым объектом, а верхний – с крышкой.
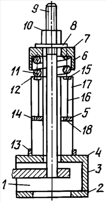
На чертеже изображен общий вид предлагаемого виброизолятора.
Виброизолятор выполнен с упругим и демпфирующим элементами и с маятниковым подвесом, которые размещены в корпусе 1 виброизолирующего устройства, образованном верхним 4 и нижним 2 основаниями, жестко связанными с боковыми пластинами 3 с образованием окна для выхода опорной плиты, одним концом соединенной с маятниковым подвесом, а другим – с виброизолируемым объектом. В верхнем основании 4 корпуса выполнено отверстие для прохождения стержня 9 маятникового подвеса, причем диаметр отверстия совпадает с диаметром внутренней цилиндрической поверхности демпфирующего элемента 5.
Упругий элемент выполнен в виде цилиндрической винтовой пружины 11, охватывающей резьбовой стержень 9 маятникового подвеса. Нижнее основание пружины 11 опирается на подвижный кольцевой фланец 15 демпфирующего элемента 5 гидравлического типа, причем подвижный кольцевой фланец 15 имеет уплотнения 12 как по внешней цилиндрической поверхности, так и по внутренней. Верхнее основание пружины 11 упирается в крышку 7 с упорным кольцом 6, охватывающим пружину 11, причем в крышке 7 выполнено отверстие для прохода стержня 9 маятникового подвеса, и крышка связана с ним через упругую шайбу 8 и гайку 10, при этом диаметр отверстия в крышке 7 совпадает с диаметром внутренней цилиндрической поверхности демпфирующего элемента 5.
Демпфирующий элемент 5 образован двумя соосными цилиндрическими гильзами с образованием герметичной кольцевой полости 17, верхняя часть которой закрыта подвижным кольцевым фланцем 15 с уплотнениями 12, а нижняя герметично закрыта шайбой, установленной в упорном кольце 13 и жестко связанной с верхним основанием 4 корпуса 1 виброизолирующего устройства. В кольцевой полости 17 размещен кольцевой поршень 14, который делит полость 17 на две части: верхнюю и нижнюю. В поршне 14 выполнены дросселирующие отверстия 18 для прохождения амортизирующей среды из нижней части кольцевой полости 17 в верхнюю и наоборот. При этом поршень 18 шарнирно соединен посредством, по крайней мере, трех тяг 16 с кольцевым фланцем 15, на который опирается пружина 11.
Маятниковый подвес выполнен в виде резьбового стержня 9, коаксиально установленного внутри демпфирующего элемента 5 и соединенного одним концом с опорной плитой, а другим – с крышкой 7 через упругую шайбу 8 и гайку 10. Такое размещение позволяет стержню 9 совершать маятниковые колебания с амплитудой, измеряемой в пределах диаметра отверстия верхнего основания 4 корпуса 1.
Пружинный виброизолятор работает следующим образом.
Колебания виброизолируемого объекта воспринимает пружина 11, ослабляя тем самым динамическое воздействие. Горизонтальные нагрузки воспринимаются маятниковым подвесом. Упорная шайба 8, взаимодействующая с гайкой 10 и втулкой 7, выполнена из упругого материала для гашения ударных нагрузок при посадке виброизолирующей системы на упоры. Выполнение демпфирующего элемента 5 гидравлического типа позволяет существенно повысить демпфирование в системе на резонансных режимах работы за счет диссипации энергии при прохождении среды через дросселирующие отверстия 18 в поршне 14.
За счет введения маятникового подвеса обеспечивается дополнительная пространственная виброизоляция оператора по всем шести направлениям колебаний (по трем координатным осям x, y, z и поворотные вокруг этих осей).
В целом конструкция сиденья является эффективной, технологичной и отвечает требованиям эргономики и дизайна.
Формула изобретения
Пружинный виброизолятор с маятниковым подвесом, содержащий пружину сжатия, взаимодействующую с основанием корпуса и маятниковым подвесом, отличающийся тем, что демпфер образован двумя соосными цилиндрическими гильзами – внешней и внутренней с образованием герметичной кольцевой полости, верхняя часть которой закрыта подвижным кольцевым фланцем с уплотнениями по внутренней и внешней поверхностям, а нижняя герметично закрыта кольцевой шайбой, при этом в кольцевой полости размещен кольцевой поршень с дросселирующими отверстиями для прохождения амортизирующей среды из нижней части кольцевой полости в верхнюю и наоборот, а поршень шарнирно соединен посредством, по крайней мере, трех тяг с кольцевым фланцем, на который опирается пружина, при этом верхнее основание пружины упирается в крышку, жестко связанную со штоком демпфера, а втулка, жестко связанная с крышкой, служит направляющим устройством для пружины, причем шток коаксиально установлен гильзам – внешней и внутренней, причем его нижний конец соединен с виброизолируемым объектом, а верхний – с крышкой.
РИСУНКИ
|
|