|
|
(21), (22) Заявка: 2008151199/11, 25.12.2008
(24) Дата начала отсчета срока действия патента:
25.12.2008
(46) Опубликовано: 27.03.2010
(56) Список документов, цитированных в отчете о поиске:
SU 1419049 А1, 27.04.2005. SU 796151 А, 15.01.1981. DE 19621683 А1, 04.12.1997. GB 2173163 А, 08.10.1986.
Адрес для переписки:
127018, Москва, 3-й пр-д Марьиной рощи, 40, ФГУП “НПО ТЕХНОМАШ”, отд.701, А.В. Корнилову
|
(72) Автор(ы):
Варочко Алексей Григорьевич (RU), Косач Сергей Петрович (RU), Тарасов Александр Алексеевич (RU)
(73) Патентообладатель(и):
ФЕДЕРАЛЬНОЕ ГОСУДАРСТВЕННОЕ УНИТАРНОЕ ПРЕДПРИЯТИЕ КОНСТРУКТОРСКОЕ БЮРО “МОТОР” (RU)
|
(54) ТРАВЕРСА
(57) Реферат:
Изобретение относится к грузозахватным устройствам, используемым на крановых механизмах. Траверса содержит балку с узлом для соединения с грузозахватным органом подъемного средства, огибные блоки, установленные на концах балки на осях с возможностью вращения, и гибкие грузонесущие элементы. Траверса оснащена подвижными огибными блоками, смонтированными посредством осей на балке с возможностью синхронного их сведения друг к другу или разведения посредством привода, а гибкие грузонесущие элементы навиты на подвижные и огибные блоки с образованием двух полиспастов. Привод перемещения подвижных блоков может быть выполнен в виде установленных на балке двигателя и вала с разнонаправленной винтовой нарезкой по его концам, вал кинематически связан с двигателем, а на его винтовую нарезку навинчены гайки, связанные с осями подвижных блоков. Оси подвижных блоков могут быть смонтированы в «П»-образных направляющих, закрепленных на балке. Достигается расширение функциональных возможностей подъемных средств. 2 з.п. ф-лы, 2 ил.
Изобретение относится к приспособлениям, применяемым на грузоподъемных машинах, и может быть использовано для расширения функциональных возможностей грузоподъемных кранов при манипулировании крупногабаритными длинномерными грузами большой массы, например, при подъеме изделий из шахт и колодцев.
Известно, что у большинства грузоподъемных кранов, общего назначения грузозахватный орган опускается только до уровня пола (земли) и не может быть присоединен к такелажным узлам изделия, находящегося на глубине, в шахте или колодце.
В таких случаях для присоединения к такелажным узлам изделия применяют удлинители – канатные стропы, закрепленные на траверсе, навешиваемой на крюк крана, что, однако, приводит к тому, что из-за ограниченной высоты подъема крана длинномерное изделие не может быть полностью выгружено из колодца (шахты) и его нижний торец в конце подъема оказывается ниже оголовка шахты.
Выгрузка длинномерного изделия из шахты в условиях недостаточной глубины опускания и высоты подъема грузозахватного органа крана может быть осуществлена выполнением предварительного подъема изделия к вышеупомянутой траверсе, навешенной на крюк крана грузоподъемным механизмом, смонтированным на ней, и последующим подъемом ее (траверсы) механизмом подъема крана.
Известна траверса, содержащая балку с блоками по ее концам, установленный на балке элемент для соединения с крюком крана. К нижней части балки шарнирно прикреплен гидроцилиндр со штоком, который шарнирно соединен с пластиной, жестко связанной с грузовым канатом, перекинутым через блоки. Перемещение штока в данном гидроцилиндре регулирует трехпозиционный золотник, работающий под действием переключателя, имеющего постоянно отрегулированную горизонтальную поверхность. Элемент для соединения траверсы с крюком крана закреплен на грузовом гидроцилиндре с подпружиненным поршнем. С данным гидроцилиндром соединен огибающий блоки канат. Гидроцилиндры гидравлически связаны друг с другом.
Для работы траверсу навешивают на крюк крана. Подцепляют к траверсе груз. При поднятии краном груза он висит на грузовом гидроцилиндре. Под действием массы груза рабочая жидкость (масло), сжимаемая поршнем грузового гидроцилиндра, поступает в трехпозиционный золотник. Если точка подвеса и центр тяжести груза не совпадают, то балка будет наклонена относительно горизонта. В этом случае переключатель воздействует на золотниковый распределитель, перемещая его в направлении, обеспечивающем перемещение траверсы в горизонтальное положение (см. а.с. СССР 175202, В66С 1/68, 1965 г.).
В результате анализа конструкции данной траверсы выявлено, что она изменяет положение груза только по горизонтали, а ее гидроцилиндр с грузовым канатом не обеспечивает подъема груза.
Известна грузоподъемная траверса, содержащая навешиваемую на крюк грузоподъемной машины раму, установленные по концам рамы блоки и огибающий их трос, один конец которого имеет возможность соединения с грузом, и контргруз, соединенный с рамой, причем траверса снабжена консолью, один конец которой шарнирно соединен с противоположным грузовому концу троса концом рамы с возможностью поворота в вертикальной плоскости, другой конец консоли гибкой тягой связан с контргрузом и с другим концом троса. Шарнирно соединенные концы рамы и консоли снабжены ограничителями их взаимного поворота (см. а.с. СССР 1419049, В66С 1/68, 1986 г.) – наиболее близкий аналог.
В результате анализа конструкции данной траверсы необходимо отметить, что она обеспечивает манипулирование длинномерными грузами значительной массы и габаритов, в том числе обеспечивает их вертикальное перемещение, однако ее конструкция не обеспечивает дополнительного перемещения груза при отключенных крановых механизмах подъема (опускания) грузозахватного элемента (крюка).
Задачей настоящего изобретения является разработка конструкции траверсы, обеспечивающей расширение функциональных возможностей подъемных средств как по высоте подъема, так и по обеспечению точного положения поднимаемого объекта по высоте.
Поставленная задача обеспечивается тем, что в траверсе, содержащей балку с узлом для соединения с грузозахватным органом подъемного средства, огибные блоки, установленные на концах балки на осях с возможностью вращения, и гибкие грузонесушие элементы, новым является то, что траверса оснащена подвижными огибными блоками, смонтированными посредством осей на балке с возможностью синхронного их сведения друг к другу или разведения посредством привода, а гибкие грузонесущие элементы навиты на подвижные и огибные блоки с образованием двух полиспастов, причем привод перемещения подвижных блоков может быть выполнен в виде установленных на балке двигателя и вала с разнонаправленной винтовой нарезкой по его концам, вал кинематически связан с двигателем, а на его винтовую нарезку навинчены гайки, связанные с осями подвижных блоков, а оси подвижных блоков могут быть смонтированы в «П»-образных направляющих, закрепленных на балке.
Сущность изобретения поясняется графическими материалами, на которых:
на фиг 1 – траверса, вид сбоку;
на фиг.2 – траверса, разрез – А-А по фиг.1.
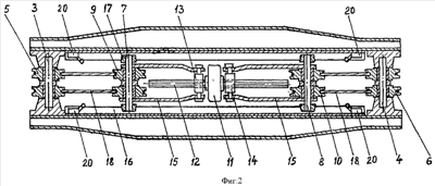
Траверса выполнена в виде балки 1 с элементом 2 (крюком, скобой, петлей и пр.) для соединения с грузозахватным органом подъемного средства.
По концам балки 1 установлены оси 3 и 4, на которых смонтированы огибные блоки 5 и 6 соответственно. Оси 3 и 4 могут быть установлены на балке 1 неподвижно, а блоки 5 и 6 иметь возможность вращения относительно своих осей. Оси 3 и 4 могут быть установлены на балке 1 в подшипниковых опорах и вращаться вместе с блоками 5 и 6. Для выполнения траверсы это не является принципиальным. Блоки 5 и 6 являются неподвижными (стационарными).
Траверса также оснащена осями 7 и 8, на которых установлены огибные блоки 9 и 10. Конструктивное исполнение блоков 9 и 10, как правило, идентично исполнению блоков 5 и 6. Оси 7 и 8, а следовательно и блоки 9 и 10 смонтированы на балке 1 с возможностью их синхронного сведения (разведения) посредством привода. Для обеспечения выполнения данной функции концы осей располагают в направляющих, выполненных на балке 1.
Траверса оснащена приводом синхронного перемещения подвижных огибных блоков 9 и 10. Конструктивно привод может быть реализован различным образом, например, быть клиновым или винтовым. Так, привод может быть выполнен в виде двигателя (например, мотор-редуктора) 11, установленного на балке 1, управляемого с выносного пульта и кинематически связанного с установленным на балке с возможностью вращения валом 12, по концам которого имеются разнонаправленные (правая и левая) винтовые нарезки. На резьбовые концы вала навинчены гайки 13 и 14 связанные вилками 15 с осями 7 и 8 блоков 9 и 10. Конструктивно данная связь может быть реализована и иным образом.
Концы осей 7 и 8 введены в «П»-образные направляющие 16, закрепленные на балке 1, или в пазы (прорези), выполненные на ней. Для облегчения перемещения по направляющим 16 концы осей 7 и 8 могут быть оснащены роликами 17.
На блоки 5 и 9, а также 6 и 10 навиты гибкие грузонесущие элементы (канаты, цепи и пр.) 18 таким образом, что они образуют два полиспаста, в каждый из которых входят подвижные и неподвижные (огибные) блоки (соответственно 5 и 9; 6 и 10).
Один конец гибких грузонесущих элементов закреплен на балке 1 (не показано), а второй оснащен проушинами 19 для соединения с такелажными узлами выгружаемого из шахты изделия (или загружаемого в нее).
Управление двигателем 11, а следовательно, перемещением подвижных блоков полиспастов, осуществляется с выносного пульта (не показан), а автоматический останов этих блоков в предельных (крайних) положениях – концевыми выключателями 20.
Работы с применением заявленной траверсы производят следующим образом.
Балку 1 элементом 2 соединяют с грузозахватным органом подъемного средства и размещают над изделием, расположенным в шахте. Опускают траверсу в шахту механизмом подъема подъемного средства на максимально возможную глубину (до нижнего возможного положения грузозахватного органа).
Используя выносной пульт, включают двигатель 11 на разведение подвижных блоков 9 и 10, в результате чего вращаемый им вал 12 синхронно перемещает гайки 13 и 14, связанные с ними вилки 15, а следовательно и связанные с ними оси 7 и 8 с блоками 9 и 10, к огибным блокам 5 и 6. Оси 7 и 8 при этом перемешаются роликами 17 по направляющим 16 и останавливаются в предельном положении вследствие срабатывания концевых выключателей 20 и останова двигателя 11.
При сокращении расстояния между блоками 5 и 9, 6 и 10 полиспастов длина концов гибких грузонесущих элементов 18 с проушинами 19 увеличивается и проушины 19 опускаются на заданную величину, достаточную для присоединения к такелажным узлам изделия, находящегося в шахте.
Подсоединяют проушины 19 к такелажным узлам изделия. С выносного пульта а включают двигатель 11 на сведение друг к другу блоков 9 и 10, в результат чего вращаемый вал 12 синхронно перемещает гайки 13 и 14 и связанные с ними вилками 15 оси 7 и 8 с подвижными блоками 9 и 10 от огибных блоков 5 и 6 к середине балки 1. Вследствие увеличения расстояния между блоками полиспастов длина концов грузонесущих гибких элементов 18 уменьшается и изделие поднимается к балке 1 траверсы на высоту, необходимую и достаточную для дальнейшей выгрузки изделия механизмом подъема подъемного средства Выключение двигателя 11 производится оператором или концевыми выключателями 20 при достижении предельного положения осей 7 и 8. Приподнятое траверсой изделие поднимают подъемным средством до его полного выхода из шахты.
Отсоединяют проушины 19 от такелажных узлов изделия, опускают грузозахватный орган подъемного средства с траверсой и рассоединяют ее с подъемным средством.
Для погрузки изделия в шахту траверсу со сведенными к середине балки 1 подвижными блоками 9 и 10 соединяют узлом 2 с грузозахватным органом подъемного средства и поднимают его механизмом подъема этого средства для присоединения проушин к такелажным узлам вертикально установленного изделия.
Присоединяют проушины 19 к такелажным узлам изделия, механизмом подъема подъемного средства опускают изделие в шахту до наинизшего возможного положения грузозахватного органа и выключают механизм подъема этого средства. Затем с выносного пульта включают двигатель 11 на разведение подвижных блоков 9 и 10, опуская дополнительно изделие и устанавливая его в шахте на заданной глубине.
Отключают двигатель 11, снимают с такелажных узлов изделия проушины 19 и поднимают траверсу из шахты механизмом подъема подъемного средства; включают двигатель 11 на сведение подвижных блоков, после чего снимают узел 2 с грузозахватного органа подъемного средства.
Применение траверсы позволяет расширить функциональные возможности подъемного средства за счет подъема (опускания) изделия при отключенном приводе подъема подъемного средства.
Формула изобретения
1. Траверса, содержащая балку с узлом для соединения с грузозахватным органом подъемного средства, огибные блоки, установленные на концах балки на осях с возможностью вращения, и гибкие грузонесущие элементы, отличающаяся тем, что траверса оснащена подвижными огибными блоками, смонтированными посредством осей на балке с возможностью синхронного их сведения друг к другу или разведения посредством привода, а гибкие грузонесущие элементы навиты на подвижные и огибные блоки с образованием двух полиспастов.
2. Траверса по п.1, отличающаяся тем, что привод перемещения подвижных блоков выполнен в виде установленных на балке двигателя и вала с разнонаправленной винтовой нарезкой по его концам, вал кинематически связан с двигателем, а на его винтовую нарезку навинчены гайки, связанные с осями подвижных блоков.
3. Траверса по п.1, отличающаяся тем, что оси подвижных блоков смонтированы в П-образных направляющих, закрепленных на балке.
РИСУНКИ
|
|