|
(21), (22) Заявка: 2008140795/11, 14.10.2008
(24) Дата начала отсчета срока действия патента:
14.10.2008
(46) Опубликовано: 27.03.2010
(56) Список документов, цитированных в отчете о поиске:
US 3960236 А, 01.06.1976. RU 2054358 C1, 20.02.1996. GB 845003 A, 17.08.1960. RU 2312790 C1, 20.12.2007.
Адрес для переписки:
614014, г.Пермь, ул. Новозвягинская, 57, ФГУП “УНИИКМ”, Генеральному директору, С.М. Рубцову
|
(72) Автор(ы):
Чунаев Владимир Юрьевич (RU), Ширяев Александр Владимирович (RU), Никитин Владимир Викторович (RU), Судюков Павел Александрович (RU), Долгодворов Александр Викторович (RU)
(73) Патентообладатель(и):
Федеральное Государственное Унитарное предприятие “Уральский научно-исследовательский институт композиционных материалов” (RU)
|
(54) СПОСОБ ИЗГОТОВЛЕНИЯ УЗЛА ЛЕТАТЕЛЬНОГО АППАРАТА ТИПА КРЫЛА
(57) Реферат:
Изобретение относится к области летательных аппаратов. Способ изготовления узла летательного аппарата типа крыла заключается в изготовлении обшивок и элементов силового набора, предусматривающем формирование их каркасов из волокнистого материала, пропитку связующим и сборку узла со скреплением обшивок и элементов силового набора. Формирование каркасов ведут в матрицах с протяженными сквозными щелями с перемычками в стенках притягиванием каркасов технологическими петлями к перемычкам с последующей прошивкой их волокнами через протяженные сквозные щели матриц. Технологические петли срезают, извлекают каркасы из матриц с протяженными сквозными щелями, пропитывают связующим, устанавливают в формующие матрицы и выполняют полимеризацию. Извлекают каркасы из формующих матриц, выполняют их механическую обработку и производят сборку узла со скреплением обшивок и элементов силового набора винтами. Достигается повышение надежности узла летательного аппарата типа крыла. 3 ил.
Изобретение относится к области летательных аппаратов, точнее – к способам изготовления их узлов типа крыла.
Известен способ изготовления узла летательного аппарата типа крыла, включающий изготовление обшивок и элементов силового набора, предусматривающее формирование их каркасов из волокнистого материала, пропитку связующим и сборку узла со скреплением обшивок и элементов силового набора – просматриваемый в патенте США 3960236 кл. К04В 1/99, 1974 г.
По своим признакам и достигаемому результату этот способ наиболее близок к заявляемому и принят за прототип.
Согласно этому способу каркасы набирают методом послойного наложения волокнистого материала в оправки, после чего пропитывают связующим, устанавливают вместе с оправками между обшивками и скрепляют в местах их контакта путем прошивки волокнами и выполняют полимеризацию, после чего оправки извлекают из полученной панели (узла).
Недостаток способа заключается в ограниченности его технологических возможностей и малой надежности.
Ограниченные технологические возможности способа объясняются тем, что он может использоваться только для изготовления изделий простой формы с возможностью извлечения оправок из них после полимеризации.
Малая надежность способа объясняется тем, что его использование не обеспечивает получение изделий с геометрически точными размерами и формой из-за невозможности точной взаимной установки и скрепления нежестких каркасов обшивок и элементов силового набора в процессе их прошивки и полимеризации в сборке.
Кроме того, полученные этим способом узлы (панели) плохо работают при вибрационных нагрузках, вызывающих разрушение узлов по стыкам.
Задачей изобретения является расширение технологических возможностей и повышение надежности способа.
Эта задача решается усовершенствованием способа изготовления узла летательного аппарата типа крыла, включающего изготовление обшивок и элементов силового набора, предусматривающее формирование их каркасов из волокнистого материала, пропитку связующим и сборку узла со скреплением обшивок и элементов силового набора.
Усовершенствование состоит в том, что формирование каркасов выполняют в матрицах с протяженными сквозными щелями с перемычками в стенках притягиванием каркасов технологическими петлями к перемычкам с последующей прошивкой их волокнами через щели матриц, после чего технологические петли срезают, извлекают каркасы из матриц со щелями, пропитывают связующим, устанавливают в формующие матрицы и выполняют полимеризацию, затем извлекают каркасы из формующих матриц, производят их механическую обработку и выполняют сборку узла со скреплением обшивок и элементов силового набора винтами.
Выполнение формирования каркасов в матрицах с протяженными сквозными щелями с перемычками в стенках притягиванием каркасов технологическими петлями к перемычкам позволяет зафиксировать (закрепить) каркасы в матрицах.
Последующая прошивка каркасов волокнами через щели матриц обеспечивает скрепление слоев сухого материала каркасов в состоянии, приближенном к положению слоев в готовом изделии.
Срезание технологических петель, извлечение каркасов из матриц со щелями, пропитка их связующим, установка в формующие матрицы, выполнение полимеризации и извлечение из формующих матриц позволяет выполнить названные операции и изготовить каркасы с уменьшенными смещениями слоев волокнистого материала в них и повышенными показателями по геометрической форме и конструкторским размерам.
Выполнение механической обработки каркасов и сборка узла со скреплением обшивок и элементов силового набора винтами позволяют изготовить узел летательного аппарата типа крыла с повышенными требованиями к геометрической форме, конструкторским размерам и несущей способности к вибрационным нагрузкам.
Выполнение способа изготовления узла летательного аппарата типа крыла по изобретению позволяет расширить его технологические возможности и повысить надежность.
Ниже, со ссылкой на прилагаемые чертежи, показано на:
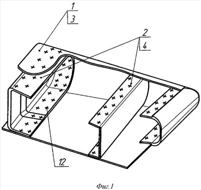
Фиг.1 – изготовленный узел в сборе;
Фиг.2 – элемент силового набора в матрице со щелями;
Фиг.3 – элемент силового набора в формующей матрице, дается описание предлагаемого способа.
Способ изготовления узла летательного аппарата типа крыла включает изготовление обшивок 1 и элементов силового набора 2, предусматривающее формирование их каркасов 3, 4 из волокнистого материала, пропитку их связующим и сборку узла со скреплением последних.
Формирование каркасов 3, 4 (показано на примере каркасов 4 элементов силового набора 2) ведут в матрицах 5 с протяженными сквозными щелями 6 с перемычками 7 в стенках 8 притягиванием каркасов 4 технологическими петлями 9 к перемычкам 7 с последующей прошивкой их волокнами 10 через щели 6 матриц 5 – Фиг.2 (чем обеспечивается скрепление слоев сухого материала каркасов в состоянии, приближенном к положению слоев в готовом изделии).
Затем технологические петли 9 срезают, извлекают каркасы 4 из матриц 5 со щелями 6, пропитывают их связующим, устанавливают в формующие матрицы 11 – Фиг.3, выполняют полимеризацию и извлекают из формующих матриц 11 (чем обеспечивается выполнение каркасов 3, 4 с уменьшенными смещениями слоев волокнистого материала в них и повышенными показателями по геометрической форме и конструкторским размерам).
При этом в процессе полимеризации используются известные способы прижима пропитанных связующим материалов каркасов 4 к матрицам 11, например, эластичным мешком.
После чего выполняют механическую обработку каркасов 3, 4 с получением из них готовых обшивок 1 и элементов силового набора 2 и производят сборку узла со скреплением последних винтами 12 – Фиг.1 (чем обеспечивается изготовление узла летательного аппарата типа крыла с повышенными требованиями к геометрической форме, конструкторским размерам и несущей способности к вибрационным нагрузкам).
Способ изготовления узла летательного аппарата типа крыла характеризуется по сравнению с прототипом расширенными технологическими возможностями и повышенной надежностью.
Формула изобретения
Способ изготовления узла летательного аппарата типа крыла, включающий изготовление обшивок и элементов силового набора, предусматривающее формирование их каркасов из волокнистого материала, пропитку связующим, и сборку узла со скреплением обшивок и элементов силового набора, отличающийся тем, что формирование каркасов ведут в матрицах с протяженными сквозными щелями с перемычками в стенках притягиванием каркасов технологическими петлями к перемычкам с последующей прошивкой их волокнами через протяженные сквозные щели матриц, после чего технологические петли срезают, извлекают каркасы из матриц с протяженными сквозными щелями, пропитывают связующим, устанавливают в формующие матрицы и выполняют полимеризацию, затем извлекают каркасы из формующих матриц, выполняют их механическую обработку и производят сборку узла со скреплением обшивок и элементов силового набора винтами.
РИСУНКИ
|