|
|
(21), (22) Заявка: 2008126788/11, 01.07.2008
(24) Дата начала отсчета срока действия патента:
01.07.2008
(46) Опубликовано: 27.03.2010
(56) Список документов, цитированных в отчете о поиске:
RU 36317 U1, 10.03.2004. RU 2253579 С1, 10.06.2005. JP 9086358 А, 31.03.1997.
Адрес для переписки:
630051, г.Новосибирск, ул. Ползунова, 21, а/я 25, Закрытое Акционерное общество “Компания “Росгидропром”
|
(72) Автор(ы):
Кириллов Сергей Иванович (RU)
(73) Патентообладатель(и):
Закрытое Акционерное Общество “Компания “Росгидропром” (RU)
|
(54) МАШИНА ВАГОНОРЕМОНТНАЯ
(57) Реферат:
Изобретение относится к устройствам для ремонта железнодорожных вагонов, а именно предназначено для заводского, деповского, а также предпогрузочного и безотцепочного ремонта вагонов. Вагоноремонтная машина содержит подвижную вдоль рельсового пути портальную раму с грузоподъемными средствами, несущую рабочие площадки, установленные с возможностью вертикального перемещения правильные устройства и механизмы блокировки, связанные следящей системой. Портальная рама выполнена телескопической и состоит из нижней части (1), передвигающейся горизонтально, а относительно нее верхняя часть (2) выдвигается вертикально. Наверху портала выполнена передвигающаяся в поперечном направлении тележка (5) с поворотным механизмом (6). Правильные устройства представляют силовые элементы, состоящие из большой (8) и малых струбцин (15), а также правильных домкратов (16), причем большая струбцина (8) смонтирована вверху портала, а малые струбцины (15) и правильные домкраты (16) расположены внизу портала. Достигается упрощение конструкции и расширение функциональных возможностей. 3 з.п. ф-лы, 3 ил.
Изобретение относится к устройствам для ремонта железнодорожных вагонов, а именно предназначено для заводского, деповского, а также предпогрузочного и безотцепочного ремонта вагонов, т.е. мобильного ремонта.
Так, известен передвижной стенд для ремонта крытых вагонов (см. SU, 1183230, B21D 1/14, B60S 5/00, 07.10.85 г.), содержащий портал, на поперечной балке которого расположен маятник для крепления инструмента и снабжен втулкой, установленной на поперечной балке, с возможностью ее поворота, также маятник снабжен средством изменения его длины и установлен на втулке с возможностью перемещения вдоль ее оси, при этом концентрично втулке расположена пружина кручения, таким образом, исправление деформации стенки вагона осуществляется при помощи механической энергии, возникающей при закручивании пружины и используемой при ударе бойка на маятнике по деформируемой стенке. Таким образом, стенд предназначен для ремонта только крытых вагонов, трудно достичь хорошего качества ремонтных работ за счет сугубо местного приложения силы.
Известно устройство для правки кузовов транспортных средств (см. SU, 1562040, B21D 1/12, 07.05.90 г.), содержащее подвижный портал, платформу с возможностью вертикального перемещения, установленный на ней мост с возможностью перемещения вдоль нее и тележку, расположенную на мосту и имеющую возможность перемещаться перпендикулярно мосту с механизмом вертикального перемещения приспособления с гидроприводом. Устройство предназначено для правки только кузовов, т.е. исправления отдельного вида дефектов, что недостаточно при комплексном исправлении дефектов при ремонте железнодорожных вагонов.
Таким же недостатком обладают и устройства: для ремонта бортов грузовых вагонов (RU, з. 2005127752, B21D 1/12, 2005); для ремонта торцов грузовых вагонов (RU, з. 2005127752, B21D 1/12, 2005). Применение нескольких видов устройств при ремонте вагонов более трудоемко и неэффективно экономически.
Известно устройство для правки кузовов и рам транспортных средств (RU, п.м. 65796, B21D 1/12, 1/14; B60S 5/00; 29.09.2006), выполнено в виде стационарного перевернутого портала из двух рядов силовых колонн, наверху которых смонтированы подкрановые балки для перемещения силового моста с приспособлениями для правки вдоль портала, который передвигается вертикально, по колоннам выполнены направляющие для перемещения боковых силовых балок. Устройство имеет расширенные технологические возможности в проведении полного ремонта вагонов, который, однако, целесообразно проводить только при капитальном ремонте.
Известна машина вагоноремонтная (RU, п.м. 36317, B60S 5/00; 29.10.2003), – принято за прототип, содержащая подвижную вдоль рельсового пути портальную раму с грузоподъемными средствами, несущую рабочие площадки, установленные с возможностью вертикального перемещения правильные домкраты и механизмы блокировки, а также устройства правки люков, при этом портальная рама выполнена комбинированной из проката колонного профиля и усиленного широкополочного двутавра и передвигающихся по ней правильных домкратов, ограничивает возможности в проведении мобильного ремонта, сама машина металлоемка и трудоемка в изготовлении и не обладает достаточными мобильными свойствами.
К причинам, препятствующим достижению указанного ниже технического результата, при использовании известного устройства, принятого за прототип, относится то, что:
– наличие мощной жесткой портальной рамы ограничивает требования по высоте помещений для ремонта, сложен перемонтаж вагоноремонтной машины (далее машины), учитывая габариты и большой вес;
– присутствие правильных домкратов и дополнительных грузоподъемных средств (в виде консольного неполноповоротного крана) усложняет конструкцию машины, а также утяжеляет ее.
Сущность предлагаемого изобретения заключается в следующем.
Задачами изобретения является:
– создание мобильной вагоноремонтной машины с габаритами и конструктивными особенностями, позволяющими ее использование в различных условиях, с упрощенными особенностями монтажа и ее перемонтажа, с уменьшенным весом;
– упрощение конструкции машины за счет сокращения рабочих органов;
– расширение функциональных операций по исправлению дефектов.
Технический результат создана малогабаритная машина для мобильного ремонта железнодорожных вагонов, позволяющая исправлять дефекты кузовов вагонов: прогибы поясков обвязки, вмятин листов обшивки бортов, прогибов боковых и торцевых стоек, вмятин люков и дверей полувагонов без предварительного их съема, общих уширений или сужений кузовов, производить замену скользунов.
Указанный технический результат достигается тем, что в предлагаемой для защиты вагоноремонтной машине, содержащей подвижную вдоль рельсового пути портальную раму с грузоподъемными средствами, несущую рабочие площадки, установленные с возможностью вертикального перемещения правильные устройства и механизмы блокировки, связанные следящей системой, имеются следующие особенности:
– Портальная рама выполнена телескопической и состоит из нижней части, передвигающейся горизонтально, с каждой стороны которой установлена каретка с грузоподъемным механизмом и телескопической балкой, а на ней смонтирована в направляющих, подвижная вертикально, верхняя часть, на которой расположена передвигающаяся в поперечном направлении тележка с поворотным механизмом, при этом правильные устройства представляют силовые элементы, состоящие из большой и малых струбцин и правильных домкратов, причем большая струбцина смонтирована на тележке вверху портала, а малые струбцины и правильные домкраты расположены внизу портала.
Телескопическая конструкция портала позволяет монтировать оборудование в любом производственном помещении, поскольку нет жестких требований к высоте помещения, к тому же портал машины не несет значительных нагрузок за счет рационального расположения силовых элементов.
Большая струбцина, имеющая гидроцилиндр и поворотную балку с реактивными опорами, закреплена на тележке при помощи двух шарнирных тяг с возможностью перемещения от ее центра к краям.
Выполнение силового элемента в виде подвижной струбцины, перемещающейся от одной стенки до другой (поперек вагона) и вращающейся по кругу, движущейся вверх и вниз, обеспечивает качественную правку любого участка стенок вагона, при этом наличие на струбцине с одной стороны гидроцилиндра, а с другой – реактивных опор позволяет избежать передачи напряжения по площади изгиба боковой стенки в другом месте.
– Малые струбцины выполнены вращающимися вокруг своей оси и закреплены на выдвижных телескопических балках с обеих сторон внизу рамы портала;
– Малые струбцины служат для правки люков, выдвижением и поворотом телескопической балки осуществляют в любом месте под вагоном, также телескопическая балка используется для подъема вагона с каждой его стороны.
– Правильные домкраты, представляющие гидроцилиндры, установлены в подвижных каретках и соединены тягами с вертикально выдвижной частью портала.
Что позволяет контролировать ширину вагона и исправлять местные расширения или сужения.
Таким образом, предлагаемое техническое решение позволило создать устойчивую при меньших габаритах и весе машину по сравнению с прототипом, обладающую более широким набором и повышенным качеством исправляемых дефектов по сравнению с прототипом.
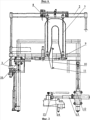
На чертежах представлено: на фиг.1 – машина вагоноремонтная, общий вид, на фиг.2 – вид А на фиг.1, на фиг.3 – вид Б на фиг.1.
Сведения, подтверждающие возможность осуществления изобретения с получением вышеуказанного результата, заключаются в следующем: машина вагоноремонтная состоит из нижней части 1 (см. фиг.1) телескопической портальной рамы (далее рамы), поставленной на колеса для перемещения по рельсовому пути вдоль вагона и смонтированной на ней верхней части рамы 2, перемещающейся вертикально по направляющим 3 (см. фиг.2) с помощью гидроцилиндров 4. Наверху рамы 2 смонтирована тележка 5 (см. фиг.3), двигающаяся поперек вагона и содержащая поворотный механизм 6, на котором с помощью шарнирных тяг 7 закреплен силовой элемент – большая струбцина 8, на ней с одной стороны установлен гидроцилиндр 9, а с другой – поворотная балка 9 с реактивными опорами 11, имеющими возможность перемещаться от центра к концам балки. Внизу рамы 1 портала с каждой его стороны на нижней части рамы 1 установлены каретки с грузоподъемным механизмом 12, там же установлен механизм правки люков, представляющий поворотную телескопическую балку 13 с гидроцилиндром на конце и выдвижной опорой 14 для создания реакции, на которых закреплены вращающиеся вокруг своей оси малые струбцины 15, при этом правильные домкраты 16 установлены на центральных колоннах с обеих сторон рамы и представляют собой гидроцилиндры, которые перемещаются вдоль борта в вертикальном направлении при помощи тяг (не показано), соединенных с верхней рамой 2 портала. На нижней части рамы 1 смонтированы рабочие площадки (на чертеже не показаны), которые служат для обслуживания, где помещается пульт управления оператора.
Машина работает следующим образом.
Для производства работ машина устанавливается на позицию ремонта. При этом перемещение портала, состоящего из нижней части рамы 1 на колесах и смонтированной на ней, перемещающейся вертикально по направляющим 3 с помощью гидроцилиндра 4 верхней части 2, вдоль путей осуществляется от электродвигателей через редукторы с плавной регулировкой движения, а фиксацию положения машины обеспечивают тормозными механизмами.
Для исправления дефектов кузова вагона силовой элемент – большую струбцину 8, закрепленную с помощью шарнирных тяг 7 на поворотном механизме 6 тележки 5, перемещают вместе с гидроцилиндром 9 и поворотной балкой 10 с реактивными опорами 11, к деформируемой поверхности вагона: по вертикали при помощи двух гидроцилиндров 4, а по горизонтали – вместе с тележкой 5, движущейся поперек вагона, устанавливают усилия правки в нужном направлении, при этом привод поворотного механизма 6 осуществляют от гидромотора, управление – дистанционное. В совокупности при помощи всех перечисленных выше элементов устанавливают необходимую комбинацию силы и реакции в любой точке кузова вагона.
Каретки с грузоподъемными механизмами 12, расположенные с каждой стороны машины, поднимают вагон при замене скользунов, а также замене тележек при деповском ремонте вагонов.
При правке люков и нижних элементов кузовов телескопическую балку 13 с закрепленными на ней вращающимися малыми струбцинами 15 выдвигают и поворачивают при необходимости, при этом выдвижная опора 14 служит для создания реакции. Таким образом, усилием гидроцилиндра, соединенного с балкой 13, осуществляют правку люков полувагона и нижних элементов кузова как внутри, так и снаружи.
Для исправления общего уширения или сужения вагона используют установленные на центральных колоннах с обеих сторон рамы, правильные домкраты 16, которые перемещают вдоль бортов по вертикали, устраняя вышеуказанные дефекты с обеих сторон.
Таким образом, предлагаемое в качестве изобретения конструкторское решение представляет принципиально новую конструкцию, так как все прикладываемые и ответные нагрузки замкнуты внутри рабочего органа и не перекладываются на раму, что позволило снизить вес машины, уменьшить ее габариты и увеличить срок службы, к тому же увеличена номенклатура подлежащих исправлению дефектов вагонов при надлежащем качестве ремонта.
При этом изготовление вагоноремонтной машины производится на известном оборудовании, по известным технологиям и не требует применения новых материалов, неизвестных до подачи заявки.
Следовательно, вышесказанное подтверждает возможность промышленного применения заявленного устройства.
Формула изобретения
1. Машина вагоноремонтная, содержащая подвижную вдоль рельсового пути портальную раму с грузоподъемными средствами, несущую рабочие площадки, установленные с возможностью вертикального перемещения правильные устройства, и механизмы блокировки, связанные следящей системой, отличающаяся тем, что портальная рама выполнена телескопической и состоит из нижней части, передвигающейся горизонтально, с каждой стороны которой установлена каретка с грузоподъемным механизмом и телескопической балкой, а на ней смонтирована в направляющих подвижная вертикально верхняя часть, на которой расположена передвигающаяся в поперечном направлении тележка с поворотным механизмом, при этом правильные устройства представляют силовые элементы, состоящие из большой и малых струбцин и правильных домкратов, причем большая струбцина смонтирована на тележке вверху портала, а малые струбцины и правильные домкраты расположены внизу портала.
2. Машина вагоноремонтная по п.1, отличающаяся тем, что большая струбцина, имеющая гидроцилиндр и поворотную балку с реактивными опорами, закреплена на тележке при помощи двух шарнирных тяг с возможностью перемещения от ее центра к краям.
3. Машина вагоноремонтная по п.1, отличающаяся тем, что малые струбцины выполнены вращающимися вокруг своей оси и закреплены на выдвижных телескопических балках с обеих сторон внизу рамы портала.
4. Машина вагоноремонтная по п.1, отличающаяся тем, что правильные домкраты, представляющие гидроцилиндры, установлены в подвижных каретках и соединены тягами с вертикально выдвижной частью портала.
РИСУНКИ
|
|