|
|
(21), (22) Заявка: 2008134954/11, 26.08.2008
(24) Дата начала отсчета срока действия патента:
26.08.2008
(46) Опубликовано: 27.03.2010
(56) Список документов, цитированных в отчете о поиске:
Армейские автомобили, конструкция и расчет, часть вторая, ходовая часть и органы управления. /Под ред. А.С.Антонова. – М.: Военное издательство Министерства обороны СССР, 1970, с.104, 105, фиг.XIII. 19. RU 2321501 C1, 10.04.2008. US 5676356 A, 14.10.1997. GB 1483180 A, 17.08.1977.
Адрес для переписки:
625000, г.Тюмень, ул. Володарского, 38, ТюмГНТУ, патентно-информационный отдел
|
(72) Автор(ы):
Некрасов Владимир Иванович (RU)
(73) Патентообладатель(и):
Государственное образовательное учреждение высшего профессионального образования “Тюменский государственный нефтегазовый университет” (RU)
|
(54) БАЛАНСИРНАЯ ПОДВЕСКА
(57) Реферат:
Изобретение относится к подвеске колес наземных транспортных средств. Подвеска содержит балансиры колес, взаимосвязанные с двумя мостами. Балансиры колес установлены на подвижных стойках, расположенных в верхних и нижних неподвижных опорах несущей системы. В нижних опорах расположены подвижные опоры с поворотными рычагами. Нижние шкивы установлены у нижних опор, а верхние шкивы установлены в верхней части подвижных стоек. Тросовые системы от лебедок соединяют верхние и нижние шкивы каждой стойки, а также нижние шкивы стоек по бортам. Продольная рулевая тяга соединяет подвижные опоры одного борта. Поперечные рулевые тяги с закрепленными на них поршнями установлены внутри гидроцилиндров, шарнирно закрепленных на несущей системе, и соединяют поворотные рычаги подвижных опор, которые имеют шпоночное или шлицевое соединение с подвижными стойками. Внутри стойки расположен вал приводного двигателя, имеющий шлицевое компенсирующее соединение с валом ведущей шестерни, зацепленной с ведомым колесом главной передачи. В корпусе ведомого колеса установлен центральный карданный шарнир карданного вала с карданными шарнирами валов привода колес. Достигается расширение эксплуатационных и компоновочных возможностей транспортных средств. 4 ил.
Изобретение относится к транспортному машиностроению, к подвеске колес наземных транспортных средств (НТС) (автомобили, дорожно-строительная техника и т.д.), имеющие два моста и более.
Известны подвески колес НТС, содержащие упругие направляющие и гасящие устройства (Армейские автомобили: Конструкция и расчет. Часть вторая. Ходовая часть и органы управления. – М: Воениздат, 1970. – 480 с.).
Для подвески колес двух близко расположенных мостов применяют балансирную подвеску, в которой балансиром и упругим элементом является рессора, установленная на оси балансира, или жесткая балка с резиновыми подушками. Такая подвеска при наезде одного из колес на препятствие значительно снижает вертикальное перемещение несущей системы НТС.
Наиболее близкой к предлагаемой конструкции подвески является балансирная подвеска, приведенная на рис.XIII. 19, с.104, 105. С несущей системой (рамой) каждое колесо соединяется стойкой и двумя направляющими рычагами. Стойки упираются в резиновые подушки балансира, который шарнирно установлен на раме.
Описанная конструкция балансирной подвески обеспечивает передачу тяговых и тормозных усилий, реактивных моментов между ведущими колесами мостов и несущей системой НТС. Такая подвеска конструктивно сложна и имеет большое число шарнирных соединений. Кроме того, она имеет компоновочное ограничение по расстоянию между стойками, как правило, 1400 мм, максимальное расстояние 1700 мм. Подвеска не регулируется – не позволяет изменять клиренс и наклон грузовой платформы относительно дороги, что ограничивает эксплуатационные возможности НТС.
Задача, на решение которой направлено заявляемое изобретение, заключается в расширении эксплуатационных и компоновочных возможностей НТС.
Поставленная задача решается путем совершенствования конструкции балансирной подвески за счет двойной балансировки – балансирная подвеска колес относительно подвижных стоек и балансирная подвеска подвижных стоек за счет тросовых систем, позволяющих увеличить расстояние между стойками, а также регулировать величину клиренса отдельно по бортам НТС.
Указанный технический результат достигается тем, что подвеска колес наземного транспортного средства содержит балансиры колес, взаимосвязанные с двумя мостами, при этом балансиры колес установлены на подвижных стойках, расположенных в верхних и нижних неподвижных опорах несущей системы, в нижних опорах расположены подвижные опоры с поворотными рычагами, нижние шкивы установлены у нижних опор, а верхние шкивы установлены в верхней части подвижных стоек, тросовые системы от лебедок соединяют верхние и нижние шкивы каждой стойки, а также нижние шкивы стоек по бортам, продольная рулевая тяга соединяет подвижные опоры одного борта, поперечные рулевые тяги с закрепленными на них поршнями, установлены внутри гидроцилиндров, шарнирно закрепленных на несущей системе, и соединяют поворотные рычаги подвижных опор, которые имеют шпоночное или шлицевое соединение с подвижными стойками, внутри стойки расположен вал приводного двигателя, имеющий шлицевое компенсирующее соединение с валом ведущей шестерни, зацепленной с ведомым колесом главной передачи, в корпусе этого колеса установлен центральный карданный шарнир карданного вала с карданными шарнирами валов привода колес.
Предлагаемое техническое решение расширяет эксплуатационные и компоновочные возможности НТС за счет системы двойного балансирования: колес относительно подвижных стоек и стоек относительно несущей системы за счет тросовых систем, позволяющих изменять расстояние между мостами, а также независимо регулировать клиренс по бортам НТС.
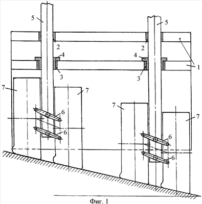
На фиг.1 показан вид спереди на балансирную подвеску четырех колес одного моста НТС при движении по косогору. На фиг.2 изображен вид сбоку на балансирную тросовую подвеску двух стоек четырех колес двух мостов НТС при переезде через препятствие. На фиг.3 показан вид сверху на схему поворота четырех стоек двух мостов НТС – колеса катятся относительно общей точки поворота (оси колес направлены к этой точке направо вверх) без бокового проскальзывания колес. На фиг.4 изображен упрощенный разрез подвижной стойки с расположенными внутри элементами привода ведущих колес.
В несущей системе 1 расположены неподвижные верхние 2 и нижние 3 опоры (см. фиг.1). В нижних опорах 3 установлены подвижные опоры 4. В опорах 2 и 4 свободно установлены подвижные стойки 5, в нижней части которых расположены балансиры 6, шарнирно соединенные с суппортами колес 7. Балансирная система подвижных стоек 5 (см. фиг.2) состоит из нижних шкивов 8, установленных на осях 9, закрепленных у (около) нижних опор 3, верхних шкивов 10, установленных на осях 11, закрепленных в верхней части подвижных стоек 5, лебедок 12, закрепленных на несущей системе 1, и тросов 13, соединяющих шкивы и лебедки, которые образуют тросовую систему. Подвижные опоры 4 и стойки 5 имеют шпоночное или шлицевое соединение 14 (см. фиг.3), на подвижных опорах 4 закреплены поворотные рычаги 15. Продольная рулевая тяга 16 шарнирно соединяет подвижные опоры 4 у одного борта, а поперечные рулевые тяги 17 шарнирно соединены с поворотными рычагами 15 подвижных опор 4. Поперечные рулевые тяги 17 с закрепленными на них поршнями 18 расположены внутри гидроцилиндров 19, шарнирами 20 установленные на несущей системе 1. Внутри подвижных стоек 5 (см. фиг.4) установлены вал 21 с приводом от двигателя (двигатель не показан) и вал 22 привода ведущей шестерни 23. Валы 21 и 22 взаимосвязаны шлицевым компенсирующим соединением 24. Ведущая шестерня 23 зацеплена с ведомым колесом 25 главной передачи, в корпусе этого колеса установлен центральный карданный шарнир 26, расположенный на карданном валу 27 привода колесных карданных шарниров 28, взаимосвязанных с валами 29 привода колес 7.
Возможно исполнение балансирной подвески без поворотных устройств и привода ведущих колес.
Работа балансирной подвески заключается в следующем.
При отсутствии усилия на лебедках 12 несущая система 1 опускается на опорную поверхность (дорожное покрытие), обеспечивая возможность удобной погрузки-выгрузки грузов, в том числе транспортируемой техники (тракторов и т.д.) на грузовую платформу, верхние 10 и нижние 8 шкивы находятся на максимальном расстоянии друг от друга. Усилие, приложенное к лебедкам 12, натягивает тросы 13, которые сближают верхние 10 и нижние 8 шкивы, выдвигают подвижные стойки 5, приподнимая несущую систему 1. Тросовая система между подвижными стойками 5 обеспечивает их балансирную подвеску. Если одна стойка 5 наезжает на препятствие (см. фиг.2 – передняя стойка), то она перемещается вверх относительно несущей системы 1 и тросами 13 между нижними шкивами 8, передвигает вниз следующую по ходу стойку, при этом вертикальное перемещение несущей системы 1 будет в два раза меньше вертикального перемещения передней стойки 5. Каждая стойка 5 имеет балансиры 6 колес 7. Вертикальное перемещение стойки 5 будет в два раза меньше вертикального перемещения колеса 7 при его наезде на препятствие. Левый и правый ряды стоек 5 имеют самостоятельные тросовые системы, обеспеченные каждая лебедкой 12. Самостоятельный тросовый привод стоек 5 бортов и балансирная установка колес 7 относительно стоек 5 позволяют наземному транспортному средству (НТС) передвигаться в сложных дорожных условиях, в том числе по косогору, при горизонтальном положении грузовой платформы несущей системы 1 (см. фиг.1).
Криволинейное движение НТС осуществляется гидроусилителем рулевого управления. Жидкость под высоким давлением (см. фиг.3) от насоса высокого давления через распределитель, управляемый рулевым механизмом (на фиг.3 не показаны) поступает в одну полость гидроцилиндров 19, воздействует на поршни 18 и поперечные рулевые тяги 17, жидкость из другой полости гидроцилиндров вытесняется в сливной бачок насоса. Гидроцилиндры 19 зафиксированы от поперечных перемещений шарнирами 20, закрепленными на несущей системе 1. Под давлением жидкости поршни 18 перемещают поперечные рулевые тяги 17, которые поворотными рычагами 15 подвижных опор 4, через шпоночное или шлицевое соединение 14 поворачивают подвижные стойки 5 вместе с балансирами 6 и колесами 7. Кинематика поворота обеспечивается рулевыми трапециями, образованными несущей системой 1 между стойками 5, поперечными рулевыми тягами 17, поворотными рычагами 15, направленными в сторону задних мостов. Рулевые трапеции могут быть как передними, поперечная тяга впереди стоек – для четырех передних колес, так и задними, поперечная тяга за стойками – для колес второго ряда.
Крутящий момент к ведущим колесам 7 передается от двигателя, который может быть электрическим, гидравлическим или ДВС (на фиг.4 не показан) передается валом 21 через шлицевое компенсирующее соединение 24 на вал 22 привода ведущей шестерни 23. От шестерни 23 усилие передается на ведомое колесо 25 главной передачи. Увеличенный крутящий момент от корпуса ведомого колеса 25 поступает на центральный карданный шарнир 26 и карданный вал 27 с колесными карданными шарнирами 28, взаимосвязанными с валами 29 привода колес 7. Изменение расстояния между двигателем и карданным валом 27 при вертикальном перемещении стойки 5 обеспечивается шлицевым компенсирующим соединением 24 валов 21 и 22. Передача крутящего момента ведущим колесам 7 при преодолении препятствий и их вертикальных перемещениях обеспечивается качанием карданного вала 27 в центральном карданом шарнире 26 и длиной карданного вала 27, равной длине балансиров 6 колес 7, что исключает необходимость применения компенсирующих соединений между карданным валом 27 и валами 29 привода колес 7.
Формула изобретения
Подвеска колес наземного транспортного средства, содержащая балансиры колес, взаимосвязанные с двумя мостами, отличающаяся тем, что балансиры колес установлены на подвижных стойках, расположенных в верхних и нижних неподвижных опорах несущей системы, в нижних опорах расположены подвижные опоры с поворотными рычагами, нижние шкивы установлены у нижних опор, а верхние шкивы установлены в верхней части подвижных стоек, тросовые системы от лебедок соединяют верхние и нижние шкивы каждой стойки, а также нижние шкивы стоек по бортам, продольная рулевая тяга соединяет подвижные опоры одного борта, поперечные рулевые тяги с закрепленными на них поршнями установлены внутри гидроцилиндров, шарнирно закрепленных на несущей системе, и соединяют поворотные рычаги подвижных опор, которые имеют шпоночное или шлицевое соединение с подвижными стойками, внутри стойки расположен вал приводного двигателя, имеющий шлицевое компенсирующее соединение с валом ведущей шестерни, зацепленной с ведомым колесом главной передачи, в корпусе этого колеса установлен центральный карданный шарнир карданного вала с карданными шарнирами валов привода колес.
РИСУНКИ
|
|