|
|
(21), (22) Заявка: 2007144634/12, 18.04.2006
(24) Дата начала отсчета срока действия патента:
18.04.2006
(30) Конвенционный приоритет:
03.05.2005 DE 102005021011.2 04.05.2005 DE 102005021351.0
(43) Дата публикации заявки: 10.06.2009
(46) Опубликовано: 27.03.2010
(56) Список документов, цитированных в отчете о поиске:
JP 07223244 А, 22.08.1995. JP 58084740 А, 20.05.1983. JP 59142110 А, 15.08.1984. RU 2000207 C1, 07.09.1993.
(85) Дата перевода заявки PCT на национальную фазу:
03.12.2007
(86) Заявка PCT:
EP 2006/003517 20060418
(87) Публикация PCT:
WO 2006/117068 20061109
Адрес для переписки:
129090, Москва, ул.Б.Спасская, 25, стр.3, ООО “Юридическая фирма Городисский и Партнеры”, пат.пов. А.В.Мицу, рег. 364
|
(72) Автор(ы):
ДРЕВЛИС Клаус-Дитер (DE)
(73) Патентообладатель(и):
ЦИММЕРМАНН ФОРМЕНБАУ ГМБХ (DE)
|
(54) ИНСТРУМЕНТ ДЛЯ ЛИТЬЕВОГО ФОРМОВАНИЯ ПЛАСТМАССЫ
(57) Реферат:
Изобретение относится к инструменту для литьевого формования пластмассы, имеющему переднюю и заднюю половины (12, 14) инструмента, которые в закрытом положении ограничивают между собой полую камеру (10) для формования. Задняя половина (14) инструмента имеет по меньшей мере один выталкиватель (20) и по меньшей мере один наклонный ползунок (26). Выталкиватель образован по меньшей мере одной передней частью, названной толкателем, задней половины инструмента. Он может смещаться в ограниченной степени линейным приводным механизмом (22, 24), который опирается на другой участок этой половины инструмента или на его основание. Он, кроме того, соединен у своей задней стороны посредством поперечного направляющего элемента, расположенного под заданным углом к направлению движения линейного приводного механизма (22, 24), с наклонным ползунком (26), который направляется наклонным направляющим элементом (30) на части задней половины инструмента. Последняя закреплена на основании. Выталкиватель (20) сконструирован как несущая пластина. Задняя ее часть соединена с наклонным ползунком (26) посредством поперечного направляющего элемента (28). Последний вытянут под заданным углом по отношению к направлению движения линейного приводного механизма (22, 24).
Технический результат, который достигается при использовании инструмента по изобретению, заключается в уменьшении количества подвижных частей, изготовлении его простым по конструкции и значительно экономически эффективным. 5 з.п. ф-лы, 1 ил.
ОБЛАСТЬ ТЕХНИКИ
Изобретение относится к инструменту для литьевого формования пластмассы, состоящему из передней и задней половин инструмента, которые в закрытом состоянии ограничивают между собой полую камеру для литья, при этом задняя половина инструмента имеет по меньшей мере один выталкиватель, который образован ее передней частью и может быть смещен на ограниченную величину линейным приводным механизмом, и по меньшей мере один наклонный ползунок, направляемый посредством наклонного направляющего элемента.
ПРЕДПОСЫЛКИ ДЛЯ СОЗДАНИЯ ИЗОБРЕТЕНИЯ
В соответствии с известными инструментами для литьевого формования пластмассы для изготовления полых или выпуклых изделий задняя половина инструмента, обычно называемая сердечником, который придает форму внутренней стенке изделия, обычно закрепляется на так называемой опорной структуре в виде мостика, которая, в свою очередь, опирается на основание или одну пластину, которая должна быть соединена с фиксирующей пластиной машины для литьевого формования. Опорная структура в виде мостика требуется для обеспечения пространства для перемещения выталкивающей пластины, расположенной под ней, которая может перемещаться вперед и назад на заданный ход посредством линейного приводного механизма, опирающегося на опорную структуру в виде мостика, и соединена с выталкивателями и наклонными ползунками посредством толкающих штоков. В связи с тем, что толкающие штоки, перемещающие наклонные ползунки, расположены наклонно по отношению к направлению подачи и проводятся с продольным смещением через отверстия, соответственно вытянутые наклонно через опорную структуру в виде мостика, они смещают наклонные ползунки в боковые стороны во время движения вперед выталкивающей пластины, так что они могут выводиться из выступов или канавок боковой стенки изделия так, чтобы в конце последнее могло быть приподнято из сердечника формы и вытолкнуто. Наклонное положение толкающих штоков для наклонных ползунков требует сравнительно большой выталкивающей пластины и поэтому также сравнительно большой полой камеры, которая должна быть перекрыта. Такой обычный инструмент для литьевого формования описан в патенте США 5922368, в котором центральная передняя область сердечника заходит на наклонные ползунки и используется как выталкиватель.
Известная конструкция инструментов для литьевого формования пластмассы с выталкивающей пластиной, которая может перемещаться под опорной структурой в виде мостика и имеет толкающие штоки, имеет недостаток, состоящий в том, что изготовление инструмента из большого числа подвижных частей является сложным и очень дорогим, и, кроме того, имеется опасность прогибания опорной структуры в виде мостика и деформации сравнительно длинных толкающих штоков.
ЗАДАЧА И СУЩНОСТЬ ИЗОБРЕТЕНИЯ
Изобретение поэтому основано на задаче обеспечения доступности изготовления инструмента для литьевого формования такого типа, который упомянут в начале и может быть изготовлен более простым по своей конструкции и значительно более экономически эффективно.
В соответствии с изобретением вышеупомянутая задача решается всей совокупностью признаков, изложенных заявителем в пп.1-6 формулы.
Выталкиватель сконструирован как толкатель, задняя сторона которого соединена с наклонным ползунком посредством поперечного направляющего элемента, расположенного под заданным углом по отношению к направлению перемещения линейного приводного механизма.
Новый инструмент для литьевого формования дает то преимущество, что выталкивающая пластина, которая была общепринятой до настоящего времени, и поэтому также и опорная структура в виде мостика, могут быть исключены. Выталкиватель вместе с поперечными направляющими элементами на своей задней стороне и наклонными направляющими элементами, прикрепленными к части инструмента, которая фиксированно соединена с задней фиксирующей пластиной, принимает на себя функцию выталкивающей пластины по перемещению наклонных ползунков в направлении, которое перпендикулярно направлению подачи выталкивателя посредством толкающих штоков. Поэтому, в крайнем случае, только один элемент сердечника должен толкаться вперед, предпочтительно центральный передний элемент, который называется колпачком сердечника. Наклонные ползунки перемещаются в продольном направлении колпачком сердечника в направлении подачи через поперечные направляющие элементы и смещаются в поперечном направлении вдоль поперечных направляющих элементов в ходе этого осевого перемещения. За исключением одного или нескольких плунжеров или других толкающих штоков, которым по существу нужно перемещаться только через участок сердечника, который фиксированно соединен с фиксирующей пластиной, и они направляются в соответствующие отверстия в сердечнике, не имеется никаких других толкающих штоков, в частности, никаких штоков со сложной подвижной опорой для приведения в движение наклонных ползунков. Например, поперечные направляющие элементы и наклонные направляющие элементы наклонных ползунков могут быть сконструированы как Т-образные направляющие устройства или направляющие устройства в виде ласточкина хвоста и находятся только под поперечным натяжением по отношению к их линейному удлинению и обеспечивают большие контактные поверхности, так что нет никакой опасности перегрузки или деформации даже при больших деформирующих углах. По этой причине ход выталкивателя может быть короче в сравнении с общепринятой концепцией.
Предпочтительный одинарный выталкиватель в виде колпачка сердечника состоит из всей центральной передней области или частично передней области сердечника и проходит достаточно далеко за наклонные ползунки, чтобы последние могли быть соединены с ней посредством поперечных направляющих элементов. Меньшее число разделительных линий в передней области внутренней части изделия из-за размера колпачка сердечника и его нераздельного воплощения приводят к повышению качества поверхности продуктов, изготовленных посредством такого инструмента для литьевого формования. Дальнейшее повышение качества связано с отказом от соединения посредством штоков между выталкивающей пластиной и ползунками, которое требовалось до последнего времени, так как линейное расширение штоков могло привести к вмятинам. И наконец, опора задней части на всю поверхность пластины, поддерживающей сердечник, которая становится возможной из-за удаления выталкивающей пластины, дает уверенность в обеспечении жесткого точно сформированного инструмента, потому что она надежно исключает опасность прогибания, в отличие от сердечника, смонтированного на опорной структуре в виде мостика.
Никакое ограничение по функциям не связано с переходом на новую предложенную концепцию инструмента в сравнении с обычной его конструкцией с выталкивающей пластиной. Напротив, в связи с тем, что наклонные направляющие элементы, образованные рейками, могут иметь больший наклон по отношению к направлению ввода, чем толкающие штоки, используемые до последнего времени для перемещения наклонных ползунков, имеется возможность обеспечить уменьшение длины хода выталкивателя и сокращение времени цикла. Наконец, должна быть упомянута хорошая удерживающая функция колпачка сердечника, который при закрытом положении инструмента для формования толкает наклонные ползунки в их заднее или в крайнее конечное положение.
Изобретение более подробно будет объяснено на примере нижеприведенного воплощения, показанного на чертеж.
КРАТКОЕ ОПИСАНИЕ ЧЕРТЕЖ
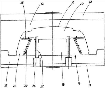
На чертеже показано упрощенное продольное сечение без поперечной штриховки инструмента для литьевого формования из пластмассы автомобильного бампера.
ПОДРОБНОЕ ОПИСАНИЕ ПРЕДПОЧТИТЕЛЬНОГО ВОПЛОЩЕНИЯ
Инструмент изображен в закрытом состоянии. Он настолько велик, что полая камера для формования, обозначенная как 10, в которую инжектируется жидкая пластмасса, показана более темной прочерченной линией. Как можно видеть, она имеет форму профиля автомобильного бампера протяженностью от его левого до правого края. Полая камера для формования в целом изогнута выпуклостями в сторону передней стороны и внешних боковых сторон. В связи с тем, как показано, ее боковые концы изогнуты внутрь и возможно предусмотрены боковые вырезы, инструмент для формования должен быть воплощен с ползунками, чтобы он мог выталкивать созданное изделие из инструмента для формования после процесса литьевого формования.
Как само по себе известно, инструмент для литьевого формования состоит из передней половины 12 инструмента и задней половины 14 инструмента. Передняя половина 12 инструмента, также называемая вогнутой формой, придает заданную форму передней и боковым частям бампера. Передняя половина 12 инструмента сконструирована в обычной манере и прикреплена к базовой пластине 13, которая должна быть соединена с неподвижной первой фиксирующей пластиной (не показана) машины для литьевого формования. Вогнутая форма обычно является неподвижной, так как инжектирующие сопла с подающими линиями расположены на этой стороне инструмента.
Изобретение относится к конструкции задней половины 14 инструмента, т.е. к сердечнику, который придает свою форму внутренней части изделия. Сердечник 14 фиксированно соединен с пластиной 16 сердечника и последняя соединена с базовой пластиной 17. Совместно они образуют основание, соединяемое со второй фиксирующей пластиной, также не показанной, машины для литьевого формования. Поэтому пластина 16 сердечника опирается на всю свою заднюю сторону и поэтому является оптимально неподвижной. Для открывания и закрывания инструмента основание 16, 17 с сердечником 14 смещается вперед и назад приводной фиксирующей пластиной машины для литьевого формования, которая несет на себе фиксирующую пластину. В изображенном закрытом состоянии инструмента для формования передний участок колпачка 20 сердечника 14 покоится у передней поверхности элемента 18, который соединен с пластиной 16 сердечника и аксиально опирается на нее. Колпачок 20 сердечника является сравнительно большой деталью инструмента для литьевого формования. Он используется как выталкиватель и для этой цели он фиксированно соединен с передними концами плунжерных штоков 22 двух гидравлических цилиндров 24, которые были встроены в основание 16, 17. Плунжерные штоки 22 направляются в линейно смещаемой манере в соответствующие отверстия, вытянутые в направлении подачи через элемент 18 инструмента.
Во время продольного направленного вперед хода выталкивания колпачок 20 инструмента перемещается продольно вместе с двумя наклонными ползунками 26, показанными в качестве примера, потому что они фиксированно соединены с ним посредством соответствующих поперечных направляющих элементов 28, например Т-образных направляющих устройств. Вместо Т-образного направляющего устройства 28 может быть также обеспечено направляющее устройство в форме ласточкина хвоста или другое подходящее линейное направляющее устройство. Поперечный направляющий элемент 28 состоит из согласованных направляющих реек, работающих совместно в парах, например, соответственно одна из которых фиксированно прикреплена к задней стороне колпачка 20 сердечника, а другая к передней стороне наклонных ползунков 26, например, навинчиванием. Имеется альтернативная возможность непосредственно втиснуть профилированное направляющее устройство, например, по меньшей мере в один из двух элементов 20, 26 инструмента.
Другое направляющее устройство соответственно обеспечено между элементом 18 инструмента, который закреплен на пластине 16 сердечника, и каждым из наклонных ползунков 26. Эти устройства соответственно являются прямолинейными наклонными направляющими элементами 30, которые наклонены в направлении подачи к центру инструмента. То, что было сказано в отношении поперечного направляющего элемента 28, соответственно применимо и к практической конструкции наклонного направляющего элемента 30.
Показанный инструмент для литьевого формования работает следующим образом.
После процесса литьевого формования инструмент открывается посредством оттягивания назад (на чертеже вниз) задней половины 14 инструмента. Для выталкивания созданного бампера гидравлические цилиндры 24 толкают колпачок 20 сердечника вперед посредством своих плунжерных штоков 22, возможно уже при открывании инструмента. В ходе этого наклонные ползунки 26 также переносятся в продольном направлении посредством поперечных направляющих элементов 28. Во время движения наклонных ползунков 26 вперед они скользят вдоль своих соответствующих наклонных направляющих элементов 30 в направлении внутрь ближе к центральной продольной оси инструмента, при этом также происходит движение вдоль поперечных направляющих элементов 28. Из-за этого наклонные ползунки вытягиваются из боковых выступов и вырезов формованного изделия, так что оно может быть освобождено от сердечника 14 и вытолкнуто.
Понятно, что возможны многочисленные изменения и дополнения представленного инструмента для литьевого формования без отступления от заявленного базового принципа конструкции инструмента. Например, имеется возможность использования вместо гидравлических цилиндров 24 пневматических цилиндров или подающих элементов с электрическим приводом, например, резьбового шпинделя с вращательным приводом, соответственно работающего совместно с гаечным держателем, фиксированным от относительного проворота, на колпачке 20 сердечника. Альтернативно возможно реализовать только боковые участки представленного колпачка 20 сердечника в качестве выталкивателя, а центральный участок колпачка 20 фиксированно соединить с элементом 18 инструмента. В другой модификации поперечные направляющие элементы не вытянуты перпендикулярно направлению перемещения выталкивателя, а составляют с ним угол больше или меньше 90°.
В зависимости от формы изделия концепция изобретения, кроме того, допускает до некоторой степени, диктуемой требованием или полезностью, размещение одного или нескольких дополнительных выталкивателей, которые, например, также приводятся в действие гидравлическими цилиндрами, и в состоянии, когда колпачок 20 сердечника толкается вперед, могут проталкиваться мимо его передней поверхности, чтобы освободить формованное изделие от сравнительно большого колпачка 20 сердечника. Конечно, также возможно провести все другие этапы, которые общеприняты при традиционной конструкции формы, при условии, что они совместимы с представленной выше новой концепцией для приведения в действие наклонных ползунков посредством одного или нескольких выталкивателей 20.
Формула изобретения
1. Инструмент для литьевого формования пластмассы, состоящий из передней и задней половин (12, 14) инструмента, которые в закрытом состоянии ограничивают между собой полую камеру (10) для формования, при этом задняя половина (14) инструмента имеет по меньшей мере один выталкиватель (20), который образован ее передней частью и может смещаться в ограниченной степени посредством линейного приводного механизма (22, 24), и из по меньшей мере одного наклонного ползунка (26), который направляется посредством наклонного направляющего элемента (30), отличающийся тем, что выталкиватель (20) сконструирован как несущая пластина, задняя часть которой соединена с наклонным ползунком (26) посредством поперечного направляющего элемента (28), вытянутого под заданным углом по отношению к направлению движения линейного приводного механизма (22, 24).
2. Инструмент по п.1, отличающийся тем, что он имеет пластину (16) сердечника, несущую на себе формующие элементы (18, 20, 26) задней половины (14) инструмента, причем вся поверхность пластины (16) сердечника покоится на ее задней стороне, и линейный приводной механизм (22, 24) опирается на пластину (17), несущую на себе пластину (16) сердечника, или на участок (16, 17) задней половины (14) инструмента, который фиксированно соединен с ней.
3. Инструмент по п.2, отличающийся тем, что линейный приводной механизм (22, 24) имеет по меньшей мере один гидравлический цилиндр (24) с плунжером и плунжерным штоком (22), который направляется в элемент (18) инструмента, закрепленный на пластине (16) сердечника, и соединен у своего переднего конца с выталкивателем (20).
4. Инструмент по одному из пп.1-3, отличающийся тем, что поперечный направляющий элемент (28) вытянут под прямыми углами по отношению к направлению движения линейного приводного механизма (22, 24).
5. Инструмент по одному из пп.1-3, отличающийся тем, что выталкиватель (20) образован центральным передним участком (20) задней половины (14) инструмента.
6. Инструмент по п.1, отличающийся тем, что поперечный направляющий элемент (28) между выталкивателем (20) и наклонным ползунком (26) и/или наклонный направляющий элемент (30) между наклонным ползунком (26) и элементом (18) инструмента, закрепленные на пластине (16) сердечника, являются Т-образными устройствами.
РИСУНКИ
|
|