|
|
(21), (22) Заявка: 2008100411/03, 15.06.2006
(24) Дата начала отсчета срока действия патента:
15.06.2006
(30) Конвенционный приоритет:
17.06.2005 FI 20055327
(43) Дата публикации заявки: 27.07.2009
(46) Опубликовано: 27.03.2010
(56) Список документов, цитированных в отчете о поиске:
US 2002/0187296 A1, 12.12.2002. RU 2266999 C2, 27.12.2005. US 2003175478 A1, 18.09.2003. EP 1347144 A2, 24.09.2003. EP 1097807 A2, 09.05.2001. GB 2022503 A, 19.12.1979.
(85) Дата перевода заявки PCT на национальную фазу:
17.01.2008
(86) Заявка PCT:
FI 2006/050262 20060615
(87) Публикация PCT:
WO 2006/134236 20061221
Адрес для переписки:
191002, Санкт-Петербург, а/я 5, ООО “Ляпунов и партнеры”, пат.пов. Е.Г.Ильмер, рег. 1144
|
(72) Автор(ы):
ФЕЛЛМАН Якоб (FI), РАНТАНЕН Беатрис (FI), КОТВАС Роберт (PL)
(73) Патентообладатель(и):
ПАРОК ОЙ АБ (FI)
|
(54) СПОСОБ ИЗГОТОВЛЕНИЯ ЭЛЕМЕНТА ДЛЯ ЗАЩИТЫ ОТ ОГНЯ И ЕГО ИСПОЛЬЗОВАНИЕ
(57) Реферат:
Изобретение относится к способу изготовления элемента для защиты от огня, имеющего слоистую структуру, и к использованию элементов для защиты от огня для зданий или оборудования в любых зданиях. Способ изготовления элемента, имеющего слоистую структуру, включающего по меньшей мере два слоя минеральной ваты в форме плит, между которыми выполнен по меньшей мере один слой неорганического материала, который выделяет воду под действием тепла, характеризуется тем, что мат из затвердевшей минеральной ваты покрывают слоем неорганического материала, по существу состоящего из пасты гипса. Указанный мат из минеральной ваты, покрытый слоем гипса, автоматически разделяют по длине и/или ширине по меньшей мере на две плиты. Эти плиты на производственной линии автоматически помещают друг на друга так, что между плитами минеральной ваты образуются слои гипса, после чего указанным слоям гипса позволяют высохнуть самим по себе, что приводит к склеиванию плит между собой. Технический результат: упрощение процесса изготовления элементов для защиты от огня и автоматизация этого процесса. 2 н. и 6 з.п. ф-лы, 6 ил.
Настоящее изобретение относится к способу изготовления элемента для защиты от огня, имеющему слоистую структуру, каковой элемент включает, по меньшей мере два слоя минеральной ваты в форме плит, между которыми расположен по меньшей мере один слой неорганического материала, который выделяет воду или двуокись углерода при воздействии тепла или каким-либо другим способом способствует гашению огня.
Изобретение также относится к элементу для защиты от огня, имеющему слоистую структуру, каковой элемент включает по меньшей мере два слоя минеральной ваты в форме плит и по меньшей мере один промежуточный слой неорганического материала.
Настоящее изобретение также относится к элементу защиты от огня, изготовленному способом согласно изобретению.
Настоящее изобретение также относится к использованию неорганических замедлителей огня, таких как гипс, который высыхает сам по себе, в качестве обязательного связующего вещества в элементах защиты от огня, по существу состоящих из плит минеральной ваты, также как к использованию элементов для защиты от огня по любому из пунктов 11-16 или к элементам защиты от огня, изготовленным по любому из пунктов 1-10 для зданий или оборудования в любых зданиях.
Известно использование минеральной ваты в плитах для защиты от огня. Причиной этого являются хорошие огнезащитные свойства самой минеральной ваты. Также известно, что между двумя слоями минеральной ваты, такой как каменная вата, можно, например, разместить слой неорганического материала, состоящий из дегидратирующего гидроксида в качестве замедлителя огня в сочетании со связующим веществом, предназначенным связывать вместе плиты минеральной ваты. Такие решения описаны, например, в уровне техники в публикациях ЕР 1239093 А2, ЕР 0741003 В1, ЕР 0485867 В1 и ЕР 0353540 В2.
В ЕР 1239093 А2 представлен элемент для защиты от огня, по существу состоящий из двух слоев минеральной ваты, предпочтительно слоев каменной ваты, а также из по меньшей мере одного промежуточного слоя из гипсовой плиты, который путем приклеивания зафиксирован между слоями минеральной ваты.
В ЕР 0741003 В1 описано с другой стороны использование одного из нескольких промежуточных слоев, включающих неорганический материал в форме полуфабриката, который можно изготовить нанесением неорганического материала в вязкой форме на стекловолокно или между двумя слоями стекловолокна, для того, чтобы превратить их в плиту перед ее установкой между слоями минеральной ваты. Неорганический слой может состоять из смеси гидроксида, выделяющего воду, такого как гидроксид алюминия, и связующего вещества, включающего жидкое стекло, коллоидный раствор оксида кремния или оксид магния.
В ЕР 0353540 В2 представлен в основном неорганический слой между плитами минеральной ваты, который включает отличный от каолина гидроксид, выделяющий воду, и связующее вещество, при том, что гидроксид добавлен в виде по меньшей мере двух фракций, имеющих различный размер зерен. Под связующим веществом подразумевается коллоидный раствор оксида кремния или растворенное жидкое стекло. В ЕР 0485867 В1 описано с другой стороны использование экзотермически затвердевающего связующего вещества на основе дегидратирующего гидроксида, такого как гидроксид алюминия в неорганическом слое между плитами минеральной ваты.
Эти известные решения обеспечивают результат, но общим для них является то, что способ изготовления включает излишне много дорогостоящих неавтоматизированных этапов, таких как изготовление и приклеивание пластин неорганического замедлителя огня между плитами минеральной ваты или необходимость подачи энергии сушки, предназначенной для образования твердого слоя неорганического замедлителя огня между плитами минеральной ваты.
Другая проблема состоит в том, что для тех случаев, где могут потребоваться элементы для защиты от огня, выполненные из тонких плит минеральной ваты, не существует элементов, имеющих низкую температуру выделения воды, т.е. имеющих защиту от огня, которая не позволяет температуре слишком возрасти до начала действия элементов для защиты от огня по гашению пламени.
Однако авторы настоящего изобретения нашли удивительно простое на вид решение проблем, изложенных выше. Тот факт, что никто, несмотря на отнюдь не совсем пренебрежимо малое количество патентов или патентных заявок в этой области, не пришел к этому решению, является, однако, доказательством того, что такое решение не является очевидным для специалиста в данной области техники.
Назначение настоящего изобретения, таким образом, состоит в том, чтобы создать элемент для защиты от огня и способ его изготовления так, чтобы избежать вышеупомянутых проблем из уровня техники.
Чтобы добиться этого, способ согласно изобретению характеризуется следующими этапами:
а) по меньшей мере одну из двух плит минеральной ваты, предназначенных для соединения между собой, покрывают с одной стороны неорганическим пламеостанавливающим агентом в виде водной суспензии или пасты, после чего
b) плиты минеральной ваты прижимают друг к другу так, чтобы слой неорганического пламеостанавливающего агента оказался между ними, причем плиты минеральной ваты склеиваются между собой посредством неорганического пламеостанавливающего агента при его высыхании.
Пламеостанавливающий агент согласно изобретению предпочтительно является гипсом, который наносят в виде водной пасты, имеющей подходящую связующую способность и способность к защите от огня. В качестве пламеостанавливающего агента можно также использовать жидкое стекло, согласно вышеизложенному. Также можно использовать другие пламеостанавливающие агенты, такие как алюминий или гидроксид магния, карбонат кальция или магния с небольшим добавлением, например, 0-5% органического связующего вещества.
При непрерывном поточном производстве плиты получаются одной и той же толщины, но тот же принцип также можно использовать после поточного производства и тогда можно изготовить плиты различной толщины.
Особо предпочтительное воплощение способа по изобретению при непрерывном поточном производстве характеризуется тем, что вначале покрывают мат из затвердевшей минеральной ваты пастой из гипса или в качестве альтернативы пастой из жидкого стекла, а затем разделяют мат из минеральной ваты на части равного размера, которые затем помещают одна на другую таким образом, чтобы самая верхняя часть одновременно была развернута на 180°, чтобы гипсовый слой оказался между слоями минеральной ваты. Этот гипсовый слой становится, таким образом, в два раза более толстым, нежели покрытие. Число слоев гипса в конечном продукте должно быть на один меньше, по сравнению с числом частей, на которые разделан мат из ваты. Самый верхний слой в два раза толще, чем другие слои (в случае если выполнено несколько слоев), и поэтому является более эффективной защитой от огня. Плиту устанавливают в конструкции так, чтобы этот слой был расположен ближе всего к той стороне, которая предназначена для защиты от огня в случае пожара (как можно дальше от огня). Тогда эффект этого слоя будет использован в максимальной степени, без гипса снаружи.
Предпочтительно мат из минеральной ваты, покрытый гипсом, разделяют на по меньшей мере две части, более предпочтительно на три части равного размера по длине и/или ширине, предпочтительно и по длине, и ширине. Поскольку гипс при этом работает как связующее вещество (нанесен в виде пасты), то он может высыхать сам по себе при комнатной температуре без какой-либо подачи энергии сушки из вне и без добавления каких-либо дополнительных связующих веществ. Это может происходить, например, на складе и/или в упаковке. Это означает, что способ производства становится быстрей, а также дешевле в смысле расходов, поскольку продукт не нуждается в специальном этапе сушки. Конечно, небольшое количество связующего вещества (0-5%, предпочтительно менее 2%) можно добавлять, если требуется более высокая прочность на разрыв. Минеральная вата, используемая в этом изобретении, предпочтительно является каменной ватой, но может быть также минеральной ватой других типов, такой как шлаковая вата или стеклянная вата.
Поскольку в этом изобретении гипс используется в качестве замедлителя огня, то это означает, что использование такого изобретения дает защиту от огня при низких температурах, улучшенную по сравнению с другими обычно используемыми замедлителями огня, такими как алюминий или гидроксид магния, карбонаты кальция или магния и им подобные. У гипса температура выделения воды немногим выше 100°С. При изготовлении плит для защиты от огня, содержащих гипс, необходимо, чтобы гипс добавляли после затвердевания мата из минеральной ваты, поскольку температура затвердевания обычно составляет более 200°С. В уровне техники гипс добавляли при дополнительной обработке, и одной из проблем было заставить гипс проникнуть в минеральную вату. Настоящее изобретение позволяет избежать даже этой проблемы.
Гипс, используемый для осуществления изобретения, может быть, например, необработанными отходами гипса, возможно содержащими, при желании, небольшую добавку клея (0-5%, предпочтительно 2%), что ведет к меньшему воздействию на окружающую среду и более низким затратам на исходные материалы.
Для того чтобы избежать проблем предшествующего уровня техники, представленных выше, элемент для защиты от огня по настоящему изобретению характеризуется тем, что элемент для защиты от огня по существу состоит из плит минеральной ваты, склеенных вместе посредством промежуточных слоев из неорганического замедлителя огня.
При использовании настоящего изобретения достигается более простой, дешевый и короткий способ изготовления элементов для защиты от огня из минеральной ваты, но, прежде всего, и это самое главное, способ по изобретению обеспечивает производство более тонких элементов для защиты от огня с той же пожарной классификацией, т.е. для установок НРАС.
Преимущество изготовления материала для защиты от огня из двух слоев и трех слоев минеральной ваты показано на нижеследующих диаграммах 1 и 2, на которых показано сравнение одного теста образца без слоя, трех – с одним слоем в различных положениях, и одного – с двумя слоями. Положение слоя также имеет значение.
Предпочтительные воплощения элемента для защиты от огня по настоящему изобретению характеризуются тем, что изложено в зависимых пунктах формулы изобретения, следующих ниже.
Ниже изобретение описано более подробно посредством нижеследующих чертежей и примеров, которые ни в коем случае не должны быть истолкованы в смысле, ограничивающем объем защиты, определяемый пунктами формулы изобретения.
Перечень чертежей:
Фигура 1а представляет собой вид в аксонометрии плиты из минеральной ваты, покрытой неорганическим слоем до ее разделения на несколько частей равного размера для склеивания частей вместе,
Фигура 1b представляет собой вид в аксонометрии элемента для защиты от огня по настоящему изобретению, состоящего из двух плит минеральной ваты, склеенных вместе посредством одного неорганического слоя,
Фигура 2 представляет собой вид в аксонометрии элемента по настоящему изобретению, состоящего из трех плит минеральной ваты, склеенных вместе посредством двух неорганических слоев,
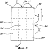
Фигура 3 представляет собой схематический чертеж разделения мата из минеральной ваты на части в соответствии со способом по изобретению,
Фигура 4 представляет собой график, на котором сравнивается продолжительность защиты от огня в минутах для различных материалов,
Фигура 5 представляет собой график, на котором сравнивается продолжительность защиты от огня в минутах для одного или двух промежуточных слоев гипса и различных положений слоев.
Пример 1. Автоматизированное изготовление элемента 1 для защиты от огня, имеющего структуру вата/гипс/минеральная вата, осуществляемое на автоматической производственной линии следующим образом:
a) одну сторону плиты или мата 2 из уже затвердевшей минеральной ваты например, с размерами (шириной и длиной) 600×2400 мм и толщиной около 20 мм, с обрезанными краями мата, покрывают слоем 3, толщиной около 0,5 мм, состоящим из водной суспензии или пасты гипса, который возможно содержит небольшое количество (0-5%) клея (например, любого органического клея, обычного для специалиста в данной области техники), предпочтительно менее 2%,
b) покрытый мат 2 из минеральной ваты разрезают на производственной линии в продольном направлении так, чтобы получились две плиты одинакового размера, после чего
с) плиты 2а и 2b из минеральной ваты прижимают друг к другу, так чтобы между ними образовался “двойной” слой 3 гипса, при этом плиты из минеральной ваты 2а и 2b склеиваются вместе гипсом при его высыхании.
Другими словами, после высыхания гипса получается элемент для защиты от огня, имеющий размеры 600×1200 мм и толщину около 41 мм. Этапы а, b, с предпочтительно осуществляют непосредственно на линии, сразу после печи для обжига и охлаждения. Охлаждение, которое обычно требуется, регулируют так, чтобы минеральная вата имела подходящую температуру для сушки “двойного” слоя 3 гипсовой пасты без ухудшения склеивания. Нарезание плит 2 минеральной ваты и переворачивание плит 2а и 2b осуществляют автоматически. На фигуре 4 показаны результаты тестов по симуляции пожаров, следующих кривой пожара из EN 1363-1, в вентиляционном канале, где минеральная вата находится снаружи вентиляционного канала, выполненного из листового металла, а пожар происходит внутри канала. На фигуре 4 рост температуры в зависимости от времени, другими словами, эффект замедления огня, элемента 1 для защиты от огня, изготовленного по примеру 1, сравнивают с таковыми элемента, имеющего те же размеры плит минеральной ваты, но не имеющего промежуточных неорганических слоев и элемента, имеющего те же размеры, но в которых неорганический слой состоит из жидкого стекла.
На Фигуре 1 показано, что наибольшим замедляющим огонь действием из этих трех обладает элемент, включающий гипс по примеру 1.
Время, в течение которого плиты для защиты от огня противостоят огню, значительно увеличивается, если плиты имеют слой, включающий гипс в середине. Время, за которое допустимая температура достигает 140°С, удлиняется с 25 минут до 40 минут в присутствии слоя гипса и 33 минут в присутствии слоя жидкого стекла.
Пример 2. Автоматизированное изготовление элемента для защиты от огня 1′, имеющего структуру минеральная вата/гипс/минеральная вата/ гипс/минеральная вата, осуществляемое на автоматической производственной линии следующим образом:
a) одну сторону плиты или мата 2 из уже затвердевшей минеральной ваты например, с размерами (шириной и длиной) 1800×2700 мм и толщиной около 20 мм, с обрезанными краями мата, покрывают слоем толщиной около 1 мм, состоящим из водной суспензии или пасты гипса, который возможно содержит небольшое количество (0-5%) клея (например, любого органического клея, обычного для специалиста в данной области техники), предпочтительно менее 2%,
b) плиту 2 минеральной ваты разрезают на производственной линии в продольном и поперечном направлениях так, чтобы получились три равного размера прилегающих (другими словами, параллельные по отношению к линии, см. фигуру 3) плиты 2а’, 2b’ и 2с’ (и 2а”, 2b” и 2с”, также как 2а”’, 2b”’ и 2с”’), имеющие размеры по ширине и длине 600×900 мм, после чего
c) плиты 2а’, 2b’ и 2с’ минеральной ваты прижимают друг другу так, чтобы между ними образовались два слоя гипса 4 и 5, при этом плиты минеральной ваты склеиваются вместе по мере высыхания гипса. Таким образом, по примеру 2 получаются три элемента 1′ для защиты от огня, имеющие размеры по ширине и длине 600×900 мм и толщину около 63 мм.
Таким образом, здесь показано автоматическое расположение и склеивание плит 2а’, 2b’ и 2с’ (и 2а”, 2b” и 2с”, также как 2а”’, 2b”’ и 2с”’) одной с другой в параллельном направлении, другими словами в поперечном направлении относительно направления самой линии L, так чтобы каждая плита поднималась и прижималась к гипсовому слою нижележащей и предыдущей плиты, за исключением последней плиты 2а’ (или 2а”, или 2а”’), которую поднимают и переворачивают на 180 (и прижимают ее гипсовый слой 3 к гипсовому слою 3 нижележащей плиты 2b’ (или 2b”, или 2b”’).
В качестве альтернативы, плиты на этапе с) в примере 2 (также в примере 1) можно устанавливать одну на другую сериями, т.е. так, чтобы плита, которая движется по направлению линии вслед за предыдущей плитой, помещалась на нее и прижималась к ней. Такая альтернатива, также как расположение на этапе с) проиллюстрирована на фигуре 3, где мат из минеральной ваты распиливают (штриховые линии) на три равного размера части, с учетом как ширины, так и длины мата, т.е. так, чтобы мат делился на девять частей равного размера, т.е. плиты 2а’, 2b’, 2с’, 2а”, 2b”, 2с”, 2а”’, 2b”’ и 2с”’. Если параллельные плиты, (т.е. 2а’, 2b’, 2с’ или 2а”, 2b”, 2с”) помещают друг на друга в боковом направлении, плиту 2b’ сначала поднимают вверх в соответствии со стрелкой 1′ для того, чтобы прижать ее к нижележащей плите 2с’ (как 2b’, так и 2с’ имеют гипсовый слой, направленный вверх), а затем плиту 2а’ поднимают и поворачивают на 180 (и помещают в соответствии со стрелкой II’ на верх плиты 2b’ так, чтобы гипсовый слой плиты 2а’ оказался расположенным напротив гипсового слоя листа 2b’.
Если склеивание вместе плит осуществляют по направлению линии L, расположение плит одна над другой происходит в соответствии со стрелками I и II. Другими словами это означает, что плиту 2с” поднимают и прижимают к гипсовому слою нижележащей плиты 2с’, после чего плиту 2с”’ поднимают и поворачивают на 180(и прижимают ее гипсовым слоем к гипсовому слою нижележащей плиты 2с”. Склеивание вместе 2b’ с 2b” и 2с”’, также как 2а’ с 2а” и 2а”’ осуществляют тем же путем.
Этапы a, b и с предпочтительно осуществляют непосредственно на линии сразу после печи для обжига и охлаждения. Охлаждение, которое обычно требуется, регулируют так, чтобы минеральная вата имела подходящую температуру для сушки слоев 4 и 5 гипсовой пасты без ухудшения склеивания. Нарезание плит осуществляют автоматически. В этом типе элементов один слой 4 должен быть одинарным, а другой слой 5 двойным, т.е. приблизительно двойной толщины по сравнению с одинарным слоем.
На фигуре 5 показаны результаты тестов по симуляции пожаров, при которых пожар происходит снаружи изолированного канала, а температура измеряется внутри канала (на металлической поверхности). На фигуре 5 показано возрастание температуры в зависимости от времени, т.е. эффект замедления огня, элемент 1′ для защиты от огня, имеющий два гипсовых слоя 4 и 5, также как три слоя 2а’, 2b’ и 2с’ минеральной ваты (три Paroc FPS 14 плиты, имеющих толщину 20 мм каждая, между которыми находятся два гипсовых слоя 4 и 5) дает лучший эффект замедления огня (проходит около 60 минут, прежде чем температура повышается до 140°С) в сравнении с элементом 1 для защиты от огня, имеющим только один гипсовый слой 3.
Расположение слоев гипса и их число влияет на время защиты. Оно возрастает более чем в два раза при использовании двойных гипсовых слоев.
NB. Фигуры 4 и 5 описывают две различных конструкции и поэтому их нельзя непосредственно сравнивать между собой.
Толщина слоя гипса может быть ограничена количеством, необходимым для склеивания плит вместе, предпочтительно 1-5 кг/м2, что дает двойное количество/толщину в конечном продукте там, где один гипсовый слой располагается напротив другого.
Формула изобретения
1. Способ изготовления элемента (1 или 1′) для защиты от огня, имеющего слоистую структуру, включающего по меньшей мере два слоя минеральной ваты в форме плит (2а, 2b), между которыми выполнен по меньшей мере один слой (3) неорганического материала, который выделяет воду под действием тепла, характеризующийся тем, что мат (2) из затвердевшей минеральной ваты покрывают слоем (3) неорганического материала, по существу, состоящего из пасты гипса, и указанный мат (2) из минеральной ваты, покрытый слоем (3) гипса, автоматически разделяют по длине и/или ширине по меньшей мере на две плиты (2а, 2b), после чего эти плиты на производственной линии автоматически помещают друг на друга так, что между плитами минеральной ваты образуются слои гипса, после чего указанным слоям гипса позволяют высохнуть самим по себе, что приводит к склеиванию плит между собой.
2. Способ по п.1, характеризующийся тем, что указанный мат (2) из минеральной ваты, покрытый слоем (3) гипса, автоматически разделяют по длине и/или ширине на три плиты (2а’, 2b’, 2с’) равного размера в линии, после чего плиты автоматически помещают одну на другую на линии так, чтобы нанесенный слой (3) гипса каждой плиты располагался напротив непокрытой поверхности следующей плиты, предпочтительно за исключением того, что самую верхнюю или последнюю плиту (2b, 2а”’, 2b”’, 2с”’) в элементе располагают нанесенным гипсовым слоем (3) напротив нанесенного гипсового слоя (3) предпоследней плиты (2а, 2а”, 2b”, 2с”).
3. Способ по п.2, характеризующийся тем, что расположение указанных плит одна на другую происходит в направлении линии и/или в направлении, перпендикулярном линии.
4. Способ по любому из пп.1-3, характеризующийся тем, что высушивание гипсовой пасты происходит само по себе при комнатной температуре.
5. Способ по любому из пп.1-3, характеризующийся тем, что элементы (1 или 1′) для защиты от огня упаковывают непосредственно после прижатия их друг к другу с целью приклеивания.
6. Способ по п.5, характеризующийся тем, что используемая минеральная вата является каменной ватой.
7. Способ по п.6, характеризующийся тем, что используемый гипс, по существу, состоит из отходов необработанного гипса.
8. Использование элемента для защиты от огня, изготовленного по любому из пп.1-7, в любых зданиях или в оборудовании любых зданий.
РИСУНКИ
|
|