|
|
(21), (22) Заявка: 2008121060/03, 26.05.2008
(24) Дата начала отсчета срока действия патента:
26.05.2008
(43) Дата публикации заявки: 10.12.2009
(46) Опубликовано: 27.03.2010
(56) Список документов, цитированных в отчете о поиске:
RU 2147986 C1, 27.04.2000. GB 1410968 A, 22.10.1975. US 6027094 A, 22.02.2000. FR 2181323 A, 30.11.1973.
Адрес для переписки:
614051, г.Пермь, ул. Юрша, 64, кв.399, В.А. Степанову
|
(72) Автор(ы):
Годовалов Владимир Александрович (RU), Рогожин Евгений Васильевич (RU), Сирица Наталья Дмитриевна (RU), Кириенко Ольга Ивановна (RU), Суханов Виктор Петрович (RU), Машканцева Нина Геннадьевна (RU), Галишева Любовь Васильевна (RU)
(73) Патентообладатель(и):
Шардаков Игорь Николаевич (RU), Общество с ограниченной ответственностью “Завод строительных конструкций” (RU)
|
(54) МЕТАЛЛОФОРМА ДЛЯ ИЗГОТОВЛЕНИЯ ЖЕЛЕЗОБЕТОННЫХ ПЛИТ
(57) Реферат:
Изобретение относится к области производства строительных изделий. Металлоформа для изготовления железобетонных плит выполнена в виде замкнутой полости для заливки бетонной смеси, образованной поддоном и бортами, установленными с каждой стороны металлоформы и снабженными пазообразователями, фаскообразователями и шарнирно откидными устройствами. При этом фаскообразователи выполнены съемными. Металлоформа содержит с каждой стороны упоры, связанные жестко с поддоном и выполненные в виде полос со стороной, имеющей уклон 15±0,5 мм в направлении к полости для заливки бетона. Каждый съемный фаскообразователь со стороны упора выполнен с уклоном 15±0,5 мм, а со стороны полости с уклоном 5±0,5 мм в противоположную относительно первого уклона сторону. Кроме того, каждый съемный фаскообразователь снабжен ограничителями, жестко связанными с ним и выполненными в виде уступов с уклоном стороны, направленной к полости для заливки бетонной смеси 5±0,5 мм. Ось шарнира каждого откидного устройства смещена ниже зеркала поддона на 100÷110 мм и расположена на линии, проходящей через наружную угловую точку пазообразователя и отстоящей от нижней плоскости пазообразователя на угол 6÷15 градусов. Технический результат заключается в повышении качества изделий и снижении трудоемкости их изготовлений. 1 ил.
Изобретение относится к строительству, а именно к технологическому оборудованию для изготовления плит перекрытия безригельного каркасного здания.
Известна металлоформа для изготовления железобетонных плит, выполненная в виде замкнутой полости для заливки бетонной смеси, образованной поддоном и бортами, установленными с каждой стороны металлоформы и снабженными пазообразователями, фаскообразователями и шарнирно откидными устройствами (см. патент RU 2147986, опубл. 27.04.2000).
Недостатком ее является трудоемкость операции извлечения готовой плиты из формы и частые сколы фасок на плите.
Задачей предлагаемой полезной модели является создание возможности изготовления плит высокого качества, снижение трудоемкости изготовления плиты и исключение дефектов плит.
Для решения поставленной технической задачи металлоформа для изготовления железобетонных плит выполнена в виде замкнутой полости для заливки бетонной смеси, образованной поддоном и бортами, установленными с каждой стороны металлоформы и снабженными пазообразователями, фаскообразователями и шарнирно откидными устройствами, при этом фаскообразователи выполнены съемными, а металлоформа содержит с каждой стороны упоры, связанные жестко с поддоном и выполненные в виде полос со стороной, имеющей уклон 15±0,5 мм в направлении к полости для заливки бетона, причем съемные фаскообразователи установлены между упорами и полостью для заливки бетонной смеси, причем каждый съемный фаскообразователь со стороны упора выполнен с уклоном 15±0,5 мм, а со стороны полости с уклоном 5±0,5 мм в противоположную относительно первого уклона сторону, при этом каждый съемный фаскообразователь снабжен ограничителями, жестко связанными с ним и выполненными в виде уступов с уклоном стороны, направленным к полости для заливки бетонной смеси, 5±0,5 мм и установленными с возможностью взаимодействия их с бортом в рабочем положении откидного устройства и фиксации от смещения съемного фаскообразователя, при этом ось шарнира каждого откидного устройства смещена ниже зеркала поддона на 100÷110 мм и расположена на линии, проходящей через наружную угловую точку пазообразователя и отстоящей от нижней плоскости пазообразователя на угол 6÷15 градусов.
Отличительной особенностью предлагаемого технического решения от известного является то, что фаскообразователи выполнены съемными, а металлоформа содержит с каждой стороны упоры, связанные жестко с поддоном и выполненные в виде полос со стороной, имеющей уклон 15±0,5 мм в направлении к полости для заливки бетона, причем съемные фаскообразователи установлены между упорами и полостью для заливки бетонной смеси, причем каждый съемный фаскообразователь со стороны упора выполнен с уклоном 15±0,5 мм, а со стороны полости с уклоном 5±0,5 мм в противоположную относительно первого уклона сторону, при этом каждый съемный фаскообразователь снабжен ограничителями, жестко связанными с ним и выполненными в виде уступов с уклоном стороны, направленным к полости для заливки бетонной смеси, 5±0,5 мм и установленными с возможностью взаимодействия их с бортом в рабочем положении откидного устройства и фиксации от смещения съемного фаскообразователя, при этом ось шарнира каждого откидного устройства смещена ниже зеркала поддона на 100÷110 мм и расположена на линии, проходящей через наружную угловую точку пазообразователя и отстоящей от нижней плоскости пазообразователя на угол 6÷15 градусов.
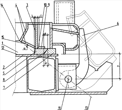
Сущность изобретения иллюстрируется чертежом, где изображен фрагмент металлоформы в разрезе.
Металлоформа для изготовления железобетонных плит выполнена в виде замкнутой полости 1 для заливки бетонной смеси, образованной поддоном 2 и бортами 3, установленными с каждой стороны металлоформы и снабженными пазообразователями 4, фаскообразователями 5 и шарнирно откидными устройствами 6. Фаскообразователи 5 выполнены съемными, а металлоформа содержит с каждой стороны упоры 7, связанные жестко с поддоном 2 и выполненные в виде полос со стороной 8, имеющей уклон =15±0,5 мм в направлении к полости 1 для заливки бетона. Съемные фаскообразователи 5 установлены между упорами 7 и полостью 1 для заливки бетонной смеси. Каждый съемный фаскообразователь 5 со стороны упора 7 выполнен с уклоном =15±0,5 мм, а со стороны полости 1 с уклоном =5±0,5 мм в противоположную относительно первого уклона сторону. Каждый съемный фаскообразователь 5 снабжен ограничителями, жестко связанными с ним и выполненными в виде уступов 9 с уклоном стороны 10, направленным к полости 1 для заливки бетонной смеси, =5±0,5 мм и установленными с возможностью взаимодействия их с бортом 3 в рабочем положении откидного устройства и фиксации от смещения съемного фаскообразователя 5, при этом ось 11 шарнира каждого откидного устройства 6 смещена ниже зеркала 12 поддона 2 на величину , равную 100÷110 мм, и расположена на линии 13, проходящей через наружную угловую точку 14 пазообразователя и отстоящей от нижней плоскости 15 пазообразователя 4 на угол , равный 6÷15 градусов.
Работа устройства заключается в следующем. Фаскообразователь 5 с ограничителями в виде уступов 9 устанавливают на поддон 2 стороной с уклоном 15±0,5 мм к стороне упора 7 с уклоном 15±0,5 мм. Борт 3 с пазообразователем 4 с помощью откидного устройства 6 устанавливают в рабочее положение. При этом борт 3 взаимодействует со стороной 10 уступа 9, прижимает фаскообразователь 5 к упору 7, исключая его перемещение внутрь полости 1 для заливки бетонного раствора. После заливки и застывания бетона перемещают борта 3 с пазообразователями 4 с помощью откидного устройства 6 относительно шарнира 11. При отрыве бетонной плиты от поддона 2 фаскообразователи 5 свободно отходят от упоров 7, смещаются вместе с бетонной плитой и легко отделяются от бетонной плиты, не повреждая поверхности бетонной плиты.
Эксплуатационные испытания предлагаемого устройства металлоформы на заводе указали на надежность устройства и обеспечение высокого качества изготовленных плит, на повышение производительности труда и удобство пользования.
Формула изобретения
Металлоформа для изготовления железобетонных плит, выполненная в виде замкнутой полости для заливки бетонной смеси, образованной поддоном и бортами, установленными с каждой стороны металлоформы и снабженными пазообразователями, фаскообразователями и шарнирно откидными устройствами, отличающаяся тем, что фаскообразователи выполнены съемными, а металлоформа содержит с каждой стороны упоры, связанные жестко с поддоном и выполненные в виде полос со стороной, имеющей уклон =(15±0,5) мм в направлении к полости для заливки бетонной смеси, причем съемные фаскообразователи установлены между упорами и полостью для заливки бетонной смеси, причем каждый съемный фаскообразователь со стороны упора выполнен с уклоном =(15±0,5) мм, а со стороны полости с уклоном =(5±0,5) мм в противоположную относительно первого уклона сторону, при этом каждый съемный фаскообразователь снабжен ограничителями, жестко связанными с ним и выполненными в виде уступов, с уклоном стороны, направленной к полости для заливки бетонной смеси =(5±0,5) мм, и установленными с возможностью взаимодействия их с бортом в рабочем положении откидного устройства и фиксации от смещения съемного фаскообразователя, при этом ось шарнира каждого откидного устройства смещена ниже зеркала поддона на величину =100÷110 мм и расположена на линии, проходящей через наружную угловую точку пазообразователя и отстоящей от нижней плоскости пазообразователя на угол =6÷15°.
РИСУНКИ
|
|