|
(21), (22) Заявка: 2007101663/02, 27.06.2005
(24) Дата начала отсчета срока действия патента:
27.06.2005
(30) Конвенционный приоритет:
29.06.2004 IT VR2004A000110
(43) Дата публикации заявки: 10.08.2008
(46) Опубликовано: 27.03.2010
(56) Список документов, цитированных в отчете о поиске:
ЕР 0742055 A1, 13.11.1996. SU 733776 А, 15.05.1980. SU 1726086 A1, 15.12.1992. RU 2006315 C1, 30.01.1994.
(85) Дата перевода заявки PCT на национальную фазу:
29.01.2007
(86) Заявка PCT:
IT 2005/000370 20050627
(87) Публикация PCT:
WO 2006/001047 20060105
Адрес для переписки:
125009, Москва, п/я 28, ООО “Интеллект Патент”, пат.пов. О.В.Черниковой, рег. 676
|
(72) Автор(ы):
ПАТУЦЦИ Луиджи (IT)
(73) Патентообладатель(и):
ФИНН-ПАУЭ ОЙ (FI)
|
(54) МНОГОФУНКЦИОНАЛЬНАЯ ГИДРАВЛИЧЕСКАЯ ГОЛОВКА ДЛЯ ПРИМЕНЕНИЯ В СТАНКАХ ДЛЯ ЗАГИБА И ФОРМОВАНИЯ МЕТАЛЛИЧЕСКИХ ЛИСТОВ
(57) Реферат:
Изобретение относится к области обработки металлов давлением, в частности к производству оборудования для обработки металлических листов и металлических профилей. Головка содержит имеющие возможность горизонтального перемещения вдоль направляющего и смещающего валов каретки с держателями, выполненными за одно целое с каретками и предназначенными для крепления сменных рабочих узлов. Каждый сменный рабочий узел содержит подвижные матрицы и неподвижные прессующие элементы, служащие для вставления между ними листового материала и обработки в соответствии с требуемой формой. Причем сменные рабочие узлы выполнены в виде по меньшей мере одного скрепляющего узла, узла тиснения или гибки, перфорирующего узла, узла подборки или глубокой вытяжки. Расширяются технологические возможности. 7 ил.
ОБЛАСТЬ ПРИМЕНЕНИЯ
Настоящее изобретение относится к многофункциональной гидравлической головке для применения в станках для гибки и формования металлических листов и/или металлических профилей.
Более конкретно, настоящее изобретение относится к многофункциональной гидравлической головке, которая может устанавливаться в формовочных и гибочных станках для металлических листов и металлических профилей для обработки листового металла, включающей следующие операции: перфорирование, глубокая вытяжка или подборка, тиснение и скрепление или холодная сварка.
Многофункциональная гидравлическая головка заменяет традиционные системы обработки панелей и листов, которые обычно выполняются до настоящего времени с использованием технологии, основанной на применении специализированных станков с получением промежуточного результата, при котором требовалась дальнейшая обработка на дополнительных станках, специально разработанных для каждого этапа обработки.
Настоящее изобретение предназначено для промышленности, связанной с механической обработкой и, в частности, в производстве механических станков и оборудования для общей обработки металлических листов и панелей.
УРОВЕНЬ ТЕХНИКИ
Известно, что обработка заготовок ламината и/или металлических заготовок, например, для производства металлических структур типа коробов или пластин с загнутыми вверх краями различной формы в основном производится на гибочных станках, которые обычно содержат:
– фиксированное основание для поддержки материала, например, металлического листа, который должен подвергаться гибке;
– опорную раму для зажимного пресса;
– пуансон, который является частью пресса, и соответствующий контрпуансон, которые действуют в качестве средства для зажима материала на этапе гибки;
– одна или более гибочных балок, которые могут перемещаться по направлению к обрабатываемому материалу;
– соответствующие кинематические перемещающие средства, выполненные с возможностью перемещать гибочные балки вдоль основания, на котором обрабатываемая заготовка зажата между пуансоном и контрпуансоном;
– средство для перемещения листового металла или профиля в направлении балок в процессе обработки;
– измерительные преобразователи или датчики различных типов для управления процессом, соединяющиеся с пультом управления, который управляет производственным процессом.
Гибочный станок описанного выше типа, поставляющийся на рынок заявителем, содержит структуру держателя балки, имеющую в поперечном сечении вид буквы “С”, которая может перемещаться в двух взаимно ортогональных направлениях по отношению к неподвижному основанию, на котором зафиксирована (зафиксированы) гибочная балка (балки).
Недостатком известных гибочных станков является то, что в структуре держателя балки используются гибочные инструменты, применение которых в значительной степени ограничено, т.е. обычно они могут применяться только для гибки листового металла.
Однако хорошо известно, что листовой металл также подвергается дальнейшей обработке, например, его следует подвергнуть операциям, включающим перфорирование, глубокую вытяжку или подборку, тиснение и скрепление, которые также могут включать фиксированную холодную сварку или другие операции в отношении краев или отогнутых частей структуры.
В таких случаях фактически не существует автоматических станков, которые могли бы осуществлять все эти операции в автоматическом режиме, и в результате существует только один путь – использовать специализированные станки, каждый из которых оборудован инструментом и приспособлениями для соответствующей обработки листового металла.
Такой способ обработки не обеспечивает высокого качества окончательного продукта, и, кроме того, не позволяет осуществлять весь процесс в непрерывном режиме или на одном станке. В результате на обработку затрачивается длительное время, и при этом трудно синхронизировать все различные фазы процесса, особенно в том случае, когда требуется обработка значительного количества деталей.
Кроме того, другой недостаток, который имеет большое значение в отношении традиционных систем работы, связан с тем фактом, что невозможно осуществлять эти работы на длинномерных деталях, панелях или листовом металле.
ОПИСАНИЕ ИЗОБРЕТЕНИЯ
В настоящем изобретении предлагается многофункциональная гидравлическая головка для применения в станках для гибки и формования металлических листов и/или металлических профилей, позволяющая устранить или, по меньшей мере, снизить влияние тех недостатков, которые изложены выше.
Кроме того, в изобретении предлагается многофункциональная гидравлическая головка для применения в станках для гибки и формования листового металла и/или металлических профилей, позволяющая повысить производительность формовочных станков, добавляя им функции, которыми они ранее не обладали.
Эти цели могут достигаться при использовании многофункциональной гидравлической головки для применения в станках для гибки и формования листового металла и/или металлических профилей, признаки которой излагаются в главном пункте формулы изобретения.
В независимых пунктах формулы изобретения раскрываются преимущественные воплощения изобретения.
Главные преимущества этого технического решения, в дополнение к тем, которые проистекают из модернизированной конструкции, относятся прежде всего к тому факту, что отпадает необходимость в использовании нескольких станков, необходимых для завершения обработки, в том числе для перфорирования, глубокой вытяжки, тиснения и скрепления.
Главное назначение устройства в соответствии с данным изобретением – обеспечить обработку деталей из листового металла, включая такие, которые имеют большой размер, с использованием одного многофункционального станка.
В соответствии с данным изобретением достижение указанных целей и получение преимуществ возможно при использовании многофункциональной гидравлической головки для применения в станках для гибки и формования листового металла и/или металлических профилей, которые содержат фиксированное основание для удержания обрабатываемого листового материала, раму для крепления конструкции держателя инструмента на, по меньшей мере, одной каретке, преимущественно на двух каретках, которые движутся в противоположных направлениях на червячных валах вдоль горизонтальной оси по отношению к прессу, который приспособлен для зажима куска листового металла в процессе его гибки.
На каждой из этих кареток устанавливаются рабочие комплекты, которые являются объектом изобретения и которые могут меняться по отношению к общей опорной структуре, причем указанная опорная структура имеет С-образную форму или другую форму, пригодную для крепления главного корпуса рабочей головки, который соединяется заодно с каждой кареткой и на котором устанавливается рабочий инструмент, выполненный в форме скрепляющего узла, узла тиснения или гибки, перфорирующего узла и узла подборки или глубокой вытяжки.
Каждый из указанных узлов содержит различные инструменты, которые используются для всех типов обработки, и, таким образом, для выполнения операции определенного типа оператор должен только установить рабочий инструмент на каретку (каретки), который соответствует требующейся операции.
Как можно видеть, применение такой многофункциональной головки может повысить производительность, так как функции оператора сводятся к нескольким простым ручным приемам по смене рабочего инструмента со всеми вытекающими из этого преимуществами.
ОПИСАНИЕ ЧЕРТЕЖЕЙ
Другие признаки и преимущества изобретения становятся очевидными при следующем описании одного из воплощений изобретения, которое включает, но не исчерпывается примерами, приводимыми далее и рассматриваемыми с помощью чертежей, которые даны на прилагаемых страницах и которые включают следующие иллюстрации:
– на фигуре 1 приводится фронтальный схематический вид станка, оборудованного, по меньшей мере, одной многофункциональной гидравлической головкой в соответствии с изобретением;
– на фигуре 2 показан схематический вид сбоку станка, оборудованного многофункциональной гидравлической головкой, расположение которой показано относительно центрального обрабатывающего блока;
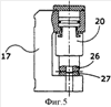
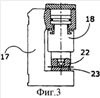
– на фигуре 3 показан схематический вид сбоку одной из многофункциональных гидравлических головок в соответствии с изобретением, представленной с узлом для соединения;
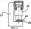
– на фигуре 4 показан схематический вид сбоку одной из многофункциональных гидравлических головок в соответствии с изобретением, представленной с узлом для тиснения или гибки;
– на фигуре 5 показан схематический вид сбоку одной из многофункциональных гидравлических головок в соответствии с изобретением, представленной с перфорационным узлом;
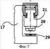
– на фигурах 6 и 7 показан схематический вид сбоку одной из многофункциональных гидравлических головок в соответствии с изобретением, представленной с узлом для подборки или глубокой вытяжки соответственно в нижней рабочей фазе в контакте с деталью и в поднятой фазе.
ОПИСАНИЕ ВОПЛОЩЕНИЯ ИЗОБРЕТЕНИЯ
При рассмотрении мы прежде всего ссылаемся на фигуру 1. Формовочный и гибочный станок 10 для листового металла и/или металлических профилей содержит фиксированное основание, которое не показано, опоры листового металла 11, который подлежит обработке и который остается прижатым к нажимному элементу 12, расположенному напротив фиксированного нижнего элемента 13, для удержания панели в горизонтальном положении, когда она вставляется в станок.
Станок 10 имеет также раму 14, назначение которой служить опорой для пары кареток, установленных на вращающихся спиральных валах 16 или червячных валах, вызывая перемещение кареток в горизонтальном направлении.
Используются два червячных вала 16, потому что станок обычно оборудуется двумя каретками, установленными на вращающихся спиральных валах, расположенных параллельно один над другим в вертикальной плоскости.
Каждая каретка 15 оборудована своим многофункциональным гидравлическим узлом в соответствии с изобретением, и все они крепятся в держателе 17, который является неотъемлемой частью соответствующей каретки, и соответственно устанавливаются симметрично по отношению к центру станка.
В держателе 17 крепятся рабочие комплекты, которые являются объектами изобретения и которые выполняются из узлов, показанных на фигурах 3-6, а именно скрепляющего узла 18 (фигура 3), узла 19 для тиснения или гибки (фигура 4), перфорационного узла 20 (фигура 5) и узла 21 для подборки или глубокой вытяжки (фигуры 6 и 7).
Каждый из перечисленных выше рабочих узлов оборудован верхним элементом, или матрицей, и нижним фиксированным пуансонным элементом, форма которого зависит от трафарета матрицы.
Панель или ее край, которые должны обрабатываться, вставляются и укладываются на нижний пуансонный элемент таким образом, что при подаче команды оператором или автоматической подаче предварительно введенной команды подвижный верхний элемент, или матрица, приходит в соприкосновение с обрабатываемой панелью, оказывает давление на нее, формируя в соответствии с требующейся формой, используя при этом соответственный прессующий узел.
Как можно видеть на этой фигуре, скрепляющий узел 18 оборудован матрицей 22 и прессующим элементом 23, узел 19 для тиснения или гибки оборудован матрицей 24 и прессующим элементом 25, перфорационный узел 20 оборудован матрицей 22 и прессующим элементом 23, и, наконец, узел 21 для подборки или глубокой вытяжки оборудован матрицей 28 и прессующим элементом 29.
На фигурах 6 и 7 показан пример того, как работает формующий комплект, в этом случае с узлом 21 для подборки или глубокой вытяжки, который представляет собой рабочий инструмент 28, расположенный соответственно в нижней позиции в контакте с листовым металлом и в поднятом положении.
Любые другие инструменты, отличающиеся от рассмотренных и требующиеся для обработки листового металла, могут крепиться в удерживающей структуре 17.
Формующие комплекты могут крепиться на любой оси, включая горизонтальные, и даже головой вниз, то есть в положении, когда нижний элемент находится сверху.
Изобретение рассматривается выше со ссылками на преимущественное воплощение. Тем не менее должно быть совершенно ясно, что изобретение может модернизироваться множеством различных способов, оставаясь, тем не менее, в рамках технических вариантов.
Формула изобретения
Многофункциональная гидравлическая головка для применения в станках для обработки металлических листов или металлических профилей, оборудованная каретками с держателями, каждая из которых имеет возможность горизонтального перемещения вдоль направляющего и смещающего валов и выполнена за одно целое с держателем, предназначенным для обеспечения крепления сменных рабочих комплектов с подвижными матрицами и неподвижными прессующими элементами, служащими для вставления между ними металлических листов или металлических профилей и обработки в соответствии с требуемой формой, причем указанные сменные рабочие комплекты выполнены в виде по меньшей мере одного скрепляющего узла, узла тиснения или гибки, перфорирующего узла, узла подборки или глубокой вытяжки.
РИСУНКИ
|