|
|
(21), (22) Заявка: 2006136386/15, 21.04.2005
(24) Дата начала отсчета срока действия патента:
21.04.2005
(30) Конвенционный приоритет:
23.04.2004 FR 0404307
(43) Дата публикации заявки: 27.05.2008
(46) Опубликовано: 27.03.2010
(56) Список документов, цитированных в отчете о поиске:
ДЫТНЕРСКИЙ Ю.И. Баромембранные процессы. Теория и расчет. – М.: Химия, 1986, с.42-44, рис.2-5 (а). US 5762841 А, 09.06.1998. US 6375014 B1, 23.04.2002.
(85) Дата перевода заявки PCT на национальную фазу:
23.11.2006
(86) Заявка PCT:
FR 2005/000989 20050421
(87) Публикация PCT:
WO 2005/110583 20051124
Адрес для переписки:
191186, Санкт-Петербург, а/я 230, “АРС-ПАТЕНТ”, пат.пов. М.В.Хмаре, рег. 771
|
(72) Автор(ы):
ЛАСКОШ Филипп (FR)
(73) Патентообладатель(и):
ТЕХНОЛОДЖИ АВАНСЕ Э МЕМБРАН ЭНДЮСТРИЭЛЬ (FR)
|
(54) ОСНОВА С ИЗМЕНЯЮЩЕЙСЯ ПОРИСТОСТЬЮ И МЕМБРАНА ДЛЯ ТАНГЕНЦИАЛЬНОЙ ФИЛЬТРАЦИИ ПОТОКА ТЕКУЧЕЙ СРЕДЫ
(57) Реферат:
Изобретение относится к области тангенциальной сепарации и может быть использовано для экстракции и концентрации. Пористая основа (1) для тангенциальной фильтрации обрабатываемой текучей среды, имеющая по меньшей мере, одну поверхность (3), обращенную к обрабатываемой текучей среде, перемещающейся в направлении движения обрабатываемой текучей среды, и поверхность (11) выхода фракции, именуемой фильтратом, проходящей сквозь пористую основу, получена в результате закупоривания исходной основы неорганическими частицами, причем основа (1) имеет до заданной постоянной глубины (е) от поверхности (3) основы, обращенной к обрабатываемой текучей среде, среднюю поперечную пористость, возрастающую по мере продвижения внутрь основы (1) в направлении, перпендикулярном поверхности (3) основы, обращенной к обрабатываемой текучей среде, от поверхности (3) основы, обращенной к обрабатываемой текучей среде, к поверхности (11) выхода фильтрата, причем средняя продольная пористость основы (1) однородна относительно перемещения внутрь основы (1) параллельно поверхности (3) основы, обращенной к обрабатываемой текучей среде, в направлении движения обрабатываемой текучей среды. Объектами изобретения также являются мембрана для тангенциальной фильтрации обрабатываемой текучей среды, в которой вышеописанная пористая основа соединена, по меньшей мере, с одним сепарирующим слоем, и способ изготовления вышеуказанной пористой основы. Технический результат: уменьшение проницаемости пористой основы по сравнению с проницаемостью исходной основы и достижение однородности средней продольной пористости основы (1) относительно перемещения параллельно поверхности (3) основы, обращенной к обрабатываемой текучей среде, в направлении движения обрабатываемой текучей среды; создание мембраны, содержащей такую пористую основу. 3 н. и 18 з.п. ф-лы, 4 ил.
Область техники, к которой относится изобретение
Настоящее изобретение относится к области тангенциальной сепарации и использует сепарационные элементы, в общем случае называемые мембранами. Такие мембраны обычно изготавливают из неорганических материалов, причем они состоят из пористой основы и по меньшей мере одного сепарирующего слоя, материал и конструкция которого обеспечивают сепарацию молекул или частиц, содержащихся в обрабатываемой текучей среде (флюиде). Методом сепарации с использованием мембран осуществляют разделение флюида, содержащего молекулы и/или частицы, на две части: отфильтрованную часть (фильтрат), содержащую молекулы или частицы, прошедшие сквозь мембрану, и задержанную часть (ретентат), содержащую молекулы или частицы, задержанные мембраной.
Более конкретно, настоящее изобретение направлено на создание пористой основы и мембраны, содержащей такую основу.
Уровень техники
Мембрана представляет собой вещественную структуру, позволяющую осуществлять выборочное задержание или прохождение веществ, перемещаемых под воздействием движущей силы передачи между различными объемами флюида, разделяемого мембраной.
Название осуществляемой сепарации зависит от применяемой движущей силы передачи. Если движущая сила передачи порождается:
– электрическим полем, процесс сепарации называют электродиализом,
– давлением, процесс сепарации называют микрофильтрацией, ультрафильтрацией, нанофильтрацией или обратным осмосом,
– разницей химических потенциалов, процесс сепарации называют диализом.
Предмет настоящего изобретения особенно полезен для применения в области нанофильтрации, ультрафильтрации, микрофильтрации, фильтрации или обратного осмоса.
Сепарацию с использованием мембран применяют в двух основных областях:
– для экстракции в случае, когда извлекаемые молекулы или частицы проходят сквозь мембрану,
– для концентрации в случае, когда извлекаемые молекулы или частицы удерживаются мембраной.
По известным технологиям мембрана обычно состоит из пористой основы, выполненной из неорганического, например керамического, материала, и одного или нескольких сепарирующих слоев из неорганического материала. Основа содержит поверхность, обращенную к обрабатываемому флюиду и, следовательно, используемую для ввода фильтрата, и поверхность, используемую для вывода фильтрата. Сепарирующий слой или слои расположены на поверхности, обращенной к обрабатываемому флюиду, и соединены между собой и с основой методом спекания. Мембраны такого типа называют композитными мембранами. Такие мембраны могут иметь различную геометрическую форму, в частности плоскую или трубчатую. Функция сепарирующих слоев заключается в обеспечении сепарации отдельных видов молекул или частиц, а основа позволяет, благодаря своей механической прочности, использовать слои малой толщины.
В предположении, что мембрана содержит поры, проникающие на всю ее толщину в направлении, перпендикулярном направлению движения текучей среды, такие поры обычно имеют асимметричную форму (или форму типа «Эйфелевой башни»), причем более узкая часть пор соприкасается с обрабатываемой текучей средой. Такая форма позволяет использовать в активной части пор минимальный диаметр, что приводит к максимизации проницаемости пор. В случае керамических мембран такую форму пор получают путем последовательного наложения слоев пористого материала с уменьшающимся размером зерна на пористую основу.
Если действующей силой является давление, сепарация осуществляется чисто механическим методом. Молекулы или частицы не изменяются и остаются в своем исходном состоянии. Молекулы или частицы, задержанные мембраной, осаждаются на поверхности мембраны и вызывают ее закупоривание, которое может достигать весьма значительного уровня. Для уменьшения такого закупоривания используют две известные технологии:
– тангенциальную очистку, при которой обрабатываемая жидкость перемещается тангенциально (касательно) к поверхности мембраны. В результате такого движения возникает трение, увеличивающее коэффициент передачи;
– ретрофильтрацию (обратную фильтрацию), которая заключается в обратном пропускании части отфильтрованной жидкости через мембрану.
В настоящее время в промышленных установках с мембранами используют тангенциальную очистку в чистом виде или в сочетании с обратной фильтрацией. Однако при использовании любой из технологий очистки зависимость проницаемости от времени всегда имеет вид кривой, приведенной на фиг.1. В начальный период работы мембраны наблюдается резкое падение проницаемости. Затем это падение стабилизируется и практически выходит на плато. Отношение между значениями проницаемости через 720 минут работы и через 4 минуты работы составляет около 20 раз. Значительная величина этого падения показывает, что известные системы очистки неудовлетворительны, хотя они и позволяют получить экономически приемлемые значения проницаемости.
Объяснение такого падения проницаемости с течением времени связано с природой закупоривания пор. На практике действуют два механизма закупоривания: поверхностное закупоривание и глубинное закупоривание. Поверхностное закупоривание ограничено тангенциальным течением обрабатываемой текучей среды, т.к. это течение порождает трение обрабатываемой текучей среды о поверхность канала течения, вызывающее удаление отложений, имеющихся на этой поверхности. В принципе, обратная фильтрация должна обеспечивать перемещение частиц, физически удерживаемых внутри мембраны, тем самым уменьшая глубинное закупоривание. Однако конкретная форма составляющих элементов мембраны, образующих связную сеть пор, ограничивает эту способность.
Таким образом, ни один из двух известных методов очистки не является полностью удовлетворительным. Причина их недостаточной эффективности связана с начальным периодом работы мембраны. Действительно, в вышеприведенном примере проницаемость мембраны уменьшается от уровня проницаемости для воды до уровня проницаемости для продукта. Соотношение между этими двумя значениями составляет около 20 раз. Частицы или молекулы приходят на поверхность мембраны со скоростью, равной относительному расходу через фильтрующую поверхность. В начальный период работы мембраны эта скорость максимальна, и импульс частицы или молекулы также максимален. Когда происходит соударение со стенкой, частица или молекула проникает внутрь мембраны на глубину, пропорциональную величине ее импульса. При этом частица или молекула, проникшая внутрь мембраны, становится недоступной для тангенциальной очистки. Чем глубже она проникает внутрь мембраны, тем более затруднительно ее извлечение методом обратной фильтрации.
Следовательно, необходимо исключить такое проникновение частиц или молекул внутрь мембраны.
Раскрытие изобретения
В соответствии с настоящим изобретением предлагается решение, устраняющее указанное проникновение и ограничивающее проницаемость основы и мембраны, образованной соединением основы с сепарирующими слоями.
В соответствии с настоящим изобретением предлагается пористая основа для тангенциальной фильтрации обрабатываемой текучей среды, имеющая по меньшей мере одну поверхность, обращенную к обрабатываемой текучей среде, перемещающейся в направлении движения обрабатываемой текучей среды, и поверхность выхода фракции, именуемой фильтратом, проходящей сквозь пористую основу. Основа получена в результате модификации исходной основы, включающей, в частности, частичное закупоривание исходной основы, и имеет проницаемость, уменьшенную по сравнению с проницаемостью исходной основы и однородную относительно перемещения параллельно поверхности основы, обращенной к обрабатываемой текучей среде, в направлении движения обрабатываемой текучей среды. Проницаемость основы предпочтительно уменьшена в 1,5-10 раз по сравнению с проницаемостью исходной основы.
В соответствии с другим аспектом изобретения основа имеет до заданной постоянной глубины от поверхности основы, обращенной к обрабатываемой текучей среде, среднюю поперечную пористость, возрастающую по мере продвижения внутрь основы в направлении, перпендикулярном поверхности основы, обращенной к обрабатываемой текучей среде, от поверхности основы, обращенной к обрабатываемой текучей среде, к поверхности выхода фильтрата, причем средняя продольная пористость основы однородна относительно перемещения внутрь основы параллельно поверхности основы, обращенной к обрабатываемой текучей среде, в направлении движения обрабатываемой текучей среды.
Другая задача, на решение которой направлено изобретение, заключается в предложении мембраны для тангенциальной фильтрации обрабатываемой текучей среды, в которой вышеописанная пористая основа соединена по меньшей мере с одним сепарирующим слоем для обрабатываемой текучей среды, покрывающим поверхность основы, обращенную к обрабатываемой текучей среде, причем пористость сепарирующего слоя меньше или равна пористости основы.
В соответствии с дальнейшим аспектом изобретения предлагается способ изготовления пористой основы для тангенциальной фильтрации обрабатываемой текучей среды, имеющей по меньшей мере одну поверхность, обращенную к обрабатываемой текучей среде, перемещающейся в направлении движения обрабатываемой текучей среды, и поверхность выхода фракции, именуемой фильтратом, проходящей сквозь пористую основу, который включает в себя этап, на котором исходную пористую основу модифицируют путем осуществления проникновения неорганических частиц по существу до постоянной глубины от поверхности основы, обращенной к обрабатываемой текучей среде, причем средний диаметр неорганических частиц меньше среднего диаметра «dp» пор исходной основы, с получением средней поперечной пористости, возрастающей по мере продвижения внутрь основы в направлении, перпендикулярном поверхности основы, обращенной к обрабатываемой текучей среде, от поверхности основы, обращенной к обрабатываемой текучей среде, к поверхности выхода фильтрата, и средней продольной пористости основы, однородной относительно перемещения внутрь основы параллельно поверхности основы, обращенной к обрабатываемой текучей среде, в направлении движения обрабатываемой текучей среды.
Краткое описание чертежей
Различные другие особенности настоящего изобретения станут ясны из нижеследующего описания, приведенного со ссылками на прилагаемые чертежи. На чертежах:
на фиг.1 приведена зависимость от времени проницаемости известной мембраны,
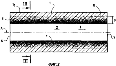
на фиг.2 изображена в продольном разрезе основа по изобретению,
на фиг.3 изображена в поперечном разрезе мембрана по изобретению, содержащая основу по фиг.2,
на фиг.4 приведено сравнение временных зависимостей проницаемости известной мембраны и мембраны по изобретению.
Осуществление изобретения
Пористая основа по изобретению изготовлена из неорганического материала, сопротивление которого протеканию соответствует требуемой степени сепарации. Пористая основа 1 может быть выполнена из таких неорганических материалов, как металлические оксиды, углерод или металлы. В примере осуществления, проиллюстрированном на фиг.2, пористая основа 1 имеет удлиненную трубчатую форму, вытянутую вдоль продольной оси А. Плоская форма, ориентированная вдоль центральной плоскости, может быть также использована. Пористая основа 1 имеет поперечное сечение в форме многоугольника или, как в примере осуществления, проиллюстрированном на фиг.2, круглое поперечное сечение.
Пористая основа 1 содержит по меньшей мере одну поверхность 3, обращенную к обрабатываемой текучей среде (флюиду), которая представляет собой поверхность, по которой циркулирует флюид в случае, если основа используется независимо. Для осуществления мембраны 4 основу 1 обычно соединяют с сепарирующим слоем 5; в этом случае обрабатываемый флюид циркулирует не непосредственно по поверхности 3 основы, обращенной к обрабатываемому флюиду, а по сепарирующему слою 5. Поверхность 3 основы, обращенная к обрабатываемому флюиду, при этом покрыта сепарирующим слоем 5, предназначенным для соприкосновения с обрабатываемой текучей средой, которая циркулирует в одном направлении, от переднего конца основы к ее заднему концу при работе мембраны в режиме тангенциальной сепарации. Сепарирующий слой или сепарирующие слои 5 изготовлены из материала, выбранного в соответствии с требуемой степенью сепарации или фильтрации, и находятся в тесном соприкосновении с пористой основой 1. Данный слой или данные слои могут быть нанесены, например, из взвесей, содержащих по меньшей мере один металлический оксид и используемых по известным технологиям в производстве минеральных фильтрующих элементов. Данный слой или данные слои после сушки подвергают операции спекания, что позволяет соединить и связать их между собой, а также с пористой основой 1. Часть текучей среды проходит сквозь сепарирующий слой 5 и пористую основу 1, причем основа 1 содержит поверхность 11 выхода такой обработанной фракции флюида, называемой фильтратом.
В пористой основе 1 может быть предусмотрен по меньшей мере один, как в примере осуществления по фиг.2, канал 2, расположенный параллельно оси А основы. В проиллюстрированном примере канал имеет в плоскости, перпендикулярной оси А основы, цилиндрическое поперечное сечение. Канал 2 имеет внутреннюю поверхность 3, совпадающую с поверхностью 3 основы, обращенной к обрабатываемому флюиду. Для осуществления мембраны 4 основу 1 соединяют с сепарирующим слоем 5. Фиг.3 иллюстрирует пример осуществления мембраны трубчатого типа. В соответствии с этим примером канал 2 покрыт сепарирующим слоем 5, предназначенным для соприкосновения с обрабатываемой текучей средой, циркулирующей в канале 2, причем циркуляция осуществляется в направлении от одного открытого конца канала к другому. Один из этих открытых концов называют передним концом 6, а другой – задним концом 7. Обрабатываемый флюид попадает в канал через его передний конец 6, а ретентат выходит из канала через его задний конец 7. Поверхность 11 выхода фильтрата соответствует в случае мембран, содержащих один или несколько каналов, внешней периферической поверхности 11 основы, имеющей в примере осуществления, проиллюстрированном на фиг.2 и 3, цилиндрическую форму с круглым поперечным сечением.
Перед переходом к более подробному описанию необходимо дать несколько определений. Пористость основы обозначает отношение объема пор основы к суммарному объему основы. Пористость измеряют, например, методом ртутной порометрии. При этом используют аппарат, который под давлением закачивает ртуть в пористый образец. Такой аппарат позволяет определить не только распределение по диаметру пор, но и пористость пористого тела.
Среднюю пористость измеряют на слое единичного объема и постоянной заданной толщины, расположенном вдоль центрального направления, по которому требуется измерить ее возможные изменения. Утверждение о том, что средняя пористость однородна или, по существу, постоянна, означает, что при разбиении данного слоя постоянной толщины на несколько равных элементарных объемов, соответствующих срезам, ориентированным перпендикулярно центральной оси слоя, которая соответствует направлению измерений, средняя пористость таких элементарных объемов не изменяется при перемещении вдоль центральной оси данного слоя. Утверждение о том, что средняя пористость возрастает, означает, что средняя пористость элементарных объемов увеличивается.
Также следует определить:
– среднюю продольную пористость основы, т.е. пористость, измеренную по мере продвижения внутри основы параллельно поверхности, обращенной к обрабатываемому флюиду (которая соответствует внутренней поверхности канала или каналов в случае одноканальной или многоканальной основы), в направлении циркуляции обрабатываемого флюида;
– поперечную пористость, т.е. пористость, измеренную по мере продвижения внутри основы в поперечном направлении, т.е. перпендикулярно поверхности, обращенной к обрабатываемому флюиду.
Плотность потока на единицу давления и проницаемость пористой основы отражают возможность прохождения текучей среды через указанную основу. В контексте настоящего изобретения плотность потока определяет количество фильтрата в м3, проходящее через единицу поверхности (в м2) основы за единицу времени (в с). Таким образом, плотность потока на единицу давления измеряют в м3/м2/с/Па×10-12.
Проницаемость в контексте настоящего изобретения соответствует плотности потока на единицу давления, отнесенной к толщине и измеряемой в м3/м2/с/м/Па×10-12. Проницаемость является величиной, обратной сопротивлению. Сопротивление мембраны равно сумме сопротивлений основы и сепарирующего слоя. Разумеется, сопротивление основы мембраны меньше сопротивления сепарирующего слоя, т.к. средний диаметр пор основы больше. Сопротивление протеканию флюида через пористое тело зависит от диаметра пор, от пористости и от толщины данного пористого тела. Утверждение о том, что основа или мембрана имеет проницаемость, однородную относительно продвижения параллельно поверхности, обращенной к обрабатываемому флюиду (которая соответствует внутренней поверхности канала или каналов в случае одноканальной или многоканальной основы), в направлении циркуляции обрабатываемого флюида, означает, что при разделении данной мембраны или основы на слои, ориентированные перпендикулярно продольной оси основы в случае трубчатой основы или перпендикулярно центральной плоскости основы в случае плоской основы и имеющие одинаковую толщину (измеренную в направлении, параллельном продольной оси или центральной плоскости), проницаемость, измеренная для каждого из таких слоев, по существу, постоянна.
В соответствии с изобретением основа 1 имеет в слое, прилежащем к поверхности 3 основы, пористость, отличающуюся от пористости в остальном объеме основы. Вблизи поверхности 3, обращенной к обрабатываемому флюиду, основа 1 имеет меньшую пористость; таким образом, пористость основы возрастает по мере перемещения в направлении, перпендикулярном поверхности 3, обращенной к обрабатываемому флюиду, от этой поверхности 3 к поверхности 11 выхода фильтрата. В примерах, проиллюстрированных на фиг.2 и 3, изображающих трубчатую одноканальную основу и присоединенную к ней мембрану, пористость основы возрастает по мере продвижения в направлении, перпендикулярном поверхности 3 канала 2, от канала 2 к внешней поверхности 11. Такое изменение поперечной пористости может быть вызвано, например, частичным закупориванием вдоль основы 1, в направлении от поверхности 3, обращенной к обрабатываемому флюиду. Тем не менее, продольная пористость остается по существу постоянной по мере продвижения, параллельного поверхности, обращенной к обрабатываемому флюиду, в направлении циркуляции обрабатываемого флюида, т.е. вдоль канала, от одного из его концов к другому, в примере, проиллюстрированном на фиг.2. Такое закупоривание называют «частичным», т.к. основа закупорена не полностью и пропускает флюид. На заданной постоянной глубине «е», отмеренной от поверхности 3 основы, обращенной к обрабатываемому флюиду, основа 1 имеет среднюю поперечную пористость, возрастающую по мере продвижения вглубь основы в направлении, перпендикулярном поверхности 3 основы, обращенной к обрабатываемому флюиду, от данной поверхности 3, обращенной к обрабатываемому флюиду.
В оптимальном варианте частичное закупоривание «с» изменяется по мере продвижения перпендикулярно поверхности 3, обращенной к обрабатываемому флюиду, и создает на постоянной глубине «р» градиент средней пористости, который возрастает по мере удаления от данной поверхности 3. Наиболее закупоренная часть основы 1, имеющая наименьшую среднюю пористость, расположена вблизи поверхности 3, обращенной к обрабатываемому флюиду, и, таким образом, в проиллюстрированном примере – к каналу 2, а наименее закупоренная часть, имеющая наибольшую среднюю пористость, расположена вблизи поверхности выхода фильтрата (в примере, проиллюстрированном на фиг.2, – вблизи внешней периферической поверхности 11).
В соответствии с предпочтительным вариантом осуществления изобретения средний диаметр пор возрастает по мере продвижения вглубь основы 1 в направлении, перпендикулярном поверхности 3, обращенной к обрабатываемому флюиду, от поверхности 3, обращенной к обрабатываемому флюиду, к поверхности 11 выхода фильтрата.
Градиент средней пористости осуществляют путем проникновения через исходную основу со стороны поверхности 3 основы, обращенной к обрабатываемому флюиду, частиц, средний диаметр которых меньше среднего диаметра пор исходной основы, что позволяет добиться частичного закупоривания «с» основы 1. В соответствии с примером, проиллюстрированным на фиг.2, такое частичное закупоривание осуществляют на некоторую постоянную глубину «р» (меньшую или равную глубине «е»), отмеренную от поверхности 3 основы, обращенной к обрабатываемому флюиду. Данная глубина «р» определена относительно поверхности 3 основы, обращенной к обрабатываемому флюиду. Закупоривание «с», соответствующее проникновению частиц, осуществляется на глубину «р», которая зависит от размера, т.е. диаметра, частиц и от экспериментальных условий их проникновения. В общем случае глубина «р» велика и выбрана в соответствии с требуемым уменьшением проницаемости. Например, основа 1 может быть закупорена на глубину «р», превышающую средний радиус спекшихся частиц, образующих исходную основу, и предпочтительно превышающую их средний диаметр, причем максимальная глубина соответствует глубине, которой в процессе закупоривания достигают наиболее мелкие частицы. В оптимальном варианте частичное закупоривание осуществляют на глубину «р», большую или равную 2,5 мкм, предпочтительно большую или равную 5 мкм. Основа по изобретению имеет проницаемость, искусственно уменьшенную по сравнению с исходной основой, но однородную относительно перемещения, параллельного поверхности, обращенной к обрабатываемому флюиду, в направлении циркуляции обрабатываемого флюида.
В соответствии с первым вариантом осуществления изобретения средняя поперечная пористость может по существу непрерывно увеличиваться по мере удаления от поверхности 3 основы, обращенной к обрабатываемому флюиду. В соответствии с другим вариантом осуществления средняя поперечная пористость может увеличиваться ступенями Pi. Указанные ступени предпочтительно имеют, по существу, одинаковую длину, измеренную в направлении, перпендикулярном поверхности 3, обращенной к обрабатываемому флюиду.
Следует отметить, что примеры, приведенные на фиг.2 и 3, относятся к одноканальной основе, содержащей канал цилиндрической формы с поперечным сечением по существу овальной формы. Разумеется, настоящее изобретение также может быть осуществлено в случае основ, содержащих один или несколько каналов различной формы. Также очевидно, что изобретение может быть осуществлено в случае основы, содержащей по меньшей мере один канал 2 с поперечным сечением, имеющим форму многоугольника, предусмотренный в пористом блоке. В случае использования основы 1 плоской формы циркуляция обрабатываемого флюида может быть предусмотрена непосредственно на одной из поверхностей 3 основы, а выход фильтрата может осуществляться через другую поверхность 11, причем в массиве основы могут отсутствовать какие-либо каналы. В такой пористой основе 1 плоского типа также может быть предусмотрено несколько каналов 2, каждый из которых имеет поперечное сечение прямоугольной формы, наложенных друг на друга. В случае основы, содержащей несколько каналов, основа имеет пористость, определенную выше, на определенной глубине, отмеренной от каждой из внутренних поверхностей 3, ограничивающих каналы 2. Таким образом, основа имеет модифицированную пористость в объемах, прилегающих к внутренним поверхностям 3 и расположенным как между каналами 2 и внешней поверхностью 11 основы, так и между двумя каналами 2.
Таким образом, пористая основа по изобретению имеет пористость, определенную средней поперечной пористостью, возрастающей по мере продвижения внутри основы в направлении движения фильтрата, и постоянную среднюю продольную пористость, что позволяет обеспечить данной основе проницаемость, меньшую проницаемости известных подложек.
Другой задачей, на решение которой направлено настоящее изобретение, является предложение способа изготовления вышеописанной фильтрующей основы 1. Такой способ включает в себя этап, состоящий в модификации исходной основы в результате проникновения со стороны поверхности 3 основы, обращенной к обрабатываемому флюиду, неорганических частиц, средний диаметр которых меньше среднего диаметра «dp» пор исходной основы до модификации. Такое проникновение осуществляют так, чтобы получить среднюю поперечную пористость, возрастающую по мере продвижения внутрь основы в направлении, перпендикулярном поверхности 3 основы, обращенной к обрабатываемому флюиду, от данной поверхности 3 к поверхности 11 выхода фильтрата из основы 1, причем средняя продольная пористость остается однородной по мере продвижения внутрь основы 1 параллельно поверхности, обращенной к обрабатываемому флюиду, в направлении циркуляции обрабатываемого флюида.
Утверждение о том, что средний диаметр меньше среднего диаметра «dp» пор исходной основы, предпочтительно подразумевает, что средний диаметр неорганических частиц составляет от dp/100 до dp/2.
Проникновение частиц внутрь исходной основы осуществляют при помощи взвеси таких частиц, подвергнутой дефлокуляции. Дефлокуляция взвеси необходима во избежание образования агломератов частиц и для сохранения отдельных частиц, способных к проникновению в поры основы. В преимущественном варианте взвесь имеет низкую вязкость.
Такие частицы представляют собой частицы неорганического материала, например, металлических оксидов, причем неорганический материал, из которого образованы неорганические частицы, может совпадать с материалом, из которого изготовлена основа и/или любой из сепарирующих слоев 5.
После этапа проникновения частиц следует этап спекания, который позволяет сгруппировать частицы, имеющиеся в порах твердой основы 1, что приводит к увеличению и слиянию указанных частиц и к закреплению закупоривания пористой основы 1. Нижеследующее описание касается способа осуществления основы, представленной на фиг.2, содержащей по меньшей мере один внутренний канал 2. В этом случае проникновение частиц одинакового размера или смеси частиц различных размеров внутрь пор основы осуществляют на глубину «р», отмеренную от внутренней поверхности 3 основы 1, обращенной к обрабатываемому флюиду, и постоянную относительно перемещения в направлении, параллельном поверхности 3 основы 1, обращенной к обрабатываемому флюиду. Такое проникновение, постоянное по длине основы, но переменное по глубине (т.е. проникновение частиц становится тем меньше, чем больше глубина, отмеренная от внутренней поверхности 3 канала 2), может быть осуществлено методом глазуровки. По данному методу основу 1 помещают в вертикальное положение и наполняют канал 2 подвергнутой дефлокуляции взвесью неорганических частиц, средний диаметр которых меньше среднего диаметра «dp» пор основы (до закупоривания) при помощи перистальтического насоса с переменной скоростью вращения. Время наполнения канала обозначают Тr. Время, в течение которого основу оставляют наполненной взвесью при помощи воздействия на скорость вращения насоса, обозначают Та. Затем основу откачивают путем изменения направления вращения насоса на противоположное. Время откачки обозначают Tv. Три времени Тr, Та, Tv определяют время Тc соприкосновения каждой из точек внутренней поверхности 3 основы 1 с взвесью.
В точке х внутренней поверхности 3 основы 1, расположенной на высоте h, время Тc соприкосновения с взвесью равно:

где:
Tr = время наполнения,
Та = время ожидания с заполненной трубой,
Tv = время откачки,
Тc = время соприкосновения,
Qpr = расход насоса в процессе наполнения,
Qpv = расход насоса в процессе откачки,
Ss = площадь сечения каналов,
h = высота наполнения.
Глубина р проникновения частиц внутрь основы зависит от времени Тc соприкосновения между основой 1 и взвесью. Таким образом, изменяя параметры Тr, Та, Tv, можно получить глубину «р» проникновения, по существу постоянную от верхнего края основы до ее нижнего края. Используя различные значения времени Тc соприкосновения и регулируя значения Тr, Та и Tv в соответствии с соотношением (I), можно выбирать массу неорганических частиц, проникающих внутрь основы 1. Изменение глубины проникновения частиц осуществляется естественным образом по мере накопления частиц внутри основы 1 и уменьшения ее капиллярной пропускной способности.
Другая технология, позволяющая получить закупоривание с, однородное вдоль канала, заключается в двухэтапном вертикальном проникновении, предусматривающем переворот основы и, следовательно, обмен местами ее верхнего и нижнего краев, в середине процесса проникновения.
Настоящее изобретение позволяет изготавливать основы произвольного типа и, следовательно, мембраны, пористость и проницаемость которых соответствует конкретным требованиям. В частности, изобретение позволяет путем уменьшения проницаемости основы уменьшать проницаемость мембраны, изготавливаемой с использованием такой основы. Другая полезная особенность данного способа заключается в возможности регулирования итоговой проницаемости основы и, следовательно, мембраны. Действительно, уровень проницаемости может быть изменен путем регулировки различных параметров, например:
– выбором размера частиц, который, в частности, влияет на глубину проникновения и на плотность закупоривания,
– изменением концентрации взвеси, подвергнутой дефлокуляции изменением длительности пропитки,
– выбором количества операций пропитки. Может быть предусмотрено последовательное проведение нескольких операций проникновения частиц одинакового диаметра или различных диаметров, в частности, в случае использования ступенчатого градиента Pi.
Разумеется, изготовление пористой основы с такой пористостью, определенной, как описано выше, возрастающей средней поперечной пористостью и постоянной средней продольной пористостью, может быть осуществлено с использованием способов, отличающихся от вышеописанного. В частности, в случае плоской основы, не содержащей каналов, проникновение осуществляют со стороны поверхности 3, обращенной к обрабатываемому флюиду, причем данная поверхность расположена горизонтально.
В соответствии с другим аспектом изобретения закупоривание основы и осаждение сепарирующего слоя на поверхность 3 основы 1, обращенную к обрабатываемому флюиду, могут осуществлять последовательно или одновременно в непрерывном процессе. При этом для закупоривания основы могут использовать неорганические частицы, состав и размеры которых идентичны составу и размерам частиц, используемых для осаждения сепарирующего слоя 5.
Основа по изобретению может быть использована, в частности, для фильтрации разъедающих веществ с учетом того, что ее низкая пористость в области, непосредственно прилегающей к поверхности 3 основы 1, обращенной к обрабатываемому флюиду, обеспечивает удовлетворительный уровень фильтрации. При этом поверхность основы 1, обращенная к обрабатываемому флюиду, ограничивает канал циркуляции флюида.
В соответствии с одним из основных вариантов применения основу используют для изготовления мембран и соединяют с сепарирующим слоем 5, имеющим пористость, меньшую или равную наименьшей пористости основы, т.е. пористости в области, близкой к поверхности 3 основы 1, обращенной к обрабатываемому флюиду.
В соответствии с предпочтительным вариантом осуществления изобретения толщина сепарирующего слоя 5 может уменьшаться в направлении f циркуляции обрабатываемого флюида, как описано в патентной публикации ЕР 1074291.
Нижеследующее описание относится к примеру осуществления мембраны по изобретению.
В данном примере используют многоканальную основу с внешним диаметром, равным 25 мм, и длиной 1200 мм. Средний эквивалентный диаметр пор данной основы составляет 5 мкм.
Подготавливают взвесь частиц оксида циркония с размером зерна 0,6 мкм. Эту водяную взвесь дефлокулируют путем регулирования величины рН с использованием уксусной кислоты, после чего осуществляют ее измельчение в сосуде, содержащем шарики спеченного циркония. Взвесь не содержит никаких органических связующих веществ, а концентрация частиц в ней меньше 100 г/л. Значения этих двух параметров должны обеспечить крайне низкую вязкость.
Модификацию основы производят методом глазуровки с использованием данной взвеси. Проводят две операции осаждения, после которых осуществляют сушку. Затем наносят один или несколько фильтрующих слоев. Полученная в результате мембрана имеет порог пропускания, равный 0,14 мкм.
Измеренное значение проницаемости для воды составляет 500 л/ч/м2/бар. Для сравнения, измеренное значение проницаемости для воды мембраны, изготовленной аналогичным образом, но без этапа модификации основы, составляет 1500 л/ч/м2/бар.
На фиг.4, приведенной ниже, представлены результаты по проницаемости этих двух мембран при фильтрации молока; они прекрасно иллюстрируют ценность настоящего изобретения. Ясно видно, что использование основы по изобретению позволяет ограничить потери проницаемости мембраны в процессе работы.
Формула изобретения
1. Пористая основа (1) для тангенциальной фильтрации обрабатываемой текучей среды, имеющая, по меньшей мере, одну поверхность (3), обращенную к обрабатываемой текучей среде, перемещающейся в направлении движения обрабатываемой текучей среды, и поверхность (11) выхода фракции, именуемой фильтратом, проходящей сквозь пористую основу, отличающаяся тем, что пористая основа получена путем частичного закупоривания исходной основы неорганическими частицами, и тем, что основа (1) имеет до заданной постоянной глубины (е) от поверхности (3) основы, обращенной к обрабатываемой текучей среде, среднюю поперечную пористость, возрастающую по мере продвижения внутрь основы (1) в направлении, перпендикулярном поверхности (3) основы, обращенной к обрабатываемой текучей среде, от поверхности (3) основы, обращенной к обрабатываемой текучей среде, к поверхности (11) выхода фильтрата, причем средняя продольная пористость основы (1) однородна относительно перемещения внутрь основы (1) параллельно поверхности (3) основы, обращенной к обрабатываемой текучей среде, в направлении движения обрабатываемой текучей среды.
2. Основа по п.1, отличающаяся тем, что ее проницаемость уменьшена в 1,5-10 раз по сравнению с проницаемостью исходной основы.
3. Основа по п.1, отличающаяся тем, что основа выполнена из неорганического материала, а закупоривание исходной основы осуществлено путем проникновения неорганических частиц, имеющих средний диаметр, меньший среднего диаметра «dp» пор исходной основы, через поверхность основы, обращенную к обрабатываемой текучей среде, от поверхности, обращенной к обрабатываемой текучей среде, в направлении к поверхности выхода фильтрата.
4. Основа по п.1, отличающаяся тем, что средний диаметр пор возрастает до глубины (е) основы (1) по мере продвижения внутрь основы (1) в направлении, перпендикулярном поверхности (3) основы, обращенной к обрабатываемой текучей среде, от поверхности (3) основы, обращенной к обрабатываемой текучей среде, к поверхности (11) выхода фильтрата.
5. Основа по любому из пп.1-4, отличающаяся тем, что основа (1) выполнена путем частичного закупоривания исходной основы со стороны поверхности (3) основы, обращенной к обрабатываемой текучей среде, до заданной постоянной глубины (р) от поверхности (3) основы, обращенной к обрабатываемой текучей среде.
6. Основа по любому из пп.1-4, отличающаяся тем, что основа частично закупорена с обеспечением до заданной постоянной глубины (р) средней поперечной пористости, возрастающей по мере продвижения внутрь основы в направлении, перпендикулярном поверхности (3) основы, обращенной к обрабатываемой текучей среде, от поверхности (3) основы, обращенной к обрабатываемой текучей среде, к поверхности (11) выхода фильтрата.
7. Основа по п.5, отличающаяся тем, что заданная глубина (р) закупоривания превышает средний радиус спекшихся частиц, образующих исходную основу, и предпочтительно превышает их средний диаметр.
8. Основа по п.5, отличающаяся тем, что глубина (р) закупоривания больше или равна 2,5 мкм, предпочтительно больше или равна 5 мкм.
9. Основа по п.5, отличающаяся тем, что основа частично закупорена в результате проникновения со стороны поверхности (3) основы, обращенной к обрабатываемой текучей среде, неорганических частиц, средний диаметр которых меньше среднего диаметра (dp) пор основы до закупоривания и предпочтительно составляет от dp/100 до dp/2.
10. Основа по п.9, отличающаяся тем, что после проникновения неорганических частиц осуществлена операция спекания.
11. Основа по п.5, отличающаяся тем, что средняя поперечная пористость равномерно и непрерывно возрастает до глубины (р) по мере продвижения внутрь основы (1) в направлении, перпендикулярном поверхности (3) основы, обращенной к обрабатываемой текучей среде, от поверхности (3) основы, обращенной к обрабатываемой текучей среде, к поверхности (11) выхода фильтрата.
12. Основа по п.1, отличающаяся тем, что средняя поперечная пористость возрастает ступенчатым образом (Рi) по мере продвижения внутрь основы (1) в направлении, перпендикулярном поверхности (3) основы, обращенной к обрабатываемой текучей среде, от поверхности (3) основы, обращенной к обрабатываемой текучей среде, к поверхности (11) выхода фильтрата.
13. Основа по любому из пп.1-4, отличающаяся тем, что она содержит, по меньшей мере, один внутренний канал (2), открытый с обоих концов и ограниченный поверхностью (3) основы, обращенной к обрабатываемой текучей среде.
14. Мембрана (4) для тангенциальной фильтрации обрабатываемой текучей среды, в которой пористая основа (1), охарактеризованная в любом из пп.1-13, соединена, по меньшей мере, с одним сепарирующим слоем (5) для обрабатываемой текучей среды, покрывающим поверхность (3) основы, обращенную к обрабатываемой текучей среде, причем пористость сепарирующего слоя (5) меньше пористости основы (1).
15. Мембрана по п.14, отличающаяся тем, что толщина сепарирующего слоя (5) уменьшается в направлении (f) движения обрабатываемой текучей среды.
16. Способ изготовления пористой основы (1), предназначенной для формирования мембраны (4) для тангенциальной фильтрации обрабатываемой текучей среды, имеющей, по меньшей мере, одну поверхность (3), обращенную к обрабатываемой текучей среде, перемещающейся в направлении движения обрабатываемой текучей среды, и поверхность (11) выхода фракции, именуемой фильтратом, проходящей сквозь пористую основу, отличающийся тем, что включает в себя этап, на котором исходную пористую основу модифицируют путем осуществления проникновения неорганических частиц по существу до постоянной глубины (р) от поверхности (3) основы, обращенной к обрабатываемой текучей среде, причем средний диаметр неорганических частиц меньше среднего диаметра (dp) пор исходной основы, с получением средней поперечной пористости, возрастающей по мере продвижения внутрь основы в направлении, перпендикулярном поверхности (3) основы, обращенной к обрабатываемой текучей среде, от поверхности (3) основы, обращенной к обрабатываемой текучей среде, к поверхности (11) выхода фильтрата, и с получением средней продольной пористости основы (1), однородной относительно перемещения внутрь основы (1) параллельно поверхности (3) основы, обращенной к обрабатываемой текучей среде, в направлении движения обрабатываемой текучей среды.
17. Способ по п.16, отличающийся тем, что основа выполнена из неорганического материала.
18. Способ по п.16, отличающийся тем, что после этапа модификации пористой основы путем обеспечения проникновения указанных частиц, осуществляют этап спекания.
19. Способ по пп.16, 17 или 18, отличающийся тем, что средний диаметр неорганических частиц составляет от dp/100 до dp/2.
20. Способ по пп.16, 17 или 18, отличающийся тем, что проникновение неорганических частиц осуществляют до глубины (р), превышающей средний радиус спекшихся частиц, образующих исходную основу, и предпочтительно превышающей их средний диаметр.
21. Способ по пп.16, 17 или 18, отличающийся тем, что закупоривание основы уменьшается до глубины (р) проникновения неорганических частиц по мере продвижения внутрь основы в направлении, перпендикулярном поверхности (3) основы, обращенной к обрабатываемой текучей среде, от поверхности (3) основы, обращенной к обрабатываемой текучей среде, к поверхности (11) выхода фильтрата.
РИСУНКИ
|
|