|
|
(21), (22) Заявка: 2008149058/12, 15.12.2008
(24) Дата начала отсчета срока действия патента:
15.12.2008
(46) Опубликовано: 27.03.2010
(56) Список документов, цитированных в отчете о поиске:
SU 1189460 А, 30.01.1987. US 2001051477 А1, 13.12.2001. SU 1294358 A1, 07.03.1987. US 2557367 A, 19.06.1951. SU 1725930 A1, 15.04.1992. GB 2197796 A, 02.06.1988.
Адрес для переписки:
117418, Москва, ул. Зюзинская, 4, корп.1, кв.103, И.С. Иванову
|
(72) Автор(ы):
Иванов Игорь Серафимович (RU), Иванов Игнат Игоревич (RU)
(73) Патентообладатель(и):
Иванов Игорь Серафимович (RU), Иванов Игнат Игоревич (RU)
|
(54) ЛАСТ
(57) Реферат:
Изобретение относится к снаряжению для пловцов и ныряльщиков, может быть использовано для любителей плавания и отдыхающих, а также в качестве начального снаряжения для плавания. Ласт содержит лопасть с галошей или полугалошей. В торцах лопасти и галоши или полугалоши установлены ответные поворотные механизмы фиксации. Механизмы фиксации имеют возможность изменения угла наклона лопасти для создания различных режимов плавания и фиксации под заданным углом лопасти и галоши или полугалоши. Техническим результатом изобретения является обеспечение изменения угла наклона лопасти ласта к галоше для создания различных режимов плавания. 11 ил.
Изобретение относится к снаряжению для пловцов и ныряльщиков, может быть использовано для любителей плавания и отдыхающих, а также в качестве начального снаряжения для плавания.
Известен ласт, содержащий галошу и лопасть, причем лопасть ласта выполнена съемной (патент США 2903719, 1955 г.).
Известен ласт, содержащий галошу и съемную лопасть, закрепляемую посредством пружинного соединения в форме ласточкина хвоста (патент США 318738, 1961 г.).
Недостатком известных устройств является невозможность изменять угол наклона лопасти к галоше ласта.
Наиболее близким по технической сути к заявляемому устройству является ласт, содержащий галошу с проушиной и шарнирно смонтированную на ней гребную лопасть с фиксатором ее положения на ноге в нерабочем положении, причем она снабжена средством для перевода гребной лопасти в рабочее положение в виде подпружиненного одноплечего рычага (патент SU 1189460, А63В 31/08,1985 г.).
Недостатком известного устройства является невозможность изменения угла наклона лопасти к галоше.
Техническим результатом изобретения является обеспечение изменения угла наклона лопасти ласта к галоше для создания различных режимов плавания.
Технический результат достигается тем, что ласт содержит лопасть, связанную с галошей или полугалошей фиксатором, причем лопасть и галоша или полугалоша снабжены ответными механизмами фиксации, ответные механизмы фиксации установлены в торцах лопасти и галоши или полугалоши и соответствуют друг другу, при этом ласт и галоша или полугалоша могут быть установлены и фиксированы под заданным углом друг к другу.
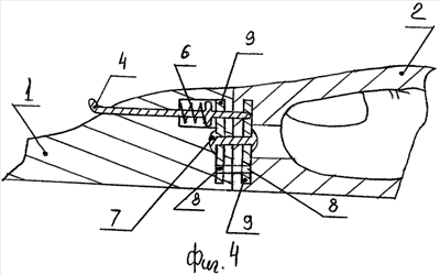
Сущность изобретения поясняется чертежами, где на фиг.1 показан ласт с одной лопастью; на фиг.2 – галоша и комбинированная лопасть ласта в разобранном состоянии; на фиг.3 – ласт с одной лопастью, установленный под углом к галоше, вид спереди; на фиг.4 – вариант поворотного механизма, стык лопасти и галоши, продольный разрез; на фиг.5 – ласт с комбинированной лопастью и полугалошей, закрепленный эластичным ремнем на ноге; на фиг.6 – ласт с комбинированной лопастью, со звездчатой четырехлучевой полугалошей; на фиг.7 – ласт в разобранном состоянии, состоящий из комбинированной лопасти, цельной галоши и фиксаторов; на фиг.8 – ласт с лопастью, установленной пол углом к галоше, на фиг.9 – ласт с лопастью, установленной под углом к галоше на ноге пользователя; на фиг.10 – ласты с лопастями, ориентированными наружу относительно пользователя, вид сзади; на фиг.11 – ласты с лопастями, ориентированными вовнутрь относительно пользователя, вид сзади.
Ласт содержит лопасть 1, связанную с галошей 2 или полугалошей 3 фиксатором 4. Лопасть 1 может быть простой (фиг.1, фиг.3, фиг.8, фиг.9, фиг.10, фиг.11) или комбинированной, состоящей из 2-х (фиг.2, фиг.5, фиг.6, фиг.7), 3-х, 4-х и более лопастей. Лопасть ласта 1 может быть выполнен из резины полимеров, например полиэтилена, пенополиэтилена, полистирола и пр. Для увеличения гибкости и подвижности лопасти 1 могут выполняться с прорезями различной формы или с синусоидальным или иным краем, обеспечивающим подвижность. Галоша 2 и полугалоша 3 выполняются из эластичных материалов или резины. Фиксатор 4 может быть выполнен в виде болтового соединения (фиг.2) с направляющими 5. Фиксатор 4 может быть представлен штоком с пружиной 6 (фиг.4), а лопасть 1 и галоша 2, при этом, закреплены на поворотной оси 7 относительно друг друга. Фиксатор 4 в виде штока входит в отверстия 8 дисков 9 лопасти 1 и галоши 2, обеспечивая удержание лопасти 1 и галоши 2 относительно заданного положения. В зависимости от количества отверстий 8 на диске 9 может быть задано больше или меньше установочных положений лопасти 1 относительно галоши 2. В случае выполнения ласта с полугалошей 3 (фиг.5, фиг.6) число заданных положений зависит от числа лучей в полости 10 (в поперечнике) для стопы пользователя. Их может быть 4 (фиг.6), 6, 8 и т.д., угол наклона простой лопасти 1 или комбинированной лопасти 1 будет зависеть от того, в какую полость 10 пользователь вставит стопу. Ласт может быть выполнен из галоши 2 с прорезями 11 и простой или комбинированной лопастью 1. Количество прорезей 11 зависит от того, под какими углами планируется эксплуатировать устройство. Число прорезей 11 в галоше 2 может быть 2, 4, 6, 8 и более. Лопасть 1 такого ласта может быть закреплена, например, фиксаторами 4 в виде болтов. Полуласт 3 может крепиться с помощью фиксатора ноги 11, например, в виде ремня, эластичной связки, ленточной стяжки и пр.
Ласт работает следующим образом. Пользователь отпускает фиксатор 4 и устанавливает лопасть 1 в требуемое положение, после чего закрепляет фиксатором 4 лопасть 1 к галоше 2. Если лопасть 1 простая и выполнена единой, то она может быть закреплена под углом к галоше 2. Такое крепление позволяет пользователю плавать, не сбиваясь с курса, плавать с учетом подводного течения без дополнительной корректировки курса, выбирать жесткую или плавную манеру перемещения и пр. Если лопасть 1 сложная и состоит из нескольких лопастей, то, выбирая в качестве рабочей лопасти, например, большую, обеспечивают высокую скорость плавания. Малой, вертикальной в данном случае лопастью, пользуются как корректирующей положение при исследовании подводных объектов. Причем, если большой рабочей лопастью для плавания совершают движения в вертикальной плоскости, то малой лопастью осуществляют движение горизонтальными перемещениями, сводя и разводя ноги в горизонтальной плоскости. Если же проводят исследование подводных объектов, то ведущую роль выполняет малая лопасть в комбинированной лопасти. Большая лопасть будет нести функцию корректирующей. При установке комбинированной лопасти 1 в промежуточное положение относительно галоши 2, т.е. в горизонтальной плоскости будет находиться угол пересечения лопастей, обеспечивается целевое направленное плавание.
Ласт обеспечивает изменение угла наклона лопасти ласта к галоше для создания различных режимов плавания. В основе изменения угла наклона лопасти к галоше ласта могут иметь место различные механизмы: поворотная ось с фиксатором, фиксатор заданного положения или установка ноги пользователя в ту или иную прорезь галоши ласта, что в конечном результате обеспечивает изменение угла наклона лопасти ласта к его галоше.
Формула изобретения
Ласт, содержащий лопасть, связанную фиксатором с галошей или полугалошей, отличающийся тем, что лопасть и галоша или полугалоша снабжены ответными поворотными механизмами фиксации, установленными в торцах лопасти и галоши или полугалоши, с возможностью изменения угла наклона для создания различных режимов плавания и фиксации под заданным углом лопасти и галоши или полугалоши.
РИСУНКИ
|
|