|
|
(21), (22) Заявка: 2009101184/09, 20.06.2007
(24) Дата начала отсчета срока действия патента:
20.06.2007
(30) Конвенционный приоритет:
23.06.2006 JP 2006-174010
(46) Опубликовано: 20.03.2010
(56) Список документов, цитированных в отчете о поиске:
JP 2003-284302 A, 03.10.2003. SU 330512 A, 15.04.1972. SU 610254 A, 18.05.1978. RU 2265945 C1, 10.12.2005. RU 2237338 C2, 27.09.2004. JP 2003-284303 A, 03.10.2003. JP 2005-224001 A, 18.08.2005. EP 1247324 A1, 09.10.2002.
(85) Дата перевода заявки PCT на национальную фазу:
15.01.2009
(86) Заявка PCT:
JP 2007/062453 20070620
(87) Публикация PCT:
WO 2007/148736 20071227
Адрес для переписки:
129090, Москва, ул.Б.Спасская, 25, стр.3, ООО “Юридическая фирма Городисский и Партнеры”, пат.пов. А.В.Мицу, рег. 364
|
(72) Автор(ы):
ТАКЕДА Тосио (JP), ООТА Томоя (JP), ТОГАВА Хироюки (JP), СУГИМОТО Хидехико (JP), ОКАЗАКИ Тору (JP)
(73) Патентообладатель(и):
АйЭйчАй КОРПОРЕЙШН (JP), СУМИТОМО ЭЛЕКТРИК ИНДАСТРИЗ, ЛТД. (JP)
|
(54) СИНХРОННАЯ МАШИНА ИНДУКТОРНОГО ТИПА
(57) Реферат:
Изобретение относится к области электротехники, в частности – к синхронным машинам индукторного типа, вращающимся при синхронизации изменения полярности якоря и вращения вала. Предлагаемая синхронная машина индукторного типа имеет конструкцию с осевым зазором, которая содержит часть вала в ее центре, причем данная машина включает в себя статор на стороне поля, который содержит ярмо, изготовленное из магнитного материала, и тело возбуждения, выступающее из ярма в осевом направлении вала для образования полюса N и полюса S в радиальном направлении, ротор, который содержит индукторы полюса S, расположенные таким образом, чтобы находиться напротив полюса N, образуемого телом возбуждения, причем индукторы полюса S расположены таким образом, чтобы находиться напротив полюса S, образуемого телом возбуждения, и статор на стороне якоря, в котором катушка якоря расположена таким образом, чтобы находиться напротив индукторов полюса N и индукторов полюса S. Технический результат – упрощение конструкции и уменьшение осевых размеров синхронной машины индукторного типа. 2 з.п. ф-лы, 6 ил.
Область техники, к которой относится изобретение
Настоящее изобретение относится к синхронной машине индукторного типа, вращающейся при синхронизации изменения полярности якоря и вращения вращающегося вала.
Настоящая заявка испрашивает приоритет японской заявки на патент 2006-174010, поданной 23 июня 2006 г., содержание которой включено в данный документ.
Уровень техники
Раньше использовались электрические генераторы или двигатели, содержащие ротор, в котором размещается катушка возбуждения, статор, в котором катушка якоря размещается таким образом, чтобы находиться напротив катушки возбуждения, и вращающийся вал, соединенный и прикрепленный к ротору. В синхронной машине данного типа вращающаяся катушка возбуждения питалась электрической энергией посредством токосъемного контактного кольца, соединенного с одним концом вращающегося вала (например, см. патентные документы 1 и 2).
Патентный документ 1: японская заявка на патент, Первая публикация 54-116610.
Патентный документ 2: японская заявка на патент, Первая публикация 6-86517.
Сущность изобретения
Задачи, решаемые настоящим изобретением
Однако требуется, чтобы большая величина тока протекала в катушку, когда значительное вращающее усилие обеспечивается вышеописанной обычной синхронной машиной индукторного типа. Поэтому размеры всей машины, включающей в себя данную катушку, увеличиваются. Кроме того, поскольку обычная токопроводящая катушка размещается в роторе, требуется, чтобы большая величина тока протекала в катушку при увеличении выходной мощности вращающегося вала. Следовательно, конструкция для подачи электрической энергии в катушку с использованием вращения становится усложненной и увеличивается в размерах.
Настоящее изобретение создано для решения вышеописанной задачи. В частности, целью настоящего изобретения является создание синхронной машины индукторного типа, которая может быть уменьшена в осевом направлении.
Средства для решения задачи
Для достижения вышеупомянутой цели первый аспект настоящего изобретения касается синхронной машины индукторного типа, содержащей конструкцию с осевым зазором, которая содержит часть вала в ее центре. Синхронная машина индукторного типа включает в себя: статор, создающий магнитное поле, который содержит ярмо, изготовленное из магнитного материала, и тело возбуждения, выступающее из ярма в осевом направлении вала для образования полюса N и полюса S в радиальном направлении; ротор, который содержит индукторы полюса N, расположенные таким образом, чтобы находиться напротив полюса N, образованного телом возбуждения, и индукторы полюса S, расположенные таким образом, чтобы находиться напротив полюса S, образованного телом возбуждения; и статор на стороне якоря, в котором катушка якоря расположена таким образом, чтобы находиться напротив индукторов полюса N и индукторов полюса S.
В настоящем изобретении индукторы полюса N и индукторы полюса S могут быть выполнены с возможностью окружения тела возбуждения в радиальном направлении.
Второй аспект настоящего изобретения касается синхронной машины индукторного типа, соответствующей первому аспекту, в которой телом возбуждения является катушка возбуждения, зацепляющий паз, зацепляющийся с катушкой возбуждения, расположен в боковой поверхности ротора вокруг вала, часть индукторов полюса N расположены таким образом, чтобы находиться напротив одной из наружной периферийной стороны или внутренней периферийной стороны катушки возбуждения, в то время когда они обращены к зацепляющему пазу, и часть индукторов полюса S расположены таким образом, чтобы находиться напротив другой наружной периферийной стороны или внутренней периферийной стороны катушки возбуждения, в то время когда они обращены к зацепляющему пазу.
В настоящем изобретении посредством зацепления катушки возбуждения с зацепляющим пазом ротора катушка возбуждения может быть расположена таким образом, чтобы размещаться в роторе. Следовательно, только толщина, требующаяся для ярма, может рассматриваться как толщина статора на стороне поля в его осевом направлении, и длина синхронной машины в направлении вращающегося вала может быть уменьшена.
Третий аспект настоящего изобретения касается синхронной машины индукторного типа, соответствующей второму аспекту, в которой, по меньшей мере, одна из катушки возбуждения и катушки якоря изготовлена из сверхпроводящего материала.
В настоящем изобретении размеры тела возбуждения и катушки якоря могут быть уменьшены по сравнению с элементами обычной машины, даже при применении такой же величины тока, которая применяется в обычной машине, и могут быть также уменьшены размеры сверхпроводящего электродвигателя.
Эффект настоящего изобретения
В соответствии с настоящим изобретением длина синхронной машины в осевом направлении вращающегося вала может быть уменьшена по сравнению с вариантом, в котором тело возбуждения расположено таким образом, чтобы находиться напротив индуктора полюса N и индуктора полюса S в осевом направлении.
Краткое описание чертежей
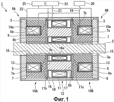
Фиг.1 изображает вид в разрезе, схематично иллюстрирующий внутреннюю конструкцию сверхпроводящего электродвигателя в соответствии с вариантом осуществления настоящего изобретения.
Фиг.2 изображает перспективный вид, иллюстрирующий корпус ротора сверхпроводящего электродвигателя в соответствии с вариантом осуществления настоящего изобретения.
Фиг.3 изображает перспективный вид, иллюстрирующий индуктор полюса N сверхпроводящего электродвигателя в соответствии с вариантом осуществления настоящего изобретения.
Фиг.4 изображает перспективный вид, иллюстрирующий размещение индукторов полюса N и индукторов полюса S сверхпроводящего электродвигателя в соответствии с вариантом осуществления настоящего изобретения.
Фиг.5 изображает перспективный вид, иллюстрирующий размещение индукторов полюса N и индукторов полюса S сверхпроводящего электродвигателя в соответствии с вариантом осуществления настоящего изобретения.
Фиг.6 изображает перспективный вид, иллюстрирующий индуктор полюса S сверхпроводящего электродвигателя в соответствии с вариантом осуществления настоящего изобретения.
Описание ссылочных позиций и условных знаков
1: Сверхпроводящий электродвигатель (синхронная машина индукторного типа)
2: Вращающийся вал (Часть вала)
3: Ярмо
5: Катушка возбуждения (Тело возбуждения)
6А,6В: Статор на стороне поля
7: Индуктор полюса N
8: Индуктор полюса S
10А, 10В: Ротор
10а: Зацепляющий паз
11: Катушка якоря
12: Статор на стороне якоря
Предпочтительный вариант осуществления изобретения
Вариант осуществления настоящего изобретения будет описан со ссылкой на фиг.1-6.
Как проиллюстрировано на фиг.1, сверхпроводящим электродвигателем (синхронной машиной индукторного типа) 1 в соответствии с настоящим изобретением является сверхпроводящий электродвигатель, имеющий конструкцию с осевым зазором, которая содержит вращающийся вал (часть вала) 2 в ее центре. Сверхпроводящий электродвигатель включает в себя: пару статоров 6А и 6В на стороне поля, каждый из которых содержит ярмо 3, изготовленное из магнитного материала, и катушку возбуждения (тело возбуждения) 5, выступающую из ярма 3 в осевом направлении вращающегося вала 2 для образования полюса N и полюса S в радиальном направлении, и которые расположены с двух сторон таким образом, чтобы быть напротив друг друга в направлении вращающегося вала 2; пару роторов 10А и 10В, каждый из которых содержит индукторы 7 полюса N, расположенные таким образом, чтобы находиться напротив полюса N, образуемого катушкой 5 возбуждения, и намагниченные, и индукторы 8 полюса S, расположенные таким образом, чтобы находиться напротив полюса S, образуемого катушкой 5 возбуждения, и намагниченные, и которые расположены с двух сторон таким образом, чтобы находиться напротив друг друга в направлении вращающегося вала 2; и статор 12 на стороне якоря, который содержит катушки 11 якоря, расположенные таким образом, чтобы находиться напротив индукторов 7 полюса N и индукторов 8 полюса S, поддерживает вращающийся вал 2 таким образом, что вращающийся вал может вращаться и проходить через него, и удерживается между парой роторов 10А и 10В.
Ярмо 3 изготовлено из магнитного материала, такого как пермендюр, листовая кремнистая сталь, железо, пермаллой или подобный материал, и выполнено в виде диска, имеющего заданную толщину в направлении вращающегося вала 2. В центре ярма 3 имеется сквозное отверстие 3а, имеющее такой диаметр, чтобы обеспечить прохождение через него вращающегося вала 2. Емкости 13 для охлаждающего средства для теплоизоляции катушки возбуждения, которые выполнены в кольцевой форме вокруг вращающегося вала 2, выступают в направлении вращающегося вала 2 из внутренних поверхностей ярма 3 напротив друг друга. Емкости 13 для охлаждающего средства для теплоизоляции катушки возбуждения заполнены жидким азотом, и в них размещается катушка 5 возбуждения.
Катушка 5 возбуждения изготовлена из сверхпроводящего материала на основе висмута или иттрия. Катушка возбуждения размещается в емкости 13 для охлаждающего средства для теплоизоляции катушки возбуждения таким образом, что она обмотана вокруг вращающегося вала 2. Поэтому, когда катушка 5 возбуждения возбуждается, магнитный полюс образуется с каждой из наружной периферийной стороны и внутренней периферийной стороны, которые разделены в радиальном направлении.
Как проиллюстрировано на фиг.2, каждый из пары роторов 10А и 10В имеет тело 15 ротора, изготовленное из немагнитного материала, такого как стеклопластик или нержавеющая сталь, и обеспечивает установку вращающегося вала 2 в установочном отверстии 15а, расположенном в его центре. В наружной поверхности тела 15 ротора, напротив ярма 3, зацепляющий паз 10а, зацепляющийся с катушкой 5 возбуждения, образован в кольцевой форме вокруг вращающегося вала 2. Множество вогнутых участков 10b и 10с для размещения образовано в периферийном направлении таким образом, чтобы окружать зацепляющее отверстие 10а и размещать в них индукторы 7 полюса N и индукторы 8 полюса S.
Как проиллюстрировано на фиг.3, индукторы 7 полюса N содержат одну концевую поверхность 7а, которая выполнена в виде криволинейной поверхности таким образом, чтобы находиться напротив емкости 13 для охлаждающего средства для теплоизоляции катушки возбуждения снаружи или изнутри в радиальном направлении, и другую концевую поверхность 7b, которая выполнена в виде эллиптической пластины, чтобы быть удлиненной в периферийном направлении тела 15 ротора и укороченной в радиальном направлении, когда она расположена напротив цилиндрического магнитного тела 17, описанного ниже, или по существу в виде диска. Как проиллюстрировано на фиг.4 и 5, все 4 индуктора 7 полюса N расположены так, что каждый находится в положении точечной симметрии относительно центра тела 15 ротора проникающим способом в направлении вращающегося вала 2. В данном случае одна концевая поверхность 7а каждого индуктора 7 полюса N расположена так, чтобы находиться напротив положения образования полюса N катушки 5 возбуждения, в то время когда она обращена к зацепляющему пазу 10а. Другая концевая поверхность 7b расположена так, чтобы находиться напротив катушки 11 якоря.
Как проиллюстрировано на фиг.6, индукторы 8 полюса S содержат одну концевую поверхность 8а, которая выполнена в виде криволинейной поверхности таким образом, чтобы находиться напротив емкости 13 снаружи или изнутри в радиальном направлении, и другую концевую поверхность 8b, которая выполнена в виде эллиптической пластины, чтобы быть удлиненной в периферийном направлении тела 15 ротора и укороченной в радиальном направлении, когда расположена напротив цилиндрического магнитного тела 17, описанного ниже, или по существу в виде диска. Как проиллюстрировано на фиг.4 и 5, все 4 индуктора 8 полюса S соответственно расположены в положении точечной симметрии относительно центра тела 15 ротора и отличаются по фазе примерно на 90 градусов относительно индуктора 7 полюса N проникающим способом в направлении вращающегося вала 2. В данном случае одна концевая поверхность 8а каждого индуктора 8 полюса S расположена так, чтобы находиться напротив положения образования полюса S катушки 5 возбуждения, в то время когда она обращена к зацепляющему пазу 10а. Другая концевая поверхность 8b расположена так, чтобы находиться напротив катушки 11 якоря. Индукторы 7 полюса N и индукторы 8 полюса S изготовлены из магнитного материала, такого как пермендюр, листовая кремнистая сталь, железо, пермаллой или подобный материал.
Статор 12 на стороне якоря содержит тело 16 статора, изготовленное из немагнитного материала, такого как стеклопластик или нержавеющая сталь. В центре тела 16 статора имеется сквозное отверстие 16а, через которое проходит вращающийся вал 2. В теле 16 статора цилиндрические магнитные тела 17, выполненные из материала с высокой магнитной проницаемостью, такого как пермендюр, листовая кремнистая сталь, железо, пермаллой или подобный материал, и емкости 18 для охлаждающего средства для теплоизоляции якоря, выполненные в виде толстого цилиндра и содержащие в нем полую часть, расположены таким образом, чтобы пронизывать тело 16 статора. Шесть цилиндрических магнитных тел 17 встроены с заданными интервалами на одной и той же периферии вокруг сквозного отверстия 16а, так что обе их концевые поверхности 17а и 17b расположены напротив индуктора 7 полюса N и индуктора 8 полюса S.
Емкости 18 для охлаждающего средства для теплоизоляции якоря размещаются в теле 16 статора, когда они вставлены на наружной стороне каждого цилиндрического магнитного тела 17. В каждой емкости 18 для охлаждающего средства для теплоизоляции якоря катушка 11 якоря, изготовленная из сверхпроводящего материала на основе висмута или иттрия, расположена таким образом, что она намотана на внутренней периферийной поверхности каждой емкости 18 для охлаждающего средства для теплоизоляции якоря.
Источник 20 постоянного тока соединяется с катушкой 5 возбуждения посредством электрического провода 19 постоянного тока. Кроме того, источник 22 переменного тока соединен с катушкой 11 якоря посредством электрического провода 21 переменного тока. Тем временем охладитель 25, использующий жидкий азот в качестве охлаждающего средства, посредством охлаждающего трубопровода 23 соединяется с емкостью 13 для охлаждающего средства для теплоизоляции катушки возбуждения и емкостью 18 для охлаждающего средства для теплоизоляции якоря. Охладитель 25 соединяется с источником энергии возбуждения (не проиллюстрирован) для охлаждения и циркуляции жидкого азота.
Ниже будет описана работа сверхпроводящего электродвигателя 1 в соответствии с данным вариантом осуществления.
Сначала приводится в действие охладитель 25 для подачи жидкого азота в емкость 13 для охлаждающего средства для теплоизоляции катушки возбуждения и емкость 18 для охлаждающего средства для теплоизоляции якоря посредством охлаждающего трубопровода 23. Катушка 5 возбуждения и катушка 11 якоря, расположенные в емкости 13 для охлаждающего вещества для теплоизоляции поля и емкости 18 для охлаждающего средства для теплоизоляции якоря, охлаждаются до сверхпроводящего состояния.
Затем постоянный ток подается в каждую катушку 5 возбуждения из источника 20 постоянного тока. Тем временем, в зависимости от направления постоянного тока, например, полюс N образуется снаружи в радиальном направлении катушки 5 возбуждения, и полюс S образуется внутри в радиальном направлении в статоре 6А на стороне поля. Следовательно, полюс N направлен на другую концевую поверхность 7b индуктора 7 полюса N, которая расположена напротив статора 12 на стороне якоря. С другой стороны, полюс S направлен на другую концевую поверхность 8b индуктора 8 полюса S, которая расположена напротив статора 12 на стороне якоря. Те же магнитные полюса образуются в зависимости от направления постоянного тока в статоре 6В на стороне поля, и полюса N и S направлены на другие концевые поверхности 7b и 8b индуктора 7 полюса N и индуктора 8 полюса S, соответственно.
В данном состоянии трехфазный переменный ток подается в катушку 11 якоря из источника 22 переменного тока. Тем временем посредством разностей фаз между тремя фазами, в катушке 11 якоря образуется вращающееся магнитное поле, вращающееся вокруг оси 2 вращения. Вращающееся магнитное поле создает вращающее усилие вокруг оси вращающегося вала в том же направлении между парой роторов 10А и 10В по направлению к индуктору 7 полюса N и индуктору 8 полюса S, и таким образом вращающийся вал 2 вращается.
В соответствии с данным сверхпроводящим электродвигателем 1 токи протекают в катушку 5 возбуждения и катушку 11 якоря, возбуждая их. В результате вращающийся вал 2 вращается посредством пары роторов 10А и 10В, и может быть создано вращающее усилие. В данном случае, поскольку катушка 5 возбуждения и катушка 11 якоря изготовлены из сверхпроводящего материала, размеры катушки возбуждения и катушки якоря могут быть уменьшены по сравнению с катушками обычного электродвигателя, даже при применении такой же величины тока, которая применяется в обычном электродвигателе, и могут быть уменьшены размеры сверхпроводящего электродвигателя.
Кроме того, поскольку в паре роторов 10А и 10В катушки отсутствуют, только 5 катушка возбуждения и катушка 11 якоря, расположенные в статорах, могут снабжаться электрической энергией и охлаждаться, и электрическая система и охлаждающая система могут быть упрощены по конструкции. В данном случае, посредством зацепления катушки 5 возбуждения с зацепляющим пазом 10а тела 15 ротора, катушка 5 возбуждения может быть расположена в теле 15 ротора таким образом, чтобы быть окруженной индуктором 7 полюса N и индуктором 8 полюса S в радиальном направлении. Следовательно, как толщина каждого из статоров 6А и 6В на стороне поля в их осевом направлении, только толщина, требующаяся для ярма 3, может рассматриваться без учета величины выступа катушки 5 возбуждения в ротор 10А или 10В, и длина электродвигателя в направлении вращающегося вала 2 может быть уменьшена.
Технический объем настоящего изобретения не ограничивается вышеописанным вариантом осуществления, и различные изменения могут быть выполнены без отхода от сущности и объема формулы настоящего изобретения. Например, в вышеописанном варианте осуществления синхронной машиной индукторного типа является сверхпроводящий электродвигатель. Однако синхронная машина индукторного типа может быть использована в качестве электрического генератора, который генерирует электрическую энергию посредством вращения вращающегося вала 2.
Кроме того, в вышеописанном варианте осуществления настоящее изобретение использует внутренний ротор, в котором вращающийся вал 2, соединенный с центрами пары роторов 10А и 10В, вращается с парой роторов 10А и 10В, но не ограничивается ими. Например, настоящее изобретение может обеспечить синхронную машину индукторного типа с внутренним ротором, в которой частью вала, расположенной в ее центре, является неподвижный вал, а наружная периферия соединена с парой роторов.
Кроме того, количество комбинаций индукторов полюса N и индукторов полюса S, а также количество катушек якоря не ограничивается приведенным выше описанием. Например, количество индукторов полюса N и количество индукторов полюса S может быть равно двум, а количество катушек якоря может быть равно трем. Кроме того, количество индукторов полюса N и количество индукторов полюса S может быть равно восьми, а количество катушек якоря может быть равно двенадцати.
Формула изобретения
1. Синхронная машина индукторного типа, имеющая конструкцию с осевым зазором, которая имеет часть вала в ее центре, причем синхронная машина индукторного типа содержит: статор на стороне поля, который содержит ярмо, изготовленное из магнитного материала, и тело возбуждения, выступающее из ярма в осевом направлении части вала для образования полюса N и полюса S в радиальном направлении; ротор, который имеет индукторы полюса N, расположенные таким образом, чтобы находиться напротив полюса N, сформированного телом возбуждения, и индукторы полюса S, расположенные таким образом, чтобы находиться напротив полюса S, сформированного телом возбуждения; и статор на стороне якоря, в котором катушка якоря расположена таким образом, чтобы находиться напротив индукторов полюса N и индукторов полюса S.
2. Синхронная машина индукторного типа по п.1, в которой телом возбуждения является катушка возбуждения, зацепляющий паз, зацепляющийся с катушкой возбуждения, обеспеченный в боковой поверхности ротора вокруг части вала, часть индукторов полюса N расположена таким образом, чтобы находиться напротив одной из наружной периферийной стороны или внутренней периферийной стороны катушки возбуждения, в то время когда она обращена к зацепляющему пазу, и часть индукторов полюса N расположена таким образом, чтобы находиться напротив другой наружной периферийной стороны или внутренней периферийной стороны катушки возбуждения, в то время когда она обращена к зацепляющему пазу.
3. Синхронная машина индукторного типа по п.2, в которой, по меньшей мере, одна из катушки возбуждения и катушки якоря изготовлена из сверхпроводящего материала.
РИСУНКИ
|
|