|
|
(21), (22) Заявка: 2008139341/28, 02.10.2008
(24) Дата начала отсчета срока действия патента:
02.10.2008
(46) Опубликовано: 20.03.2010
(56) Список документов, цитированных в отчете о поиске:
RU 2187845 С2, 20.08.2002. RU 2132117 C1, 20.06.1999. RU 2117339 C1, 10.08.1998. US 5421544 A, 06.06.1995. US 3632073 A, 04.01.1972.
Адрес для переписки:
196135, Санкт-Петербург, ул. Фрунзе, 18, ОАО “СПМБМ “Малахит”
|
(72) Автор(ы):
Богданов Александр Сергеевич (RU), Вашнев Эдуард Владимирович (RU)
(73) Патентообладатель(и):
Российская Федерация, от имени которой выступает государственный заказчик – Министерство обороны Российской Федерации (RU), Открытое акционерное общество “Санкт-Петербургское морское бюро машиностроения “Малахит” (RU)
|
(54) СЪЕМНОЕ УСТРОЙСТВО ДЛЯ УСТАНОВКИ ВЫНОСНОГО ПРИБОРА
(57) Реферат:
Изобретение относится к области конструктивных элементов устройств для установки выносных приборов. Техническим результатом является повышение эксплуатационных характеристик устройства за счет облегчения, надежности и оперативности сборки устройства. Съемное устройство для установки выносного прибора включает стойку, узел крепления прибора к стойке и узел крепления стойки на опоре в виде Т-образного выступа с вертикальной и горизонтальной частями, направляющей и ответного паза, а также сдвижной блокировочной втулки. Причем в узле крепления стойки на опоре Т-образный выступ выполнен на стойке, а ответный паз – в опоре, при этом направляющая выполнена на вертикальной части Т-образного выступа в виде ее продолжения на величину не менее толщины вертикальной части упомянутого выступа, а его горизонтальная часть выполнена с запирающими боковыми выступами, при этом опора выполнена в виде листа-пластины с ответным пазом в виде замкнутого выреза ступенчатого профиля в плане, соответствующего профилю Т-образного выступа с направляющей. При этом узкая часть паза соответствует профилю направляющей, а ее длина не менее длины вертикальной части Т-образного выступа, при этом на листе-пластине выполнена кольцевая цилиндрическая канавка с возможностью взаимодействия с цилиндрической поверхностью сдвижной блокировочной втулки. 3 з.п. ф-лы, 10 ил.
Изобретение относится к области конструктивных элементов устройств для установки выносных приборов, например антенн, на судах, плавучих средствах и т.п.
Известны подвижные тележки, предназначенные для установки телевизионных передающих камер, имеющие маневренную стойку, механизмы наведения в заданном направлении, узлы крепления (Политехнический словарь / Гл. ред. акад. А.Ю.Ишлинский. 2-е изд. – М.: Советская Энциклопедия, 1980, с.514).
Недостатком известных подвижных тележек для телевизионных передающих камер является возможность потери ориентации телекамеры при случайных внешних воздействиях, например при качке, т.к. подвижная стойка не имеет дополнительных креплений.
Известно поворотное устройство, а именно штатив, имеющий стойку, механизмы наведения в заданном направлении, узлы крепления (Политехнический словарь / Гл. ред. акад. А.Ю.Ишлинский. 2-е изд. – М.: Советская энциклопедия, 1980, с.602-603).
Недостатком известного устройства является возможность потери ориентации прибора при случайных внешних воздействиях, например при качке, поскольку штатив не имеет дополнительных креплений, а также при снятии и установке этого прибора.
Известен штатив с автоматическим раскрытием и складыванием в транспортное положение с помощью одного схвата манипулятора или одной руки человека. Штатив содержит стойку, в которой монтируется механизм управления, фланец с шарнирно закрепленными в нем опорными ногами штатива, в полой части которого располагаются механизм раскрытия и складывания опорных ног с распорками, в результате взаимодействия которых с установленным в полой части корпуса механизмом происходит раскрытие штатива с установкой его на выбранной опорной площадке и складывание его в транспортное положение (патент РФ 2117339 С1, заявл. 20.06.1997, кл. 6 G12B 9/10).
Недостатком известного штатива является возможность потери ориентации прибора при случайных внешних воздействиях, например при качке, поскольку штатив не имеет дополнительных креплений, а также при снятии и установке этого прибора.
Известна простейшая регулируемая стойка, имеющая направляющую колонну, штангу, стопорный винт, причем установка штанги на необходимую высоту и поворот штанги вокруг собственной оси выполняется вручную, с последующим закреплением штанги стопорным винтом, ввернутым в направляющую колонну (Ю.В.Шарловский. Регулировочные устройства приборов и их элементы. М.: Машиностроение, 1976, с.103, 104, рис.4-16).
Недостатком известной конструкции простейшей регулируемой стойки является возможность потери ориентации выносного прибора при установке этого прибора после его снятия, а также затруднения при установке телескопической стойки с прибором из-за значительного ее веса при ограниченных физических возможностях
Известно устройство для выносного прибора, включающее стойку, узел крепления прибора к стойке, узел крепления стойки на опоре (поворотном вале), выполненный в виде Т-образного выступа с узкой продольной и широкой поперечной частями, ориентирующего элемента (направляющей) и ответного паза, а также блокировочной втулки, установленной на стойке (патент РФ 2187845 С2, заявл. 30.06.2000, МПК: 7 G12В 9/10, H01Q 1/34).
Недостатком конструкций известного устройства для выносного прибора является затрудненность эксплуатации в связи с возможным несовпадением при заведении Т-образного выступа в ответный паз и заклиниванием элементов устройства при его сборке.
Недостатком устройства является затрудненность при установке вручную на определенной высоте прибора и стойки (съемной части), имеющих значительный вес, при ограниченных физических возможностях человека.
Недостаток устройства заключается также в наличии выступающего за обводы судна Т-образного выступа опоры устройства, отражающегося на гидродинамических характеристиках судна.
Известное устройство для выносного прибора по патенту РФ 2187845 выбрано в качестве наиболее близкого аналога заявляемого устройства.
Задача изобретения заключается в повышении эксплуатационных характеристик устройства за счет облегчения, надежности и оперативности сборки устройства, при сохранении его ориентации.
Задача решена тем, что в известном устройстве для выносного прибора, содержащем стойку, узел крепления прибора к стойке и узел крепления стойки на опоре, выполненный в виде Т-образного выступа с вертикальной и горизонтальной частями, направляющей и ответного паза, а также сдвижной блокировочной втулки, установленной на стойке, в соответствии с изобретением в узле крепления стойки на опоре Т-образный выступ выполнен на стойке, а ответный паз – в опоре, при этом направляющая выполнена на вертикальной части Т-образного выступа в виде ее продолжения на величину не менее толщины вертикальной части упомянутого выступа, а ее горизонтальная часть выполнена с запирающими боковыми выступами. Опора выполнена в виде листа-пластины с ответным пазом в виде замкнутого выреза ступенчатого профиля в плане, соответствующего профилю Т-образного выступа с направляющей. Узкая часть паза соответствует профилю направляющей, а длина узкой части паза не менее длины профиля вертикальной части Т-образного выступа. На листе-пластине выполнена кольцевая цилиндрическая канавка с возможностью взаимодействия с цилиндрической поверхностью сдвижной блокировочной втулки.
Кроме того, стойка выполнена, по крайней мере, из двух частей, соединенных посредством узла самоориентирующегося скошенного разъема, равнонаклонные к продольной оси торцы которого плотно прижаты, при этом в месте разъема в одну из частей стойки установлен штырь, жестко связанный с ее торцом, с возможностью перемещения в другой части стойки, а узел скошенного разъема снабжен элементом крепления частей стойки между собой.
Кроме того, узел крепления прибора выполнен в виде быстроразъемного Т-образного соединения с блокировочной втулкой.
Кроме того, ширина кольцевой цилиндрической канавки выполнена величиной не более одной трети от величины диаметра нижнего торца стойки.
Технический результат заключается в повышении эксплуатационных характеристик устройства за счет облегчения, оперативности и надежности сборки устройства посредством усовершенствования узла установки стойки на опоре, возможности оптимизации веса устанавливаемой вручную съемной части – стойки с прибором, исходя из физических возможностей человека для заданной высоты в рабочем положении, при сохранении ориентации выносного прибора при установке его после снятия, а также в исключении в походном положении выступания за обводы судна несъемной части – опоры.
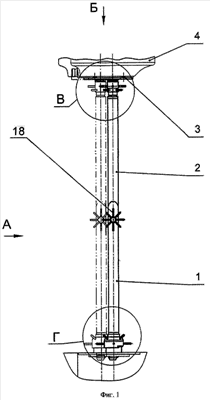
Сущность изобретения пояснена фиг.1-10, на которых представлены:
фиг.1 – главный вид устройства;
фиг.2 – вид А (с фиг.1);
фиг.3 – вид Б (с фиг.1) на лист-пластину 5 без съемной части устройства;
фиг.4 – выносной элемент В (с фиг.1) узла крепления прибора 4 к верхней части стойки 2;
фиг.5 – выносной элемент Г (с фиг.1) узла крепления нижней части стойки 1 на листе-пластине 5;
фиг.6 – выносной элемент Д (с фиг.2) узла разъема нижней части стойки 1 и верхней части стойки 2;
фиг.7 – продольный разрез Е-Е (с фиг.4);
фиг.8 – продольный разрез Ж-Ж (с фиг.5);
фиг.9 – вид И (с фиг.5), частный вид на Т-образный выступ нижней части стойки 1;
фиг.10 – фрагмент вида Б (с фиг.3) в увеличенном масштабе – геометрическая форма в плане ответного паза с кольцевой канавкой.
Съемное устройство для выносного прибора выполнено в виде размыкаемой агрегатной сборки, включающей съемную и стационарную части.
Съемная часть устройства содержит жестко соединенные между собой нижнюю часть 1 стойки, верхнюю часть 2 стойки и установленное на ней вставное основание 3 с выносным прибором 4. Жестко соединенные между собой нижняя часть 1 стойки и верхняя часть 2 стойки конструктивно представляют собой стойку устройства в сборе (фиг.1, 2, 4, 6, 7).
Стационарная часть устройства содержит лист-пластину 5 с ответным пазом 6 и представляет собой опору устройства (фиг.3, 5, 10).
Узел крепления вставного основания 3 (с жестко с ним связанным выносным прибором 4) к верхней части 2 стойки выполнен в виде быстроразъемного Т-образного соединения, который имеет исполненный на верхнем торце части 2 стойки Т-образный паз, с помощью которого происходит соединение с вставным основанием 3, имеющим выполненный на нем соответствующий Т-образный выступ 7 с ориентирующим элементом 8. Крепление вставного основания 3 на верхней части 2 стойки осуществлено за счет блокировочной втулки 9 и стопорной гайки 10, установленных на верхней части 2 стойки. Выносной прибор 4 жестко связан с вставным основанием 3 с помощью крепежа 11 (фиг.4, 7).
Узел соединения нижней части 2 стойки и верхней части 1 стойки имеет скошенный разъем и выполнен в виде самоориентирующегося узла, который образован взаимодействующими между собой плоскими торцами 12 и 13, равнонаклонными к общей оси и плотно прижатыми друг к другу. В месте разъема в верхнюю часть 2 стойки установлен штырь 14, который жестко связан с торцом 12 верхней части 2, снабжен углублением-скосом 15 и имеет возможность перемещения в нижней части 1 стойки, направляя ее. Узел скошенного разъема снабжен элементом крепления частей 2 и 1 стойки между собой в виде ввинченного в часть 1 стойки нажимного винта 16 со скосом 17, взаимодействующим с углублением-скосом 15 штыря 14, и стопорной гайки 18 (фиг.2, 6). Стойка может быть выполнена из нескольких соединяемых частей, что дает возможность устанавливать их поочередно, оптимизируя вес поднимаемой части стойки, исходя из физических возможностей человека.
Узел крепления съемной и стационарной частей устройства (стойки на опоре) выполнен в виде Т-образного соединения (фиг.1-3, 5, 8-10). При этом Т-образный выступ 19 выполнен на нижней части 1 стойки. Т-образный выступ 19 снабжен ориентирующим элементом – направляющей 20, выполненной за одно целое с вертикальной частью 21 Т-образного выступа 19, как ее продолжение, и жестко связанной с торцом горизонтальной части 22 упомянутого выступа (фиг.5, 9). Длина направляющей 20 не менее толщины вертикальной части 21 Т-образного выступа. Горизонтальная часть 22 Т-образного выступа 19 выполнена с запирающими боковыми выступами 23 (фиг.9).
Ответный Т-образному выступу 19 паз 6 листа-пластины 5 выполнен в виде замкнутого выреза ступенчатого профиля в плане, соответствующего ступенчатому профилю в плане Т-образного выступа 19 (горизонтальной части 22 с запирающими боковыми выступами 23 и направляющей 20 Т-образного выступа 19). Запирающие боковые выступы 23 предназначены для запирания ответного паза 6, который состоит из последовательно связанных паза 24 (под горизонтальную часть 22), пазов 25 (под боковые выступы 23) и узкой части 26 (под направляющую 20). Протяженность узкой части – прорези 26 паза 6 не менее длины вертикальной части 21 Т-образного выступа 19 (фиг.5, 8, 9, 10).
На листе-пластине 5 выполнена кольцевая цилиндрическая канавка 27 с возможностью взаимодействия с цилиндрической поверхностью сдвижной блокировочной втулки 28, которая установлена на нижней части 1 стойки. Ширина кольцевой цилиндрической канавки 27 не более одной трети от величины диаметра нижнего торца нижней части 1 стойки. Узел крепления съемной и стационарной частей устройства – стойки на опоре снабжен креплением в виде нажимной гайки 29, взаимодействующей со сдвижной блокировочной втулкой 28, и стопорной гайки 30 для закрепления нижней части 1 стойки к листу-пластине 5.
Стационарная часть устройства, выполненная в виде листа-пластины 5 с ответным пазом 6, размещенного в ограниченном междубортном пространстве, в походном положении устройства (положении, когда съемная часть устройства снята) не выступает за обводы судна. Число конструктивно размыкаемых элементов съемной части устройства для выносного прибора, при заданной высоте в рабочем положении, зависит от физических возможностей человека, необходимых для подъема вручную этих тяжестей.
Узел разъема съемной и стационарной частей устройства выполнен с обеспечением как фиксированного рабочего положения устройства (изображенного на фиг.1 сплошными линиями), так и смещенного нерабочего положения устройства (изображенного на фиг.1 штрихпунктирными линиями), служащего для установки (выема) нижней части 1 стойки в (из) паз(а) 6.
Съемное устройство для выносного прибора работает следующим образом.
В рабочее положение устройство приводят путем установки в порядке очереди и крепления между собой конструктивно размыкаемых элементов. Сначала крепят нижнюю часть 1 стойки (фиг.1-3, 5, 8-10) к листу-пластине 5. Направляющую 20 и запирающие боковые выступы 23 Т-образного выступа 19 заводят и совмещают с узкой частью 26 и пазами 25 ответного паза 6. Движением сверху-вниз Т-образный выступ 19 вставляют в ответный паз 6 до упора нижнего торца нижней части 1 стойки в торец листа-пластины 5 (на фиг.1 такое положение стойки с прибором показано штрихпунктирной линией). Далее Т-образный выступ 19 смещают вдоль ответного паза 6 в крайнее положение до упора торца направляющей 20 в торец узкой части 26 ответного паза 6. Затем поворотом нажимной гайки 29 обеспечивают перемещение сдвижной блокировочной втулки 28 внутрь кольцевой цилиндрической канавки 27 до упора в торец последней с взаимодействием ответных цилиндрических поверхностей втулки 28 и канавки 27. После этого производят фиксацию сдвижной блокировочной втулки 28 с помощью нажимной гайки 29 со стопорением стопорной гайкой 30.
Наличие направляющей 20 Т-образного выступа 19 обеспечивает правильную ориентацию нижней части 1 стойки при ее установке в ответный паз 6. Наличие запирающих боковых выступов 23 во взаимодействии с направляющей 20 исключает, в начале смещения выступа 19 вдоль паза 6, возможность случайного опрокидывания нижней части 1 стойки, выпадения Т-образного выступа 19 из ответного паза 6 и заклинивания трущихся элементов при их смещении. Канавка 27 не препятствует смещению нижней части 1 стойки вдоль паза 6 за счет исполнения ширины кольцевой цилиндрической канавки 27 величиной не более одной трети от величины диаметра нижнего торца нижней части 1 стойки.
Далее производят крепление жестко связанного с выносным прибором 4 вставного основания 3 к верхней части 2 стойки путем совмещения ответных частей Т-образного соединения по ориентирующему упору 8 Т-образного выступа 7 с последующим охватом-фиксацией этого соединения верхней частью блокировочной втулки 9 со стопорением стопорной гайкой 10 (фиг.1, 2, 4, 7).
В результате верхняя часть 2 стойки, вставное основание 3 и выносной прибор 4 скреплены в единый узел. В завершение соединяют нижнюю и верхнюю части 1, 2 стойки. При сборке между собой нижней и верхней частей 1, 2 стойки, за счет осевого смещения сверху-вниз верхней части 2 стойки вдоль продольной оси части 1 стойки, происходит автоматическая угловая ориентация за счет совмещения ответных частей скошенного разъема – плоских торцов 12 и 13 при перемещении штыря 14 в стойке. Фиксацию в рабочем положении самоориентирующегося узла осуществляют элементом крепления – нажимным винтом 16, ввинченным в стойку, за счет взаимодействия его скоса 17 с углублением-скосом 15 штыря 14, и стопорной гайкой 18 (фиг.1, 2, 6).
Приведение устройства для выносного прибора в исходное состояние (походное положение) производится путем снятия конструктивно размыкаемых элементов съемной части устройства по очереди, один за другим, в обратном порядке.
Предложенное съемное устройство для установки выносного прибора позволяет повысить его эксплуатационные характеристики за счет облегчения, оперативности и надежности сборки устройства, посредством усовершенствования узла установки стойки на опоре, позволяющего обеспечить правильную ориентацию стойки с прибором при установке ее в паз, исключить возможность случайного опрокидывания нижней части стойки в начале смещения выступа стойки вдоль паза и заклинивания трущихся элементов, а также посредством возможности оптимизации веса устанавливаемой вручную съемной части – стойки с прибором, исходя из физических возможностей человека для заданной высоты в рабочем положении при сохранении ориентации выносного прибора при установке его после снятия за счет выполнения стойки из нескольких соединяемых частей. Предложенная конструкция устройства позволяет также исключить в походном положении выступание за обводы судна несъемной части – опоры.
Формула изобретения
1. Съемное устройство для установки выносного прибора, включающее стойку, узел крепления прибора к стойке и узел крепления стойки на опоре в виде Т-образного выступа с вертикальной и горизонтальной частями, направляющей и ответного паза, а также сдвижной блокировочной втулки, отличающееся тем, что в узле крепления стойки на опоре Т-образный выступ выполнен на стойке, а ответный паз – в опоре, при этом направляющая выполнена на вертикальной части Т-образного выступа в виде ее продолжения на величину не менее толщины вертикальной части упомянутого выступа, а его горизонтальная часть выполнена с запирающими боковыми выступами, при этом опора выполнена в виде листа-пластины с ответным пазом в виде замкнутого выреза ступенчатого профиля в плане, соответствующего профилю Т-образного выступа с направляющей, причем узкая часть паза соответствует профилю направляющей, а ее длина не менее длины вертикальной части Т-образного выступа, при этом на листе-пластине выполнена кольцевая цилиндрическая канавка с возможностью взаимодействия с цилиндрической поверхностью сдвижной блокировочной втулки.
2. Устройство по п.1, отличающееся тем, что стойка выполнена, по крайней мере, из двух частей, соединенных посредством узла самоориентирующегося скошенного разъема, равнонаклонные к продольной оси торцы которого плотно прижаты, при этом в месте разъема в одну из частей стойки установлен штырь, жестко связанный с ее торцом, с возможностью перемещения в другой части стойки, а узел скошенного разъема снабжен элементом крепления частей стойки между собой.
3. Устройство по п.1, отличающееся тем, что узел крепления прибора выполнен в виде быстроразъемного Т-образного соединения с блокировочной втулкой.
4. Устройство по п.1, отличающееся тем, что ширина кольцевой цилиндрической канавки не превышает трети диаметра стойки.
РИСУНКИ
|
|