|
|
(21), (22) Заявка: 2008146595/28, 26.11.2008
(24) Дата начала отсчета срока действия патента:
26.11.2008
(46) Опубликовано: 20.03.2010
(56) Список документов, цитированных в отчете о поиске:
RU 2082257 C1, 20.06.1997. RU 2072644 C1, 27.01.1997. US 6909998 B2, 21.06.2005. KR 20050087010 А, 31.08.2005. US 2008160129 A1, 03.07.2008.
Адрес для переписки:
125009, Москва, ул. Моховая, 11, стр.7, Учреждение Российской академии наук Институт радиотехники и электроники им. В.А. Котельникова, РАН
|
(72) Автор(ы):
Никитов Сергей Аполлонович (RU), Филимонов Юрий Александрович (RU), Высоцкий Сергей Львович (RU), Кожевников Александр Владимирович (RU), Хивинцев Юрий Владимирович (RU), Джумалиев Александр Сергеевич (RU), Никулин Юрий Васильевич (RU), Веселов Александр Георгиевич (RU)
(73) Патентообладатель(и):
Учреждение Российской академии наук Институт радиотехники и электроники им. В.А. Котельникова, РАН (RU)
|
(54) СПОСОБ НАНОИМПРИНТ-ЛИТОГРАФИИ
(57) Реферат:
Изобретение относится к технологии микроэлектроники и может быть использовано в технологии наноимпринт-литографии при получении упорядоченных массивов магнитных и других наноструктур. Изобретение направлено на обеспечение контроля за формированием рельефа без ограничений на оптические свойства подложек. Способ включает образование рельефа в слое резиста, нанесенного на подложку, методом наноимпринт-литографии с наложением на штамп возбуждающих ультразвуковых колебаний и осевого усилия. При этом дополнительно в подложке регистрируют ультразвуковые колебания, возникающие при контакте штампа с резистом, по интенсивности и/или фазе и/или спектру которых судят о степени заполнения резистом рельефа штампа. 6 з.п. ф-лы, 1 ил.
Изобретение относится к технологии микроэлектроники и может быть использовано в технологии наноимпринт-литографии при получении упорядоченных массивов магнитных и других наноструктур.
Одной из перспективных технологий, позволяющей получать упорядоченные массивы наноструктур при наименьших затратах, считается наноимпринт-литография. В ее основе лежит использование штампа, на поверхности которого создана наноструктура с желаемыми размерами и упорядочением, и его последующее вдавливание в резист, размещенный на подложке с получением реплики. Как правило, штампы изготавливают из пластин кремния или плавленого кварца, металлических и полимерных пластин.
Известен способ наноимпринт-литографии с использованием ультразвуковых колебаний, которые выступают в качестве средства, регулирующего пластичность резиста. Ультразвуковые колебания частотой несколько десятков килогерц создают в зоне контакта штампа и резиста (см., например, Effects of mold geometries and imprinted polymer resist thickness on ultrasonic nanoimprint lithography/Chien-Hung Lin et al J. Micromech. Microeng. 2007, v. 17, 1220-1231 – ближайший аналог). Однако этот способ не предусматривает каких-либо средств контроля результата вдавливания штампа. Описан контроль процесса проведения импринт-литографии, когда на поверхности штампа выполняют реперы и следят за их положением средствами оптической интерферометрии (US 6909998, Hocheng et al., 21.06.2005).
Однако оптический контроль деформации или смещения положения штампа по отраженному лучу, во-первых, требует специальной подготовки поверхностей штампа, что не всегда возможно осуществить, во-вторых, не позволяет осуществлять контроль степени заполнения резистом нанопрофиля на штампе. Это важно для обеспечения равномерного стравливания резиста на стадии последующего травления наноструктуры. Кроме того, при использования оптических методов для контроля степени заполнения профиля штампа резистом необходимо, чтобы штамп или подложка были оптически прозрачны. Поэтому при использовании в качестве материалов штампа непрозрачных пластин кремния или никеля оптические методы контроля заполнения резистом углублений штампа использоваться не могут.
Задачей настоящего изобретения является способ формирования наноструктур с использованием ультразвуковой наноимпринт-литографии, в котором контроль состояния взаимодействия соприкасающихся поверхностей резиста, штампа и подложки, непосредственно определяющих качество реплики, контролируется посредством регистрации параметров ультразвуковых колебаний в теле подложки, которая проводится одновременно с вдавливанием.
Патентуемый способ формирования наноструктур включает образование рельефа в слое резиста, нанесенного на подложку, методом наноимпринт-литографии с наложением на штамп возбуждающих ультразвуковых колебаний и осевого усилия. Способ отличается тем, что дополнительно в подложке регистрируют ультразвуковые колебания, возникающие при контакте штампа с резистом, по интенсивности и/или фазе и/или спектру которых судят о степени заполнения резистом рельефа штампа.
Способ может характеризоваться тем, что заполнение резистом рельефа штампа считают достигнутым при стабилизации значений интенсивности и/или фазы и/или спектра регистрируемых в подложке ультразвуковых колебаний при постоянстве значения осевого усилия.
Способ может характеризоваться и тем, что частота возбуждающих ультразвуковых колебаний составляет 2.104-2.106 Гц, а также тем, что ультразвуковые колебания в подложке регистрируют в диапазоне частот 2.104-3.107 Гц.
Способ может характеризоваться также тем, что ультразвуковые колебания регистрируют посредством пьезоэлектрического преобразователя, находящегося в акустическом контакте с подложкой, а также и тем, что пьезоэлектрический преобразователь выполнен матричным с возможностью независимой регистрации ультразвуковых колебаний по площади подложки; кроме того, тем, что подложка или по меньшей мере ее часть выполнена из пьезоэлектрического материала.
Технический результат изобретения состоит в обеспечении контроля за формированием рельефа без ограничений на оптические свойства подложек.
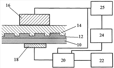
Существо изобретения поясняется на чертеже, где представлена блок-схема устройства для реализации способа наноимпринт-литографии.
На подложку 10 наносится слой резиста 12. К поверхности резиста 12 прикладывается штамп 14, имеющий реплику изготавливаемой наноструктуры. Для подведения в зону соприкосновения элементов 10, 12, 14 ультразвуковых колебаний на нерабочей поверхности штампа 14 установлен ультразвуковой излучатель 16 с акустическим трансформатором. На нерабочей поверхности подложки 10 установлен ультразвуковой приемник 18 с акустическим трансформатором. Акустические трансформаторы, известные из уровня техники, обеспечивают согласование акустических импедансов излучателя, штампа, подложки и преобразователя. По оси, перпендикулярной рабочей поверхности штампа, посредством пресса (не показан) прилагается усилие, необходимое для приведения в соприкосновение элементов 10, 12, 14.
Излучатель 16 подключен к генератору 25 ультразвуковой частоты (20кГц – 2МГц), а приемник 18 подключен к блоку регистрации и управления, включающему компаратор 20 амплитуды и фазы, настроенный на частоту генератора 25 с перекрытием диапазона в область высоких частот (20кГц – 30 МГц). Управление осуществляется от блока 24 обратной связи, вход которого связан с выходом компаратора 20, а выход – с генератором 25.
Способ реализуют следующим образом. После нанесения на подложку 10 слоя термопластичного резиста 12 приводят его в соприкосновение со штампом 14 и подают ультразвуковое воздействие, подключая генератор 25 к излучателю 16. До тех пор, пока резист остается твердым, штамп не погружается в резист. При нагреве резиста 12 до температуры Tg размягчения за счет поглощения в нем ультразвуковой энергии штамп 14 под влиянием давления Р пресса начинает погружаться в слой резиста 12 на глубину hp. По прошествии времени выдержки (от единиц до нескольких десятков секунд) происходит формообразование рельефа заданной наноструктуры на поверхности подложки. Кроме термического воздействия, приводящего к повышению пластичности, ультразвуковые колебания способствуют разрушению тончайшего слоя воздуха на границе штамп-резист и обеспечивают более качественную и адекватную реплику.
Процесс термопластической импринт-литографии проводился на модернизированной установке совмещения и экспонирования ЭМ-576. Использовались резисты марок mr-I 7010 и mr-I РММА 75К, которые при скорости вращения центрифуги 3000 об/мин формируют на поверхности подложки пленку толщиной около 100 нм. Процесс импринт-литографии осуществлялся на пленках ферромагнитных металлов Py/Si(100), Ni/Si(100), Co/Si(100) и подложках Si(100), SiO2(0.1 мкм)/Si(100). Так, при Р=6.5×105 Па и толщине слоя резиста hr 210 нм, при использовании пресса 14 – кварцевой пластины размерами 15×15 мм2 и толщиной 0,5 мм, на поверхности подложки 12 обеспечивается создание решетки из канавок периодом pm 1µm, шириной канавки wm 0.35µm и глубиной канавки hm 400nm.
Одновременно с технологическим воздействием эти же ультразвуковые колебания используются для реализации функций контроля за качеством создаваемого рельефа на поверхности подложки 10 и дают возможность для управления работой генератора 25 по цепи обратной связи через блок 24. Для этого используется приемник 18 ультразвуковых колебаний, размещенный на тыльной поверхности подложки.
В зависимости от аппаратурной реализации могут быть реализован как «теневой» метод контроля (см. ультразвук, маленькая энциклопедия, п/р И.П.Голяминой, М., СЭ, 1979, с.109), так и спектральный (там же, с.331) или их комбинация.
В первом случае о полном заполнении реплики штампа 14 резистом, которое гарантирует качественную топологию наноструктуры, судят по уровню прохождения и фазе сигнала с помощью индикатора 22. Так, на стадии приближении штампа к поверхности резиста практически не фиксируется прошедший сигнал, поскольку ультразвуковые колебания имеют сильное затухание в воздухе. В момент касания выступов поверхности штампа поверхности резиста регистрируются сигнал прямого прохождения – его амплитуда и фаза. Заполнение рельефа поверхности штампа резистом под действием давления пресса сопровождается практически монотонным изменением амплитуды и фазы сигнала. По изменению фазы прошедшего сигнала можно судить о приближении поверхности подложки к штампу. Об окончании процесса заполнения рельефа штампа резистом можно судить по существенному уменьшению скорости изменения фазы и амплитуды сигнала. При этом блок 24, используя в качестве управляющего параметра уровень или фазу сигнала, может управлять выходной мощностью генератора 25. Например, при предварительной экспериментальной тарировке – уменьшать или увеличивать амплитуду ультразвуковых колебаний и/или их частоту. Регистрация ультразвуковых колебаний посредством приемника 18 может производиться как на частоте работы генератора 25 в диапазоне 20 кГц – 2 МГц, наиболее часто используемом для технологических целей, так и на гармониках (в диапазоне до 30 МГц), поскольку на более высоких частотах влияние параметров многослойной структуры выражено резче. Для этой цели может быть использован как широкополосный пьезоэлектрический преобразователь, так и резонансный преобразователь, работающий на гармониках.
Во втором случае регистрируется изменение спектра колебаний на приемнике 18 в процессе внедрения штампа, которое также связано со структурообразованием в зоне подложка-резист и обусловлено частотной зависимостью поглощения ультразвука от толщины слоя резиста.
Приемник 18 может быть реализован в виде матрицы из миниатюрных приемников, распределенных по нерабочей поверхности подложки 10. Посредством сравнения уровней и фаз сигналов с этих приемников можно судить о степени однородности заполнения топологии штампа резистом по площади подложки 10.
Если подложка 10 обладает пьезоэлектрическими свойствами, например, а) полностью выполнена из кристаллического кварца, или б) выполнена из аморфного материала и имеет на нерабочей поверхности пленку из пьезоэлектрического вещества, или в) по меньшей мере ее часть выполнена из полимерного материала, обладающего пьезоэффектом, то соответствующим образом нанесенные на подложке электроды, подключенные к блоку 20, позволят использовать ее в качестве приемника ультразвука подобно обычному пьезоэлектрическому преобразователю.
Таким образом, патентуемым изобретением обеспечивается достижение технического результата – обеспечение контроля за формированием рельефа без ограничений на оптические свойства подложек.
Формула изобретения
1. Способ формирования наноструктур, включающий образование рельефа в слое резиста, нанесенного на подложку, методом наноимпринт-литографии с наложением на штамп возбуждающих ультразвуковых колебаний и осевого усилия, отличающийся тем, что дополнительно в подложке регистрируют ультразвуковые колебания, возникающие при контакте штампа с резистом, по интенсивности и/или фазе, и/или спектру которых судят о степени заполнения резистом рельефа штампа.
2. Способ по п.1, отличающийся тем, что заполнение резистом рельефа штампа считают достигнутым при стабилизации значений интенсивности и/или фазы, и/или спектра регистрируемых в подложке ультразвуковых колебаний при постоянстве значения осевого усилия.
3. Способ по п.1, отличающийся тем, что частота возбуждающих ультразвуковых колебаний составляет 2,104-2,106 Гц.
4. Способ по п.1, отличающийся тем, что ультразвуковые колебания в подложке регистрируют в диапазоне частот 2,104-3,107 Гц.
5. Способ по п.1, отличающийся тем, что ультразвуковые колебания регистрируют посредством пьезоэлектрического преобразователя, находящегося в акустическом контакте с подложкой.
6. Способ по п.5, отличающийся тем, что пьезоэлектрический преобразователь выполнен матричным с возможностью независимой регистрации ультразвуковых колебаний по площади подложки.
7. Способ по п.1 или 6, отличающийся тем, что подложка или по меньшей мере ее часть выполнена из пьезоэлектрического материала.
РИСУНКИ
|
|