|
|
(21), (22) Заявка: 2009103978/06, 05.02.2009
(24) Дата начала отсчета срока действия патента:
05.02.2009
(46) Опубликовано: 20.03.2010
(56) Список документов, цитированных в отчете о поиске:
RU 2106534 C1, 10.03.1998. SU 317823 A, 19.10.1971. SU 1254200 A1, 30.08.1986. US 2349731 A, 23.05.1944. DE 1001113 В, 17.01.1957.
Адрес для переписки:
443112, г.Самара, ул. Крайняя, 18, кв.17, Н.Б. Болотину
|
(72) Автор(ы):
Болотин Николай Борисович (RU)
(73) Патентообладатель(и):
Болотин Николай Борисович (RU)
|
(54) ШНЕКОЦЕНТРОБЕЖНЫЙ НАСОС
(57) Реферат:
Изобретение относится к насосостроению. Шнекоцентробежный насос содержит корпусы 5, 20, 22, крыльчатку 2 со ступицей 3, установленную на валу 1, который установлен на подшипнике 4, защищенном уплотнением 38, и шнек 10. Внутри ступицы 3 установлены промежуточный и внутренний валы 6, 8. На одном конце внутреннего вала 8 установлен первый шнек 10, который закреплен на этом валу 1 передней конической гайкой 11. На противоположном конце вала 1 закреплена задняя коническая гайка 12 с рабочим колесом 13 первой гидротурбины. На концах промежуточного вала 6 установлен второй шнек 15 и рабочее колесо 16 второй гидротурбины. Сопловой аппарат 14 первой гидротурбины установлен в полости 30 внутри вала 1, а сопловой аппарат 17 второй гидротурбины – в полости 18 внутри ступицы 3. В ступице 3 выполнены сквозные отверстия 28, соединяющие полость крыльчатки с полостью 18 в ступице 3. Внутри вала 1 выполнены две полости 30, 31, разделенные перегородкой 32 с отверстием 33. Внутренняя полость 31 вала 1 сообщается с полостью 39 между подшипником 4 и уплотнением 39. Шнеки 10, 15 могут быть выполнены с возможностью вращения в противоположные стороны. Изобретение направлено на улучшение кавитационных свойств насоса. 1 з.п. ф-лы, 3 ил.
Изобретение относится к насосостроению и может быть использовано преимущественно в любых отраслях техники для перекачки жидкостей, не содержащих абразивных включений.
Известен шнекоцентробежный насос по RU 2094660 С1, 27.10.1997, содержащий разъемный корпус, центробежные рабочие колеса (крыльчатки), шнек, вал и опорные узлы в виде подшипников скольжения и качения. Насос имеет плохие кавитационные свойства.
Наиболее близким к изобретению является шнекоцентробежный насос по RU 2106534 С1, 10.03.1998. Известный шнекоцентробежный насос содержит корпусы, крыльчатку со ступицей, установленную на валу, который установлен на подшипнике, защищенном уплотнением, и шнек. Шнек улучшает кавитационные свойства насоса, т.к. он обладает лучшими кавитационными свойствами, чем центробежная крыльчатка. Шнек обеспечивает повышение кавитационных свойств насоса, но он механически связан с рабочим колесом насоса и имеет с ним одинаковую угловую скорость вращения. Это не позволяет эксплуатировать насос на очень больших оборотах, например 40 100 тыс. об/мин, поэтому такие насосы в настоящее время не применяются.
Задача создания изобретения (технический результат) – улучшение кавитационных свойств насоса.
Решение указанной задачи и технический результат достигаются за счет того, что в шнекоцентробежном насосе, содержащем корпусы, крыльчатку со ступицей, установленную на валу, который установлен на подшипнике, защищенном уплотнением, и шнек, согласно изобретению внутри ступицы установлены промежуточный и внутренний валы, при этом на одном конце внутреннего вала установлен первый шнек, который закреплен на этом валу передней конической гайкой, на противоположном конце внутреннего вала закреплена задняя коническая гайка с рабочим колесом первой гидротурбины, а на концах промежуточного вала установлен второй шнек и рабочее колесо второй гидротурбины, сопловой аппарат первой гидротурбины установлен в полости внутри вала, а второй гидротурбины – в полости внутри ступицы, в ступице выполнены сквозные отверстия, соединяющие полость крыльчатки с полостью в ступице, внутри вала выполнены две полости, разделенные перегородкой с отверстием, при этом внутренняя полость вала сообщается с полостью между подшипником и уплотнением. Шнеки могут быть выполнены с возможностью вращения в противоположные стороны.
Сущность изобретения поясняется чертежами, где
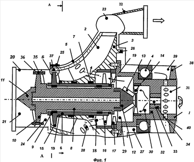
на фиг.1 приведен шнекоцентробежный насос, продольный разрез;
на фиг.2 – сечение А-А на фиг.1;
на фиг.3 – узел Б на фиг.1.
Центробежный насос (фиг.1) содержит вал 1, который выполнен пустотелым. На валу 1 установлена крыльчатка 2 со ступицей 3. Вал 1 установлен на подшипнике 4 в корпусе 5. Промежуточный вал 6 проходит внутри ступицы 3 и установлен внутри нее, по меньшей мере, на одном промежуточном подшипнике 7. Внутри промежуточного вала 6 установлен внутренний вал 8, который установлен внутри вала 6 на подшипниках 9. С одной стороны (со стороны входа в крыльчатку 2) на внутреннем валу 8 установлен первый шнек 10, который закреплен на этом валу 8 при помощи передней конической гайки 11. На противоположном конце внутреннего вала 8 закреплена задняя коническая гайка 12 с рабочим колесом 13 первой гидротурбины, рядом с которым внутри вала 1 установлен сопловой аппарат 14 первой гидротурбины. На промежуточном валу 6 на переднем конце (со стороны входа в насос) установлен второй шнек 15, а на противоположном конце закреплено рабочее колесо 16 второй гидротурбины. Сопловой аппарат 17 второй гидротурбины установлен рядом с рабочим колесом 16 второй гидротурбины (со стороны выхода насоса) и закреплен внутри полости 18, выполненной в ступице 3. В качестве подшипников 7 и 9 могут быть применены подшипники скольжения или игольчатые подшипники. Для восприятия осевых нагрузок на валы 6 и 8 служат контактные кольца 19, установленные на их торцах.
К корпусу 5 подстыкованы входной корпус 20, имеющий полость 21, и выходной корпус 22, имеющий полость 23. Между первым шнеком 10 и вторым шнеком 15 образована полость 24. Между корпусом 5 и крыльчаткой 2 выполнено переднее уплотнение 25. Со стороны заднего торца крыльчатки 2 на ее ступице 3 выполнены заднее уплотнение 26 и разгрузочная полость 27. В ступице 3 крыльчатки 2 выполнены отверстия 28, выходящие в полость 18. Внутри вала 1 выполнено три полости: передняя 29, средняя 30 и задняя 31. Полости 29 и 30 разделены сопловым аппаратом 14 первой гидротурбины, а полости 30 и 31 разделены перегородкой 32 со сквозным отверстием 33, в котором установлен жиклер 34.
На первом шнеке 10 может быть выполнен бандаж 35 с уплотнениями 36. Входной корпус 20 в этом случае необходимо изготовить цилиндрическим, это уменьшит перетекание перекачиваемого продукта из-за разности давлений на входе и выходе первого шнека 10. Второй шнек 15 следует выполнить без бандажа, чтобы уменьшить загромождение тракта на входе в крыльчатку 2, но внутри крыльчатки 2 необходимо предусмотреть цилиндрический пояс 37 (фиг.3). Подшипник 4 закрыт с задней стороны (по отношению к входу в насос) уплотнением 38, при этом между этим уплотнением и подшипником 4 образуется полость 39, которая радиальными отверстиями 40, выполненными в валу 1, сообщается с задней полостью 31 внутри вала 1.
При включении привода (не показан) раскручивается вал 1 с крыльчаткой 2. Внутри крыльчатки 2 и на выходе из нее, т.е. в полости 23, повышается давление перекачиваемого продукта, и его часть (5% 7%) через заднее уплотнение 26 поступает в разгрузочную полость 27 и далее проходит последовательно подшипник 4, полость 39, радиальные отверстия 40, заднюю полость 31, отверстие 33 (жиклер 34), сопловой аппарат 14 первой гидротурбины, переднюю полость 29 и рабочее колесо 13 первой гидротурбины. Внутренний вал 8 раскручивается. Потом поток перекачиваемого продукта (утечки) проходит через сопловой аппарат 17 и рабочее колесо 16 второй гидротурбины, а потом по отверстиям 28 поступает в крыльчатку 2 насоса. При этом раскручивается рабочее колесо 16 второй гидротурбины и промежуточный вал 6 со вторым шнеком 15. Шнеки 10 и 15 значительно повышают давление на входе в крыльчатку 2, тем самым предотвращая кавитацию на ее входе. Из-за пониженных оборотов самих шнеков 10 и 15 кавитация на их входных кромках также исключается. Первый шнек 10 повышает давление между шнеками 10 и 12, создавая благоприятные условия с точки зрения предотвращения кавитации на входе во второй шнек 15. Перепуск подогретого перекачиваемого продукта на входах в шнеки 10 и 15 и на вход в крыльчатку 2 отсутствует. С учетом того, что первый шнек 10 вращается в 3 10 раз медленнее, чем крыльчатка 2, на его входе кавитация исключена. Второй шнек 15 вращается со скоростью в 2 3 раза медленнее, чем крыльчатка 2, что также благоприятно сказывается на его кавитационных качествах. Утечки перекачиваемого продукта, которые прошли через заднее уплотнение 26, используются для смазки подшипника 4 и для привода двух гидротурбин, т.е. специально отбор перекачиваемого продукта для привода шнеков не проводится. Это благоприятно сказывается на экономичности насоса. Кроме того, все утечки возвращаются через специальные отверстия внутрь крыльчатки, после ее входа, и эти утечки, несмотря на относительно высокую температуру, не вызывают ухудшения кавитационных свойств насоса в целом.
Применение изобретения позволяет:
1. Значительно улучшить кавитационные свойства насоса за счет применения двух шнеков, уменьшения скоростей вращения шнеков и применения консольной схемы.
2. Спроектировать насос очень большой мощности за счет повышения частоты вращения крыльчатки до предельно допустимых по прочности.
3. Предотвратить срыв потока перекачиваемого компонента в насосе вследствие кавитации на его входе.
4. Создать насос с минимальным весом и габаритами при большом напоре и производительности.
5. Разгрузить осевые силы, действующие на ротор насоса и на внутренний и промежуточный валы, т.к. осевые силы, создаваемые вторым шнеком и рабочим колесом второй гидротурбины, направлены в противоположные стороны, а с внутреннего вала осевая сила передается на промежуточный вал. Суммарно усилие от внутреннего и промежуточного валов передается на мощный подшипник 4.
6. Полностью использовать утечки перекачиваемого продукта для смазки подшипника и привода двух гидротурбин и полностью предотвратить утечки перекачиваемого продукта в дренаж.
7. Увеличить КПД насоса за счет предотвращения утечек продукта в дренаж.
Формула изобретения
1. Шнекоцентробежный насос, содержащий корпуса, крыльчатку со ступицей, установленную на валу, который установлен на подшипнике, защищенном уплотнением, и шнек, отличающийся тем, что внутри ступицы установлены промежуточный и внутренний валы, при этом на одном конце внутреннего вала установлен первый шнек, который закреплен на этом валу передней конической гайкой, на противоположном конце внутреннего вала закреплена задняя коническая гайка с рабочим колесом первой гидротурбины, а на концах промежуточного вала установлен второй шнек и рабочее колесо второй гидротурбины, сопловой аппарат первой гидротурбины установлен в полости внутри вала, а второй гидротурбины – в полости внутри ступицы, в ступице выполнены сквозные отверстия, соединяющие полость крыльчатки с полостью в ступице, внутри вала выполнены две полости, разделенные перегородкой с отверстием, при этом внутренняя полость вала сообщается с полостью между подшипником и уплотнением.
2. Центробежный насос по п.1, отличающийся тем, что шнеки выполнены с возможностью вращения в противоположные стороны.
РИСУНКИ
|
|