|
|
(21), (22) Заявка: 2008121452/03, 27.05.2008
(24) Дата начала отсчета срока действия патента:
27.05.2008
(43) Дата публикации заявки: 10.12.2009
(46) Опубликовано: 20.03.2010
(56) Список документов, цитированных в отчете о поиске:
RU 2295640 С2, 20.03.2007. SU 941554 A1, 07.07.1982. RU 2058472 C1, 20.04.1996. RU 29339 U1, 10.05.2003. RU 2232889 C1, 20.07.2004. RU 2307931 C1, 10.10.2007. US 3015500 A, 02.01.1962.
Адрес для переписки:
443022, г.Самара, Садовый пр-д, 3, ООО “БИТАС”, директору Ю.В. Рыжанову
|
(72) Автор(ы):
Васильев Сергей Иванович (RU), Рыжанов Юрий Васильевич (RU)
(73) Патентообладатель(и):
ООО “БИТАС” (RU)
|
(54) ЭЛЕКТРИЧЕСКИЙ РАЗДЕЛИТЕЛЬ БУРОВОЙ КОЛОННЫ
(57) Реферат:
Изобретение относится к устройствам для электрического разобщения буровой колонны и обеспечения бескабельной двусторонней связи скважинной телесистемы с наземной аппаратурой. Техническим результатом является повышение прочности электрического разделителя при кручении. Электрический разделитель включает верхний и нижний переводники, электрически изолированные друг от друга, внутреннюю трубу и изолирующие слои. При этом соединения внутренней трубы и верхнего переводника, а также верхнего и нижнего переводников выполнены по коническим поверхностям с малым углом конусности при помощи сварки, или шпонки, или штифта. 1 з.п. ф-лы, 1 ил.
Изобретение относится к области геофизических исследований скважин и предназначено для использования в составе бескабельных телеметрических систем для электрического разобщения буровой колонны и обеспечения двусторонней связи телесистемы с наземной аппаратурой.
Применяющиеся в настоящее время электрические разделители колонны бурильных труб включают верхний и нижний переводники, соединенные между собой конической резьбой с электроизоляционной прокладкой. Внутри и снаружи разделители покрыты электроизоляционным материалом (авт. св. СССР 941554, МКИ Е21В 47/00, заявл.21.12.79 г.; авт. св. 994704, МКИ Е21В 47/02, заявл. 31.12.80 г.; патент на ПМ 17196, МПК Е21В 47/00, заявл. 23.10.00 г.; патент на ПМ 37138 МПК Е21В 17/12, заявл. 15.07.03 г.; патент на ПМ 54397, МПК Е21В 44/00, заявл. 08.02.06 г. и др.).
Общей чертой известных разделителей является значительная толщина переводников, необходимая для создания резьбового соединения. При бурении скважин достаточно большого диаметра такие электрические разделители могут успешно использоваться. Но при бурении скважин малого диаметра эти конструкции малопригодны, т.к. приходится выбирать между уменьшением наружного диаметра разделителя (за счет уменьшения длины резьбового соединения) при сохранении диаметра внутренней полости и уменьшением диаметра внутренней полости при сохранении длины резьбового соединения. Оба варианта имеют свои недостатки. Уменьшение длины резьбового соединения ведет к снижению прочности конструкции, а уменьшение диаметра внутренней полости разделителя увеличивает гидравлические потери при бурении.
Наиболее близким техническим решением к предлагаемому является конструкция разделителя по патенту на изобретение 2295640, МПК Е21В 47/12, заявл. 20.03.2007 г. Электрический разделитель включает верхний и нижний переводники, электрически изолированные друг от друга. Между верхним и нижним переводниками установлены внутренняя труба и внешний корпус, разделенные диэлектрической прокладкой. Внутренняя труба и внешний корпус соединены по конической поверхности с малым углом конусности. Между внутренней трубой и верхним переводником установлена изолирующая шайба. На наружную поверхность внутренней трубы между внешним корпусом и нижним переводником нанесен слой электроизоляционного материала.
Внутри разделителя зона соединения верхнего переводника и внутренней трубы снабжена изолирующим слоем.
Крутящий момент, передаваемый соединением с малым углом конуса, зависит от силы затяжки. Однако в данной конструкции величина прилагаемого усилия лимитируется прочностью изолирующей шайбы, размещенной между верхним переводником и внутренней трубой.
Задачей изобретения является повышение прочности электрического разделителя при кручении.
Требуемый технический результат достигается тем, что в электрическом разделителе буровой колонны, включающем верхний и нижний переводники, электрически изолированные друг от друга, внутреннюю трубу, выполненную с малым углом конусности по наружной поверхности и имеющую электроизоляционное покрытие, внутренний и наружный изолирующие слои, соединения внутренней трубы и верхнего переводника, верхнего и нижнего переводников выполнены по коническим поверхностям с малым углом конусности. При этом внутренняя труба соединена с нижним переводником, например при помощи сварки или любым другим известным способом.
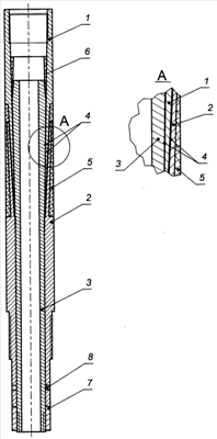
На чертеже представлен электрический разделитель.
Электрический разделитель включает верхний переводник 1, нижний переводник 2, внутреннюю трубу 3, изолирующие слои 4, наружный изолирующий слой 5, внутренний изолирующий слой 6, гайку 7.
Внутренняя и наружная поверхности верхнего переводника 1 в зоне соединения с внутренней трубой 3 и нижним переводником 2, а также соответствующие им (сочлененные с ними) поверхности внутренней трубы и нижнего переводника выполнены коническими с малым углом конусности.
Между верхним переводником 1 и внутренней трубой 3, верхним переводником и нижним переводником 2 размещены изолирующие слои 4.
Снаружи нижний переводник 2 и частично верхний переводник 1 покрыты изолирующим материалом 5.
На внутренней поверхности верхнего переводника, начиная от внутренней трубы 3, размещен изолирующий слой 6, выполненный в виде тонкостенной трубы из электроизоляционного материала, закрепленной любым известным способом.
Внутренняя труба 3 и нижний переводник 2 соединены между собой, например, сваркой 8 или любым другим известным способом (шпонкой, штифтом и т.д.).
Изолирующие слои 4 могут быть выполнены путем нанесения на соединяемые поверхности полимерного композиционного материала.
Наружный изолирующий слой 5 выполнен из полимерного композиционного материала.
Сборку разделителя проводят в следующей последовательности. На коническую часть внутренней трубы 3 наносят изолирующий слой 4. Вставляют внутреннюю трубу 3 в верхний переводник 1. На коническую наружную поверхность верхнего переводника наносят изолирующий слой 4. Вставляют сборку внутренняя труба – верхний переводник в нижний переводник 2. Заворачивают с определенным моментом гайку 7 до заклинивания соединения.
Соединяют внутреннюю трубу и нижний переводник, например сваркой 8. Сварное соединение, а также установку шпонки или штифта осуществляют через отверстие, выполненное в нижнем переводнике (на чертеже показано, но не выделено отдельной позицией). Наносят на наружную поверхность разделителя в зоне соединения переводников изолирующий слой 5. Устанавливают внутри разделителя изолирующий слой 6, выполненный в виде тонкостенной трубы из электроизоляционного материала.
В предлагаемой конструкции разделителя крутящий момент передается через два соединения с малым углом конусности. Общий передаваемый крутящий момент представляет собой сумму крутящих моментов, передаваемых каждым коническим соединением:
Мкр=М1+М2
 
где Р – сила затяжки;
Мкр – крутящий момент;
d1 и d2 – средний диаметр первого и второго конусов;
f – коэффициент трения;
К1 и К2 – конусность;
К1=2tg 1, К2=2tg 2, где 1 и 2 – половина угла при вершине первого и второго конусов.
При одном и том же усилии, создаваемом при свинчивании (затяжке) переводников, крутящий момент, передаваемый через двойное коническое соединение, практически в два раза больше, чем крутящий момент, передаваемый через простое коническое соединение (прототип).
Таким образом, достигнуто решение поставленной задачи: повышена прочность электрического разделителя при кручении.
Формула изобретения
1. Электрический разделитель буровой колонны, включающий верхний и нижний переводники, электрически изолированные друг от друга, внутреннюю трубу, выполненную с малым углом конусности по наружной поверхности и имеющую электроизоляционное покрытие, внутренний и наружный изолирующие слои, отличающийся тем, что соединения внутренней трубы и верхнего переводника, верхнего и нижнего переводников выполнены по коническим поверхностям с малым углом конусности.
2. Электрический разделитель буровой колонны по п.1, отличающийся тем, что внутренняя труба соединена с нижним переводником при помощи сварки или шпонки, или штифта.
РИСУНКИ
|
|