Патент на изобретение №2384699

Published by on




РОССИЙСКАЯ ФЕДЕРАЦИЯ



ФЕДЕРАЛЬНАЯ СЛУЖБА
ПО ИНТЕЛЛЕКТУАЛЬНОЙ СОБСТВЕННОСТИ,
ПАТЕНТАМ И ТОВАРНЫМ ЗНАКАМ
(19) RU (11) 2384699 (13) C2
(51) МПК

E21B47/10 (2006.01)

(12) ОПИСАНИЕ ИЗОБРЕТЕНИЯ К ПАТЕНТУ

Статус: по данным на 28.09.2010 – действует

(21), (22) Заявка: 2008113661/03, 07.04.2008

(24) Дата начала отсчета срока действия патента:

07.04.2008

(43) Дата публикации заявки: 20.10.2009

(46) Опубликовано: 20.03.2010

(56) Список документов, цитированных в отчете о
поиске:
SU 1618876 A1, 07.01.1991. SU 434352 A1, 30.06.1974. RU 2078463 С1, 27.04.1997. RU 2018850 С1, 30.08.1994. RU 2086987 С1, 10.08.1997. RU 44547 U1, 27.03.2005. RU 21419 U1, 20.01.2002. US 4435978 A, 13.03.1984. WO 9623957 A1, 08.08.1996.

Адрес для переписки:

350063, г.Краснодар, ул. Мира-Октябрьская, 32/46 , Филиал ООО “Газпром трансгаз-Кубань”, ИТЦ, начальнику В.Г.Гераськину

(72) Автор(ы):

Гераськин Вадим Георгиевич (RU),
Шумаков Валерий Павлович (RU),
Сычев Николай Федорович (RU),
Климов Вячеслав Васильевич (RU),
Шостак Андрей Валерьевич (RU),
Кобелева Надежда Ивановна (RU),
Побегайло Елена Алексеевна (RU)

(73) Патентообладатель(и):

ОБЩЕСТВО С ОГРАНИЧЕННОЙ ОТВЕТСТВЕННОСТЬЮ “ГАЗПРОМ ТРАНСГАЗ-КУБАНЬ” (RU)

(54) СКВАЖИННЫЙ ДАТЧИК

(57) Реферат:

Изобретение относится к нефтегазовой промышленности, в частности к контролю за разработкой нефтяных и газовых месторождений. Скважинный датчик содержит полый цилиндрический металлический корпус с расположенным в его полости датчиком термоанемометра. Датчик термоанемометра электрически изолирован от корпуса. При этом корпус подключен к электрической схеме как один из электродов цилиндрического проточного конденсатора. Часть наружной поверхности корпуса со стороны открытого окончания его выполнена конической и установлена в скважинном приборе через электрический изолятор, выполненный в виде усеченного конуса из материала с высокой механической прочностью и малой диэлектрической проницаемостью. Остальная наружная поверхность корпуса покрыта диэлектрическим слоем, устойчивым к воздействию агрессивной скважинной среды. Во внутреннем объеме корпуса дополнительно установлен акустический датчик, выполненный в виде полого цилиндрического пьезоэлемента с обеспечением жесткого механического контакта с внутренней поверхностью корпуса и электрической изоляции от него. Техническим результатом является расширение функциональных возможностей датчика. 1 ил.

Изобретение относится к нефтегазовой промышленности, в частности к контролю за разработкой нефтяных и газовых месторождений.

Известен скважинный датчик для измерения температуры, состоящий из полого металлического цилиндрического корпуса, внутри которого расположен термочувствительный элемент, имеющий тепловой контакт со стенкой корпуса. Соединение датчика со скважинным прибором осуществляется с помощью резьбы на конце корпуса, а герметизация соединения – с помощью уплотнительных резиновых колец, размещенных в канавках на конце корпуса. В зависимости от изменения скважинной температуры изменяется сопротивление термочувствительного элемента, которое преобразуется электронной схемой в значения температуры (1) (Скважинная аппаратура «Гранит». Техническое описание. Тверь. 1999 г.)

Недостатком данного датчика является ограниченность его функций только измерением температуры.

Известен скважинный датчик для измерения влагосодержания добываемого продукта, состоящий из чувствительного элемента в виде металлического стержня с наружным диэлектрическим покрытием, закрепленного через электроввод во втулке. Соединение датчика со скважинным прибором осуществляется с помощью резьбы на конце втулки, а герметизация – с помощью уплотнительных резиновых колец, расположенных в канавках втулки. Датчик располагается по оси скважинного прибора и образует проточный цилиндрический конденсатор, одним электродом которого является металлический стержень, а другим – фонарь скважинного прибора с окнами для протекания скважинного флюида. В зависимости от содержания влаги во флюиде изменяется его диэлектрическая постоянная, что приводит к изменению емкости проточного конденсатора, величина которой регистрируется электронной схемой (1) (Скважинная аппаратура «Гранит». Техническое описание. Тверь. 1999 г.).

Недостатком известного датчика является ограниченность его функций только измерением влагосодержания добываемого продукта.

Известен акустический приемник скважинного прибора, в котором сферический пьезокерамический преобразователь помещен в упругую цилиндрическую оболочку, диаметр которой меньше диаметра сферы преобразователя, а упругая цилиндрическая оболочка размещена между ограничителями, имеющими форму усеченного конуса и жестко связанными между собой охранным кожухом (2) (А.с. SU 434352, кл. G01N 1/40, опубл. 1974 г.).

Недостатком данного приемника является ограниченность его функций только приемом акустических сигналов.

Наиболее близким по технической сущности и достигаемому эффекту к заявляемому скважинному датчику является датчик скважинного термоанемометра, состоящий из полого металлического цилиндрического корпуса, внутри которого расположен с обеспечением теплового контакта со стенкой корпуса нагревательный элемент, а внутри нагревательного элемента расположен с обеспечением теплового контакта с ним термочувствительный элемент, электрически изолированный от нагревателя и корпуса. При этом корпус датчика является одним из проводников, подводящих ток к нагревателю. Соединение данного датчика со скважинным прибором также осуществляется с помощью резьбы на конце корпуса, а герметизация соединения – с помощью уплотнительных резиновых колец, размещенных в канавках на конце корпуса. В зависимости от скорости потока, обтекающего корпус термоанемометра, изменяется теплоотдача нагревателя в скважинную среду, а вместе с этим и температура термочувствительного элемента, приводящая к изменению его сопротивления, регистрируемого электронной схемой как изменение скорости потока. При выключенном нагревателе датчик может использоваться для измерения температуры (1) (Скважинная аппаратура «Гранит». Техническое описание. Тверь. 1999 г.).

Недостатком известного датчика является ограниченность его функций только измерением скорости потока добываемого продукта или измерением температуры.

Задачей настоящего изобретения является расширение функциональных возможностей скважинного датчика.

Сущность настоящего изобретения заключается в том, что в известном скважинном датчике, содержащем полый цилиндрический металлический корпус с расположенным в его полости датчиком термоанемометра, согласно изобретению часть наружной поверхности корпуса со стороны открытого окончания его выполнена конической и установлена в скважинном приборе через электрический изолятор в виде усеченного конуса из материала с высокой механической прочностью и малой диэлектрической проницаемостью, остальная наружная поверхность корпуса покрыта диэлектрическим слоем, устойчивым к воздействию агрессивной скважинной среды, во внутреннем объеме корпуса дополнительно установлен акустический датчик в виде полого цилиндрического пьезоэлемента с обеспечением жесткого механического контакта с внутренней поверхностью корпуса и электрической изоляции от него, при этом датчик термоанемометра также электрически изолирован от корпуса, корпус подключен к электрической схеме как один из электродов цилиндрического проточного конденсатора.

Новизна изобретения заключается в электрической изоляции корпуса скважинного датчика от скважинного прибора, что позволяет использовать корпус как центральный электрод датчика влагосодержания, дополнительной установки внутри корпуса акустического датчика и электрической изоляции от корпуса датчика термоанемометра. Для этого часть наружной поверхности корпуса со стороны его открытого окончания выполнена конической и установлена в скважинном приборе через электрический изолятор в виде усеченного конуса из материала с высокой механической прочностью и малой диэлектрической проницаемостью, остальная наружная поверхность корпуса покрыта диэлектрическим слоем, устойчивым к воздействию агрессивной скважинной среды. Таким образом, корпус датчика оказывается электрически изолированным от скважинного прибора и подключается к электрической схеме как центральный электрод датчика влагосодержания, вторым электродом которого является фонарь скважинного прибора. Самоуплотняющееся под действием скважинного давления соединение конического окончания корпуса датчика и скважинного прибора обеспечивает его герметичную установку в скважинный прибор. Во внутреннем объеме корпуса, в котором расположен датчик термоанемометра, имеющий тепловой контакт с корпусом, дополнительно установлен с обеспечением жесткого механического контакта с внутренней поверхностью корпуса и электрической изоляции от нее акустический датчик, выполненный, например, в виде полого цилиндрического пьезоэлемента, при этом датчик термоанемометра также электрически изолирован от корпуса и ток к нагревателю подается по двум отдельным проводникам. Предлагаемый датчик позволяет измерять температуру в скважине при выключенном нагревателе термоанемометра, измерять скорость скважинного потока при включении нагревателя, определять параметры шумовых полей в скважине с помощью акустического датчика и влагосодержание в добываемом продукте. При этом габариты датчика соответствуют габаритам прототипа, а функциональные возможности расширены до четырех измерительных каналов.

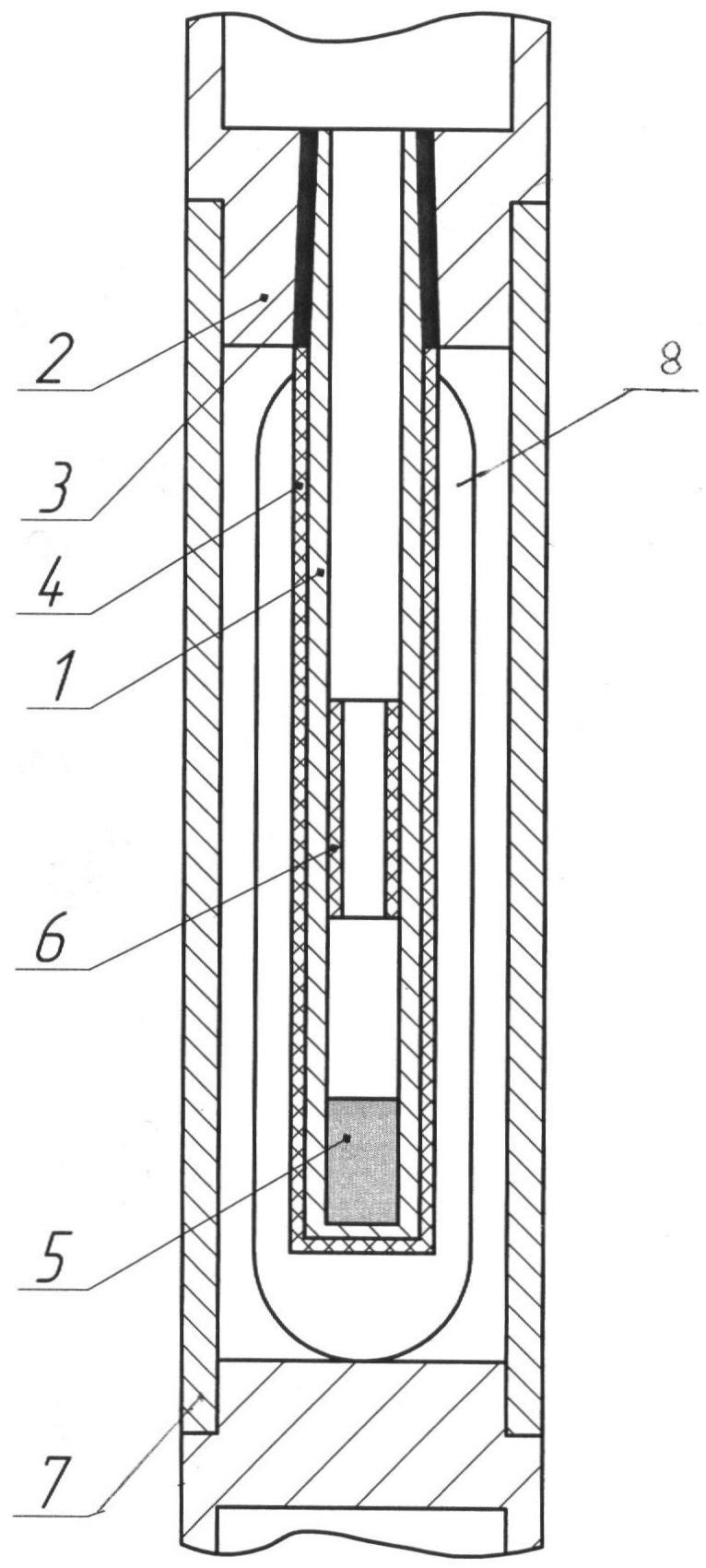
На чертеже представлен скважинный датчик.

Скважинный датчик содержит полый металлический цилиндрический корпус 1, часть наружной поверхности которого со стороны его открытого окончания выполнена конической и установлена в скважинном приборе 2 через электрический изолятор 3 в виде усеченного конуса из диэлектрического материала с малой диэлектрической проницаемостью и с высокой механической прочностью, например из пресс-материала АГ-4, а остальная наружная поверхность корпуса покрыта диэлектрическим слоем 4, устойчивым к воздействию агрессивной скважинной среды, например фторопластом. Внутри корпуса 1 установлен датчик 5 термоанемометра, имеющий тепловой контакт с внутренней поверхностью корпуса 1, электрически изолированный от него, и акустический датчик 6 в виде, например, полого цилиндрического пьезоэлемента, имеющего жесткий механический контакт с внутренней поверхностью корпуса 1, электрически изолированный от него. Корпус датчика 1 и фонарь 7 с окнами для протекания скважинного флюида образуют проточный цилиндрический конденсатор, емкость которого зависит от содержания влаги в скважинном флюиде. Корпус датчика 1 подключен к электрической схеме скважинного прибора как центральный электрод проточного цилиндрического конденсатора. Фонарь 7 является вторым электродом конденсатора. Выводы нагревателя и термочувствительного элемента термоанемометра 4 проходят внутри акустического датчика 5.

Скважинный датчик работает следующим образом.

Корпус 1 скважинного датчика через окна 8 фонаря 7 омывается потоком скважинного флюида. В зависимости от состава флюида (газ, нефть, газоконденсат, вода) изменяется его диэлектрическая постоянная. Пропорционально ей изменяется емкость конденсатора, образованного корпусом 1 скважинного датчика и фонарем 7 скважинного прибора. Этот конденсатор является времязадающим для генератора прямоугольных колебаний в электрической схеме скважинного прибора. С изменением емкости этого конденсатора меняется частота колебаний генератора, которая регистрируется электрической схемой.

Изменение скорости потока скважинного флюида приводит к изменению температуры нагревателя датчика термоанемометра 5 за счет изменения съема тепла с его поверхности, а следовательно, и к изменению сопротивления термочувствительного элемента, подключенного к измерительной схеме.

При отключенном нагревателе датчика термоанемометра 5 сопротивление термочувствительного элемента изменяется с температурой скважинного флюида.

Акустический датчик 6 реагирует на изменение шумовых полей, обусловленных, например, притоком флюида из продуктивных пластов или из отдельных пропластков продуктивного пласта.

Сигналы скважинного датчика преобразуются в цифровой вид и записываются в блок памяти в случае автономного прибора или поочередно передаются на поверхность по каротажному кабелю.

Источники информации

1. Скважинная аппаратура «Гранит». Техническое описание. Тверь.

2. Акустический приемник скважинного прибора. А.с. SU 434352, кл. G01N 1/40, опубл. 1974 г.

Формула изобретения

Скважинный датчик, содержащий полый цилиндрический металлический корпус с расположенным в его полости датчиком термоанемометра, отличающийся тем, что часть наружной поверхности корпуса со стороны открытого окончания его выполнена конической и установлена в скважинном приборе через электрический изолятор в виде усеченного конуса из материала с высокой механической прочностью и малой диэлектрической проницаемостью, остальная наружная поверхность корпуса покрыта диэлектрическим слоем, устойчивым к воздействию агрессивной скважинной среды, во внутреннем объеме корпуса дополнительно установлен акустический датчик, в виде полого цилиндрического пьезоэлемента с обеспечением жесткого механического контакта с внутренней поверхностью корпуса и электрической изоляции от него, при этом датчик термоанемометра также электрически изолирован от корпуса, корпус подключен к электрической схеме как один из электродов цилиндрического проточного конденсатора.

РИСУНКИ

Categories: BD_2384000-2384999