Патент на изобретение №2384676

Published by on




РОССИЙСКАЯ ФЕДЕРАЦИЯ



ФЕДЕРАЛЬНАЯ СЛУЖБА
ПО ИНТЕЛЛЕКТУАЛЬНОЙ СОБСТВЕННОСТИ,
ПАТЕНТАМ И ТОВАРНЫМ ЗНАКАМ
(19) RU (11) 2384676 (13) C1
(51) МПК

E04C5/07 (2006.01)

(12) ОПИСАНИЕ ИЗОБРЕТЕНИЯ К ПАТЕНТУ

Статус: по данным на 28.09.2010 – действует

(21), (22) Заявка: 2008151594/03, 26.12.2008

(24) Дата начала отсчета срока действия патента:

26.12.2008

(46) Опубликовано: 20.03.2010

(56) Список документов, цитированных в отчете о
поиске:
ЕР 0199348 А2, 29.10.1986. WO 93/08977 A1, 13.05.1993. RU 2194135 С2, 10.12.2002. DE 1936078 А, 28.01.1971. RU 94041853 A1, 20.08.1996. US 3716982 A, 20.02.1973.

Адрес для переписки:

614070, г.Пермь, б-р Гагарина, 49, кв.11, А.С. Шахову

(72) Автор(ы):

Шахов Антон Сергеевич (RU),
Шахов Сергей Владимирович (RU),
Шабалин Семен Игоревич (RU),
Шабалин Станислав Игоревич (RU),
Лялин Евгений Викторович (RU),
Степанова Валентина Федоровна (RU)

(73) Патентообладатель(и):

Общество с ограниченной ответственностью “КОММЕРЧЕСКОЕ НАУЧНО-ПРОИЗВОДСТВЕННОЕ ОБЪЕДИНЕНИЕ “УРАЛЬСКАЯ АРМИРУЮЩАЯ КОМПАНИЯ” (RU)

(54) АРМАТУРА КОМПОЗИТНАЯ (ВАРИАНТЫ)

(57) Реферат:

Изобретение относится к строительству, а именно к композитной арматуре. Арматура композитная, содержит несущий стержень из высокопрочного полимерного материала и обмотку обмоточными жгутами и лентами нитей; жгутами; лентами нитей, рельеф поверхности которого создан обмоткой одного или противоположного направления, причем рельеф поверхности стержня создан обмоточными жгутами и лентами нитей, или жгутами, или лентами нитей многозаходной навивки различных площадей сечений и шагов, причем шаг многозаходной навивки равен сумме шагов различных заходов навивки, а соотношение площадей сечений обмоточных жгутов и лент находятся в пределах от 1,01 до 250. 6 н.п. ф-лы, 6 ил.

Изобретение относится к строительству, а именно к композитной арматуре, которая применяется в строительных конструкциях: для армирования монолитных бетонных и сборных зданий; для использования в конструктивных элементах зданий в виде отдельных стержней; для изготовления термоизоляционных стеновых панелей; для армирования бетонных изделий (плиты, фундаменты), работающих на упругом основании; для армирования грунта оснований зданий и сооружений, в том числе оснований автомагистралей и дорог; для армирования асфальтобетонного покрытия дорог; для анкеровки в грунте подпорных стен и сооружений.

Известен арматурный элемент, содержащий стержень из высокопрочного полимерного материала и обмотку с уступами (Фролов В.П. Стеклопластиковая арматура и стеклобетонные конструкции. М., Стройиздат, 1980, с.20-27).

Недостатком такого арматурного элемента является низкая степень сцепления с бетоном.

Известна арматура стеклопластиковая по патенту RU 2194135 (опубл. 10.12.2002), содержащая несущий стержень из высокопрочного полимерного материала и обмотку с уступами, которые выполнены в виде жгута нитей, пропитанных связующим и спирально нанесенных с натягом, равным 1/2-1/10 диаметра вдавливания жгута в поверхность несущего стержня, причем диаметр навивки жгута составляет до 2d, где d – диаметр несущего стержня, при этом стержень может быть снабжен вторым жгутом нитей с противоположным направлением навивки первому, а также может быть выполнен со спиральными канавками, чередующимися с уступами.

Недостатком такой арматуры является низкая степень сцепления с бетоном.

Известна арматура стеклопластиковая по патенту на ПМ RU 77310 (опубл. 20.10.2008), содержащая несущий стержень из высокопрочного полимерного материала и обмотку, выполненную жгутами или обмоточной лентой одного или противоположного направления навивки, причем соотношение площадей обмоточного жгута и обмоточной ленты находится в пределах от 1 до 150.

Недостатком такой арматуры является низкая степень сцепления с бетоном.

Для достижения указанного технического результата в арматуре композитной, содержащей несущий стержень из высокопрочного полимерного материала и обмотку жгутами и лентами нитей; жгутами; лентами, рельеф поверхности которого создан обмоткой одного или противоположного направления, причем рельеф поверхности стержня создан обмоточными жгутами и лентами нитей; жгутами; лентами нитей многозаходной навивки различных площадей сечений и шагов, причем шаг многозаходной навивки равен сумме шагов различных заходов навивки, а соотношение площадей сечений обмоточных жгутов и лент находятся в пределах от 1,01 до 250.

Арматура содержит несущий стержень из высокопрочного полимерного материала и обмотку.

По 1 варианту жгутами и лентами нитей, рельеф поверхности которого создан обмоткой противоположного направления, причем рельеф поверхности стержня создан обмоточными жгутами и лентами нитей многозаходной навивки.

По 2 варианту жгутами и лентами нитей, рельеф поверхности которого создан обмоткой одного направления, рельеф поверхности стержня создан обмоточными жгутами и лентами нитей многозаходной навивки.

По 3 варианту лентами нитей, рельеф поверхности которого создан обмоткой противоположного направления, рельеф поверхности стержня создан обмоточными лентами нитей многозаходной навивки.

По 4 варианту лентами нитей, рельеф поверхности которого создан обмоткой одного направления, рельеф поверхности стержня создан обмоточными лентами нитей многозаходной навивки.

По 5 варианту обмотку жгутами нитей, рельеф поверхности которого создан обмоткой противоположного направления, рельеф поверхности стержня создан обмоточными жгутами нитей многозаходной навивки.

По 6 варианту жгутами нитей, рельеф поверхности которого создан обмоткой одного направления, рельеф поверхности стержня создан обмоточными жгутами нитей многозаходной навивки.

Благодаря наличию этих признаков создан новый вид композитной арматуры, имеющей повышенное сцепление с бетоном.

Арматуру композитную изготавливают методом продольной протяжки волокон несущего стержня со спиральной многозаходной намоткой уступов различной величины из высокопрочного полимерного материала (стеклянных, базальтовых, углеродных и других волокон), пропитанных эпоксидным компаундом на основе смолы ЭД-20 с отвердителем. После отверждения полученный стержень разрезают на отрезки необходимой длины. Способ получения арматуры прост, технологичен, не требует разработки специального оборудования и не требует дополнительных капитальных затрат.

Изобретение поясняется чертежами.

На фиг.1 изображена четырехзаходная композитная арматура с рельефом поверхности, созданным обмоточными жгутами и лентами нитей противоположного направления навивки.

На фиг.2 изображена четырехзаходная композитная арматура с рельефом поверхности, созданным обмоточными жгутами и лентами нитей одного направления навивки.

На фиг.3 изображена четырехзаходная композитная арматура с рельефом поверхности, созданным обмоточными лентами нитей противоположного направления навивки.

На фиг.4 изображена четырехзаходная композитная арматура с рельефом поверхности, созданным обмоточными лентами нитей одного направления навивки.

На фиг.5 изображена четырехзаходная композитная арматура с рельефом поверхности, созданным обмоточными жгутами нитей противоположного направления навивки.

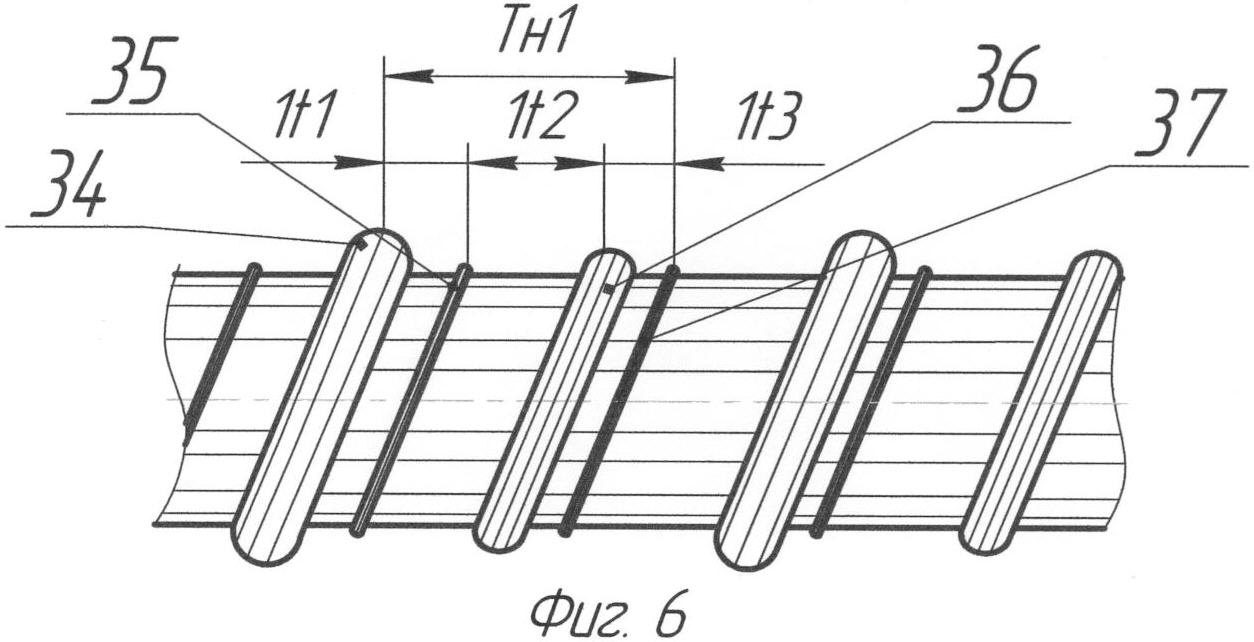
На фиг.6 изображена четырехзаходная композитная арматура с рельефом поверхности, созданным обмоточными жгутами нитей одного направления навивки.

В арматуре, изображенной на фиг.1, рельеф поверхности стержня создан обмоточными жгутами и лентами противоположного направления навивки.

Арматура композитная содержит несущий стержень 1 (Фиг.1) из высокопрочного полимерного материала (например, стекловолокно, базальтовое волокно) и спиральные обмотки противоположных направлений, выполненные из таких же волокон и пропитанные эпоксидным компаундом. Обмотки 2, 3, 4, 5 одновременно нанесены на стержень 1, т.е. выполнены многозаходными. Параметры жгутов и лент этих обмоток и шаг нанесения различны. Обмотки 6, 7, 8, 9 также выполнены многозаходными, но противоположного направления навивки. Параметры лент этих обмоток и шаг нанесения также различны.

В арматуре, изображенной на фиг.2, рельеф поверхности стержня создан обмоточными жгутами и лентами одного направления навивки. Обмотка 10 выполнена из жгута, а обмотки 11, 12, 13 выполнены из лент. Параметры лент и шаг их нанесения различны.

В арматуре, изображенной на фиг.3, рельеф поверхности стержня создан обмоточными лентами противоположного направления навивки. Обмотки 14, 15, 16, 17 одного направления и обмотки 18, 19, 20, 21 противоположного направления навивки выполнены из лент нитей разного размера и нанесены с разным шагом.

В арматуре, изображенной на фиг.4, рельеф поверхности стержня создан обмоточными лентами одного направления навивки. Обмотки 22, 23, 24, 25 выполнены из лент нитей разных размеров и нанесены с различным шагом.

В арматуре, изображенной на фиг.5, рельеф поверхности стержня создан обмоточными жгутами противоположного направления навивки. Обмотки 26, 27, 28, 29 одного направления и обмотки 30, 31, 32, 33 противоположного направления навивки выполнены из жгутов нитей разного размера и нанесены с разным шагом.

В арматуре, изображенной на фиг.6, рельеф поверхности стержня создан обмоточными жгутами одного направления навивки. Обмотки 34, 35, 36, 37 выполнены из жгутов нитей разного размера и нанесены с разным шагом.

Были проведены сравнительные испытания по определению сцепления с бетоном базальтопластиковой арматуры с наружным диаметром 8 мм при различных вариантах рельефности. Диапазон применимости вариантов выполнения рельефности определяется по соотношению площадей сечений обмоток – коэффициенту «К». K=Fmax/Fmin,

где Fmax – максимальная площадь сечения обмоточного жгута или ленты;

Fmin – минимальная площадь сечения обмоточного жгута или ленты.

Сцепление с бетоном определялось по усилиям выдергивания вариантов исполнения арматуры из цементно-песчаных заливок марки M100 при длине заливки 100 мм. В таблице приведены удельные значения усилия выдергивания (сцепления) на единицу длины арматуры А=Н/мм.

В первом варианте исполнения арматура по прототипу имела однозаходную обмотку из базальтового жгута диаметром 3 мм с шагом t=15 мм, величина А=62 н/мм.

Во втором варианте исполнения арматуры обмотка выполнена четырехзаходной из жгутов и лент противоположного направления навивки. Жгут диаметром 2,5 мм, площадь сечения жгута – 4,9 мм2. Лента (0,5×10) мм, площадь сечения 5 мм2, А=78 Н/мм, К=1,02.

В третьем варианте исполнения арматуры обмотка выполнена четырехзаходной из жгутов и лент одного направления навивки. Жгут диаметром 3 мм, площадь сечения 7,065 мм2, лента (0,1×3)мм, площадь сечения 0,3 мм2, А=84 Н/мм, К=23,5.

В четвертом варианте исполнения арматуры обмотка выполнена четырехзаходной из лент противоположного направления навивки. Лента (0,5×10)мм, площадь сечения 5 мм, (0,1×3) мм, площадь сечения 0,3 мм2, А=80 Н/мм, К=16,6.

В пятом варианте исполнения арматура выполнена четырехзаходной из лент одного направления навивки. Ленты (3×10) мм, площадь сечения 30 мм, (0,1×3), площадь сечения 0,3 мм2, А=88 Н/мм, К=100.

В шестом варианте исполнения арматура выполнена четырехзаходной из жгутов противоположного направления навивки. Жгут диаметром 3 мм, площадь сечения 7,065 мм2, жгут диаметром 0,2 мм, площадь сечения 0,031 мм2, А=92 Н/мм, К=227,9.

В седьмом варианте исполнения арматура выполнена четырехзаходной из жгутов одного направления навивки. Жгут диаметром 3 мм, площадь сечения 7,065 мм, жгут диаметром 0,18 мм, площадь сечения 0,025 мм2, К=282,6, Обрыв обмоточной нити.

Результаты испытаний приведены в таблице.

пример К А примечание
1 62
2 1,02 78 Превышение диаметра арматуры сверх допуска
3 23,5 84
4 16,6 80
5 100 88
6 227,9 92
7 282,6 Обрыв обмоточной нити

Диапазон применимости арматуры по соотношению площадей сечения «К» спиральных обмоток находится в пределах от 1,02 до 227,9.

При К<1,02 значительно повышается наружный диаметр арматуры в местах пересечения обмоток противоположных направлений.

При К>227,9 тонкий обмоточный жгут из-за малой прочности рвется в нитетракте обмотчика.

Предлагаемая арматура композитная с переменной величиной винтовых выступов, образованных многозаходной навивкой обмоточных жгутов, лент в разных комбинациях площадей сечений и шагов намотки одного и противоположных направлений повышает сцепление арматуры с бетоном, что, в свою очередь, повышает несущую способность строительных конструкций.

Формула изобретения

1. Арматура композитная, содержащая несущий стержень из высокопрочного полимерного материала и обмотку жгутами и лентами нитей, рельеф поверхности которого создан обмоткой противоположного направления, отличающаяся тем, что рельеф поверхности стержня создан обмоточными жгутами и лентами нитей многозаходной навивки различных площадей сечений и шагов, причем шаг многозаходной навивки равен сумме шагов различных заходов навивки, а соотношение площадей сечений обмоточных жгутов и лент находятся в пределах от 1,01 до 250.

2. Арматура композитная, содержащая несущий стержень из высокопрочного полимерного материала и обмотку жгутами и лентами нитей, рельеф поверхности которого создан обмоткой одного направления, отличающаяся тем, что рельеф поверхности стержня создан обмоточными жгутами и лентами нитей многозаходной навивки различных площадей сечений и шагов, причем шаг многозаходной навивки равен сумме шагов различных заходов навивки, а соотношение площадей сечений обмоточных жгутов и лент находятся в пределах от 1,01 до 250.

3. Арматура композитная, содержащая несущий стержень из высокопрочного полимерного материала и обмотку лентами нитей, рельеф поверхности которого создан обмоткой противоположного направления, отличающаяся тем, что рельеф поверхности стержня создан обмоточными лентами нитей многозаходной навивки различных площадей сечений и шагов, причем шаг многозаходной навивки равен сумме шагов различных заходов навивки, а соотношение площадей сечений обмоточных лент находятся в пределах от 1,01 до 250.

4. Арматура композитная, содержащая несущий стержень из высокопрочного полимерного материала и обмотку лентами нитей, рельеф поверхности которого создан обмоткой одного направления, отличающаяся тем, что рельеф поверхности стержня создан обмоточными лентами нитей многозаходной навивки различных площадей сечений и шагов, причем шаг многозаходной навивки равен сумме шагов различных заходов навивки, а соотношение площадей сечений обмоточных лент находятся в пределах от 1,01 до 250.

5. Арматура композитная, содержащая несущий стержень из высокопрочного полимерного материала и обмотку жгутами нитей, рельеф поверхности которого создан обмоткой противоположного направления, отличающаяся тем, что рельеф поверхности стержня создан обмоточными жгутами нитей многозаходной навивки различных площадей сечений и шагов, причем шаг многозаходной навивки равен сумме шагов различных заходов навивки, а соотношение площадей сечений обмоточных жгутов находятся в пределах от 1,01 до 250.

6. Арматура композитная, содержащая несущий стержень из высокопрочного полимерного материала и обмотку жгутами нитей, рельеф поверхности которого создан обмоткой одного направления, отличающаяся тем, что рельеф поверхности стержня создан обмоточными жгутами нитей многозаходной навивки различных площадей сечений и шагов, причем шаг многозаходной навивки равен сумме шагов различных заходов навивки, а соотношение площадей сечений обмоточных жгутов и лент находятся в пределах от 1,01 до 250.

РИСУНКИ


HE4A – Изменение адреса для переписки с обладателем патента Российской Федерации на изобретение

Новый адрес для переписки с патентообладателем:

614031, г. Пермь, ул. Докучаева, 50

Извещение опубликовано: 20.08.2010 БИ: 23/2010


QB4A – Регистрация лицензионного договора на использование изобретения

Лицензиар(ы): Общество с ограниченной ответственностью “Коммерческое научно-производственное обьединение “Уральская армирующая компания”

Вид лицензии*: ИЛ

Лицензиат(ы): Общество с ограниченной ответственностью “ТБМ”

Договор № РД0068345 зарегистрирован 12.08.2010

Извещение опубликовано: 27.09.2010 БИ: 27/2010

* ИЛ – исключительная лицензия НИЛ – неисключительная лицензия


Categories: BD_2384000-2384999