|
|
(21), (22) Заявка: 2007101533/04, 15.06.2005
(24) Дата начала отсчета срока действия патента:
15.06.2005
(30) Конвенционный приоритет:
17.06.2004 DE 102004029147.0
(43) Дата публикации заявки: 27.07.2008
(46) Опубликовано: 20.03.2010
(56) Список документов, цитированных в отчете о поиске:
JP 6157365 А, 03.06.1994. ЕР 0026349 A1, 08.04.1981. DE 199190964 A1, 21.09.2000. ЕР 0907626 A1, 14.04.1999. US 2004116625 A1, 17.06.2004. US 5177233 A, 05.01.1993. US 4783564 A, 08.11.1988. WO 03074167 A1, 12.09.2003. RU 2114812 C1, 10.07.1998. RU 2074849 С1, 10.03.1997.
(85) Дата перевода заявки PCT на национальную фазу:
17.01.2007
(86) Заявка PCT:
EP 2005/006437 20050615
(87) Публикация PCT:
WO 2005/123635 20051229
Адрес для переписки:
129090, Москва, ул. Б.Спасская, 25, стр.3, ООО “Юридическая фирма Городисский и Партнеры”, пат.пов. Е.Е.Назиной
|
(72) Автор(ы):
БЕНЬЕ Михель (DE), ХАФЕНШЕР Харальд (DE)
(73) Патентообладатель(и):
УДЕ ГМБХ (DE), ФИННОЛИТ ГМБХ УНД КО. КГ (DE)
|
(54) СПОСОБ И УСТРОЙСТВО ДЛЯ ПОЛУЧЕНИЯ 1,2-ДИХЛОРЭТАНА ПРЯМЫМ ХЛОРИРОВАНИЕМ
(57) Реферат:
Изобретение относится к способу получения 1,2-дихлорэтана высокой чистоты из растворенного хлора и растворенного этилена, которые приводят в контакт друг с другом, с применением побуждаемой к циркуляции жидкой реакционной среды, которая по существу состоит из 1,2-дихлорэтана и катализатора и по меньшей мере проходит через вертикально расположенную, образующую петлю зону реакции, причем оба колена петли связаны с расположенным вверху газоотделителем, из которого продукт реакции отводят в газообразном или жидком виде или как в газообразном, так и в жидком виде, характеризующемуся тем, что: несколько, по меньшей мере 3, секций подачи расположены в колене петли, по которому жидкость течет вверх; и каждая из этих секций подачи состоит из узла подачи растворенного или газообразного этилена, расположенного на входе в секцию, и узла подачи растворенного хлора, расположенного на выходе из секции, и кроме того может иметь статические смесительные устройства. Также изобретение относится к устройству для осуществления настоящего способа. Настоящий способ является более экономически выгодным, так же как и соответствующее устройство, и позволяет увеличить мощность без увеличения внешних размеров реактора и одновременно получать дихлорэтан высокой чистоты. 2 н. и 1 з.п. ф-лы, 1 ил.
Изобретение относится к способу и устройству для получения 1,2-дихлорэтана, обозначаемого далее ДХЭ (EDC), который преимущественно используют в качестве полупродукта при получении мономера винилхлорида, обозначаемого далее МВХ (VCM), из которого впоследствии получают поливинилхлорид ПВХ (PVC). При превращении ДХЭ в МВХ образуется хлористый водород HCl. Поэтому ДХЭ получают преимущественно из этилена C2H4 и хлора Cl2 таким образом, чтобы относительно образующегося и используемого хлористого водорода HCl достигался уравновешенный баланс в соответствии со следующими уравнениями реакции:
Cl2+C2H4 C2H4Cl2 (чистый ДХЭ)+218 кДж/моль (1)
C2H4Cl2 (пиролизный ДХЭ) C2H3Cl (МВХ)+HCl-71 кДж/моль (2)
C2H4+2HCl+1/2O2 C2H4Cl2 (ДХЭ-сырец)+H2O+238 кДж/моль (3)
Способ получения МВХ с уравновешенным балансом по HCl, далее сокращенно называемый “сбалансированный МВХ-способ”, включает в себя:
– прямое хлорирование, которым из этилена C2H4 и хлора Cl2 в присутствии гомогенного катализатора получают одну часть требуемого ДХЭ в качестве так называемого чистого ДХЭ;
– окислительное хлорирование, которым из этилена C2H4, хлористого водорода HCl и кислорода O2 получают другую часть ДХЭ в качестве так называемого ДХЭ-сырца;
– фракционную очистку ДХЭ, которой ДХЭ-сырец совместно с рециркулирующим со стадии фракционирования МВХ возвратным ДХЭ и необязательно совместно с чистым ДХЭ освобождают от побочных продуктов, образующихся на стадии окислительного хлорирования и пиролиза ДХЭ для получения пригодного для применения на стадии пиролиза ДХЭ так называемого питающего ДХЭ, который, если желательно, может быть получен также из чистого ДХЭ, выходящего со стадии прямого хлорирования, отгонкой в колонне высокотемпературной дистилляции ДХЭ;
– пиролиз ДХЭ, которым питающий ДХЭ термически расщепляют; пиролизный газ, называемый отходящей реакционной смесью, содержит МВХ, хлористый водород HCl и непрореагировавший ДХЭ, а также побочные продукты;
– фракционирование МВХ, при котором из пиролизного газа выделяют требуемый чистый МВХ в качестве продукта, раздельно рекуперируют другие существенные составляющие части пиролизного газа, такие как хлористый водород HCl и непрореагировавший ДХЭ, в качестве сырья и направляют на рециркуляцию для последующего использования в качестве возвратного HCl и, соответственно, возвратного ДХЭ по сбалансированному МВХ-способу.
Реакционной средой при прямом хлорировании в большинстве промышленно применяемых способов служит циркулирующий поток продуктов реакции ДХЭ. Данный поток может быть осуществлен в петлеобразном реакторе с внешним или внутренним контуром циркуляции. Кроме того, циркуляционный поток может быть осуществлен с принудительной или естественной циркуляцией. В качестве катализатора применяют преимущественно хлорид железа (III); дополнительно в качестве добавки применяют хлорид натрия, позволяющий уменьшить образование высококипящих соединений.
Известный уровень техники прямого хлорирования описан, например, в документе DE 199 10 964 A1. По способу, описанному в документе DE 199 10 964 A1, необходимо подавлять побочные реакции, преимущественно дальнейшее хлорирование ДХЭ до 1,1,2-трихлорэтана, вследствие того, что реакция хлорирования в гомогенной жидкой фазе заходит более далеко. Этилен, который труднее, чем хлор, растворим в ДХЭ, растворяют полностью в главном потоке циркулирующей реакционной среды ДХЭ в прямоточной барботажной колонне. Хлор, который легче, чем этилен, растворим в ДХЭ, растворяют в охлажденном вспомогательном потоке ДХЭ и полученный таким образом раствор хлора в ДХЭ добавляют в циркулирующий главный поток, в котором уже находится растворенный этилен.
Реакцию (1) обычно проводят при незначительном избытке этилена во избежание в любом случае коррозии системы реактора, повышенного образования побочных продуктов, а также проблем, связанных с обработкой хлорсодержащих абгазов. Хлор и этилен подают в реактор в регулируемом соотношении; в качестве задающего воздействия используют содержание этилена в отходящем реакционном потоке. Поэтому по экономическим соображениям всегда стремятся держать избыток этилена на выходе из реактора возможно меньшим во избежание больших потерь этилена.
В дальнейшем было выяснено, что реакция (1) протекает без большого образования побочных продуктов в особенности тогда, когда она полностью проводится как жидкофазная реакция, как это описывается также в документе WO 03/070673 A1. Для этого требуется, чтобы этилен в реакционной трубе еще перед подачей растворенного хлора был полностью растворен. Первоначально образующиеся в газораспределителе маленькие пузыри газа увеличиваются вследствие коалесценции при движении вдоль этой зоны и достигают наконец равновесной величины, обусловленной процессами коалесценции и дробления. В данном случае речь идет об эффекте, который неблагоприятно влияет на массообмен, так как вследствие увеличения диаметра пузырьков при определенном общем объеме газа уменьшается доступная для массообмена поверхность.
Реакция (1) в прилегающей удаленной гомогенной зоне реакции протекает по закону кинетики реакции 2-го порядка. Если оба реагента первоначально имеются в стехиометрическом соотношении или имеется небольшой избыток одного из реагентов, то реакция протекает медленнее, чем тогда, когда один из реагентов, например, этилен в реакции (1), первоначально имеется в большом избытке. Для реактора описанного здесь типа это означает, что реакция заканчивается в течение более короткого пути, проходимого циркулирующим потоком реакционной среды, чем это было бы в случае незначительного первоначального избытка этилена.
Наложение эффектов при растворении этилена, при самой реакции и введении режима кипения определяет при предшествующем уровне техники размеры реактора кипящего типа и значительно затрудняет последующее повышение мощности.
Поэтому задачей изобретения является разработка экономически выгодного способа, так же как и соответствующего устройства, который позволяет увеличить мощность без увеличения внешних размеров реактора и одновременно получить ДХЭ высокой чистоты.
Данная задача решается путем создания способа по п. 1 формулы изобретения. В изобретении задача решается тем, что:
– несколько, по меньшей мере 3, секций подачи расположены в колене петли, по которому жидкость течет вверх; и
– каждая из этих секций подачи состоит из узла подачи растворенного или газообразного этилена, расположенного на входе в секцию, и узла подачи растворенного хлора, расположенного на выходе из секции, и кроме того может иметь статическое смесительное устройство.
Узел подачи выполняют обычно в виде сопла, но он может быть выполнен также в ином виде.
Благодаря установке большего числа вышеописанных секций подачи в определенных зонах реакции в подъемной трубе петли реактора возникает следующий положительный эффект: благодаря последовательному включению все зоны реакции, за исключением последней, могут работать при большом избытке этилена, что ведет к значительному укорачиванию зон реакции и тем самым предоставляется возможность разместить большее число зон реакции в реакционной трубе экономически выгодного конструктивного размера. Таким образом при определенном размере реактора может быть достигнута очень высокая производительность. Непрореагировавший этилен от каждой предыдущей зоны реакции переносится в растворенном виде в последующую зону растворения или реакции. Соотношение этилен-хлор для всех зон реакции, за исключением последней зоны, расположенной перед выходом из реактора, устанавливают предпочтительно постоянным. Соотношение этилен-хлор последней зоны реакции, напротив, регулируют традиционным способом, причем в качестве задающего воздействия используют содержание этилена в выходящем из реактора газовом потоке.
При этом дополнительно возникает неожиданный положительный эффект, такой, что потери этилена по отношению к количеству получаемого ДХЭ становятся тем меньше, чем больше устанавливают зон реакции, соответственно, тем больше получают ДХЭ в петлеобразном реакторе описанного здесь типа. Это основано на том, что потери этилена всей системы соответствуют только потерям этилена последней зоны реакции, в то время как предыдущие зоны реакции работают без потерь этилена. Так как реакция аналогично описанному в документе WO 03/070673 A1 способу осуществляется кроме того в жидкой фазе, то полностью сохраняются положительные эффекты данной системы, в частности очень незначительное образование побочных продуктов при относительно высокой температуре реакции. Дополнительное укорачивание зон реакции может быть достигнуто в том случае, когда вышеописанное последовательное включение зон реакции комбинируют с усилением процесса растворения этилена и, соответственно, реакции применением статического смешивающего элемента.
Вследствие того, что устанавливают большее число узлов подачи этилена в подъемной трубе петли реактора, повышается среднее содержание газа в подъемной трубе и тем самым повышается также движущая сила, которая постоянно требуется для естественной циркуляции. Поэтому становится возможным встроить в соответствующие зоны реакции статические смесители, применение которых хотя и известно по сущности из документа EP 907 626 A1, однако на основании потерь давления в них, известным из других способов, они должны работать с энергоемким, ухудшающим экономическую эффективность рециркуляционным насосом и, соответственно, при установке их в петлю реактора с естественной циркуляцией отрицательно влияют на регулировочные характеристики, в частности на характеристики частичной нагрузки.
В одном из других воплощений изобретения предусматривается, что на всех узлах подачи этилена, за исключением последней по ходу потока секции подачи, подают соответствующее, значительно превышающее стехиометрическое, количество этилена. Особо экономически выгодной оказалась подача этилена в количестве, превышающем стехиометрическое от 10 до 20%. Хотя из-за увеличенной подачи соответственно увеличивается соответствующая зона растворения, но вследствие этого реакция протекает в целом быстрее, что в конечном счете ведет к уменьшению конструктивной высоты и позволяет установить большее число узлов подачи и увеличить выход реакции.
В целом, таким образом, в реакторе кипящего типа традиционного конструктивного размера при реконструкции в соответствии с настоящим изобретением возможно достигнуть по меньшей мере удвоенного выхода по реакции (1). Поэтому большой положительный эффект изобретения состоит в несложном переоснащении существующих установок при повышении их мощности. Разумеется, особо экономически выгодно и рационально в случае больших установок оснащать реакторы кипящего типа устройствами по настоящему изобретению уже на начальной стадии проектирования.
Реактор кипящего типа по настоящему изобретению показывает также отличные характеристики частичных нагрузок, так как отдельные узлы подачи могут быть задействованы даже без остановки процесса, что является следующим положительным эффектом изобретения. Представляется целесообразным, что сначала включают более высоко расположенные узлы подачи и снижают давление, так что образовавшийся ДХЭ закипает раньше. Таким образом, даже при малых нагрузках может быть уравновешена потеря давления и задействованы статические смесители, если они предусмотрены.
Изобретение относится также к устройству для осуществления способа с реактором кипящего типа, который содержит газоотделитель, петлю реактора, работающую в режиме естественной циркуляции, а также устройства для отвода образовавшегося ДХЭ и по меньшей мере по 2 устройства для подачи растворенного хлора и этилена. Также устройство может необязательно содержать устройства для статического перемешивания.
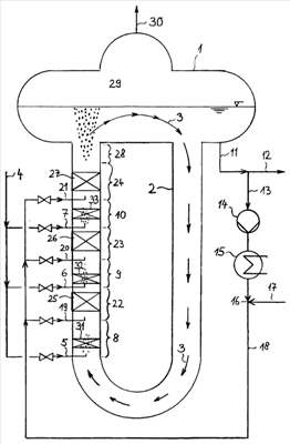
Изобретение поясняется далее более детально примером. На чертеже показан реактор для прямого хлорирования, который состоит из газоотделителя 1 и петли 2, в которой циркулирует жидкий ДХЭ 3, обозначенный стрелками, и в которой происходит реакция (1), а также узлов подачи хлора и этилена по настоящему изобретению.
Газообразный, находящийся под давлением этилен 4 распределяют через регулировочные клапаны по узлам 5, 6 и 7 подачи этилена. Узлы подачи этилена выполняют таким образом, что образуются мелкие пузыри, обозначенные на чертеже точками, которые могут быстро растворяться в зонах 8, 9 и 10 растворения. В зоны 8, 9 и 10 растворения могут быть необязательно встроены статические смесители 31, 32 и 33.
Подводимый хлор сначала растворяют в ДХЭ. Для этого вспомогательный поток 11 полученного ДХЭ отводят из газоотделителя 1 и разделяют на поток 12 ДХЭ, который может также быть периодически отводимым потоком, и растворяющий поток 13. Растворяющий поток 13 подают затем насосом 14 в холодильник 15 и далее в смеситель хлора 16, в который подают газообразный хлор 17. Раствор 18 хлора регулируемым образом распределяют по узлам 19, 20 и 21 подачи хлора и вводят через сопла в петлю 2, создавая при этом как можно более сильное завихрение.
Над узлами 19, 20 и 21 подачи хлора располагаются зоны 22, 23 и 24 реакции, в которых происходит реакция (1) только в жидкой фазе. Для улучшения перемешивания в зоны 22, 23 и 24 реакции встроены статические смесители 25, 26 и 27.
В верхней части петли 2 к зоне 24 реакции примыкает область 28 кипения, обозначенная на чертеже изображением пузырьков. Парообразный ДХЭ поступает в паровое пространство 29 газоотделителя 1 и отводится в качестве парообразного продукта 30 ДХЭ.
Изобретение поясняется далее более детально расчетным примером. В петле 2 реактора циркулирует жидкий ДХЭ с расходом 8000 т/ч и температурой в интервале от 90 до 135 °C. Через узел 5 подачи подают 8892 кг/ч, соответственно 317 кмоль/ч газообразного этилена, который растворяется при движении вдоль зоны 8 циркуляции в циркулирующем ДХЭ 3.
Из газоотделителя 1 отбирают жидкий ДХЭ (поток 13) с расходом 1140 т/ч, насосом 14 подают в теплообменник 15, в котором охлаждают до температуры в интервале от 30 до 60 °C. В смесителе 16 хлора поток охлажденного ДХЭ смешивают с газообразным или жидким хлором с расходом по хлору 61260 кг/ч, что соответствует 864 кмоль/ч. Полученный таким образом раствор 18 хлора делят на три равных вспомогательных потока, каждый из которых переносит соответственно 380 т/ч ДХЭ и 20420 кг/ч хлора, что соответствует 288 кмоль/ч хлора. Упомянутые три вспомогательных потока подают через узлы 19, 20 и 21 подачи в петлю 2 реактора.
Альтернативно возможно также вести процесс (на чертеже не показано) таким образом, что поток охлажденного ДХЭ с расходом 1140 т/ч ДХЭ сначала делят на три равных вспомогательных потока с расходом 380 т/ч ДХЭ и каждый из этих трех вспомогательных потоков ДХЭ в отдельном смесителе хлора смешивают с газообразным или жидким хлором с расходом по хлору 20420 кг/ч, что соответствует 288 кмоль/ч. При этом также получают три вспомогательных потока раствора хлора в ДХЭ, каждый из которых переносит соответственно 380 т/ч ДХЭ и 20420 кг/ч хлора, и подают их через узлы 19, 20 и 21 подачи в петлю 2 реактора.
Восходящий по подъемной трубе петли реактора первый поток 5 этилена, который растворялся при движении вдоль зоны 8 в циркулирующем потоке 3 ДХЭ, смешивают с вспомогательным потоком 19 раствора хлора в ДХЭ. Как участники реакции, хлор и этилен взаимодействуют в жидкой фазе при движении вдоль зоны 22 реакции с образованием ДХЭ. Так как имеется молярный избыток растворенного этилена 10%, то реакция связывания растворенного хлора протекает значительно быстрее, чем тогда, когда реагенты были бы в эквимолярном соотношении или этилен имелся бы только в незначительном избытке. За счет тепла реакции происходит нагревание циркулирующего ДХЭ. Так как добавляемый раствор хлора имеет значительно более низкую температуру, чем циркулирующий ДХЭ, то часть тепла реакции снимается за счет нагревания раствора хлора до температуры содержимого реактора. Благодаря этому, а также благодаря соответствующему регулированию давления в реакторе удается подавлять кипение в нижних зонах реакции и тем самым подавлять усиленное образование побочных продуктов.
После связывания растворенного хлора циркулирующий поток 3 ДХЭ, который теперь входит во вторую по счету от низа подъемной трубы петли реактора зону 9 растворения этилена, уже содержит растворенный этилен. В зону 9 растворения этилена поток 3 ДХЭ вносит этилен с расходом по растворенному этилену 814 кг/ч, что соответствует 29 кмоль/ч. Далее через узел 6 подачи этилена подают 8078 кг/ч, соответственно 288 кмоль/ч газообразного этилена, который растворяется при движении вдоль зоны 9 растворения в циркулирующем ДХЭ 3. После прохождения зоны 9 растворения этилена вновь имеется в наличии поток ДХЭ с расходом по растворенному этилену 8892 кг/ч, что соответствует 317 кмоль/ч.
Аналогичным образом далее проводят подачу вспомогательного потока 20 растворенного в ДХЭ хлора и реакцию между хлором и этиленом с образованием ДХЭ при движении вдоль зоны 23 реакции. Здесь также благодаря охлаждающему действию потока охлажденного раствора хлора, а также благодаря соответственному регулированию давления в реакторе подавляют кипение реакционной смеси. Здесь также при молярном избытке этилена 10% происходит быстрое связывание хлора.
Так как потери этилена, так же как и излишне высокое содержание растворенного этилена в полученном ДХЭ экономически невыгодны и, соответственно, на заключительных этапах процесса нежелательны, то в последней, самой высоко расположенной в подъемной трубе петли реактора зоне реакции процесс проводят только при незначительном избытке этилена.
Так же, как и в первую зону реакции, в зону 10 растворения этилена поступает растворенный этилен с расходом 814 кг/ч, что соответствует 29 кмоль/ч. Через узел 7 подачи этилена подают 7289 кг/ч, соответственно 260 кмоль/ч газообразного этилена, который растворяется при движении вдоль зоны 10 растворения в циркулирующем ДХЭ.
Затем подают вспомогательный поток 21 растворенного в ДХЭ хлора. Теперь молярный избыток этилена составляет лишь 0,35%, вследствие этого зона 24 реакции значительно длиннее зон 22 и 23 реакции. После зоны 24 реакции гидростатическое давление становится таким, что реакционная смесь начинает кипеть и продукт реакции в виде газа может выходить из газоотделителя 1.
Обозначения
1. Газоотделитель
2. Петля
3. Жидкий ДХЭ
4. Этилен
5. Узел ввода этилена
6. Узел ввода этилена
7. Узел ввода этилена
8. Зона растворения
9. Зона растворения
10. Зона растворения
11. Вспомогательный поток
12. Поток ДХЭ
13. Растворяющий поток
14. Насос
15. Холодильник
16. Смешение хлора
17. Газообразный хлор
18. Раствор хлора
19. Узел ввода хлора
20. Узел ввода хлора
21. Узел ввода хлора
22. Зона реакции
23. Зона реакции
24. Зона реакции
25. Статический смеситель
26. Статический смеситель
27. Статический смеситель
28. Область кипения
29. Паровое пространство
30. Парообразный продукт ДХЭ
31. Статический смеситель
32. Статический смеситель
33. Статический смеситель
Формула изобретения
1. Способ получения 1,2-дихлорэтана высокой чистоты из растворенного хлора и растворенного этилена, которые приводят в контакт друг с другом, с применением побуждаемой к циркуляции жидкой реакционной среды, которая по существу состоит из 1,2-дихлорэтана и катализатора и по меньшей мере проходит через вертикально расположенную образующую петлю зону реакции, причем оба колена петли связаны с расположенным вверху газоотделителем, из которого продукт реакции отводят в газообразном или жидком виде или как в газообразном, так и в жидком виде, отличающийся тем, что: несколько, по меньшей мере 3, секций подачи расположены в колене петли, по которому жидкость течет вверх; и каждая из этих секций подачи состоит из узла подачи растворенного или газообразного этилена, расположенного на входе в секцию, и узла подачи растворенного хлора, расположенного на выходе из секции, и, кроме того, может иметь статические смесительные устройства.
2. Способ по п.1, отличающийся тем, что во всех узлах подачи этилена, за исключением последней по ходу потока секции подачи, подают соответствующее, значительно превышающее стехиометрическое, количество этилена.
3. Петлеобразный реактор для осуществления способа по п.1, включающий вертикально расположенную образующую петлю зону реакции, причем оба колена петли связаны с расположенным вверху газоотделителем, из которого продукт реакции отводят в газообразном или жидком виде или как в газообразном, так и в жидком виде, включающий несколько, по меньшей мере 3, секций подачи, которые расположены в колене петли, по которому жидкость течет вверх, причем каждая из этих секций подачи состоит из узла подачи растворенного или газообразного этилена, расположенного на входе в секцию, и узла подачи растворенного хлора, расположенного на выходе из секции, и, кроме того, может иметь статические смесительные устройства.
РИСУНКИ
|
|