|
|
(21), (22) Заявка: 2008149006/15, 11.12.2008
(24) Дата начала отсчета срока действия патента:
11.12.2008
(46) Опубликовано: 20.03.2010
(56) Список документов, цитированных в отчете о поиске:
RU 2094395 C1, 27.10.1997. SU 700463 A1, 30.11.1979. SU 1416449 A1, 15.08.1988. SU 823316 A1, 23.04.1981. SU 1333368 A1, 30.08.1987. SU 1108136 A1, 15.08.1984. RU 2094394 C1, 27.10.1997. KR 20020074441 A, 30.09.2002.
Адрес для переписки:
460018, г.Оренбург, пр-кт Победы, 13, ГОУ ОГУ, патентный отдел
|
(72) Автор(ы):
Левин Евгений Владимирович (RU), Быков Артем Владимирович (RU), Межуева Лариса Владимировна (RU), Султанов Наиль Закиевич (RU)
(73) Патентообладатель(и):
Государственное образовательное учреждение высшего профессионального образования “Оренбургский государственный университет” (RU)
|
(54) УСТАНОВКА МИКРОБИОЛОГИЧЕСКОЙ ОЧИСТКИ СТОЧНЫХ ВОД
(57) Реферат:
Изобретение может быть использовано для очистки промышленных и бытовых сточных вод от широкого спектра растворенных и взвешенных органических соединений. Установка микробиологической очистки сточных вод включает: секции первичного отстаивания 1 и окончательной очистки 7, секции анаэробной обработки воды 3 и аэробной обработки воды 4 с системой аэрации 5, снабженные носителями для иммобилизации микроорганизмов 6. Каждая из секций первичного отстаивания 1 и окончательной очистки 7 разделены мембранами 10 на две электродные камеры 11, между которыми расположена рабочая камера 13. В центре мембран 10 расположены источник кавитационного поля 16 и система фильтрующих полиамидных стержней 17 с возможностью встряхивания. Дно секции отстаивания 9 снабжено клапаном 19, жестко соединенным со скребком 20. Технический результат: повышение эффективности очистки сточных вод и упрощение конструкции. 1 ил.
Изобретение относится к очистке сточных вод и может быть использовано для очистки промышленных и бытовых сточных вод от широкого спектра растворенных и взвешенных органических соединений.
Известна установка биологической очистки сточных вод (патент РФ 2094395, опубл. 27.10.1997), включающая систему подогрева, последовательно расположенные в корпусе по ходу движения сточной воды секцию анаэробной обработки воды, секцию аэробной обработки воды с системой аэрации и секцию доочистки воды, которые выполнены в виде ряда гидравлически сообщающихся смежных камер, разделенных вертикальными перегородками, причем секции анаэробной и аэробной обработки воды снабжены носителями для иммобилизации микроорганизмов. В корпусе перед секцией анаэробной обработки воды расположена секция отстаивания, разделенная перегородкой с образованием нижнего перелива на гидравлически сообщающиеся камеры первичного и тонкослойного отстаивания, секция доочистки воды включает вторую камеру тонкослойного отстаивания, при этом днища обеих секций выполнены с конусообразными углублениями, камеры тонкослойного отстаивания снабжены насадкой в виде рядов параллельных наклонных пластин из полимерного материала со скользящей верхней поверхностью и ребрами жесткости на нижней поверхности, а система подогрева установлена в камере первичного отстаивания. Также система аэрации секции аэробной обработки воды выполнена в виде дисковых аэраторов, установленных на воздуховодах, соединенных с источником сжатого воздуха.
Недостатком известной установки является невысокая степень очистки, обусловленная тем, что в секциях для аэробного и анаэробного сбраживания сточных вод в результате слеживаемости происходит уплотнение осадка, что приводит к низкой биодоступности для микроорганизмов. Поэтому данная установка не обеспечивает полной очистки воды от примесей и спор бактерий и грибов. Кроме того, система подогрева слишком энергоемка.
Техническим результатом заявляемого изобретения является повышение эффективности очистки сточных вод и упрощение конструкции.
Поставленная задача решается тем, что в заявляемой установке микробиологической очистки сточных вод, включающей секции первичного отстаивания и окончательной очистки, секции анаэробной обработки воды и аэробной обработки воды с системой аэрации, снабженные носителями для иммобилизации микроорганизмов, каждая из секций отстаивания разделена мембранами на две электродные камеры, между которыми расположена рабочая камера, в которой в центре мембраны закреплен источник кавитационного поля и система фильтрующих полиамидных стержней с возможностью встряхивания, причем полиамидные стержни установлены в шахматном порядке с расстоянием между ними не менее 10 см, а дно секции отстаивания снабжено клапаном, жестко соединенным со скребком, причем корпуса секций первичного отстаивания и окончательной очистки выполнены из диэлектрического материала.
Совмещение процессов отстаивания и кавитационной обработки интенсифицирует весь процесс очистки воды и приводит к уменьшению продолжительности стадии анаэробного сбраживания, а последовательное по ходу движения сточной воды расположение секций отстаивания в начале и в конце очистки сточных вод позволяет убрать секцию доочистки, что уменьшает габариты установки.
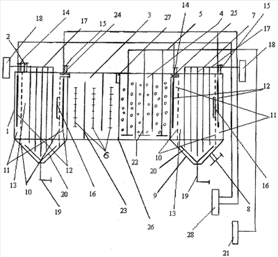
На чертеже представлен общий вид установки микробиологической очистки сточных вод.
Установка микробиологической очистки сточных вод включает по ходу движения сточной воды секцию первичного отстаивания 1 с патрубком подвода сточных вод 2, расположенным в верхней ее части, секцию анаэробной обработки воды 3 и аэробной обработки воды 4 с системой аэрации 5, которые снабжены носителями для иммобилизации микроорганизмов 6, и секцию окончательной очистки 7 с патрубком 8 для отвода очищенной воды, расположенным в конусообразном дне 9. Секции первичного отстаивания 1 и окончательной очистки 7 разделены мембранами 10 на две электродные камеры 11 с электродами 12, между которыми расположена рабочая камера 13. Электродные камеры 11 снабжены патрубками подвода 14 и отвода 15 электролита. В центре мембран 10 закреплен источник кавитационного поля 16, а по всему объему рабочей камеры 13 расположена система фильтрующих полиамидных стержней 17 с возможностью встряхивания, осуществляемого виброустройствами 18. В системе полиамидных стержней 17 полиамидные стержни установлены в шахматном порядке с расстоянием между ними не менее 10 см, а конусное дно секций первичного отстаивания 1 и окончательной очистки 7 снабжены клапанами 19, жестко соединенными со скребками 20, причем корпус секций первичного отстаивания 1 и окончательной очистки 7 выполнен из диэлектрического материала. Секция 4 аэробной обработки воды с системой аэрации в виде сообщенных с источником сжатого воздуха воздуховодов 21 с установленными на них дисковыми аэраторами 22, в качестве которых могут быть использованы пластинчатые мелкопузырчатые керамические, резиновые и другие дисковые аэраторы. Секции 3 и 4 анаэробной и аэробной обработки воды выполнены в виде ряда гидравлически сообщающихся смежных камер, разделенных вертикальными перегородками 23 с образованием поочередно верхнего и нижнего переливов, обеспечивающих в камерах вертикальные потоки с поочередно изменяющимся направлением, причем перелив сточной воды из секции первичного отстаивания 1 в секцию 3 анаэробной очистки воды и из секции 4 аэробной очистки воды в секцию окончательной очистки 7 осуществляют при помощи патрубков 24, 25 соответственно. Между секциями 3, 4 анаэробной и аэробной очистки воды в верхней части перегородки 26 установлен клапан прямого действия 27, обеспечивающий перелив воды только в одном направлении. Подачу постоянного электрического тока на электроды 12 осуществляют от источника питания 28.
Установка работает следующим образом.
Перед началом работы устройства микробиологической очистки сточных вод в электродные камеры 11 при помощи патрубка 14 заливают электролит. Через патрубок 2 в рабочую камеру 13 подают сточные воды. После заполнения рабочей камеры 13 секции первичного отстаивания 1 на электроды 12 подают постоянный электрический ток от источника питания 28, под действием которого происходит поляризация фильтрующего материала системы полиамидных стержней 17, вследствие чего повышается их адсорбционная емкость. После обработки воды в секции первичного отстаивания 1 вода через патрубок 24 поступает в секцию 3 анаэробной очистки, где для содержащихся в сточных водах анаэробных микроорганизмов (дрожжей, микроскопических грибов, сульфатредуцирующих и гнилостных бактерий) начинается процесс сбраживания растворенной органики и ее частичная деструкция до более простых соединений (аминокислот, фосфор- и азотсодержащих соединений). Основные процессы деструкции органических веществ происходят в секциях 3 и 4 анаэробной и аэробной обработки воды с помощью свободноплавающих и иммобилизованных на носителях 6 форм микроорганизмов – деструкторов конкретных видов загрязнений. Осветленная вода с частично разложившейся органикой из секции первичного отстаивания 1 поступает через верхний перелив в первую камеру секции 3 анаэробной обработки воды, где происходит более полное разложение растворенной органики до более простых веществ. После последовательного прохождения сточной воды через камеры секции 3 анаэробной обработки осветленная сточная вода с разложившейся органикой поступает в секцию 4 аэробной обработки, где происходит окончательное разложение органических веществ (окислительно-восстановительный процесс), в частности денитрифицирующие микроорганизмы свободноплавающих и иммобилизованных на носителях форм разлагают азотистые соединения до нитратов и нитритов. При этом из-за отсутствия взвешенных веществ создаются благоприятные условия для биоценоза активного ила (отсутствия заиливания, застойных зон). В камеры секции 4 аэробной обработки через воздуховоды 21 и мелкопузырчатые дисковые аэраторы 22 от источника сжатого воздуховода 21 поступает воздух в виде мельчайших пузырьков размером до 100 мкм, что необходимо для обеспечения жизнедеятельности аэробных микроорганизмов и удаления газообразных продуктов распада. В секции 4 аэробной обработки в последней фазе очистки происходит полная минерализация активного ила, в результате чего он становится неспособным к загниванию, т.е. приобретает стабильные свойства. После секции 4 аэробной обработки очищенная вода через патрубок 25 поступает в секцию окончательной очистки 7, где происходит осаждение иловых частиц на поляризованные полиамидные стержни 17 под действием постоянного электрического тока. При длительной работе секций 1 и 7 на фильтрующем материале системы полиамидных стержней 17 удерживается настолько большое количество загрязнений, что они превращаются в пастообразную массу, что приводит к увеличению гидравлического сопротивление системы и препятствует протеканию очищаемой воды. Для увеличения производительности секций 1 и 7 предусмотрено в системе полиамидных стержней 17 расположение полиамидных стержней в шахматном порядке с расстоянием между ними не менее 10 см, что позволяет не снижать скорость протекания сточных вод. При отключении источника питания 28 подача электрического тока на электроды 12 прекращается, загрязнения освобождаются и потоком воды вымываются в виде густой массы через клапан 19. Иммобилизированные клетки не могут самостоятельно преодолеть естественные преграды фильтрующего материала, поэтому для разрушения этих комплексов производится обработка их кавитационным полем. В момент включения источника кавитационного поля 16 исходящие ультразвуковые волны, проходящие через загрязняющие вещества, задержанные на системе фильтрующих полиамидных стержней 17, под воздействием сил поверхностного натяжения создают разрывы, принимающие форму пузырьков. В момент захлопывания кавитационного пузырька возникает мощная гидравлическая ударная волна, которая оказывает разрушительное действие на органические соединения и микроорганизмы, тем самым сокращается время регенерации фильтрующих полиамидных стержней 17 и происходит обезвреживание полученного концентрата загрязняющих веществ, оседающего на конусообразное дно 9. После отключения источника кавитационного поля 16 с помощью виброустройств 18 систему полиамидных стержней 17 встряхивают, что позволяет повысить степень очистки системы полиамидных стержней 17. Для эффективного удаления осадка клапан 19 жестко соединен со скребком 20, который при открытии клапана 19 поворачивается на 360°, тем самым захватывая полностью иловый осадок с конусообразного дна 9. Из секции окончательной очистки 7 через патрубок 8 осуществляют отвод очищенной воды.
Таким образом, по сравнению с прототипом, предлагаемая установка обеспечивает осуществление полного цикла очистки сточных вод с различными видами загрязнений с высокой степенью очистки. Является компактной, мобильной, удобной и устойчивой в эксплуатации.
Формула изобретения
Установка микробиологической очистки сточных вод, включающая секции первичного отстаивания и окончательной очистки, секции анаэробной обработки воды и аэробной обработки воды с системой аэрации, снабженные носителями для иммобилизации микроорганизмов, отличающаяся тем, что каждая из секций первичного отстаивания и окончательной очистки разделены мембранами на две электродные камеры, между которыми расположена рабочая камера, в которой в центре мембраны закреплен источник кавитационного поля и система фильтрующих полиамидных стержней с возможностью встряхивания, причем полиамидные стержни установлены в шахматном порядке с расстоянием между ними не менее 10 см, а дно секции отстаивания снабжено клапаном, жестко соединенным со скребком, причем корпусы секций первичного отстаивания и окончательной очистки выполнены из диэлектрического материала.
РИСУНКИ
|
|