|
|
(21), (22) Заявка: 2005138483/11, 09.12.2005
(24) Дата начала отсчета срока действия патента:
09.12.2005
(30) Конвенционный приоритет:
10.12.2004 EP 04 106489.0
(43) Дата публикации заявки: 27.06.2007
(46) Опубликовано: 20.03.2010
(56) Список документов, цитированных в отчете о поиске:
ЕР 0983957 А2, 08.03.2000. FR 2647097 A1, 23.11.1990. RU 2205785 C2, 10.06.2003.
Адрес для переписки:
103735, Москва, ул. Ильинка, 5/2, ООО “Союзпатент”, пат.пов. И.М.Захаровой
|
(72) Автор(ы):
КОЛБ Эмануэль (FR), ЗИТТЛЕР Дени (FR)
(73) Патентообладатель(и):
ИНВЕНЦИО АГ (CH)
|
(54) КЛЕТЬ ЛИФТА
(57) Реферат:
Настоящее изобретение касается клети (1) лифта, содержащей кабину (2), элемент (6) крепления, соединенный с кабиной (2), и коробку (8) шкивов, в которой размещена пара шкивов (9), установленных в коробке (8) с использованием осей (10). Коробка (8) шкивов установлена, по меньшей мере, на одной установочной оси (7), продолжающейся через элемент (6) крепления и расположенной между первой линией (Р), разделяющей пополам оси шкивов, и второй линией (Q), образующей нижнюю общую касательную шкивов (9). Изобретение обеспечивает уменьшение изгибающих моментов, действующих на коробку шкивов клети. 7 з.п. ф-лы, 5 ил.
Изобретение относится к лифтам и, в частности, к лифтам, в которых клеть лифта установлена на одном или большем количестве канатов или ремнях с использованием узла шкивов.
Узлы шкивов обычно используют в лифтах для установки и привода клети лифта на канатах в шахте лифта в здании. При такой компоновке коробка шкивов, содержащая два шкива, установлена на клети так, что обеспечивается привод каната с использованием гидроцилиндра или тягового вала, при этом канат проходит вниз вдоль одной стороны шахты лифта, зацепляясь с одним из шкивов, который отклоняет его на 90°, проходит через кабину, соединяется с другим шкивом, который отклоняет его обратно в вертикальной плоскости, и проходит вверх вдоль противоположной стороны шахты лифта. Коробка шкива может быть установлена на клети, над пассажирской кабиной или она может быть установлена под пассажирской кабиной, и в этом случае такую конструкцию называют подвесной компоновкой. Такая компоновка представлена и описана в ЕР-А2-0983957.
В соответствии с Европейским стандартом EN 81-1:1998 и сборником постановлений ASME (Американское общество инженеров-механиков) США А17.1-2000 отношение диаметра шкива к номинальному диаметру подвесных канатов должно составлять, по меньшей мере, 40. Следовательно, диаметр каждого шкива существенно больше, чем его ширина, и, следовательно, высота коробки шкивов больше, чем ее ширина.
В примере известного уровня техники, представленном на фиг.1, верхняя поверхность 18 коробки 8 шкивов установлена на клети либо непосредственно на основании пассажирской кабины, или, если кабина находится внутри рамы, на нижней поперечине рамы кабины. Однако при использовании большая часть вертикального усилия F приложена к самому нижнему участку А шкивов 9. В соответствии с этим, если коробка 8 шкива наклонится на угол , вокруг точки установки коробки шкива прикладывается относительно большой изгибающий момент. Величина изгибающего момента определяется уравнением М=Fx, где F представляет вертикальную силу и х представляет горизонтальное расстояние между точкой установки на верхней поверхности 18 коробки 8 шкивов и точкой приложения вертикальной силы F. Кроме того, величина х может быть выражена как х=L Cos , где L представляет расстояние между точкой установки на верхней поверхности 18 и самыми нижними участками А шкивов 9. В соответствии с этим для заданной вертикальной силы F и заданного угла наклона, изгибающий момент М прямо пропорционален величине L. Однако, поскольку размер L, преимущественно, зависит от диаметра шкива 9, который, в свою очередь, определяется законодательными органами, как описано в предыдущем параграфе, остается очень мало возможностей для уменьшения изгибающего момента М.
Следовательно, как сама коробка 8 шкивов, так и обычное средство установки коробки 8 шкивов на клети должны обеспечивать устойчивость к воздействию существенных изгибающих моментов, в противном случае при наклоне клети и коробки шкивов не ограниченный изгибающий момент и угол наклона коробки шкива будут прогрессивно увеличиваться до тех пор, пока коробка шкивов не будет, в конечном счете, деформирована или вырвана из своего крепления.
Это явление дополнительно усугубляется, когда вместо подвесного каната используют ремень, поскольку крутящий момент ремня может передаваться на коробку шкива, и будет устанавливать изгибающий момент вокруг точки крепления, даже без какого-либо наклона коробки шкивов.
В соответствии с этим технический результат настоящего изобретения состоит в уменьшении изгибающих моментов вокруг точки установки коробки шкивов на клети. Указанный технический результат достигается с помощью клети лифта, содержащей кабину, элемент крепления, соединенный с кабиной, и коробку шкивов, в которой размещена пара шкивов, установленных в коробке шкивов, с использованием осей шкивов, при этом коробка шкивов установлена на, по меньшей мере, одной установочной оси, продолжающейся от элемента крепления и расположенной ниже первой линии, разделяющей пополам оси шкивов, и над второй линией, образующей нижнюю общую касательную между шкивами. По сравнению с известным уровнем техники установочные точки, в соответствии с изобретением, расположены ближе к нижним участкам шкивов, через которые передается большая часть вертикальных сил, и, следовательно, это существенно уменьшает изгибающие моменты вокруг точек установки.
Предпочтительно коробка шкивов установлена на одной или большем количестве установочных осей, продолжающихся от элемента крепления. Такая компоновка существенно упрощает узел клети лифта на месте и облегчает горизонтальную регулировку коробки шкивов, поскольку установочные оси являются относительно доступными после установки по сравнению с болтами, используемыми в предшествующем уровне техники для установки верхней поверхности коробки шкивов на полу кабины или на поперечине. Кроме того, передача вибраций от коробки шкивов к кабине может быть существенно уменьшена благодаря установке упругого материала между коробкой шкивов и каждой установочной осью.
С помощью изобретения создана конструкция, в которой элемент крепления представляет собой поперечину, закрепленную непосредственно на полу кабины. Использование такой конфигурации является предпочтительным для установки закрывающей пластины, которую закрепляют на полу кабины и которая соединена с каждой установочной осью на конце, удаленном от поперечины, так, что коробка шкивов располагается между закрывающей пластиной и поперечиной. В соответствии с этим вертикальные силы передаются не только через поперечину, но также и через закрывающую пластину. В связи с тем что при этом сила, передаваемая через поперечину, уменьшается, она может иметь структуру с меньшим весом по сравнению с известным уровнем техники. Предпочтительно, если поперечина и закрывающая пластина сформированы из листового металла. В качестве альтернативы элемент крепления может составлять часть рамы, на которой подвешена кабина. Предпочтительно кабина упруго подвешена внутри рамы, что позволяет демпфировать вибрации от рамы прежде, чем они проникнут в кабину.
Настоящее изобретение описано с помощью конкретных примеров со ссылкой на прилагаемые чертежи, на которых:
на фиг.1 показана упрощенная схема, представляющая силы, воздействующие на коробку шкивов известного уровня техники;
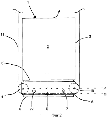
на фиг.2 схематично показан общий вид спереди лифта, в котором используется клеть лифта в соответствии с настоящим изобретением;
на фиг.3 показан вид сбоку части подвесной конструкции узла шкивов по фиг.2;
на фиг.4 показан вид сбоку части подвесной компоновки узла шкивов в соответствии со вторым вариантом выполнения настоящего изобретения;
на фиг.5 в общем схематично показан вид спереди лифта, в котором используется клеть лифта, в соответствии с дополнительным вариантом выполнения изобретения.
Ниже признаки, которые являются общими для более чем одного варианта осуществления, обозначены одинаковыми ссылочными позициями для исключения ненужного повторения при описании изобретения.
На фиг.2 показана клеть 1 лифта, установленная на коробке 8 шкивов на канатах 11, внутри шахты лифта (не показана). Клеть 1 содержит обычную кабину 2, имеющую множество боковых стенок 3, потолок 4 и пол 5, образующие транспортное пространство для пассажиров и/или товаров. Опорная поперечина 6 установлена непосредственно под полом 5 кабины 2. На поперечине 6 закреплены две параллельных установочных оси 7, продолжающихся горизонтально наружу в соответствующие отверстия 22 коробки 8 шкивов. Отклоняющие шкивы 9 установлены на осях 10 шкивов на обоих концах коробки 8 шкивов для соединения с подвесными канатами 11.
Установочные оси 7 и соответствующие отверстия 22 расположены между первой линией Р, разделяющей пополам валы 10 шкивов, и второй линией Q, образующей нижнюю общую касательную между шкивами 9. В настоящем варианте выполнения нижняя общая касательная Q соответствует линии между нижними секциями А шкивов 9.
Во время движения канаты 11 проходят вниз вдоль одной стороны кабины 2, соединяются с одним из шкивов 9, который отклоняет их на 90°, проходят под кабиной 2, соединяются с другим шкивом 9, который отклоняет их назад в вертикальной плоскости, и проходят вверх вдоль противоположной стороны кабины 2.
На фиг.3 показан вид сбоку части узла согласно фиг.2, который дополнительно иллюстрирует поперечину 6 и коробку 8 шкивов. Как показано на чертеже, поперечина 6 представляет собой сплошную двутавровую балку с верхними фланцами 12, которые прочно прикреплены к нижней части пола 5 кабины, с использованием ряда болтов или заклепок 13. Каждая установочная ось 7 вставлена в сквозное отверстие 14 в двутавровой балке 6 и закреплена на месте в точках 15 сварного шва. Другие компоненты лифта (не показаны), такие как направляющие башмаки или предохранительные устройства, могут быть установлены на нижней поверхности 16 поперечины 6.
Коробка 8 шкивов имеет конструкцию перевернутой U-образной формы с противоположными боковыми секциями 17, взаимно соединенными промежуточной секцией 18. Предпочтительно коробка 8 шкивов изготовлена из листового металла. Для закрепления свободных кромок противоположных боковых секций 17 используются болты 19, улучшая, таким образом, общую структурную жесткость коробки 8 шкивов. Каждый из отклоняющих шкивов 9 установлен с возможностью вращения на осях 10 шкивов через подшипники 20. Оси 10 шкивов закреплены на противоположных боковых секциях 17 коробки 8 шкивов любым удобным способом. Внешние продолжающиеся по окружности канавки 21 сформированы на отклоняющем шкиве 9 для зацепления и удержания подвесных канатов 11.
Установочные оси 7 вставлены через установочные отверстия 22 на противоположных сторонах секции 17 коробки 8 шкивов. При использовании, во время вращения шкивов 9, в результате их взаимодействия с канатами 11, в коробке 8 шкивов может возникать вибрация. Упругая кольцевая прокладка 23 установлена между каждым из установочных отверстий 22 и соответствующими установочными осями 7 для поглощения этой вибрации.
На фиг.4 показан альтернативный вариант выполнения изобретения, в котором относительно тяжелую двутавровую балку, используемую в качестве опорной поперечины 6 в предыдущем варианте выполнения, заменили легкой структурой. Поперечина 6 в этом случае содержит пару вертикально выровненных пластин 24 из листового металла, взаимно соединенных жесткими элементами 25 ребер. Как и в предыдущем варианте выполнения, верхние фланцы 26 пластин 24 из листового металла прочно закреплены на нижней части пола 5 кабины с использование множества болтов или заклепок 13, и установочные оси 7 закреплены на месте в точках 15 сварного шва. Кроме того, на противоположных концах установочных осей 7 установлена закрывающая пластина 27 так, что коробка шкивов расположена между поперечиной 6 и закрывающей пластиной 27. Закрывающая пластина 27 сформирована из пластины из листового металла, изогнутой для получения структуры с двумя стенками. Верхний фланец 29 закрывающей пластины 27 закреплен на полу 5 лифта с использованием множества болтов или заклепок 13, и отверстия 28 сформированы в закрывающей пластине 27 для установки установочных осей 7. Закрывающая пластина 27 не зафиксирована на установочных осях 7 и поэтому она не может передавать никаких горизонтальных усилий между коробкой 8 шкивов и кабиной 2. Однако любые вертикальные силы между коробкой 8 шкивов и кабиной 2 разделяются между закрывающей пластиной 27 и опорной поперечиной 6.
Альтернативный вариант описанным выше подвесным компоновкам представлен на фиг.5. В этом варианте выполнения кабина 2 установлена через гасящие вибрацию подушки 33 на раме 30. Рама 30 содержит верхнюю траверсу 31, нижнюю поперечину 6 и пару стоек 32. Коробка 8 шкивов в этом случае установлена на установочных осях 7, продолжающихся через траверсу 31.
Для специалистов в данной области техники будет понятно, что коробка 8 шкивов и шкивы 9 могут быть легко модифицированы для использования с ремнем или ремнями вместо канатов 11, описанных выше.
Формула изобретения
1. Клеть (1) лифта, содержащая кабину (2), элемент (6; 31) крепления, соединенный с кабиной (2), и коробку (8) шкивов, в которой размещена пара шкивов (9), установленных в коробке (8) шкивов с использованием осей (10) шкивов, отличающаяся тем, что коробка (8) шкивов установлена, по меньшей мере, на одной установочной оси (7), продолжающейся через элемент (6; 31) крепления и расположенной ниже первой линии (Р), разделяющей пополам оси шкивов, и над второй линией (Q), образующей нижнюю общую касательную шкивов (9).
2. Клеть (1) лифта по п.1, отличающаяся тем, что она дополнительно содержит упругий материал (23) между коробкой (8) шкивов и каждой установочной осью (7).
3. Клеть (1) лифта по п.1 или 2, отличающаяся тем, что элемент крепления представляет собой поперечину (6), закрепленную на полу (5) кабины (2).
4. Клеть (1) лифта по п.3, отличающаяся тем, что дополнительно содержит закрывающую пластину (27), закрепленную на полу (5) кабины (2) и соединенную с каждой установочной осью (7) на конце, удаленном от поперечины (6).
5. Клеть (1) лифта по п.4, отличающаяся тем, что, по меньшей мере, одна поперечина (6) и закрывающая пластина (27) сформированы из листового металла.
6. Клеть (1) лифта по п.1 или 2, отличающаяся тем, что элемент (6; 31) крепления составляет часть рамы (30), на которой подвешена кабина (2).
7. Клеть (1) лифта по п.6, отличающаяся тем, что элемент крепления представляет собой нижнюю поперечину (6) рамы (30).
8. Клеть (1) лифта по п.6, отличающаяся тем, что элемент крепления представляет собой верхнюю траверсу рамы (31).
РИСУНКИ
|
|