|
|
(21), (22) Заявка: 2005114050/11, 06.05.2005
(24) Дата начала отсчета срока действия патента:
06.05.2005
(30) Конвенционный приоритет:
10.05.2004 EP 04405294.2
(43) Дата публикации заявки: 20.11.2006
(46) Опубликовано: 20.03.2010
(56) Список документов, цитированных в отчете о поиске:
US 5773771 A, 30.06.1998. PR 2795060 A1, 22.12.2000. SU 1266828 A1, 07.06.1985. JP 03056378 A, 11.03.1991.
Адрес для переписки:
103735, Москва, ул. Ильинка, 5/2, ООО “Союзпатент”, пат.пов. Л.С.Кишкиной
|
(72) Автор(ы):
РОССИНЬОЛЬ Эрик (CH)
(73) Патентообладатель(и):
ИНВЕНЦИО АГ (CH)
|
(54) ФОРМИРОВАНИЕ БЕЗОПАСНОГО ПРОСТРАНСТВА ДЛЯ ВРЕМЕННОГО ПОЛЬЗОВАНИЯ
(57) Реферат:
Изобретение относится к конструкции лифта (1), имеющего кабину (4), которая выполнена с возможностью перемещения ее по направляющим рельсам (3), смонтированным внутри шахты (2) лифта. Лифт (1) оборудован пультом управления (7), используемым при техническом обслуживании и ремонте лифта и установленным на крыше (5) кабины (4) с обеспечением доступа к нему при открывании крышки (8), а также соответствующими блокировочными средствами (15, 20). Блокировочные средства предназначаются для избирательного предотвращения возможности перемещения кабины лифта внутрь необходимого безопасного пространства (24), сформированного внутри шахты (2) лифта. Предусматривается также наличие соответствующего средства ограничения доступа (8, 34, 36, 42), обеспечивающего в процессе проведения работ возможность получения доступа к пульту управления (7) и имеющего такую конструкцию, которая обеспечивает одновременное срабатывание блокировочных средств (15, 20). Изобретение обеспечивает повышение удобства проведения текущего осмотра и ремонтных работ при обслуживании лифта. 11 з.п. ф-лы, 8 ил.
Настоящее изобретение касается создания безопасного пространства внутри шахты лифта для временного пользования им и, в частности, относится к устройству, которое механически ограничивает пределы перемещения кабины лифта, обеспечивая тем самым формирование соответствующего безопасного пространства для проведения техническим обслуживающим персоналом внутри шахты лифта различных работ по техническому обслуживанию и текущему ремонту лифта.
С одной стороны, перед специалистами по проектированию лифтов постоянно ставится задача всеми мерами стремиться к уменьшению места, требующегося для установки лифта внутри здания, но, с другой стороны, при установке лифта должны быть также соблюдены и все соответствующие требования существующих промышленных стандартов, согласно которым необходимо обеспечить наличие достаточно большого безопасного пространства как непосредственно под потолком, так и в самом низу ствола шахты, что необходимо для проведения техническим обслуживающим персоналом внутри шахты лифта различных работ по техническому обслуживанию и текущему ремонту лифта. Согласно установившейся традиции эти требования техники безопасности обычно удовлетворялись благодаря тому, что как сверху, так и снизу за пределами пути движения кабины лифта внутри шахты предусматривалось при установке лифта оставлять в целях обеспечения необходимой безопасности при проведении работ постоянно существующее свободное пространство.
В последнее время выдвинуто было множество различных предложений, призванных обеспечить соответствующее уменьшение места, требующегося для размещения лифта при его установке, за счет отказа от того, чтобы предусматривать наличие постоянно существующего пространства, а взамен этого предложено было, по мере необходимости, прибегать к формированию необходимого безопасного пространства для временного пользования таким пространством только в тех случаях, когда потребуется провести какие-либо работы по техническому обслуживанию и текущему ремонту лифта. В описании изобретения к патенту США 5773771 раскрывается именно такая система, согласно которой предусматривается применение соответствующих задвижек, выдвигаемых наружу относительно кабины лифта с противоположных ее сторон, благодаря чему при движении кабины предотвращается перемещение ее внутрь соответствующей зоны или, иными словами, внутрь так называемого безопасного пространства, предназначенного для временного пользования. В том случае, когда возникает необходимость в проведении внутри шахты лифта каких-либо работ по техническому обслуживанию и текущему ремонту лифта, технический специалист забирается на крышу кабины лифта и с помощью соответствующей тяги, расположенной сбоку кабины, переводит задвижки в выдвинутое их положение. После этого технический специалист, пользуясь при этом специальным пультом управления, может уже перемещать кабину лифта внутри шахты с пониженной скоростью, которая требуется для проведения тщательного контрольного осмотра. Однако в данном случае происходит соответствующее ограничение пути движения кабины лифта, так как выдвигаемые при этом задвижки входят в соприкосновение с соответствующими стальными пластинами, установленными на направляющих рельсах в строго определенных местах, благодаря чему и определяется необходимое безопасное пространство, предназначенное для временного пользования.
Задача настоящего изобретения заключается в упрощении процедуры выполнения отдельных операций во время проведения внутри шахты, где установлен лифт, различных работ по техническому обслуживанию и текущему ремонту лифта. В частности, настоящее изобретение позволяет устранить для технического специалиста, проводящего те или иные работы по техническому обслуживанию и текущему ремонту лифта, необходимость все время помнить о том, что ему нужно, пользуясь пультом управления, смонтированным наверху кабины лифта, каждый раз перед тем, как снова начать перемещать кабину с малой скоростью, необходимой для проведения тщательного контрольного осмотра, не забыть вручную отодвинуть задвижки.
В соответствии с настоящим изобретением предлагается лифт, имеющий кабину, которая выполнена с обеспечением возможности перемещения ее по направляющим рельсам, смонтированным внутри шахты лифта. Этот лифт оборудован пультом управления, установленным наверху кабины, и соответствующими блокировочными средствами, которые предназначаются для избирательного предотвращения возможности перемещения кабины лифта внутрь необходимого безопасного пространства, сформированного внутри шахты лифта. При этом предусматривается также и наличие соответствующего средства ограничения доступа, обеспечивающего в процессе проведения работ возможность избирательного получения доступа к пульту управления и имеющего такую конструкцию, которая обеспечивает одновременное срабатывание указанных блокировочных средств.
Кроме того, в соответствии с настоящим изобретением предлагается также описание формирования необходимого безопасного пространства внутри шахты лифта, имеющего кабину, которая выполнена с обеспечением возможности перемещения ее по направляющим рельсам, смонтированным внутри шахты лифта. При этом предусматривается наличие стадии установки пульта управления наверху кабины лифта, а также стадии избирательного предотвращения возможности перемещения кабины внутрь безопасного пространства, сформированного внутри шахты лифта, причем в этих целях используются соответствующие блокировочные средства. При этом обеспечивается возможность избирательного предотвращения доступа к пульту управления за счет того, что при получении доступа к пульту управления происходит одновременное срабатывание блокировочных средств.
Далее в приведенном здесь ниже описании изобретения рассматривается более подробно конкретный пример осуществления настоящего изобретения, проиллюстрированный прилагаемыми чертежами, на которых:
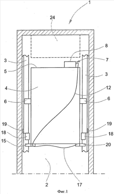
Фигура 1 – схематическое изображение лифта, выполненного в соответствии с одним из предпочтительных вариантов осуществления настоящего изобретения;
Фигура 2 – перспективный вид, показывающий пульт управления, место расположения которого обозначено на фиг.1;
Фигура 3 – перспективный вид, иллюстрирующий расположение первого поворотного кулачка, который выполнен с возможностью выдвигания его сбоку от кабины лифта, изображенной на фиг.1;
Фигура 4 – перспективный вид, иллюстрирующий первый поворотный кулачок, когда он находится в выдвинутом своем положении, в котором он приходит в соприкосновение с амортизатором, смонтированным на направляющем рельсе;
Фигура 5 – перспективный вид, иллюстрирующий второй поворотный кулачок, который выполнен с возможностью выдвигания его сбоку от кабины лифта, изображенной на фиг.1;
Фигура 6 – вид спереди на рабочую панель управления, которая находится внутри кабины лифта, выполненной в соответствии со вторым вариантом осуществления настоящего изобретения;
Фигура 7 – вид сбоку на рабочую панель, изображенную на фиг.6;
Фигура 8 – альтернативный вариант исполнения рабочей панели в соответствии с третьим вариантом осуществления настоящего изобретения.
Лифт 1, выполненный в соответствии с настоящим изобретением, показан на фиг.1, он содержит кабину 4 лифта, которая выполнена с возможностью перемещения ее в вертикальном направлении по направляющим рельсам 3, смонтированным внутри шахты 2 лифта. Кабина 4 лифта оборудована направляющими башмаками 6, обеспечивающими перемещение кабины 4 в строгом соответствии с направлением ее движения, задаваемым направляющими рельсами.
Во время проведения каких-либо работ по техническому обслуживанию или текущему ремонту лифта технический специалист, проводящий эти работы, сначала забирается на крышу 5 кабины 4 лифта, и сразу же после этого он должен нажать на кнопку аварийного останова (не показана). И только после этого ему можно будет начинать перемещать кабину 4 лифта с пониженной скоростью перемещения, требующейся для проведения тщательного контрольного осмотра, пользуясь в этом случае пультом 7 управления. Как показано более наглядно на фиг.2, пульт 7 управления оборудован поворотной крышкой 8, смонтированной на петлях 9. Предусматривается также наличие рычага 10 и опорного кронштейна 11, которые смонтированы на крыше 5 кабины рядом с крышкой 8 пульта управления. Рычаг 10 взаимосвязан с крышкой 8 и перемещается одновременно с ней. Рычаг 10 подсоединен к концу центральной жилы 13 первого боуденовского троса 12, в то время как оболочка 14 боуденовского троса 12 неподвижно крепится к опорному кронштейну 11.
На другом конце боуденовского троса 12 его центральная жила 13 неподвижно крепится к первому поворотному кулачку 15 (показанному на фиг.3), а его оболочка 14 крепится к опорному кронштейну 15а. Поворотный кулачок 15 стремится под воздействием пружины 16 сместиться в направлении к выдвинутому своему положению, показанному на фиг.4, где можно видеть, что кулачок 15 выдвинут вбок относительно кабины 4 лифта и приходит в соприкосновение с амортизатором 18, который при помощи кронштейна 19 неподвижно крепится на направляющем рельсе 3, благодаря чему и предотвращается дальнейшее перемещение кабины 4 вверх в находящееся сверху нее безопасное пространство 24. Когда же первый поворотный кулачок 15 возвращается обратно в свое отведенное назад положение, кабина 4 снова получает возможность беспрепятственно двигаться по нормальному пути своего перемещения.
Второй боуденовский трос 17 смонтирован аналогичным образом, соединяя при этом между собой первый поворотный кулачок 15 и второй поворотный кулачок 20, находящийся с противоположной стороны кабины 4 лифта. Как показано на фиг.5, второй поворотный кулачок 20 также стремится под воздействием своей пружины 21 сместиться в выдвинутое свое положение, в котором он выдвинут вбок относительно кабины 4 лифта и приходит в соприкосновение с амортизатором 18, который при помощи кронштейна 19 крепится неподвижно на направляющем рельсе 3, благодаря чему и предотвращается дальнейшее перемещение кабины 4 вверх в находящееся сверху нее безопасное пространство 24. Находясь в своем отведенном назад положении, второй поворотный кулачок 20 позволяет кабине 4 снова беспрепятственно двигаться по нормальному пути своего перемещения. Предусматривается также наличие двух предохранительных контактов 22 и 23, установленных рядом со вторым поворотным кулачком 20 и сигнализирующих о том, находится ли кулачок 20 соответственно в выдвинутом или же в отведенном назад своем положении. Поскольку соответствующее перемещение первого и второго кулачков 15 и 20 одного за другим происходит в прямой последовательности, вполне достаточно указать положение только второго поворотного кулачка 20 для того, чтобы определено было также и положение первого поворотного кулачка 15.
Для того чтобы непосредственно приступить к проведению соответствующих работ по техническому обслуживанию и текущему ремонту лифта, находясь при этом на крыше 5 кабины 4 лифта, технический специалист может выйти туда, предварительно вручную открыв ведущую туда дверцу при помощи обыкновенного трехгранного ключа. При этом происходит разрыв предохранительной цепочки лифта, в результате чего осуществляется переключение системы управления лифтом 1 в положение «СТОП». Получив, таким образом, доступ на крышу 5 кабины и выбравшись туда, технический специалист должен сразу же после этого нажать на кнопку аварийного останова (благодаря чему положение «СТОП» лифта сохраняется даже в том случае, если дверца, ведущая на крышу кабины лифта, случайно захлопнется) и только уже потом открыть крышку 8 пульта 7 управления. При этом одновременно происходит также и соответствующее перемещение рычага 10 вместе с крышкой 8, причем в результате такого перемещения указанного рычага ослабляется натяжение центральных жил 13 обоих боуденовских тросов 12 и 17. Соответственно, первый и второй кулачки 15 и 20 под воздействием на них пружин поворачиваются при этом в свое выдвинутое положение. Предохранительный контакт 22 подает соответствующий сигнал на контроллер лифта непосредственно в тот момент, как только второй кулачок 20 придет в свое полностью выдвинутое положение, в результате чего происходит переключение системы управления лифтом 1 из положения «СТОП» на режим контрольного осмотра, благодаря чему технический специалист получает возможность осуществлять перемещение кабины 4 внутри шахты 2 лифта с пониженной скоростью, необходимой для тщательного проведения им соответствующих контрольно-осмотровых работ, пользуясь при этом контрольным пультом 7 управления. Во время движения кабины 4 лифта в режиме контрольного осмотра предотвращается возможность перемещения ее внутрь находящегося сверху нее безопасного пространства 24, поскольку поворотные кулачки 15 и 20 находятся при этом в выдвинутом своем положении и входят в соприкосновение с соответствующими амортизаторами 18, смонтированными на направляющих рельсах лифта в том случае, если технический специалист все же попытается переместить кабину 4 лифта дальше вверх внутрь безопасного пространства 24.
По завершении проведения требуемых работ по техническому обслуживанию и текущему ремонту лифта, технический специалист закрывает крышку 8 пульта управления, в результате чего происходит также и соответствующее перемещение центральных жил 13 обоих боуденовских тросов 12 и 17, которые при этом, преодолевая сопротивление сжимаемых ими пружин 16 и 21, поворачивают кулачки 15 и 20 обратно в отведенное назад их положение. Предохранительный контакт 23 подает тогда соответствующий сигнал на контроллер лифта, в результате чего происходит обратное переключение системы управления лифтом 1 из положения, соответствующего режиму контрольного осмотра, в положение «СТОП». После этого технический специалист покидает шахту 2 лифта через ту же дверцу и нажимает на кнопку возврата в исходное состояние, которая обеспечивает обратный переход лифта 1 на режим нормальной работы.
Следует понимать, что рассмотренная здесь выше конструкция, позволяющая сформировать необходимое безопасное пространство 24 для временного пользования, находящееся под потолком шахты 2 лифта, может быть легко приспособлена также и к тому, чтобы с ее помощью обеспечивалась возможность формирования аналогичного безопасного пространства также и в самом низу шахты 2 лифта. В действительности, все, что для этого нужно, – это только всего лишь предусмотреть наличие дополнительных амортизаторов 18, смонтированных на направляющих рельсах 3 в нижней зоне шахты 2 лифта на требуемом уровне по высоте своего расположения.
Кроме того, несмотря на то что в данном варианте осуществления настоящего изобретения, рассмотренном в приведенном здесь выше его описании, оба поворотных кулачка 15 и 20 выполнены таким образом, что каждый из них испытывает на себе воздействие соответствующей пружины, тем не менее, совершенно очевидно, что абсолютно такой же эффект может быть получен также и в том случае, когда применяется всего лишь одна пружина 21, воздействующая соответствующим образом лишь на второй поворотный кулачок 20, но только при том условии, что всякое перемещение второго поворотного кулачка 20 автоматически передается также и на первый поворотный кулачок 15 через второй боуденовский трос 17, связывающий эти кулачки между собой.
В предпочтительном варианте осуществления настоящего изобретения предусматривается применение соответствующей крышки 8 пульта управления с тем, чтобы обеспечить подконтрольность получения доступа обслуживающего персонала к пульту 7 управления. Однако специалисту в данной области техники должно быть вполне очевидно, что при осуществлении настоящего изобретения возможно в равной степени также и применение любого другого технического средства, обеспечивающего ограниченный доступ. Например, пульт 7 управления может не иметь крышки 8, причем в данном случае контрольные органы управления выполняются таким образом, чтобы они продолжали оставаться в своем неработоспособном состоянии до тех пор, пока не будет соответствующим образом передвинут рычаг 10 с тем, чтобы обеспечить возможность формирования необходимого безопасного пространства. В альтернативном варианте своего исполнения, пульт 7 управления может иметь такую конструкцию, при которой пульт может быть приведен в работоспособное состояние только лишь с помощью отдельного переключателя, приводимого в действие посредством специального ключа. В данном случае, соответствующее движение, которое при этом совершается указанным переключателем, приводимым в действие этим специальным ключом, может также использоваться и для того, чтобы перевести поворотные кулачки 15 и 20 в выдвинутое их положение, обеспечив тем самым формирование необходимого безопасного пространства. Таким образом, указанный переключатель, приводимый в действие специальным ключом, может иметь соответствующую механическую связь с поворотными кулачками 15 и 20, либо – в альтернативном варианте – переключатель, совершая соответствующее движение при воздействии на него специальным ключом, мог бы осуществлять замыкание электрической цепи, обеспечивающей перемещение поворотных кулачков 15 и 20 в выдвинутое их положение.
На фиг.6 и 7 показан дополнительно еще один вариант осуществления настоящего изобретения, в котором рабочая панель 30 управления, смонтированная во внутреннем помещении кабины 4 лифта, имеет двоякое назначение. Данный вариант осуществления настоящего изобретения рассчитан, в частности, на то, чтобы его можно было использовать применительно к известному лифту, раскрытому в описании изобретения к европейскому патенту ЕР 1052212. Находясь в нормальном режиме своей работы, данная панель управления функционирует точно так же, как и обыкновенная рабочая панель управления лифтом, с помощью которой те, кто пользуется лифтом, нажимая на соответствующую кнопку 32 из числа тех, что имеются на панели 30, как бы указывают тем самым нужный им этаж. В возникновении таких ситуаций, в которых требуется провести какие-либо работы по техническому обслуживанию или же текущему ремонту лифта, технический специалист может, вставив соответствующий ключ 36 в переключатель 34, который приводится в действие этим ключом и находится на боковой стороне панели 30, обеспечить тем самым преобразование панели 30 в функционирующий контрольный пульт управления, а поворотные кулачки 15 и 20 при этом одновременно перемещаются в нужное положение.
На фиг.8 показан альтернативный вариант осуществления настоящего изобретения, в котором обыкновенная рабочая панель 40 управления кабиной лифта преобразуется в функционирующий пульт управления с помощью соответствующих электронных средств посредством правильного ввода секретного кода, для чего нужно будет воспользоваться клавиатурой 42 рабочей панели как кнопочным номеронабирателем, при этом одновременно обеспечивается также и перемещение поворотных кулачков 15 и 20 в нужное положение.
В приведенном здесь выше описании настоящее изобретение рассматривается на примере конкретного варианта своего осуществления, предусматривающем применение поворотных кулачков 15 и 20 в качестве соответствующих технических средств, обеспечивающих возможность формирования требуемого безопасного пространства, однако специалистам в данной области должно быть вполне очевидно, что настоящим изобретением допускается также возможность применения любых других блокировочных средств, которые позволяют избирательно предотвращать перемещение кабины лифта внутрь безопасного пространства, сформированного в шахте лифта.
Формула изобретения
1. Лифт (1), оборудованный пультом (7, 30, 40) управления, используемым при техническом обслуживании и ремонте лифта и установленным наверху кабины (4), которая выполнена с обеспечением возможности перемещения ее по направляющим рельсам (3), и соответствующими блокировочными средствами (15, 20, 18), которые предназначены для предотвращения возможности перемещения кабины лифта внутрь необходимого безопасного пространства (24), сформированного внутри шахты лифта (2), отличающийся тем, что предусматривается также и наличие соответствующего средства ограничения доступа (8, 34, 36, 42), обеспечивающего в процессе проведения работ возможность избирательного получения доступа к пульту управления (7) и имеющего такую конструкцию, которая обеспечивает одновременное срабатывание блокировочных средств (15, 20).
2. Лифт по п.1, отличающийся тем, что блокировочное средство представляет собой кулачок (15, 20), смонтированный на кабине (4) лифта и имеющий такую конструкцию, которая обеспечивает возможность перемещения его в выдвинутое положение и возврата обратно в отведенное назад положение.
3. Лифт по п.2, отличающийся тем, что кулачок (15, 20), находясь в выдвинутом своем положении, имеет возможность контакта с амортизатором (18), смонтированным на направляющем рельсе (3), благодаря чему предотвращается перемещение кабины (4) вверх в безопасное пространство (24).
4. Устройство по п.2 или 3, отличающееся тем, что кулачок (15, 20) стремится под воздействием соответствующей пружины сместиться в выдвинутое свое положение.
5. Лифт по п.2 или 3, отличающийся тем, что дополнительно содержит предохранительный контакт (22, 23), контролирующий положение кулачка (20).
6. Устройство по п.5, отличающееся тем, что кулачок (15, 20) стремится под воздействием соответствующей пружины сместиться в выдвинутое свое положение.
7. Лифт по любому из пп.1-3, отличающийся тем, что средство ограничения доступа представляет собой крышку (8) пульта (7) управления, выполненную с возможностью ее перемещения.
8. Лифт по п.6, отличающийся тем, что средство ограничения доступа представляет собой крышку (8) пульта (7) управления, выполненную с возможностью ее перемещения.
9. Лифт по п.8, отличающийся тем, что дополнительно содержит рычаг (10), выполненный с обеспечением возможности одновременного перемещения его вместе с крышкой (8) пульта управления, и боуденовский трос (12), который взаимно связывает рычаг (10) и блокировочное средство (15, 20, 18) друг с другом.
10. Лифт по любому из пп.1-3, отличающийся тем, что рабочая панель (30, 40) управления кабиной лифта дополнительно выполняет функцию пульта управления, а также средство ограничения доступа (34, 36) имеет такую конструкцию, которая обеспечивает переключение панели (30, 40) управления на выполнение ею каждой из двух функций.
11. Лифт по п.10, отличающийся тем, что средство ограничения доступа представляет собой ключ (36) и переключатель (34), который приводится в действие этим ключом.
12. Лифт по п.10, отличающийся тем, что средство ограничения доступа обеспечивается в виде секретного кода, вводимого с помощью клавиатуры (42).
РИСУНКИ
|
|