|
|
(21), (22) Заявка: 2007130034/11, 12.11.2007
(24) Дата начала отсчета срока действия патента:
12.11.2007
(43) Дата публикации заявки: 20.05.2009
(46) Опубликовано: 20.03.2010
(56) Список документов, цитированных в отчете о поиске:
RU 60924 U1, 10.02.2007. SU 1699874 A1, 23.12.1991. SU 1331755 A1, 23.08.1987. EP 1216198 A1, 26.06.2002.
Адрес для переписки:
070005, Республика Казахстан, г. Усть-Каменогорск, пр. Абая, 102, АО “Ульбинский металлургический завод”
|
(72) Автор(ы):
Горбушин Александр Вениаминович (KZ), Березин Владимир Иванович (KZ), Розаев Андрей Анатольевич (KZ), Сазонтов Анатолий Матвеевич (KZ)
(73) Патентообладатель(и):
Акционерное общество “Ульбинский металлургический завод” (KZ)
|
(54) УСТРОЙСТВО ДЛЯ ВЫГРУЗКИ ИЗДЕЛИЙ МАЛОЙ ПРОЧНОСТИ ИЗ ТАРЫ
(57) Реферат:
Устройство содержит поворотный от привода механизм, состоящий из вил, на которые устанавливается тара, и направляющих, смонтированных на вилах, по которым перемещается каретка с крышкой (6). Крышка имеет поворотные лопасти (8) с возможностью их фиксации в закрытом положении через рычаг (9) пневмоцилиндром (10). Пространство внутри подвижной крышки разделено на несколько объемов перегородками, покрытыми эластичным материалом. Обеспечивается автоматическая, без повреждений выгрузка изделий малой прочности из тары. 1 з.п. ф-лы, 3 ил.
Изобретение относится к области машиностроения, в частности к конструкции подъемно-транспортных машин, и может быть использовано для выгрузки изделий малой прочности из тары при производстве изделий из порошковых материалов: в порошковой металлургии, химической и других отраслях промышленности.
Известен кантователь изделий, включающий установленные на раме поворотные от привода две взаимно перпендикулярные опоры, на одной из которых в направляющих подвижно от приводного винта установлен фиксатор, и смонтированный на раме предохранительный упор, снабженный дополнительным приводным фиксатором, подвижно установленным на второй опоре посредством дополнительных направляющих, при этом одна из опор выполнена в виде параллельно расположенных роликов, а другая – в виде неподвижных параллельно расположенных балок (Авторское свидетельство СССР 1331755, МПК B65G 47/00, 1987).
Недостатком кантователя является невозможность применить его для выгрузки изделий малой прочности из тары.
Задачей, на решение которой направлено изобретение, является разработка такой конструкции, при которой обеспечивалась бы автоматическая, без повреждений выгрузка изделий малой прочности из тары и передача ее для дальнейшего транспортирования в транспортную систему.
Это достигается тем, что в отличие от известной конструкции кантователя, предлагаемая конструкция снабжена поворотным от привода механизмом, состоящим из вил, на которые устанавливается тара, и направляющих, смонтированных на вилах, по которым перемещается каретка с крышкой, имеющей поворотные лопасти с возможностью их фиксации в закрытом положении, причем пространство внутри подвижной крышки разделено на несколько объемов перегородками, покрытыми эластичным материалом. Установленные внутри подвижной крышки перегородки разделяют пространство, образованное крышкой и тарой, на отсеки.
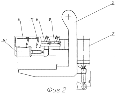
Устройство включает поворотный механизм 1, смонтированный на валу на раме 2. На валу также жестко закреплено зубчатое колесо 3, связанное посредством цепи со звездочкой привода 4 (фиг.1). Поворотный механизм имеет возможность поворачиваться на 180° из нижнего положения в верхнее и наоборот. Данный механизм (фиг.2) состоит из вил 5, на которых смонтированы направляющие, по которым перемещается каретка с подвижной крышкой 6. Перемещение каретки с крышкой осуществляется с помощью пневмоцилиндра 7. На крышке смонтированы поворотные лопасти 8, которые через рычаг 9 фиксируются в закрытом положении пневмоцилиндром 10. Перегородки 11, покрытые эластичным материалом и установленные внутри подвижной крышки, разделяют пространство, образованное крышкой и тарой, на отсеки.
На фиг.1 изображено устройство, общий вид;
на фиг.2 – схема устройства;
на фиг.3 – схема работы предлагаемого устройства.
Устройство работает следующим образом.
Поворотный механизм 1 находится в исходном положении, показанном на фиг.1.
Первый шаг. На вилы данного поворотного механизма ставится технологическая тара с изделиями. Подвижная крышка 6 опускается и жестко фиксирует эту тару. При этом пространство внутри крышки оказывается разделенным на несколько небольших объемов перегородками 11, покрытыми эластичным материалом.
Второй шаг. Поворотный механизм поворачивается на 180° в верхнее положение. Изделия пересыпаются на дно подвижной крышки. Так как перегородки, покрытые эластичным материалом и установленные внутри подвижной крышки, разделяют пространство, образованное крышкой и тарой, на отсеки, изделия при пересыпании со дна тары на крышку не успевают разогнаться до значительной скорости и не повреждаются.
Третий шаг. Под действием пневмоцилиндра 7 подвижная крышка опускается в нижнее положение.
Четвертый шаг. Под действием пневмоцилиндра 10 снимается фиксация лопастей, которые под весом изделий приоткрываются.
Пятый шаг. Под действием пневмоцилиндра 7 подвижная крышка поднимается вверх. Изделия остаются на разгрузочной поверхности. В верхнем положении крышки пневмоцилиндр 10 поворачивает лопасти в закрытое положение и фиксирует их.
Шестой шаг. Поворотное устройство возвращается в исходное нижнее положение, подвижная крышка поднимается, давая возможность замены пустой тары.
Формула изобретения
1. Устройство для выгрузки изделий малой прочности из тары, включающее раму и привод, отличающееся тем, что оно снабжено поворотным от привода механизмом, состоящим из вил, на которые устанавливается тара, и направляющих, смонтированных на вилах, по которым перемещается каретка с крышкой, имеющей поворотные лопасти с возможностью их фиксации в закрытом положении, причем пространство внутри подвижной крышки разделено на несколько объемов перегородками, покрытыми эластичным материалом.
2. Устройство по п.1, отличающееся тем, что установленные внутри подвижной крышки перегородки разделяют пространство, образованное крышкой и тарой, на отсеки.
РИСУНКИ
|
|