|
(21), (22) Заявка: 2006143163/11, 11.05.2005
(24) Дата начала отсчета срока действия патента:
11.05.2005
(30) Конвенционный приоритет:
13.05.2004 DE 10 2004 024 016.7
(43) Дата публикации заявки: 20.06.2008
(46) Опубликовано: 20.03.2010
(56) Список документов, цитированных в отчете о поиске:
RU 2084377 C1, 20.07.1997. EP 0517459 A1, 09.12.1992. US 3887147 A, 03.06.1975. EP 0778199 A2, 11.06.1997. RU 2168445 C2, 10.06.2001.
(85) Дата перевода заявки PCT на национальную фазу:
13.12.2006
(86) Заявка PCT:
EP 2005/005098 20050511
(87) Публикация PCT:
WO 2005/113335 20051201
Адрес для переписки:
119034, Москва, Пречистенский пер., 14, стр.1, 4 этаж, “Гоулингз Интернэшнл Инк.”, пат.пов. В.Н.Дементьеву
|
(72) Автор(ы):
МАЙСТЕР Юрген (DE), ПФЕННИГ Юрген (DE)
(73) Патентообладатель(и):
ЭЙРБАС ДОЙЧЛАНД ГМБХ (DE)
|
(54) СИСТЕМА ВСАСЫВАНИЯ ДЛЯ ОТСОСА ПОГРАНИЧНОГО СЛОЯ
(57) Реферат:
Изобретение относится к системам всасывания для отсоса пограничного слоя на летательном аппарате. Система всасывания включает, по меньшей мере, один воздушно-реактивный двухконтурный двигатель, компрессор высокого давления с зоной высокого давления, которая находится в зоне внутреннего контура, отводную линию и турбонагнетательный агрегат. Двигатель имеет внутренний и внешний контуры и основной поток. Отводная линия предназначена для отведения воздуха из зоны компрессора высокого давления в двухконтурном двигателе и для привода турбины турбонагнетательного агрегата отводимым воздухом. Компрессор служит для создания силы всасывания, необходимой для отсоса пограничного слоя. Линия нагнетания компрессора турбонагнетательного агрегата открывается в основной поток двухконтурного двигателя в зоне низкого давления. Достигается увеличение надежности, энергоэффективности системы. 4 з.п. ф-лы, 2 ил.
Изобретение относится к системам всасывания для отсоса пограничного слоя на самолете, на внешней оболочке несущей конструкции которого имеются поверхности всасывания в зонах критического обтекания, и используется по меньшей мере один воздушно-реактивный двигатель, обеспечивающий всасывание, необходимое для отсоса пограничного слоя.
Система всасывания указанного типа описана в документе DE 19820097 C2. Сила всасывания, необходимая для отсоса пограничного слоя, обеспечивается в этой системе эжекторным насосом, установленным в основном потоке двигателя. Такая система всасывания имеет то преимущество, что сила всасывания для отсоса пограничного слоя создается в ней без использования движущихся частей, и, соответственно, она имеет высокую надежность. Однако существенным недостатком этой системы всасывания является значительная потеря мощности из-за того, что эжекторный насос размещается в основном потоке двигателя. При этом нельзя избежать потерь мощности и в том случае, когда система всасывания не используется.
Целью настоящего изобретения является создание системы всасывания для отсоса пограничного слоя, которая обладает высокой эффективностью преобразования энергии и отличается отсутствием потерь мощности в режимах работы, когда система всасывания не используется.
Эта цель достигается в предлагаемой в изобретении системе всасывания, предназначенной для отсоса пограничного слоя, путем отбора воздуха из зоны высокого давления двигателя с помощью ответвления (или отводной линии) от трубопровода, и затем этот воздух используется для привода турбины турбонагнетательного агрегата, компрессор (или эжекторный насос) которого создает силу всасывания, необходимую для отсоса пограничного слоя.
Предлагаемая в изобретении система всасывания обеспечивает достижение вышеуказанной цели за счет того, что турбонагнетательный агрегат обладает высокой эффективностью преобразования энергии, и подсоединение отводной линии для отвода воздуха, отбираемого от двигателя, может быть выполнено таким образом, что мощность двигателя не будет теряться, когда отводная линия перекрыта.
В двухконтурном двигателе, в котором имеется внутренний и наружный контуры, выгодно отбирать воздух из зоны компрессора высокого давления, поскольку при этом становится возможным обеспечивать максимально возможную мощность для турбонагнетательного агрегата.
В соответствии с другим вариантом реализации изобретения линия нагнетания компрессора (или эжекторного насоса) турбонагнетательного агрегата выходит в основной поток двигателя в зоне низкого давления. Такая конструкция способствует поддержанию перепада давлений между системой каналов всасывания, предназначенной для отсоса пограничного слоя, и выходом линии нагнетания, то есть перепада давлений, который должен преодолеваться компрессором турбонагнетательного агрегата, как можно более низким для того, чтобы сила всасывания, создаваемая компрессором, могла быть использована самым оптимальным образом.
В другом предпочтительном варианте реализации изобретения вместо одного высокопроизводительного турбонагнетательного агрегата используется несколько турбонагнетательных агрегатов малой мощности, которые размещаются в зоне подвески двигателя и/или его обтекателя. Достоинство такого варианта заключается в том, что для турбины турбонагнетательного агрегата могут быть использованы короткие линии нагнетания и всасывания так, что потери давления и тепла могут быть сравнительно невысокими.
Также предпочтительным является использование одновальной конфигурации турбонагнетательного агрегата, поскольку части современных агрегатов подобного типа имеют простую конструкцию, и поэтому их производство является сравнительно дешевым.
Вариант реализации изобретения описывается ниже со ссылками на прилагаемые фигуры. На фигурах показано:
Фигура 1 – вид крыла летательного аппарата с поверхностями всасывания для отсоса пограничного слоя, а также двигателя летательного аппарата, размещенными под этим крылом.
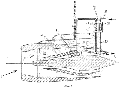
Фигура 2 – схематический вид поперечного сечения двигателя летательного аппарата, представленного на фигуре 1, с предлагаемой в изобретении системой всасывания для отсоса пограничного слоя.
На фигуре 1 представлен пример конструкции летательного аппарата, внешняя обшивка которого содержит поверхности всасывания в зонах критического обтекания, а именно крыла 4 летательного аппарата, которое снабжено поверхностями 41, 42 всасывания. Двигатель 1 установлен на крыле 4 летательного аппарата с помощью соответствующей подвески 12 двигателя. Линия 23 всасывания для отсоса пограничного слоя через поверхности 41, 42 всасывания проходит от крыла 4 к зоне двигателя 1, которая обозначена ссылочной позицией Z. В этой зоне Z размещается предлагаемая в изобретении система всасывания для отсоса пограничного слоя. Необходимо иметь в виду, что обтекатель двигателя также может быть снабжен вышеупомянутыми поверхностями всасывания для отсоса пограничного слоя.
На фигуре 2 представлен схематический вид сечения, проходящего через зону Z двигателя летательного аппарата. Двигатель летательного аппарата в целом обозначен ссылочным номером 1. Этот двигатель имеет так называемую двухконтурную конфигурацию, в которой основной поток Н после так называемого вентилятора с передним расположением разделяется на поток К внутреннего контура и поток М наружного контура. Поток К внутреннего контура выходит из сопла двигателя через компрессор 11 высокого давления и турбину высокого давления. Зона высокого давления возле компрессора 11 высокого давления обозначена ссылочной позицией Р. В этой зоне к двигателю 1 подсоединена отводная линия 10 для отвода отбираемого воздуха высокого давления. Отводная линия 10 проходит в турбонагнетательный агрегат 2. Турбонагнетательный агрегат имеет одновальную конструкцию, которая содержит турбину 20 и компрессор (эжекторный насос) 24. Отбираемый воздух, который отводится от компрессора 11 высокого давления, вращает турбину 20 и затем возвращается в основной поток Н двигателя 1 через выпускную линию 21. Компрессор 24 турбонагнетательного агрегата 2, который приводится турбиной 20, направляет воздух из линии 23 всасывания в основной поток Н двигателя 1 по линии 25 нагнетания, и при этом линия 25 нагнетания выходит в основной поток Н двигателя в зоне U низкого статического давления.
Вместо одного высокопроизводительного турбонагнетательного агрегата 2 можно использовать несколько менее мощных турбонагнетательных агрегатов, которые легче разместить в нужном месте. Такие менее мощные турбонагнетательные агрегаты обозначены ссылочными позициями 2а и 2b и показаны на фигуре 2 пунктирными линиями. Достоинством использования турбонагнетательных агрегатов меньшей мощности являются лучшие возможности по их размещению в подвеске 12 двигателя или в его обтекателе, как показано на фигуре 2.
Также следует иметь в виду, что ссылочные обозначения в формуле изобретения не должны рассматриваться как ограничивающие ее объем.
Перечень ссылочных обозначений
1 – двигатель летательного аппарата;
2 – турбонагнетательный агрегат;
2а – турбонагнетательный агрегат малой мощности;
2b – турбонагнетательный агрегат малой мощности;
4 – крыло;
41 – поверхность всасывания крыла 4;
42 – поверхность всасывания крыла 4;
10 – отводная линия;
11 – компрессор высокого давления;
12 – подвеска двигателя;
20 – турбина;
21 – выпускная линия;
23 – всасывающая линия;
24 – компрессор (эжекторный насос);
25 – линия нагнетания компрессора 24;
Н – основной поток;
К – внутренний контур;
М – внешний контур;
Р – зона высокого давления;
U – зона низкого давления;
Z – зона двигателя 1 с системой всасывания для отсоса пограничного слоя.
Формула изобретения
1. Система всасывания для отсоса пограничного слоя на самолете, на внешней оболочке несущей конструкции которого имеются поверхности всасывания в зонах критического движения потока, при этом система всасывания включает: по меньшей мере, один воздушно-реактивный двухконтурный двигатель (1) с внутренним (К) и внешним (М) контурами, и основным потоком (Н), который используется для получения силы всасывания, необходимой для отсоса пограничного слоя, компрессор высокого давления (11) с зоной высокого давления (Р), которая находится в зоне внутреннего контура (К); отводную линию (10); турбонагнетательный агрегат (2) с турбиной (20) и компрессором (24); при этом отводная линия (10), предназначенная для отведения воздуха из зоны компрессора (11) высокого давления в двухконтурном двигателе и для привода турбины (20) турбонагнетательного агрегата (2) отводимым воздухом, компрессор (24) служит для создания силы всасывания, необходимой для отсоса пограничного слоя; и при этом линия нагнетания (25) компрессора (24) турбонагнетательного агрегата (2) открывается в основной поток (Н) двухконтурного двигателя (1) в зоне низкого давления (U).
2. Система всасывания для отсоса пограничного слоя по п.1, в которой отводная линия отводит воздух из зоны компрессора высокого давления в двухконтурном двигателе с внутренним и внешним контурами.
3. Система всасывания для отсоса пограничного слоя по п.1 или 2, в которой линия нагнетания компрессора турбонагнетательного агрегата открывается в основной поток двигателя в зоне низкого давления.
4. Система всасывания для отсоса пограничного слоя по п.1, в которой использовано несколько турбонагнетательных агрегатов меньшей мощности, которые размещаются в зоне подвески двигателя и/или его обтекателя.
5. Система всасывания для отсоса пограничного слоя по п.1, в которой турбонагнетательный агрегат имеет одновальную конструкцию.
РИСУНКИ
|