|
|
(21), (22) Заявка: 2007122900/11, 16.11.2005
(24) Дата начала отсчета срока действия патента:
16.11.2005
(30) Конвенционный приоритет:
19.11.2004 FR 0412269
(43) Дата публикации заявки: 27.12.2008
(46) Опубликовано: 20.03.2010
(56) Список документов, цитированных в отчете о поиске:
FR 2748442 А, 14.11.1997. FR 2841866 A, 09.01.2004. US 6644721 В1, 11.11.2003. RU 93056507 A, 27.05.1996.
(85) Дата перевода заявки PCT на национальную фазу:
19.06.2007
(86) Заявка PCT:
FR 2005/050957 20051116
(87) Публикация PCT:
WO 2006/054022 20060526
Адрес для переписки:
103735, Москва, ул. Ильинка, 5/2, ООО “Союзпатент”, пат.пов. Ю.В.Облову, рег. 905
|
(72) Автор(ы):
УМЕССАУД Нордин (FR)
(73) Патентообладатель(и):
РЕНО С.А.С. (FR)
|
(54) АВТОМОБИЛЬ, СОДЕРЖАЩИЙ КУЗОВ С ПОЛОМ ДЛЯ РАЗМЕЩЕНИЯ ГРУЗА
(57) Реферат:
Изобретение относится к области автомобилестроения. Автомобиль содержит кузов с первым полом (10), имеющим плоскую выступающую первую зону (11) и низко расположенную зону (12), примыкающую к первой зоне (11). Низко расположенная зона (12) окружена выступающей рамой (14), а второй пол (15) механически прикреплен к раме (14) в плоскости, расположенной на одном уровне с плоскостью первой зоны (11). Технический результат направлен на создание автомобиля, кузов которого адаптирован как для пассажирского автомобиля, так и для грузового автомобиля малой грузоподъемности. 6 з.п. ф-лы, 6 ил.
Область техники, к которой относится изобретение
Изобретение относится к автомобилям, содержащим кузов с полом для размещения груза.
Уровень техники
В состав кузова автомобиля входит пол, располагаемый в нижней части кузова. Задняя часть пола проектируется как зона для размещения груза и ей придается предпочтительно плоская форма для упрощения погрузки и хранения объектов.
У пассажирского автомобиля зона для размещения груза примыкает к зоне для пассажиров, оборудованной одним или большим количеством рядов сидений. Обычно зона для пассажиров имеет сложную геометрию для оптимального размещения сидений и обеспечения максимально возможного свободного пространства для пассажиров. В частности, в данной зоне предусмотрены места для ног пассажиров, и эта зона располагается как можно более низко, ниже уровня зоны для размещения груза.
Кузов автомобиля изготавливают посредством сборки штампованных металлических листов, соединяемых друг с другом посредством сварки. Пол обычно содержит такие части кузова как продольные и поперечные элементы, которые поддерживают металлический лист, образующий верхнюю поверхность пола. При необходимости для обеспечения уплотнения между металлическими листами применяют герметизирующий состав. После сборки и уплотнения кузов направляется на линию обработки поверхности для обеспечения ее защиты от коррозии и нанесения краски.
У грузового автомобиля малой грузоподъемности, предназначенного для перевозки товаров, зона для пассажиров сокращается до одного ряда сидений, а зона для размещения груза занимает большую часть поверхности пола.
Однако кузова пассажирских автомобилей не подходят для грузовых автомобилей малой грузоподъемности и наоборот. В связи с этим кузова автомобилей приходится проектировать в зависимости от назначения автомобилей, что приводит к дополнительным затратам на проектирование кузова и разработку технологической оснастки.
Раскрытие изобретения
Задачей настоящего изобретения является разработка автомобиля, кузов которого может быть адаптирован как для пассажирского автомобиля, так и для грузового автомобиля малой грузоподъемности.
С учетом данной задачи объектом настоящего изобретения является автомобиль, содержащий кузов с первым полом, который имеет первую обычно плоскую выступающую зону и низко расположенную зону, примыкающую к первой зоне. Низко расположенная зона имеет выступающую раму, второй пол, механически прикрепленный к раме в плоскости, находящейся на одном уровне с первой зоной.
Таким образом, один и тот же кузов, разработанный для пассажирского автомобиля, может быть просто преобразован в кузов для грузового автомобиля малой грузоподъемности посредством добавления выступающей рамы и второго пола. При этом не требуется применения для каждого типа автомобиля своей технологической оснастки. Кроме того, кузов для грузового автомобиля малой грузоподъемности получает дополнительную прочность, что особенно полезно при перевозке тяжелых грузов.
Более того, то, что второй пол крепится механически, позволяет обрабатывать пространство под вторым полом на линии обработки поверхности для получения хорошей защиты этого пространства от коррозии.
Предпочтительно в углубленной зоне первого пола выполнено, по меньшей мере, одно сливное отверстие для слива воды и каналы для подвода воды к этому отверстию. Поскольку второй пол крепится механически и его уплотнение не гарантирует отвод воды, которая может попадать между двумя полами, то предусмотрены каналы и отверстия. Таким образом, зону для размещения груза и второй пол можно мыть из шланга без малейшего риска скопления воды в какой-либо части автомобиля и без связанной с этим опасностью коррозии.
В частности отверстие снабжено клапаном. Таким образом, исключается возможность попадания брызг обратно в пространство под вторым полом, а также ограничивается проникновение внешних шумов и обеспечивается беспрепятственное вытекание воды через отверстие.
В соответствии с конкретным вариантом выполнения изобретения второй пол содержит две панели, раму, включающую центральный продольный элемент, и панели, прикрепленные к продольному элементу вдоль их стыка. Введение второго пола в конструкцию кузова облегчается по сравнению с полом, выполненным в виде цельной конструкции, при этом каждая панель имеет меньшие габариты и массу.
Для отвода воды продольный элемент содержит, например, желоб, расположенный под панелями вдоль их стыка. Вода, которая может просочиться сквозь стык между панелями, собирается в желобе и направляется в сливной канал.
Кроме того, рама имеет, по меньшей мере, один проем, так что канал достигает обеих боковых сторон рамы. Вода, которая может вытечь за пределы второго пола на внешнюю сторону рамы, собирается в канале и доставляется через этот проем к сливному отверстию.
В частности первый пол содержит желоб, параллельный стыку между вторым полом и находящийся под вторым полом. Вода, которая может просочиться в стык между первым и вторым полами, собирается в желобе и доставляется к сливному отверстию.
Краткое описание чертежей
Настоящие изобретение и его прочие особенности и преимущества станут более понятны из нижеследующего описания изобретения и краткого описания прилагаемых чертежей, на которых представлено:
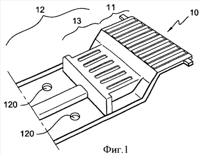
– фиг.1 – пространственный вид элемента кузова автомобиля, соответствующего настоящему изобретению;
– фиг.2 – вид автомобиля в соответствии с фиг.1, перед установкой второго пола;
– фиг.3 – вид в соответствии с фиг.2 после установки второго пола;
– фиг.4 – вид под другим углом на кузов, показанный на фиг.3;
– фиг.5 – продольный частичный разрез кузова, изображенного на предыдущих фигурах;
– фиг.6 – вынесенный местный вид VI, обозначенный на фиг.5.
Осуществление изобретения
В состав кузова входит первый пол 10, расположенный в нижней части, показанный на фиг.1. В задней части первый пол 10 содержит первую зону 11 для размещения груза, имеющую плоскую форму. Первая зона 11 для размещения груза примыкает к низко расположенной зоне 12 для пассажиров, конструкция которой предусматривает размещение одного или большего числа рядов сидений, которые на фигурах не показаны. Расположенная ниже зона содержит промежуточную зону 13, примыкающую к первой зоне 11. Когда автомобиль компонуется для использования в качестве пассажирского, на промежуточную зону 13 устанавливают ряд сидений.
Кузов автомобиля обычно изготавливают посредством сварки штампованных металлических листов. В состав пола обычно входят такие элементы кузова как продольные и поперечные элементы, не показанные на фигурах, на которые опирается металлический лист, образующий верхнюю поверхность пола.
Для использования автомобиля в качестве грузового в состав низко расположенной зоны 12 входит выступающая рама 14, расположенная по ее периметру, как это показано на фигуре 2. Рама 14 состоит из двух боковых частей 140, расположенных около дверных проемов, и передней части 141 идущей в вертикальном и поперечном направлении и соединяющей концы боковых частей 140. Рама 14 также содержит кронштейн 142, прикрепленный к промежуточной зоне 13 в области первой зоны 11. Также в состав рамы входит центральный продольный элемент 14, проходящий в продольном направлении в основном в середине рамы 14 между передней частью 141 и кронштейном 142.
Второй пол 15 крепится механически к раме 14 в плоскости, находящейся на одном уровне с первой зоной 11, как это показано на фиг.3. Таким образом обеспечивается широкая зона для размещения груза, которая занимает первую зону 11 и второй пол 15. Второй пол 15 образуется двумя панелями 150 и 151, стык которых располагается над центральным продольным элементом 143.
Для изготовления автомобиля, соответствующего настоящему изобретению, проводят сборку кузова, содержащего первую зону 11 пола, низкорасположенную зону 12 и выступающую раму 14, без второго пола 15. Поверхность кузова подвергается обычной обработке, включающей в себя герметизацию, электрофорез и покраску. Панели 150 и 151 второго пола 15 подвергаются такой же обработке отдельно. Затем кузов перемещается на сборочную линию, где панели 150, 151 второго пола 15 механически прикрепляются к кузову, например, посредством винтов.
При таком способе сборки не гарантируется герметизация стыков пространства между вторым полом и кузовом, поэтому принимаются меры для сбора и слива воды, которая может просочиться в пространство под вторым полом.
Эти меры в частности состоят в том, что в первом полу 10 в низкорасположенной зоне 12 выполнено, по меньшей мере, одно отверстие 120 для слива воды и каналы для направления воды к отверстию 120, как это показано на фигуре 5.
Отверстие 120 расположено в самой низкой точке. Возможно выполнение нескольких отверстий в соответствии с геометрией низкорасположенной зоны 12.
Для избежания или ограничения проникновения брызг или внешних шумов отверстие 120 снабжено выполненным из эластичного материала клапаном 16, который показан на фиг.5 и 6. Клапан содержит цилиндрический корпус 160, опирающийся на край отверстия 120, и закрывающий отверстие диск 161, простирающийся в радиальном направлении по отношению к цилиндрическому корпусу 160. Частичная прорезь 162 отделяет закрывающий отверстие диск 161 от цилиндрического корпуса 160 таким образом, чтобы закрывающий отверстие диск 161 был прикреплен к цилиндрическому корпусу 160 с возможностью относительного упругого перемещения, для расширения прорези 162 и обеспечения прохождения воды.
Для направления воды к отверстию 120 центральный продольный элемент 143 содержит желоб 144 продольного элемента, проходящий под стыком между панелями. В желобе 144 в районе передней части 141 выполнены отверстия для того, чтобы вода внутри рамы могла стекать к отверстию 120. Кроме того, первый пол 10 содержит желоб 110, параллельный стыку второго пола 15 и находящийся ниже второго пола 15. Собранная таким образом вода стекает по желобу 110, затем вдоль боковых частей 140 через промежуточную зону 13 и, наконец, через низкорасположенную зону 12 к отверстию 120.
Для сбора воды, которая может стекать со второго пола 15 вдоль боковых частей 140 рамы 14, за пределами рамы 14 выполнен канал 145, доходящий до проема 146 в боковой части 140 и проходящий внутри рамы 14 к отверстию 120.
Формула изобретения
1. Автомобиль, содержащий кузов с первым полом (10), который имеет первую плоскую выступающую зону (11) и низко расположенную зону (12), примыкающую к первой зоне (11), отличающийся тем, что низко расположенная зона (12) содержит выступающую раму (14), а второй пол (15) механически прикреплен к раме (14) в плоскости, расположенной на одном уровне с плоскостью первой зоны (11).
2. Автомобиль по п.1, отличающийся тем, что в первом полу (10) в низко расположенной зоне (12) выполнено, по меньшей мере, одно отверстие (120) для слива воды и каналы (145, 144, 110) для направления воды к отверстию (120).
3. Автомобиль по п.2, отличающийся тем, что отверстие (120) снабжено клапаном (16).
4. Автомобиль по п.1, отличающийся тем, что второй пол содержит две панели (150, 151), раму (14) с центральным продольным элементом (143), причем панели (150, 151) выполнены с возможностью механического крепления к продольному элементу (143) вдоль их стыка.
5. Автомобиль по п.4, отличающийся тем, что продольный элемент (143) содержит желоб (144), расположенный под стыком между панелями (150, 151).
6. Автомобиль по п.2, отличающийся тем, что рама (14) содержит, по меньшей мере, один проем (146), при этом канал (145) достигает обеих сторон рамы (14).
7. Автомобиль по п.1, отличающийся тем, что первый пол (10) содержит желоб (110), параллельный стыку со вторым полом (15), расположенный под вторым полом (15).
РИСУНКИ
|
|