|
(21), (22) Заявка: 2006146981/11, 25.05.2005
(24) Дата начала отсчета срока действия патента:
25.05.2005
(30) Конвенционный приоритет:
01.06.2004 FR 0405896
(43) Дата публикации заявки: 27.07.2008
(46) Опубликовано: 20.03.2010
(56) Список документов, цитированных в отчете о поиске:
US 3273875 A, 11.12.1963. FR 2787745 A1, 30.06.2000. RU 2020320 C1, 30.09.1994. РАЙМПЕЛЬ Й. Шасси автомобиля. Конструкции подвесок. – М.: Машиностроение, 1989, с.276, фиг.6.47.
(85) Дата перевода заявки PCT на национальную фазу:
09.01.2007
(86) Заявка PCT:
FR 2005/050361 20050525
(87) Публикация PCT:
WO 2005/118376 20051215
Адрес для переписки:
103735, Москва, ул. Ильинка, 5/2, ООО “Союзпатент”, пат.пов. Ю.В.Облову, рег. 905
|
(72) Автор(ы):
КОВАЛЬСКИ Филипп (FR), ДЕНИ Жераль (FR)
(73) Патентообладатель(и):
РЕНО С.А.С. (FR)
|
(54) УЗЕЛ ДЛЯ АВТОМОБИЛЬНОГО АМОРТИЗАТОРА, СОДЕРЖАЩИЙ ПРУЖИНУ И СЕДЛО
(57) Реферат:
Изобретение относится к задним амортизаторам автотранспортного средства. Узел содержит пружину и опорное седло пружины. Седло состоит из двух идентичных деталей (18), закрепленных на кронштейне (6) седла. Кронштейн (6) седла закреплен на лонжероне (4) автомобиля и содержит основание (8). Каждая деталь (18) содержит крышку (20) с верхним краем (22), расположенным, в основном, в вертикальной плоскости, и нижним краем (24), расположенным, в основном, в горизонтальной плоскости. Две детали (18) содержат боковые части (27). Боковые части (27) контактируют с нижней стороной основания кронштейна седла. Достигается снижение себестоимости узла. 4 з.п. ф-лы, 5 ил.
Настоящее изобретение относится к задним амортизаторам автотранспортного средства.
Известны такие амортизаторы, оборудованные пружиной, верхний конец которой опирается на седло, соединенное с рамой автомобиля. На практике выполнение такой конструкции требует больших затрат.
Задачей настоящего изобретения является снижение себестоимости такого узла.
Для этого в соответствии с изобретением для пружины автомобильного амортизатора устанавливают седло, содержащее две идентичные детали.
Таким образом, два седла заднего амортизатора автомобиля можно выполнить в виде четырех идентичных деталей при помощи одного и того же инструмента. Кроме того, уменьшается число стандартов деталей. Упрощается также вся конструкция. Наконец, сборку различных деталей можно организовать таким образом, чтобы узел, содержащий седло, поступал на завод сразу в том виде, в котором его устанавливают на автомобиль.
Седло в соответствии с настоящим изобретением может быть также охарактеризовано, по меньшей мере, любым из следующих отличительных признаков:
– седло содержит две детали;
– обе детали расположены друг против друга и
– обе детали симметричны относительно друг друга.
Объектом настоящего изобретения является также узел для автомобильного амортизатора, содержащий пружину и опорное седло для пружины, являющееся объектом изобретения.
Узел в соответствии с настоящим изобретением может быть также охарактеризован, по меньшей мере, любым из следующих отличительных признаков:
– обе детали расположены симметрично относительно друг друга по обе стороны от вертикальной плоскости, параллельной направлению движения автомобиля;
– узел содержит кронштейн седла, на котором крепят детали;
– кронштейн содержит центровочный выступ;
– узел содержит лонжерон, на котором крепят кронштейн седла;
– узел содержит антивибрационный фильтр, установленный между седлом и пружиной.
Другие отличительные признаки и преимущества настоящего изобретения будут более очевидны из нижеследующего описания предпочтительного варианта выполнения, представленного в качестве неограничительного примера, со ссылками на прилагаемые чертежи, на которых представлено:
фиг.1 – вид в перспективе седла амортизатора в предпочтительном варианте выполнения настоящего изобретения, закрепленного на лонжероне;
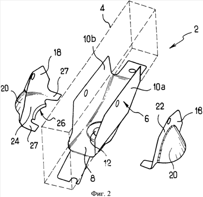
фиг.2 – вид в перспективе и в разборе седла, показанного на фиг.1, с пружиной;
фиг.3 – вид спереди седла, показанного на фиг.1;
фиг.4 – вид снизу в разборе седла, показанного на фиг.1, с кронштейном;
фиг.5 – вид относительного расположения седла, пружины и антивибрационного фильтра в варианте выполнения, показанном на фиг.1;
На чертежах показан узел амортизатора согласно предпочтительному варианту выполнения настоящего изобретения. Этот узел амортизатора предназначен для любого заднего колеса автотранспортного средства. Узлы амортизаторов одинаковы для обоих колес.
Узел 2 содержит лонжерон 4, детально показанный на фиг.1 и схематично – на фиг.2. Речь идет о классическом и известном лонжероне, образующем раму автомобиля. Левый лонжерон связан с левым задним колесом, а правый лонжерон связан с правым задним колесом.
Узел амортизатора содержит кронштейн 6 седла, содержащий нижнее основание 8 и две боковины 10а и 10b. Основание 8 расположено в основном в горизонтальной плоскости. Оно имеет прямоугольную форму в плане, удлиненную в направлении движения автомобиля. Каждая из боковин 10а и 10b имеет плоскую форму, и они расположены вертикально вверх, начиная от соответствующих продольных краев основания 8. Обе боковины 10а и 10b расположены напротив друг друга, на расстоянии друг от друга и параллельно друг другу. Основание 8 содержит рельефный выступ 12, выступающий вниз относительно нижней стороны 14 основания 8. Этот выступ имеет в плане общую круглую форму.
Кронштейн 6 имеет конструкцию, ограничивающую между боковинами гнездо для установки части лонжерона 4, как показано на фиг.1 и 2, при этом нижняя сторона лонжерона оказывается напротив верхней стороны основания 8, а боковые стороны лонжерона оказываются напротив внутренних сторон боковин 10а и 10b.
Узел 2 содержит седло 16. Оно содержит две детали 18, образующие в данном случае это седло. Детали 18 идентичны друг другу. Они также симметричны друг другу относительно вертикальной плоскости, расположенной вдоль направления движения автомобиля, когда детали 18 находятся в монтажном положении. Каждая деталь 18 содержит крышку 20, поверхность которой геометрически ограничена цилиндром, образующие которого показаны на фиг.1. Эти образующие наклонены в боковом направлении относительно вертикального направления в сторону другой детали 18. Крышка ограничена сверху верхним краем 22, расположенным в основном в вертикальной плоскости, и снизу – нижним краем 24, расположенным в основном в горизонтальной плоскости. Этот край содержит центральный вырез 26 в виде дуги окружности, который должен находиться напротив выступа 12. Он содержит также две боковые части 27, предназначенные для введения в поверхностный контакт с нижней стороной 14 основания 8 кронштейна 6 седла.
Детали 18 предназначены для крепления на кронштейне 6 по обе стороны от него напротив соответственно боковин 10а и 10b. Верхний край 22 каждой детали находится в этом случае в поверхностном контакте с наружной стороной соответствующей боковины, тогда как нижний край 24 находится в поверхностном контакте с нижней стороной основания 8.
Узел амортизатора дополнительно содержит антивибрационный фильтр 30, например, из резины, показанный на фиг.5. Этот фильтр имеет в основном форму круглой пластины с полостью в центре своей верхней стороны для выступа 12 и имеет, наоборот, рельеф в центре своей нижней стороны для облегчения центровки верхнего конца пружины 32 амортизатора. Фильтр 30 устанавливается, таким образом, между узлом, образованным кронштейном 6 и седлом 16 с одной стороны и пружиной 32 – с другой стороны, в вертикальном направлении. Нижний край 24 деталей 18 образует, таким образом, горизонтальную и в основном плоскую опору круглой или овальной формы для фильтра 30, который служит опорой для верхнего конца пружины.
Детали 18 закреплены сваркой на основании 8 в двух точках 33, находящихся на нижних концах вертикального края 22. Эти же детали соединены сваркой вырезом 26 с выступом 12 посредством сварного шва.
Кронштейн 6 приварен каждой из своих боковин к лонжерону 4 посредством двух точек 34, которые могут служить также для соединения сваркой каждой детали с кронштейном 6.
Как показано на фиг.2 и 3, основание 8 кронштейна 6 можно приподнять в передней и задней концевых зонах. Можно также изменить форму верхнего края 22 каждой детали 18 для придания ему по выбору криволинейной формы, как показано на фиг.1, или формы ломаной линии, как показано на фиг.3.
Фильтр 30 устанавливают между седлом 16 и пружиной 32 без разметки, поскольку он занимает свое конечное положение, будучи сжатым пружиной. Он удерживается в положении за счет давления пружины даже при наличии значительного смещения.
Преимуществом такой конструкции является также то, что выступ 12 располагается на вертикали лонжерона 4 таким образом, чтобы точка входа усилий, создаваемых амортизатором на раму, оказывалась под лонжероном. Поэтому нет необходимости смещать положение выступа относительно седла 16, чтобы получить такой результат.
Детали 18 и кронштейн 6 можно выполнять из металла посредством штамповки.
Следует учесть, что в настоящее изобретение можно вносить многочисленные изменения, не выходя при этом за его рамки.
Сварочные точки 33 и 34 могут совпадать таким образом, чтобы крепление двух половин седел, кронштейна 6 и лонжерона 4 выполнялось на одном и том же этапе сварки.
Формула изобретения
1. Узел для автомобильного амортизатора, содержащий пружину (32) и опорное седло (16) пружины, отличающийся тем, что содержит седло, состоящее из двух идентичных деталей (18), закрепленных на кронштейне (6) седла, причем кронштейн (6) седла закреплен на лонжероне (4) автомобиля и кронштейн (6) седла содержит основание (8), причем каждая деталь (18) содержит крышку (20) с верхним краем (22), расположенным в основном в вертикальной плоскости, и нижним краем (24), расположенным в основном в горизонтальной плоскости, причем две детали (18) содержат боковые части (27), при этом боковые части (27) контактируют с нижней стороной основания кронштейна седла.
2. Узел по п.1, отличающийся тем, что содержит антивибрационный фильтр (30), установленный между седлом (16) и пружиной (32).
3. Узел по п.1 или 2, отличающийся тем, что кронштейн (6) содержит центровочный выступ (12).
4. Узел по п.1 или 2, отличающийся тем, что две детали (18) расположены симметрично по отношению друг к другу по обе стороны от вертикальной плоскости, параллельной движению автомобиля.
5. Узел по п.3, отличающийся тем, что две детали (18) расположены симметрично по отношению друг к другу по обе стороны от вертикальной плоскости, параллельной движению автомобиля.
РИСУНКИ
|