|
(21), (22) Заявка: 2008109999/11, 18.03.2008
(24) Дата начала отсчета срока действия патента:
18.03.2008
(43) Дата публикации заявки: 27.09.2009
(46) Опубликовано: 20.03.2010
(56) Список документов, цитированных в отчете о поиске:
RU 2048338 C1, 20.11.1995. RU 2243915 C2, 10.01.2005. GB 1199416 A, 22.07.1970.
Адрес для переписки:
129626, Москва, ул. 1-я Мытищинская, 16, а/я 49, Э.П. Дергачеву
|
(72) Автор(ы):
Дергачёв Эдуард Петрович (RU), Кузнецов Алексей Николаевич (RU)
(73) Патентообладатель(и):
Дергачёв Эдуард Петрович (RU)
|
(54) ПОДВЕСКА РЕДУКТОРА ПРИВОДА ПОДВАГОННОГО ГЕНЕРАТОРА (ВАРИАНТЫ)
(57) Реферат:
Изобретение относится к области железнодорожного транспорта. Подвеска редуктора привода подвагонного генератора содержит штангу с буртами по концам, контактирующими противоположными сторонами с охватывающими штангу цельными кольцевыми упругими элементами, размещенными в полостях кронштейна редуктора и в корпусе, закрепленном на раме тележки, которые ограничены цельными опорными плитами. Особенностью изобретения по первому варианту является выполнение штанги из двух частей, соединенных между собой муфтой или накидной гайкой. Части выполнены с возможностью прохождения через кольцевые упругие элементы и опорные плиты. Особенностью изобретения по второму варианту является выполнение одного из буртов съемным, а штанги с возможностью прохода через кольцевые упругие элементы и опорные плиты. Достигается упрощение конструкции и повышение долговечности подвески. 2 н. и 8 з.п. ф-лы, 4 ил.
Изобретение относится к области железнодорожного транспорта.
Известна подвеска редуктора привода подвагонного генератора, содержащая штангу с буртами по концам, контактирующими противоположными сторонами с охватывающими штангу цельными кольцевыми упругими элементами, размещенными в полостях кронштейна редуктора и в корпусе, закрепленном на раме тележки, которые ограничены цельными опорными плитами (см. патент РФ 2243915 от 10.01.2005).
Недостатком известного устройства является сложность конструкции, обусловленная использованием двух съемных буртов, т.е. использованием двух узлов соединения.
Технический результат, на достижение которого направлено изобретение, заключается в упрощении конструкции подвески, в повышении ее надежности и в упрощении процесса сборки подвески.
Указанный технический результат при использовании первого варианта изобретения достигается тем, что в подвеске редуктора привода подвагонного генератора, содержащей штангу с буртами по концам, контактирующими противоположными сторонами с охватывающими штангу цельными кольцевыми упругими элементами, размещенными в полостях кронштейна редуктора и в корпусе, закрепленном на раме тележки, которые ограничены цельными опорными плитами, штанга выполнена составной или разрезной с возможностью прохождения ее частей через кольцевые упругие элементы и опорные плиты.
Части штанги могут быть соединены между собой резьбовой муфтой и зафиксированы от проворота относительно нее.
На одной из частей штанги может быть выполнен упорный бурт для муфты, а на другой части штанги – опорный бурт для муфты.
В другой модификации подвески по первому варианту части штанги соединены между собой накидной гайкой, навинчиваемой на одну из частей, и составным или разрезным вкладышем, располагаемым в кольцевом углублении другой части с возможностью взаимодействия с кольцевым упором гайки, при этом части штанги зафиксированы от проворота относительно друг друга.
В третьей модификации подвески по первому варианту части штанги соединены между собой накидными гайками, одна из которых навинчена на другую с фиксацией их от взаимного проворота, и составными или разрезными вкладышами, располагаемыми в кольцевых углублениях соответствующих частей штанги с возможностью взаимодействия с кольцевыми упорами соответствующих гаек, при этом внутренняя поверхность одной из гаек расположена в контакте с внешней поверхностью вкладышей, а части штаги зафиксированы от проворота относительно друг друга.
Части вкладышей могут быть выполнены в сечении ступенчатыми для обеспечения контакта внутренней поверхности накидной гайки (одной из гаек при использовании двух гаек) по развитой поверхности вкладышей.
Для исключения взаимного проворота частей штанги и исключения работы штанги на излом конец одной части выполняется с выступом, а конец другой части с выемкой для него или концы обоих частей штанги выполнены с выемками для размещения в них шпонки или любого другого элемента.
Технический результат в изобретении по второму варианту достигается тем, что в подвеске редуктора привода подвагонного генератора, содержащей штангу с буртами по концам, контактирующими противоположными сторонами с охватывающими штангу цельными кольцевыми упругими элементами, размещенными в полостях кронштейна редуктора и в корпусе, закрепленном на раме тележки, которые ограничены цельными опорными плитами, один бурт смонтирован на штанге посредством разъемного соединения, а другой выполнен с ней за одно целое, при этом штанга выполнена с возможностью прохождения через упругие элементы и опорные плиты.
Сущность изобретения поясняется чертежами.
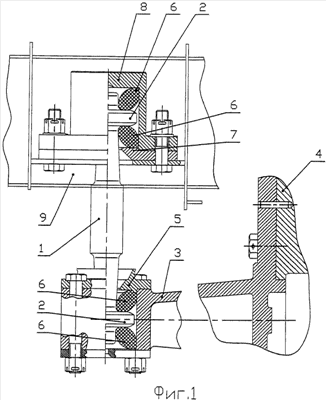
На фиг.1 показан общий вид подвески редуктора привода подвагонного генератора; на фиг.2 показана штанга, состоящая из частей, соединяемых резьбовой муфтой; на фиг.3 – то же, с использованием накидной гайки; на фиг.4 – то же, с использованием двух накидных гаек; на фиг.5 – соединение штанги с буртом.
Подвеска редуктора привода подвагонного генератора включает в себя штангу 1 с буртами 2, с одной стороны связанную с кронштейном 3 редуктора 4 через нижнюю опорную плиту 5 и упругие элементы 6, с другой стороны через опорную плиту 7, корпус 8 и упругие элементы 6 – с поперечным брусом 9 рамы тележки (не показана). При этом нижняя опорная плита 5 кронштейна и опорная плита 7 корпуса 8 выполнены каждая в виде одной детали. Один из буртов 2 в подвеске по второму варианту выполнен съемным (фиг.5). Это может быть реализовано, например, посредством выполнения бурта 2 с резьбовым отверстием и закреплением его на резьбе штанги 1. При этом фиксация бурта осуществляется хвостовиком 10 штанги 1, выполненным в виде винта с буртиком. Для удобства монтажа в хвостовике 10 выполнен паз 11 под инструмент, а для предотвращения развинчивания резьбовые соединения хвостовика 10 и буртов 2 выполнены с разным направлением резьбы.
Подвеска по первому варианту имеет составную или разрезную штангу 1, образованную соответственно из отдельно изготовленных частей 12 и 13 или путем разрезания цельноизготовленной штанги на две части 12 и 13.
В одной из модификаций подвески части 12 и 13 соединены между собой резьбовой муфтой 14. Для исключения относительного поворота муфты и частей штанги могут быть использованы самые различные средства: штифты, контргайка, шайба с выступом и отгибающейся частью и т.д.
Часть 12 может быть выполнена с упорным буртом 15, а часть 13 – с опорным буртом 16. Бурт 16 позволяет расположить верхний торец муфты 14 на уровне торца части 13, что обеспечивает наворачивание муфты на часть 12 при контакте торцов частей штанги. Наворачивание муфты на часть 12 происходит до ее упора в упорный бурт 15, что обеспечивает необходимую жесткость соединения и равное количество используемых витков резьбы частей 12 и 13.
В другой модификации подвески по первому варианту используется накидная гайка 17, навинчиваемая на часть 13. Часть 12 выполняется с кольцевым пазом 18, в котором размещаются части вкладыша 19, выполненные в сечении ступенчатыми для увеличения площади контакта вкладыша с накидной гайкой и частью 12. Для стопорения накидной гайки 17 может быть использована контргайка 20 и многолапчатая шайка 21. Резиновый уплотнитель 22 препятствует проникновению влаги из окружающей среды. Для стопорения от проворота частей 12 и 13 относительно друг друга может быть использована шпонка 23, размещаемая в выступе 24 части 12 штанги и в углублении, выполненном в днище выемки 25. Кроме того, в качестве стопорящиго элемента может использоваться штифт. Стягивание частей штанги осуществляется за счет взаимодействия кольцевого упора 26 гайки 17 с торцом вкладыша при навинчивании ее на часть 13.
В третьей модификации первого варианта используются две накидные гайки 27 и 28, взаимодействующие кольцевыми упорами 26 с соответствующими вкладышами 19.
При сборке штанги гайки 27 и 28 надеваются соответственно на части 12 и 13, в кольцевые пазы частей устанавливаются вкладыши 19 и осуществляют навинчивание гайки 27 на гайку 28.
Сборку подвески по первому варианту осуществляют следующим образом.
На части 12 и 13 последовательно надевают цельные кольцевые упругие элементы 6 и опорные плиты 7 и 5 соответственно и затем части соединяются между собой. На части 12 и 13 надеваются внешние упругие элементы 6.
Далее происходит сборка узлов сопряжения подвески с рамой тележки и корпусом редуктора.
Сборка подвески по второму варианту осуществляется следующим образом.
На штангу последовательно надеваются нижний внутренний кольцевой упругий элемент 6, опорная плита 5, опорная плита 7 и верхний внутренний кольцевой упругий элемент 6. После этого закрепляется верхний бурт 2, фиксируемый хвостовиком 10, и надеваются наружные кольцевые упругие элементы и далее производится сборка узлов крепления к раме тележки и редуктору.
Работает подвеска аналогично ближайшему аналогу, а также другим известным подвескам, в которых использованы кольцевые конусообразные упругие элементы с сечением в виде овала.
Формула изобретения
1. Подвеска редуктора привода подвагонного генератора, содержащая штангу с буртами по концам, контактирующими противоположными сторонами с охватывающими штангу цельными кольцевыми упругими элементами, размещенными в полостях кронштейна редуктора и в корпусе, закрепленном на раме тележки, которые ограничены цельными опорными плитами, отличающаяся тем, что штанга выполнена разрезной с возможностью прохождения ее частей через кольцевые упругие элементы и опорные плиты.
2. Подвеска по п.1, отличающаяся тем, что части штанги соединены между собой резьбовой муфтой и зафиксированы от проворота относительно нее,
3. Подвеска по п.2, отличающаяся тем, что на одной из частей штанги выполнен упорный бурт для муфты.
4. Подвеска по п.3, отличающаяся тем, что на другой части штанги выполнен опорный бурт для муфты.
5. Подвеска по п.1, отличающаяся тем, что части штанги соединены между собой накидной гайкой, навинчиваемой на одну из частей, и составным или разрезным вкладышем, располагаемым в кольцевом углублении другой части с возможностью взаимодействия с кольцевым упором гайки, при этом части штаги зафиксированы от проворота относительно друг друга.
6. Подвеска по п.1, отличающаяся тем, что части штанги соединены между собой накидными гайками, одна из которых навинчена на другую с фиксацией их от взаимного проворота, и составными или разрезными вкладышами, располагаемыми в кольцевых углублениях соответствующих частей штанги с возможностью взаимодействия с кольцевыми упорами соответствующих гаек, при этом внутренняя поверхность одной из гаек расположена в контакте с внешней поверхностью вкладышей, а части штаги зафиксированы от проворота относительно друг друга.
7. Подвеска по п.6, отличающаяся тем, что части вкладыша в сечении выполнены ступенчатыми.
8. Подвеска по п.7, отличающаяся тем, что части вкладышей в сечении выполнены ступенчатыми.
9. Подвеска по любому из пп.1-8, отличающаяся тем, что конец одной части штанги выполнен с выступом, а конец другой части с выемкой для него или концы обеих частей штанги выполнены с выемками для размещения в них шпонки.
10. Подвеска редуктора привода подвагонного генератора, содержащая штангу с буртами по концам, контактирующими противоположными сторонами с охватывающими штангу цельными кольцевыми упругими элементами, размещенными в полостях кронштейна редуктора и в корпусе, закрепленном на раме тележки, которые ограничены цельными опорными плитами, отличающаяся тем, что один бурт смонтирован на штанге посредством разъемного соединения, а другой выполнен с ней за одно целое, при этом штанга выполнена с возможностью прохождения через упругие элементы и опорные плиты.
РИСУНКИ
|