Патент на изобретение №2384426

Published by on




РОССИЙСКАЯ ФЕДЕРАЦИЯ



ФЕДЕРАЛЬНАЯ СЛУЖБА
ПО ИНТЕЛЛЕКТУАЛЬНОЙ СОБСТВЕННОСТИ,
ПАТЕНТАМ И ТОВАРНЫМ ЗНАКАМ
(19) RU (11) 2384426 (13) C2
(51) МПК

B60M1/30 (2006.01)
E01B5/08 (2006.01)
B21K7/02 (2006.01)

(12) ОПИСАНИЕ ИЗОБРЕТЕНИЯ К ПАТЕНТУ

Статус: по данным на 28.09.2010 – действует

(21), (22) Заявка: 2007132706/02, 20.12.2005

(24) Дата начала отсчета срока действия патента:

20.12.2005

(30) Конвенционный приоритет:

31.01.2005 DE 102005004547.2

(43) Дата публикации заявки: 10.03.2009

(46) Опубликовано: 20.03.2010

(56) Список документов, цитированных в отчете о
поиске:
DE 2546026 A1, 21.04.1977. RU 2022070 С1, 30.10.1994. SU 1549812 A1, 15.03.1990. US 5047595 А, 10.09.1991. US 588541 А, 17.08.1897.

(85) Дата перевода заявки PCT на национальную фазу:

31.08.2007

(86) Заявка PCT:

EP 2005/013718 20051220

(87) Публикация PCT:

WO 2006/081863 20060810

Адрес для переписки:

101000, Москва, М.Златоустинский пер., 10, кв.15, “ЕВРОМАРКПАТ”

(72) Автор(ы):

ВЁМПНЕР Дитхельм (DE),
НЕТЦЕЛЬ Тимо (DE)

(73) Патентообладатель(и):

АЛКАН ТЕХНОЛОДЖИ ЭНД МЭНИДЖМЕНТ ЛТД. (CH)

(54) КОМБИНИРОВАННЫЙ ПРОФИЛЬ С НЕСУЩИМ ЭЛЕМЕНТОМ ИЗ МАТЕРИАЛА НА ОСНОВЕ ЛЕГКОГО МЕТАЛЛА И НАКЛАДНОЙ ЛЕНТОЙ, А ТАКЖЕ СПОСОБ ИЗГОТОВЛЕНИЯ ЭТОГО КОМБИНИРОВАННОГО ПРОФИЛЯ

(57) Реферат:

Изобретения относятся к комбинированному профилю с прессованным несущим элементом из материала на основе легкого металла, выполненным по типу рельса, и перекрывающей его лицевую поверхность накладной лентой. Накладная лента выполнена из более твердого металла и имеет вставные стержни, приваренные к ней с каждой ее продольной стороны. Стержни расположены параллельно продольной оси накладной ленты и размещены другой своей стороной в щелевидной выемке или в боковом пазу несущего профиля. В результате обеспечивается повышение качества комбинированного профиля. 2 н. и 32 з.п. ф-лы, 24 ил.

Изобретение относится к комбинированному профилю с прессованным несущим элементом из материала на основе легкого металла, выполненным по типу рельса, и перекрывающей его лицевую, или верхнюю, поверхность (поверхность головки рельса) накладной лентой из более твердого металла. Кроме того, изобретение относится к способу изготовления такого комбинированного профиля.

Из DE 2432541 А1 известен способ изготовления контактных рельсов из несущего профиля и по меньшей мере одной образующей по меньшей мере часть поверхности служащего в качестве токопровода несущего профиля накладки из накладной, или профильной, ленты из другого металла в качестве покрывающего профиля с высокой прочностью на истирание. В процессе прессования несущий профиль изготавливается посредством выдавливания заготовки через формообразующее сечение матрицы, и одновременно накладная лента проходит параллельно продольной оси матрицы через очко матрицы или формообразующее сечение. В процессе прессования между обоими компонентами профиля возникает прочное металлическое соединение. Например, при использовании контактного рельса для электрификации путей движения рельсового подвижного состава в случаях особенно высокой нагрузки, несмотря на внутреннее металлическое соединение, в течение длительного времени происходит отделение накладной ленты от ее несущего профиля из легкого металла.

В DE 4410688 А1 раскрыт комбинированный профиль с несущим профилем из легкого металла и соединенной с ним накладной (профильной) лентой. Последняя перекрывает лицевую поверхность головки рельсового несущего профиля, имеет в сечении желобчатую форму и имеет на своих боковых плечах отстоящие от ее внутренней поверхности со стороны несущего элемента на расстоянии друг от друга образования, заделанные в несущий элемент. Эти образования ограничивают поднутренные промежутки, заполненные с геометрическим замыканием металлическим материалом несущего элемента.

Это соединение с геометрическим замыканием лишено недостатков, описанных в отношении металлического соединения.

Комбинированный токопроводящий элемент для электропитания рельсового транспортного средства с накладкой из материала с высокой стойкостью к механическим нагрузкам, которая жестко закреплена на стержне из электропроводящего материала и образует поверхность скольжения или контактную поверхность для токосъемников транспортного средства, раскрыт в DE 2546026 А1. Закрепление накладки на служащем в качестве основания проводящем стержне происходит за счет того, что края накладки защемляются или вдавливаются в проводящий стержень. В накладке возникает по меньшей мере одна проходящая в продольном направлении вмятина, которая проникает в проводящий стержень. Для защемления краев накладки в проводящем стержне предусмотрен паз, отделяющий закраину. Последняя приводит к защемлению накладки на проводящем стержне, как только она по меньшей мере частично будет перегнута и прижата к краю накладки.

Неудачными оказались также контактные рельсы, изнашивающиеся компоненты которых закрепляются на токоведущем несущем профиле посредством проходящих через них сбоку винтов или дополнительных вставных элементов. Другие известные способы изготовления могут вызвать волнистости на поверхности покрывающего профиля, причина которых лежит в пошаговой зачеканке или штамповке несущего профиля.

Исходя из этого уровня техники в основу изобретения была положена задача дальнейшего усовершенствования соединения между несущим профилем и накладной (профильной) лентой с сохранением особых экономичных возможностей изготовления комбинированного профиля.

Эта задача решается совокупностью признаков независимого пункта формулы изобретения; зависимые пункты характеризуют рациональные частные варианты осуществления изобретения. Кроме того, в рамках изобретения лежат любые комбинации по меньшей мере из двух признаков, раскрытых в описании, на чертежах и/или в формуле. В приведенных диапазонах количественных признаков значения, находящиеся внутри того или иного диапазона, также могут выступать в качестве предельных значений и применяться любым подходящим образом.

Согласно изобретению к накладной ленте или покрывающему профилю, приблизительно прилегающей(ему) к лицевой или наружной поверхности несущего профиля и предпочтительно выполненной(ому) из высококачественной стали, с каждой ее продольной стороны предлагается присоединить анкерный или вставной стержень, параллельный продольной оси накладной ленты и другой своей стороной входящий в боковой паз или вырез несущего профиля; вставной (закладной) стержень или профиль предпочтительно выполнен из того же материала, что и накладная лента и соединен с последней сварным швом. Вставные стержни дополняют накладную ленту с обеих сторон и благодаря сварному соединению с ней образуют надежную защиту находящейся внутри лицевой поверхности токоведущего несущего профиля.

Согласно другой особенности изобретения толщина вставного стержня, выполненного в виде профилированной рейки или планки, по краю, которым он вставляется в паз, соответствует ширине паза в несущем профиле, что способствует надежной посадке компонентов в сопряжении друг с другом.

При использовании накладной ленты желобчатой формы, прилегающей к головке рельсового, т.е. выполненного по типу рельса, несущего профиля, рациональной оказалась конструкция, в которой вставной стержень соединен с примыкающим к основанию накладной ленты боковым плечом, а с другой стороны входит по меньшей мере одним участком, выступающим в сторону от этого бокового плеча, в соответствующим образом расположенный паз несущего профиля. Сварной шов должен проходить предпочтительно по торцовой поверхности бокового плеча накладной ленты.

Предпочтительно использовать вставной стержень желобчатой формы приблизительно V-образного сечения, который одним своим плечом прилегает к внутренней стороне бокового плеча накладной ленты; тогда другое плечо вставного стержня направлено к продольной оси накладной ленты. В этом варианте паз в головке рельсового несущего профиля выполнен V-образного сечения, причем одна сторона паза образована продольной выемкой в боковой или продольной поверхности головки рельсового несущего профиля.

В другом варианте осуществления изобретения вставной стержень выполнен уголкового сечения и одной своей полкой прилегает к внутренней стороне бокового плеча накладной ленты; другая полка вставного стержня наклонена от основания накладной ленты или же к нему. При этом угол, образуемый двумя полками, должен превышать 90°, предпочтительно составляя около 110°.

Осуществление изобретения возможно также с применением вставного стержня примерно полукруглого сечения, который в высшей точке (зените) своей выпуклости приварен своей наружной поверхностью к торцовой поверхности бокового плеча накладной ленты таким образом, что оба вставных стержня накладной ленты расположены на общей средней оси и открыты друг к другу. Эта средняя ось пересекает ось сечения комбинированного профиля, которая, в свою очередь, параллельна его торцовым поверхностям. Кроме того, средняя ось вставных стержней на каждой из обеих продольных поверхностей головки рельсового несущего профиля должна определять положение прилива, сечение которого соответствует форме внутреннего пространства прилегающего к ней вставного стержня и который ограничен с обеих сторон пазами под свободные края вставного стержня.

Сечение другого предложенного в изобретении варианта вставного профиля или стержня для головки рельсового несущего профиля состоит из участка в форме квадранта (четверти) окружности и прямого участка, который прилегает к внутренней стороне бокового плеча накладной ленты и сварен с ее торцовой поверхностью. Эти участки в форме квадранта обоих вставных стержней могут быть направлены к основанию накладной ленты или от него. Паз головки рельсового несущего профиля для прямого участка вставного стержня должен иметь здесь продольную выемку на продольной поверхности головки рельсового несущего профиля. В остальном следует обратить внимание на то, что пары вставных стержней одинаковой формы имеют зеркально-симметричное выполнение.

В другом варианте осуществления изобретения вставной стержень выполнен в сечении крючкообразным, имеет свободный участок, проходящий на расстоянии от бокового плеча накладной ленты и направленный к ее основанию, и другим краем приварен к торцовой поверхности бокового плеча.

Кроме того, рациональным оказался вариант, в котором щелевидная выемка в головке рельсового несущего профиля охвачена снизу продольным ребром, выполненным на расстоянии от лицевой поверхности головки рельсового несущего профиля и ограниченным нижней поверхностью головки.

В варианте, альтернативном описанному выше размещению вставного стержня крючкообразного сечения свободным участком, проходящим на расстоянии от внутренней поверхности бокового плеча накладной ленты, этот участок направлен от основания накладной ленты, т.е. к подошвенной зоне комбинированного профиля. Этот вставной стержень также приварен к торцовой поверхности бокового плеча.

В другом варианте вставной стержень выполнен в сечении ступенчатым, с одной стороны приварен к внутренней поверхности бокового плеча накладной ленты, а с другой – заходит свободным крючкообразным краем за выступающую планку вдоль продольной поверхности головки рельсового несущего профиля.

Изобретение также осуществимо с применением вставных стержней, которые выполнены в сечении линейными, т.е. в виде полосок, внутренней стороной прилегающих к боковым плечам накладной ленты и выступающих за их соответствующие торцовые поверхности, с которыми они соединены непрерывным сварным швом. Такой вставной стержень линейного сечения сварен на одном краю с торцовой поверхностью бокового плеча накладной ленты и наклонен к продольной оси сечения комбинированного профиля под углом от 60 до 80°, предпочтительно от 70 до 75°.

Рациональным является также вариант, в котором на внутренней стороне бокового плеча накладной ленты в зоне его торцовой поверхности закреплен вставной стержень, выполненный в виде прутка, параллельного продольной оси накладной ленты, а именно круглого в сечении прутка с диаметром, составляющим, например, от 5 до 10 мм. Для такого прутка на каждой боковой или продольной поверхности головки комбинированного профиля целесообразно выполнить продольный паз, сечение которого в глубине имеет форму сегмента круга – в соответствии с круглой формой сечения прутка.

Осуществление изобретения возможно также при использовании рельса иной формы, а именно несущего профиля коробчатой формы, к лицевой поверхности которого прилегает выполненная в виде пластины накладная лента, на продольных кромках которой посредством сварных швов закреплено по одному вставному стержню. В данном случае ширина накладной ленты меньше ширины несущего профиля, и каждый из вставных стержней вставлен в паз, начинающийся ступенчатой выемкой в несущем профиле.

Объектом изобретения является также способ изготовления комбинированного профиля, при осуществлении которого из материала на основе легкого металла прессуют несущий профиль с лицевой поверхностью и расположенными с обеих ее сторон пазами, далее в каждый паз помещают вставной (закладной) стержень и к выступающему из паза участку вставного стержня прикладывают накладную ленту, перекрывающую лицевую поверхность несущего профиля. Вставной стержень сваривают с накладной лентой по всей длине.

Таким образом, сначала анкерные полоски, анкерные стержни или вставные стержни закладываются либо вдавливаются или закатываются в профиль из легкого металла, в частности в алюминиевый базовый профиль, или эти элементы фиксируются прокаткой или обжимом за счет остаточной деформации несущего профиля перед сваркой или впоследствии. В этом случае с помощью прижимного ролика большого диаметра покрывающий профиль из высококачественной стали прижимается к несущему профилю из легкого металла, и при этом предварительно напряженном состоянии одновременно справа и слева с покрывающим профилем свариваются анкерные полосы или вставные стержни.

В остальном так называемый покрывающий профиль представляет собой предпочтительно отрезанную от бунта проката ленту высококачественной стали, которой путем роликового формования придается требуемая форма или используется непосредственно в виде отрезанной полосы. Вставной стержень представляет собой ленту из высококачественной стали, предпочтительно из того же сплава, что и покрывающий профиль, который предпочтительным образом отрезан от бунта проката и которому роликовым формованием или отбортовкой придана требуемая форма.

Для устранения вышеупомянутых недостатков предлагается комбинированный профиль, непрерывно выходящий из технологического оборудования, такого как пресс для профильного прессования несущего профиля и роликовая формовочная машина, и снабженный по всей длине покрывающим профилем и вставными стержнями или анкерными профилями. Соединение компонентов осуществляется посредством непрерывной сварки по длине профиля.

При создании изобретения учитывалось требование обеспечения как можно большей ширины трущейся поверхности с возможностью касания сбоку и механическое крепление, которое даже при полном стирании профилей обеспечивает фиксацию двух оставшихся трущихся поверхностей. Кроме того, учтено требование уменьшения монтажных допусков по высоте по сравнению с известными комбинированными профилями. Также желательно обеспечить возможность локального производства профиля в любой точке мира без необходимости наладки большого пресса для выдавливания легких металлов.

Ниже изобретение более подробно рассмотрено на примере некоторых предпочтительных вариантов его осуществления со ссылкой на прилагаемые чертежи, на которых показано

на фиг.1, 9 – в перспективе отрезок рельсового комбинированного профиля из двух частей;

на фиг.2 – сечение комбинированного профиля, показанного на фиг.1, приблизительно в натуральную величину с извлеченной из комбинированного профиля деталью;

на фиг.3, 4 – уменьшенное по сравнению с фиг.2 сечение комбинированного профиля в другом варианте;

на фиг.5-8 – две половины сечений двух разных комбинированных профилей;

на фиг.10 – сечение комбинированного профиля, показанного на фиг.9;

на фиг.11 – вид с торца одной части комбинированного профиля;

на фиг.12 – вид сбоку двух элементов части комбинированного профиля, показанного на фиг.11;

на фиг.13 – обе части комбинированного профиля, показанного фиг.10, перед сборкой;

на фиг.14, 18 – два других варианта комбинированных профилей из двух частей;

на фиг.15, 19 – вид с торца части комбинированного профиля, показанного на фиг.14, 18;

на фиг.16, 20 – вид сбоку двух элементов части комбинированного профиля, показанного на фиг.15, 19;

на фиг.19, 20 – элементы, показанные на фиг.11, 12 и соответствующие фиг.14, 18;

на фиг.17, 21 – обе части комбинированного профиля из фиг.14, 18 перед их сборкой;

на фиг.22-24 – три других варианта комбинированных профилей при виде с торца.

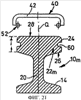
Комбинированный профиль 10 высотой h 105 мм и максимальной шириной b 92 мм содержит на фиг.1 рельсовый несущий профиль 12 с подошвой 14 и отформованной на ней посредством шейки 20 головкой 22. Две ограничивающие поверхность 16 подошвы 14 продольные грани 17 высотой с 10 мм проходят параллельно друг другу на расстоянии b1 80 мм.

От этих продольных граней 17 оба ската 18 подошвы 14 незначительно наклонены вверх к пересекающей продольную ось А комбинированного профиля 10 средней оси Q сечения и переходят в шейку 20 высотой h1 около 30 мм и толщиной е около 18 мм. От верхнего конца шейки 20 отходят наклоненные приблизительно вверх к продольным граням 24 головки 22 нижние поверхности 26 этой головки 22 шириной b2 78 мм, наружная высота n которых около 28 мм определяет положение поверхности 28 головки 22.

От каждой из боковых граней 24 головки 22 на фиг.1 отходит наклоненный вверх под углом около 60° паз 30 шириной а 4 мм и глубиной t 18 мм, нижняя стенка которого переходит на фиг.2 в подобие продольного ребра 34 головки 22, внешняя сторона которого образована нижней поверхностью 26. В продольной грани 24 выполнена продольная выемка 32 в виде пространственного продолжения паза 30 V-образного сечения, также имеющая ее ширину а.

Этот рельсовый или несущий профиль 12 комбинированного профиля 10 формуется из материала на основе легкого металла в прессе для выдавливания профилей, который для наглядности на чертеже не показан.

Лицевая или верхняя поверхность 28 рельсового профиля 12 или поверхность 28 его головки 22 в готовом состоянии перекрывается накладной (профильной) лентой 40 толщиной f 6 мм, изготовленной из черного или цветного металла. Эта накладная лента 40 имеет желобчатое сечение, а ее отходящие от основания 42, параллельные друг другу и продольной оси В накладной ленты 40 боковые плечи 46 высотой c1 20 мм прилегают к продольным граням 24 головки 22. В этом положении наружная поверхность 44 накладной ленты 40 образует верхнюю поверхность комбинированного профиля 10.

Каждому боковому плечу 46 накладной ленты 40, прилегающему к поверхности 28 головки 22, в примере на фиг.1 и 2 с внутренней стороны соответствует проходящий параллельно оси профиля желобчатый вставной стержень 50 приблизительно V-образного сечения с углом w1 около 65°, плечи 49. 49i которого имеют толщину a1, соответствующую с небольшим зазором ширине а паза 30. Плечо 49 линейного сечения своей внешней стороной, параллельной продольной оси Q сечения, прилегает с внутренней стороны к боковому плечу 46 накладной ленты 40 с шириной касания с2 5 мм и герметично соединено с ней сварным швом 48. Он проходит по торцовой поверхности 47 бокового плеча 46 накладной ленты 40. Плечо 49i вставлено в соседний паз 30 головки 22. Таким образом, возникает прочное и герметичное соединение обеих составных частей 12, 40 комбинированного профиля 10.

Головка 22а комбинированного профиля 10a на фиг.3 имеет вместо V-образного паза согнутый в сечении в виде уголка паз 30а шириной (радиус 4 мм) под соответствующую форму вставного стержня 50а накладной ленты 40, выполненной в соответствии с фиг.2. В направлении подошвы 14 паз 30а ограничен наклоненным вверх продольным ребром 34а головки 22а. Этот паз 30а размещает в себе свободный конец 55 сечения вставного стержня 50а, который при виде сбоку представляет собой продольную полосу.

Накладная лента 40 на фиг.4 выполнена также, в основном соответствуя накладной ленте, показанной на фиг.2; у этого комбинированного профиля 10b оба вставных профиля или стержня 50b согнуты в сечении в форме полукруга и каждый в высшей точке сечения приварен к торцовой поверхности 47 бокового плеча 46 накладной ленты 40. Вставные стержни 50b, открытые друг к другу по пересекающей продольную ось Q сечения средней оси М, охватывают с боков на головке 22b приливы 36 полукруглого сечения, которые с обеих сторон с образованием пазов 35 для концов сечения вставного стержня 50b ограничены продольными ребрами 34b.

На фиг.5 изображены заканчивающиеся у продольной оси Q сечения половины двух комбинированных профилей 10c, 10d; другая, не показанная на чертеже половина выполнена соответственно. Накладной ленте 40 в показанном слева варианте придан вставной стержень 50с толщиной a1, сечение которого состоит из участка 54 в форме квадранта окружности и прямого участка 49с, сваренного с соответствующим боковым плечом 46 накладной ленты 40. Участок 54 в форме квадранта окружности направлен к подошве 14 рельсового несущего профиля. У варианта, показанного справа, вставной стержень 50с зафиксирован таким образом, что участок 54 направлен к основанию 42 накладной ленты 40. У обоих комбинированных профилей 10с, 10d прямой участок находится в продольной выемке 32 соответствующей головки 22с, 22d рельсового несущего профиля, переходящей в паз 30с криволинейного сечения.

На фиг.6 также изображены два направленных навстречу друг другу вставных профиля или вставных стержня 50е уголковой или крючкообразной одинаковой формы в сечении с соответствующими пазами в головке 22е, 22f комбинированного профиля 10е, 10f. Также эти вставные стержни 50е сварены с торцовыми поверхностями 47 боковых плеч 46 накладной ленты и заходят своим свободным крючкообразным участком 56 за проходящую параллельно оси профиля выступающую планку 37 шириной k1 головки 22е, 22f рельсового несущего профиля.

В комбинированном профиле 10g, показанном на фиг.7, проходит вставной стержень 50g в основном ступенчатого сечения; он приварен к внутренней поверхности бокового плеча 46 и своим свободным крючкообразным участком 56 заходит за проходящую параллельно оси профиля выступающую планку 37 на продольной поверхности 24 головки 22h рельсового несущего профиля.

К боковому плечу 46 накладной ленты 40 комбинированного профиля 10h на фиг.7 с внутренней стороны приложен линейный в сечении вставной стержень 51 толщиной а2 4 мм, который сварен с торцовой поверхностью 47 бокового плеча 46 таким образом, что также параллельный ему свободный конец сечения заходит за выступающую планку 37 головки 22h рельсового несущего профиля.

В обоих примерах осуществления изобретения, показанных на фиг.8, к торцовой кромке или торцовой поверхности 47 каждого из боковых плеч 46 накладной ленты 40 линейный вставной стержень 51 свободной длины k 15 мм приварен таким образом, что он проходит внутрь под углом w2 от 70 до 75° к продольной оси Q сечения. В комбинированном профиле 10i, показанном в левой части чертежа, вставной стержень 51 направлен к основанию 42, а в другом комбинированном профиле 10k – в сторону от основания 42.

Соответствующие пазы 30 в головке 22i, 22k рельсового несущего профиля проходят над продольным ребром 34, 34а.

Комбинированный профиль 10е, показанный на фиг.9-13, содержит два вставных стержня 50а, форма которых описана со ссылкой на фиг.3. В отличие от фиг.3 здесь свободные края 55 вставных стержней 50а направлены вверх, т.е. к основанию 42 накладной ленты 40.

На фиг.11 изображено точное выполнение накладной ленты 40, ширина q прямого участка которой составляет здесь 68 мм при длине в выпрямленном состоянии около 116 мм и площади около 697 мм2 [материал 1.4016 (X6Cr17), 5373,1 г/м].

Вставной стержень 50а на фиг.12 образует обеими своими полками 55, 55i длиной z 7,8 мм и z1 5,8 мм и торцовыми поверхностями 57 угол у 65°. На фиг.1 3 показана длина описанных выше пазов 30 и продольных выемок 32 в головке 22е рельсового несущего профиля.

На фиг.14-17 изображен поясняемый со ссылкой на фиг.10-13 цикл для примера на фиг.3. При этом фиг.15 соответствует фиг.11. На фиг.16 длина z, z1) обеих полок 55, 55i вставного стержня 50а составляет 5,6 мм, а угол у – 76°.

К боковым плечам 46 накладной ленты 40 на фиг.18-21 с внутренней стороны приварено по одному прутку 52 диаметром d 7 мм. Здесь длина в выпрямленном состоянии составляет около 112 мм, а площадь около 674 мм2 [материал 1.4016 (X6Cr17), 5189,8 г/м].

Для размещения с защемлением прутка 52 на середине высоты продольных граней или поверхностей 24 головки 22n рельсового несущего профиля высотой i 28 мм выполнены продольные пазы 60, сечение которых в глубине образовано полукругом.

Коробчатый несущий профиль 13 комбинированного профиля 11, показанный на фиг.22-24, имеет в основном прямоугольную форму сечения шириной b1 105 мм и высотой h2 50 мм и имеет внутреннее пространство 62, ограниченное с обеих сторон плечами 64, от которых отстоят параллельные поверхности 28 и соосные друг другу ребра 66 шириной b3 20 мм. Поверхность 28 ýже несущего профиля 13, поскольку каждая из его верхних угловых кромок имеет ступенчатую выемку 68 шириной b4 5 мм. От нее отходит направленный в основном по диагонали к поверхности сечения паз 31 шириной а около 3 мм и длиной t1 около 9 мм. Паз 31 служит для размещения вставного стержня 50а уголкового сечения, который полкой 55i приварен к продольной грани 70 выполненной в виде пластины накладной ленты 44, ширина b которой составляет около 95 мм при толщине f 5 мм. Свободная полка 55 профиля посажена в паз 31.

Комбинированные профили 11а, 11b и их несущие профили 13 на фиг.23, 24 отличаются формой вставных профилей или вставных стержней 51k, 50 их накладных лент 41. Вставной стержень 51k на фиг.23 аналогичен вставному стержню комбинированного профиля 10h, однако незначительно изогнут. Вставной стержень 50 на фиг.24 соответствует вставному стержню на фиг.1, 2. Однако он приложен и приварен плечом 49 к нижней поверхности накладной ленты 41; сварной шов 48 проходит по боковой грани 70 накладной ленты 41 и наружной поверхности плеча 49. Угловая зона несущего профиля 13 соответственно выполнена с продольной выемкой 32 в лицевой или наружной поверхности 28 несущего профиля 13b и ступенчатой выемкой 68, между которыми параллельно продольной оси профиля проходит прилив 36a.

Формула изобретения

1. Комбинированный профиль, содержащий прессованный несущий профиль (12, 13) из материала на основе легкого металла и накладную ленту (40, 41) из более твердого металла, перекрывающую лицевую поверхность (28) несущего профиля и прилегающую к ней, отличающийся тем, что накладная лента (40, 41) выполнена с присоединенным к ней с каждой ее продольной стороны сваркой с образованием сварного шва (48) вставным стержнем (50, 50а, 50b, 50с, 50е, 50g, 51, 51k 52), расположенным параллельно продольной оси (В) накладной ленты и размещенным другой своей стороной в щелевидной выемке или в боковом пазу (30, 30а, 30с, 31, 35), выполненных в несущем профиле.

2. Комбинированный профиль по п.1, отличающийся тем, что накладная лента (40, 41) выполнена из высококачественной стали.

3. Комбинированный профиль по п.1 или 2, отличающийся тем, что вставной стержень (50, 50а, 50b, 50c, 50е, 50g, 51, 51k 52) выполнен из того же материала, что и накладная лента (40, 41).

4. Комбинированный профиль по п.1, отличающийся тем, что вставной стержень (50, 50а, 50b, 50с, 50е, 50g, 51, 51k, 52) выполнен с толщиной (a1, а2) по свободному краю, которая соответствует ширине (а) бокового паза (30, 30а, 31, 35).

5. Комбинированный профиль по п.1, отличающийся тем, что накладная лента выполнена желобчатой формы, а вставной стержень (50, 50а, 50b, 50с, 50е, 50g, 51) соединен с примыкающим к основанию (42) накладной ленты (40) боковым плечом (46) и с другой стороны входит по меньшей мере одним участком (49i, 54, 55, 56, 56а), выступающим в сторону от бокового плеча, в боковой паз (30, 31, 35) несущего профиля (12, 13).

6. Комбинированный профиль по п.5, отличающийся тем, что сварной шов (48) проходит по торцовой поверхности (47) бокового плеча (46).

7. Комбинированный профиль по п.1, отличающийся тем, что вставной стержень (50) выполнен желобчатой формы приблизительно V-образного сечения и одним своим плечом (49) прилегает к внутренней стороне бокового плеча (46), примыкающего к основанию (42) накладной ленты (40), причем другое плечо (49;) вставного стержня направлено к продольной оси (В) накладной ленты.

8. Комбинированный профиль по п.7, отличающийся тем, что несущий профиль (12) выполнен в виде рельсового несущего профиля с боковым пазом (30) в головке (22), имеющим V-образное сечение, причем одна сторона упомянутого бокового паза выполнена в виде продольной выемки (32) на боковой поверхности (24) головки (22) рельсового несущего профиля.

9. Комбинированный профиль по п.7, отличающийся тем, что вставной стержень желобчатой формы выполнен с сечением, имеющим угол (w1) раскрытия от 60 до 70°, предпочтительно 65°.

10. Комбинированный профиль по п.1, отличающийся тем, что вставной стержень (50а) выполнен с уголковым сечением и одной своей полкой (55) прилегает к внутренней стороне бокового плеча (46), примыкающего к основанию (42) накладной ленты (40), причем другая полка (55i) вставного стержня наклонена от основания накладной ленты или к нему.

11. Комбинированный профиль по п.10, отличающийся тем, что угол, образуемый двумя полками (55, 55i) вставного стержня, превышает 90°, предпочтительно составляет около 110°.

12. Комбинированный профиль по п.1, отличающийся тем, что вставной стержень (50b) выполнен с полукруглым сечением и в высшей точке сечения присоединен путем сварки к торцовой поверхности (47) бокового плеча (46), примыкающего к основанию (42) накладной ленты (40).

13. Комбинированный профиль по п.12, отличающийся тем, что оба вставных стержня (50b) расположены на общей средней оси (М) и открыты друг к другу.

14. Комбинированный профиль по п.13, отличающийся тем, что средняя ось (М) вставных стержней (50b) пересекает продольную ось (Q) сечения комбинированного профиля (10b).

15. Комбинированный профиль по п.13 или 14, отличающийся тем, что несущий профиль (12) выполнен в виде рельсового несущего профиля, на каждой из двух продольных поверхностей головки которого выполнен ограниченный с обеих сторон пазами (35) под вставной стержень прилив (36), положение которого определено средней осью (М) вставного стержня, а сечение соответствует форме внутреннего пространства вставного стержня.

16. Комбинированный профиль по п.1, отличающийся тем, что несущий профиль (12) выполнен в виде рельсового несущего профиля, а вставной стержень (50с) выполнен с сечением, имеющим участок (54) в форме квадранта окружности и прямой участок (49с), который с внутренней стороны прилегает к боковому плечу (46), примыкающему к основанию (42) накладной ленты (40), и присоединен к его торцовой поверхности (47) сваркой.

17. Комбинированный профиль по п.16, отличающийся тем, что участки (54) обоих вставных стержней (50с), выполненные в форме квадранта окружности, направлены к основанию (42) накладной ленты (40) или от него.

18. Комбинированный профиль по п.16 или 17, отличающийся тем, что головка
(22d) рельсового профиля выполнена с пазом (30с) под прямой участок (49с) вставного стержня (50е), причем упомянутый паз (30с) имеет продольную выемку (32), расположенную на продольной поверхности (24) головки (22а) рельсового несущего профиля.

19. Комбинированный профиль по п.1, отличающийся тем, что вставной стержень (50e) выполнен с крючкообразным сечением, которое имеет свободный участок (56), проходящий на расстоянии (k1) от бокового плеча (46), примыкающего к основанию (42) накладной ленты (40), и направленный к ее основанию (42), причем другим краем вставной стержень присоединен сваркой к торцовой поверхности (47) упомянутого бокового плеча.

20. Комбинированный профиль по п.1, отличающийся тем, что несущий профиль (12) выполнен в виде рельсового несущего профиля, щелевидная выемка (30, 30а, 30с, 35) выполнена в головке (22, 22а-22е) рельсового несущего профиля и охвачена снизу продольным ребром (34, 34а), расположенным на расстоянии от лицевой поверхности (28) головки (22, 22а-22е) и ограниченным ее нижней поверхностью (26).

21. Комбинированный профиль по п.19, отличающийся тем, что вставной стержень (50е) выполнен с крючкообразным сечением, которое имеет свободный участок (56), расположенный на расстоянии (k1) от бокового плеча (46) накладной ленты (40) и направленный в сторону от ее основания (42), причем другим краем вставной стержень присоединен сваркой к торцовой поверхности (47) бокового плеча.

22. Комбинированный профиль по п.1, отличающийся тем, что несущий профиль (12) выполнен в виде рельсового несущего профиля, а вставной стержень (50g) выполнен со ступенчатым сечением и свободным крючкообразным краем (56) и с одной стороны присоединен путем сварки к внутренней поверхности бокового плеча (46), примыкающего к основанию (42) накладной ленты (40), а с другой стороны заходит свободным крючкообразным краем (56) за выступающую планку (37), расположенную вдоль продольной поверхности (24) головки (22g) рельсового несущего профиля.

23. Комбинированный профиль по п.1, отличающийся тем, что вставной стержень (51) выполнен в сечении линейным, внутренней стороной прилегает к боковому плечу (46), примыкающему к основанию (42) накладной ленты (40), и выступает за его торцовую поверхность (47), к которой он присоединен сваркой.

24. Комбинированный профиль по п.1, отличающийся тем, что вставной стержень (51) выполнен в сечении линейным, одним краем присоединен сваркой к торцовой поверхности (47) бокового плеча (46), примыкающего к основанию (42) накладной ленты (40), и наклонен к продольной оси (Q) сечения (10) комбинированного профиля (10i, 10k) под углом (w2), составляющим примерно от 60 до 80°, предпочтительно от 70 до 75°.

25. Комбинированный профиль по п.1, отличающийся тем, что вставной стержень (52) выполнен в виде прутка и присоединен к внутренней стороне бокового плеча (46), примыкающего к основанию (42) накладной ленты (40), в зоне его торцовой поверхности (47) параллельно продольной оси (В) накладной ленты (40).

26. Комбинированный профиль по п.25, отличающийся тем, что вставной стержень (52) выполнен с круглым сечением, диаметр которого составляет примерно от 5 до 10 мм.

27. Комбинированный профиль по п.25 или п.26, отличающийся тем, что он выполнен с головкой (22m), на боковых или продольных поверхностях (24) которой выполнено по одному продольному пазу (60), сечение которого имеет форму сегмента круга и соответствует форме вставного стержня (52).

28. Комбинированный профиль по п.1, отличающийся тем, что несущий профиль (13) выполнен коробчатой формы, накладная лента (44) выполнена в виде пластины, к продольным кромкам (70) которой посредством сварных швов (48) присоединены вставные стержни (50, 50а, 51k).

29. Комбинированный профиль по п.28, отличающийся тем, что накладная лента (44) имеет ширину (b), которая меньше ширины (b1) несущего профиля (13), а каждый из вставных стержней (50, 50а, 51k) размещен в боковом пазу (31) несущего профиля, в начале которого в несущем профиле выполнена ступенчатая выемка (68).

30. Комбинированный профиль по п.29, отличающийся тем, что ступенчатая выемка (68) расположена в двух противоположных друг другу угловых зонах несущего профиля (13).

31. Способ изготовления комбинированного профиля по любому из пп.1-30, характеризующийся тем, что из материала на основе легкого металла прессуют несущий профиль с лицевой поверхностью и расположенными с обеих ее сторон боковыми пазами, в каждый боковой паз помещают вставной стержень, к выступающему из паза участку которого присоединяют накладную ленту из более твердого металла, перекрывающую лицевую поверхность несущего профиля.

32. Способ по п.31, отличающийся тем, что вставной стержень фиксируют на несущем профиле прокаткой или обжимом.

33. Способ по п.31 или 32, отличающийся тем, что накладную ленту устанавливают на несущий профиль в предварительно напряженном состоянии.

34. Способ по п.31, отличающийся тем, что вставной стержень присоединяют к накладной ленте непрерывной сваркой.

РИСУНКИ

Categories: BD_2384000-2384999