|
|
(21), (22) Заявка: 2008143695/12, 06.11.2008
(24) Дата начала отсчета срока действия патента:
06.11.2008
(46) Опубликовано: 20.03.2010
(56) Список документов, цитированных в отчете о поиске:
RU 2262474 С2, 20.10.2005. WO 9852833 A1, 26.11.1998. RU 2314981 C2, 20.01.2008. RU 2003103438 A, 20.06.2004. RU 96116843 A, 20.11.1998. RU 2279382 С2, 10.07.2006.
Адрес для переписки:
111539, Москва, а/я 6, Патентное агентство “ВЦПУ”, пат.пов. О.Л.Зеленовой
|
(72) Автор(ы):
Медведев Олег Зиновьевич (RU)
(73) Патентообладатель(и):
Общество с ограниченной ответственностью “Завод упаковочных изделий “ТОКК” (RU)
|
(54) СПОСОБ ИЗГОТОВЛЕНИЯ МЕТАЛЛОПЛАСТИКОВОГО ИЛИ БИПЛАСТИКОВОГО ИЗДЕЛИЯ, ПРЕИМУЩЕСТВЕННО УКУПОРОЧНОГО КОЛПАЧКА ДЛЯ БУТЫЛКИ
(57) Реферат:
Способ изготовления металлопластикового или бипластикового изделия, преимущественно укупорочного колпачка для бутылки, включает размещение заготовки наружной оболочки изделия в пресс-форме, введение в заготовку пуансона с образованием между поверхностью пуансона и внутренней поверхностью заготовки зазора, конфигурация и толщина которого приспособлены для формирования и фиксации в заготовке заданного внутреннего полимерного элемента целевого изделия. Изготовление целевого изделия осуществляют за одну технологическую операцию. Затем подают в образованный зазор расплав полимера под давлением, обеспечивающим формирующее усилие полимера и одновременно заготовку помещают в пресс-форму и осуществляют обжатие заготовки в пресс-форме. Затем формируют наружную оболочку изделия. Внутренний полимерный элемент изделия образуют одновременно с его размещением в заготовке наружной оболочки и фиксируют его в сформированной наружной оболочке изделия. Технический результат, который достигается при использовании способа по изобретению, заключается в упрощении технологии изготовления металлопластикового или бипластикового изделия при возможности усложнить его конструкцию, т.е. за одну технологическую стадию изготовить внутренний полимерный элемент любой желаемой конфигурации, разместить его в соответствующей заготовке наружной оболочки изделия, сформировать заданную форму целевого изделия и осуществить надежную фиксацию одного элемента изделия относительно другого. 6 з.п. ф-лы, 2 ил.
Область техники, к которой относится изобретение
Заявляемое изобретение касается способа изготовления металлопластикового или бипластикового изделия, преимущественно укупорочного колпачка для бутылки, которое найдет применение при изготовлении ковшеобразных изделий, имеющих оболочку, выполненную из металла или пластика, и внутренний элемент, выполненный из пластика, в частности, изобретение найдет применение при формировании укупорочного колпачка для бутылки.
Уровень техники
Известен способ изготовления укупорочного средства для бутылок, включающий нанесение на листовую заготовку оболочки укупорочного средства слоя уплотнительной полимерной пасты, последующие раскрой и штамповку укупорочного средства таким образом, чтобы нанесенный слой полимерной пасты, образующий уплотнительную прокладку, был расположен на внутренней поверхности оболочки укупорочного средства для бутылки (SU, 1634593, МПК: В65D 39/02).
Указанный способ не обеспечивает надежных укупорочных свойств изготавливаемому средству из-за плохой адгезии уплотнительной прокладки к внутренней поверхности его оболочки.
В качестве прототипа выбран способ изготовления укупорочного колпачка, состоящего из металлической наружной оболочки и пластмассовой втулки, укрепленной на внутренней поверхности боковой стенки оболочки (французская заявка на патент 2762304, МПК В65D 41/12). Указанный колпачок предназначен для укупорки бутылок с напитками. В соответствии со способом, описанным в указанной публикации, изготавливают заготовку металлической наружной оболочки с использованием штамповки или прокатки, размещают в изготовленной оболочке предварительно выполненную пластмассовую втулку и путем термообработки под давлением обеспечивают сцепление втулки и оболочки для фиксации втулки, после чего возможна стадия обработки полученного колпачка для придания ему заданной формы.
Указанный способ не позволяет изготовить целевое изделие, внутренний полимерный элемент которого превышает размер открытой части металлической наружной оболочки, в том числе, изготовить целевое изделие, внутренний полимерный элемент которого имеет бочкообразную форму или форму конуса с расширением к торцу металлической наружной оболочки колпачка. Кроме того, указанный способ предусматривает многостадийный процесс получения целевого изделия, а именно изготовление металлической наружной оболочки; изготовление пластмассовой втулки; сборка металлического и пластмассового элементов; закрепление одного элемента относительно другого элемента; формирование заданной формы целевого изделия.
Сущность изобретения
В основу заявляемого изобретения положена задача создать такой способ изготовления металлопластикового или бипластикового изделия, преимущественно укупорочного колпачка для бутылки, который позволил бы упростить технологию получения целевого изделия и обеспечил возможность формирования сборного изделия с внутренним полимерным элементом различной конфигурации.
Технический эффект, который может быть достигнут при использовании предлагаемого способа, состоит в упрощении технологии изготовлении металлопластикового или бипластикового изделия при возможности усложнить его конструкцию, то есть за одну технологическую стадию изготовить внутренний полимерный элемент любой желаемой конфигурации, разместить его в металлической или пластиковой заготовке наружной оболочки изделия, сформировать заданную форму целевого изделия и осуществить надежную фиксацию одного элемента целевого изделия относительно его другого элемента.
Указанная задача решается за счет того, что в способе изготовления металлопластикового или бипластикового изделия, преимущественно укупорочного колпачка для бутылки, включающем изготовление заготовки наружной оболочки изделия, размещение и фиксацию его внутреннего полимерного элемента в заготовке наружной оболочки с образованием целевого изделия, согласно изобретению внутренний полимерный элемент изделия образуют одновременно с его размещением в заготовке наружной оболочки, при этом заготовку помещают в пресс-форму, вводят в указанную заготовку пуансон с образованием между поверхностью пуансона и внутренней поверхностью заготовки зазора, конфигурация и толщина которого приспособлены для формирования и фиксации в заготовке заданного внутреннего полимерного элемента, и путем подачи в образованный зазор расплава полимера с одновременным обжатием заготовки наружной оболочки в пресс-форме до формирования наружной оболочки изделия, образованием внутреннего полимерного элемента и фиксацией его в сформированной наружной оболочке изделия.
Особенность данного изобретения заключается в том, что по меньшей мере на внешней поверхности заготовки наружной оболочки изделия образуют заданный рельеф путем обжатия заготовки в пресс-форме, стенки которой имеют рельефные участки, соответствующие заданному рельефу, при этом согласно изобретению заданный рельеф образуют на боковой и/или торцевой стенках заготовки наружной оболочки изделия.
Другая особенность изобретения заключается в том, что на боковой стенке заготовки образуют заданный рельеф, включающий по меньшей мере одну сквозную прорезь, путем обжатия заготовки в пресс-форме, стенки которой имеют по меньшей мере один соответствующий участок, обеспечивающий деформацию материала боковой стенки заготовки, превышающую предел текучести этого материала.
Еще одна особенность данного объекта изобретения заключается в том, что по меньшей мере на внутренней поверхности полимерного элемента изделия образуют заданный рельеф путем использования пуансона, поверхность которого имеет рельефные участки, соответствующие заданному рельефу.
Еще одна особенность данного объекта изобретения состоит в том, что подачу в зазор расплава полимера осуществляют по каналу, выполненному в пуансоне.
И, наконец, еще одна особенность данного объекта изобретения состоит в том, что создают полимерную оболочку на внешней поверхности заготовки путем образования в заданном рельефе заготовки сквозной прорези, приспособленной для поступления расплава полимера из зазора в пространство, которое создают между внешней поверхностью заготовки и внутренней поверхностью пресс-формы.
Краткое описание чертежей
Заявленное изобретение иллюстрируется чертежами, где одинаковые или сходные элементы имеют одни и те же ссылочные позиции.
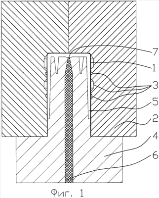
Фиг.1 схематично показывает исходное состояние средства для реализации способа изготовления металлопластикового или бипластикового изделия, преимущественно укупорочного колпачка для бутылки согласно изобретению, продольный разрез;
Фиг.2 схематично показывает средство для реализации способа изготовления металлопластикового или бипластикового изделия, преимущественно укупорочного колпачка для бутылки согласно изобретению, после подачи расплава полимера, продольный разрез.
Подробное описание изобретения
На фиг.1 схематично показано исходное состояние средства для реализации способа изготовления металлопластикового или бипластикового изделия, преимущественно укупорочного колпачка для бутылки, заявляемого согласно изобретению.
Способ изготовления изделия, имеющего ковшеобразную форму, по настоящему изобретению включает изготовление заготовки 1 наружной оболочки изделия. Изобретение предусматривает возможность изготовления заготовки 1 наружной оболочки изделия из материала, состоящего из слоев разных металлов или из композита на основе металла и полимера. Заявляемый способ пригоден для формирования целевого изделия, наружная оболочка которого выполнена только из полимера, а именно из жесткого полимера, например поликарбоната, способного деформироваться без разрушения, в том числе при частичной передаче тепла от полимера, используемого при изготовлении внутреннего элемента изделия.
Изготовление заготовки 1 наружной оболочки изделия осуществляют известными в настоящее время приемами, а именно, например, штамповкой, прокаткой.
Согласно заявляемому изобретению предварительно выполненную заготовку 1 наружной оболочки изделия, в основном ковшеобразной формы, помещают в пресс-форму 2, стенки которой имеют рельефные участки 3, соответствующие заданному рельефу наружной оболочки изделия.
Согласно заявляемому изобретению вводят в указанную заготовку 1 пуансон 4 с образованием между поверхностью пуансона 4 и внутренней поверхностью заготовки 1 кольцевого зазора 5.
В созданный зазор 5 под давлением подают расплав полимера 6. В качестве полимера, 6 возможно использовать термореактивные пластмассы, например, на основе феноло-формальдегидных смол, полиэфирных смол, эпоксидных смол, мочевино-формальдегидных смол, или термопластичные пластмассы, например, на основе полиолефинов, поливинилхлорида, полистирола.
Само собой разумеется, что при использовании заявляемого способа при изготовлении изделий для укупорки пищевых продуктов возможно применение только соответствующих разрешенных полимеров.
В соответствии с заявляемым изобретением подачу в зазор 5 расплава полимера 6 возможно осуществлять по каналу 7, выполненному в пуансоне 4.
После охлаждения полимера 6 образуют в заготовке 1 наружной оболочки изделия внутренний полимерный элемент 8 (фиг.2) изделия, конфигурация и толщина стенок которого соответствует конфигурации и толщине кольцевого зазора 5 (фиг.1).
Таким образом осуществляют размещение в заготовке 1 наружной оболочки изделия, выполненной, например, из алюминия, его внутреннего элемента 8 (фиг.2), выполненного из полимера иного типа, например линейного полиэтилена. При этом внутренний полимерный элемент 8 получаемого при этом бипластикового целевого изделия может превышать размер открытой части 9 наружной оболочки изделия, а именно внутренний полимерный элемент 8 может иметь бочкообразную форму или форму конуса с расширением к торцу наружной оболочки изделия или любую другую форму, в том числе неконцентрическую.
Одновременно в процессе подачи в зазор 5 (фиг.1) под давлением расплава полимера 6 и формирования в заготовке 1 заданного внутреннего полимерного элемента 8 (фиг.2), за счет поступающего под давлением расплава полимера 6 (фиг.1) и используя формирующее усилие полимера 6, осуществляют обжатие заготовки 1 к стенкам пресс-формы 2. При этом происходит деформация стенок заготовки 1 в соответствии с конфигурацией стенок пресс-формы 2 и ее рельефными участками 3, приводящая к формированию наружной оболочки изделия.
Подачу расплава полимера 6 в зазор 5 осуществляют под давлением, зависящим от текучести используемого полимерного материала, величины зазора, пластичности материала наружной оболочки, высоты и ширины формируемого рельефа наружной оболочки.
При этом конкретное значение давления при подаче расплава полимера зависит от материала, из которого выполнена заготовка 1, толщины ее стенок. Например, при использовании заготовки 1, выполненной из алюминия толщиной 0,24 мм и имеющей толщину стенок 1,2 мм, достаточно подавать расплав полимера под давлением, равным 5-30 Атм, чтобы произошла деформации стенок заготовки 1 в соответствии с конфигурацией стенок пресс-формы 2 и ее рельефными участками 3 и был достигнут желаемый рельеф наружной оболочки изделия, то есть формирование наружной оболочки изделия.
В соответствии с изобретением в процессе указанного формирования наружной оболочки изделия в пресс-форме 2 заданный рельеф возможно образовать на боковой стенке 10 (фиг.2) и/или на торцевой стенке 11 наружной оболочки изделия, при этом образуют, например, ребра, рельефные изобразительные элементы, буквенные, цифровые обозначения.
Заданный рельеф возможно образовать только на внешней поверхности заготовки 1 (фиг.1). Однако в зависимости от высоты и радиусов сопряжения рельефных участков 3 на стенках пресс-формы 2, их конфигурации и величины давления подачи расплава полимера возможно выполнить деформацию и наружной, и внутренней поверхностей стенок металлической наружной оболочки изделия, включая образование сквозных прорезей (не показано) стенок оболочки изделия.
Для образования по меньшей мере одной сквозной прорези, преимущественно, на боковой стенке заготовки, согласно изобретению осуществляют обжатие заготовки в пресс-форме, стенки которой имеют по меньшей мере один участок, обеспечивающий деформацию наружной оболочки, превышающую предел текучести материала, из которого выполнена заготовка. При этом на боковой стенке заготовки образуют заданный рельеф, включающий по меньшей мере одну сквозную прорезь.
Множество сквозных прорезей, выполненных по окружности на боковой стенке заготовки 1, например, заготовки колпачка для укупорки бутылок, создают в заданном рельефе заготовки колпачка ослабленную линию в виде перфорации.
Для образования на полимерном элементе 8 (фиг.2) изделия (по меньшей мере на внутренней поверхности полимерного элемента 8) заданного рельефа, например винтовой резьбы, целесообразно использовать пуансон, на поверхности которого имеются соответствующие рельефные участки.
Одновременно в процессе формирования в заготовке 1 (фиг.1) заданного внутреннего полимерного элемента 8 (фиг.2) и формирования наружной оболочки изделия осуществляют сцепление наружной оболочки изделия и его полимерного элемента, достигают механическую фиксацию полимерного элемента в указанной оболочке изделия, в том числе за счет выполнения заданных рельефов на стенках наружной оболочки, и копирующих их стенках внутреннего полимерного элемента, обеспечивающих сцепление элементов изделия как в осевом, так и в радиальном направлениях.
Особенность заявляемого способа состоит в том, что в процессе единой технологической стадии возможно дополнительно создать полимерный элемент – дублирующую полимерную оболочку на внешней поверхности наружной оболочки изделия. Для этого создают между внешней поверхностью заготовки 1 и внутренней поверхностью пресс-формы 2 пространство типа зазора (не показано), образуют в заданном рельефе наружной оболочки сквозные прорези. Расплав полимера, подаваемый под давлением в кольцевой зазор между поверхностью пуансона 4 и внутренней поверхностью заготовки 1, перетекает через сквозные прорези наружной оболочки в пространство между внешней поверхностью заготовки 1 и внутренней поверхностью пресс-формы 2, образуя после охлаждения дублирующую полимерную оболочку на внешней поверхности наружной оболочки изделия, причем прорези также могут быть образованы во время обжатия в прессформе.
Таким образом, предлагаемый способ обеспечивает упрощение технологии изготовлении металлопластикового или бипластикового изделия при возможности усложнить конструкцию целевого изделия в отношении конфигурации его полимерного внутреннего элемента. Предлагаемый способ позволяет за одну технологическую стадию изготовить внутренний полимерный элемент любой желаемой конфигурации, разместить его в металлической или пластиковой заготовке наружной оболочки изделия, сформировать заданную форму целевого изделия и осуществить надежную фиксацию одного элемента целевого изделия относительно его другого элемента.
Формула изобретения
1. Способ изготовления металлопластикового или бипластикового изделия, преимущественно укупорочного колпачка для бутылки, включающий изготовление заготовки наружной оболочки изделия, размещение и фиксацию его внутреннего полимерного элемента в заготовке наружной оболочки с образованием целевого изделия, отличающийся тем, что изготовление целевого изделия осуществляют за одну технологическую стадию, при этом внутренний полимерный элемент изделия образуют одновременно с его размещением в заготовке наружной оболочки, заготовку помещают в пресс-форму, вводят в указанную заготовку пуансон с образованием между поверхностью пуансона и внутренней поверхностью заготовки зазора, конфигурация и толщина которого приспособлены для формирования и фиксации в заготовке заданного внутреннего полимерного элемента, подают в образованный зазор расплав полимера под давлением, обеспечивающим формирующее усилие полимера и осуществление одновременного обжатия заготовки наружной оболочки в пресс-форме до формирования наружной оболочки изделия, образуют внутренний полимерный элемент и осуществляют его фиксацию в сформированной наружной оболочке изделия.
2. Способ по п.1, отличающийся тем, что по меньшей мере на внешней поверхности заготовки наружной оболочки изделия образуют заданный рельеф путем обжатия заготовки в пресс-форме, стенки которой имеют рельефные участки, соответствующие заданному рельефу.
3. Способ по п.2, отличающийся тем, что заданный рельеф образуют на боковой и/или торцевой стенках заготовки наружной оболочки изделия.
4. Способ по п.3, отличающийся тем, что на боковой стенке заготовки наружной оболочки изделия образуют заданный рельеф, включающий по меньшей мере одну сквозную прорезь, путем обжатия заготовки в пресс-форме, стенки которой имеют по меньшей мере один соответствующий участок, обеспечивающий деформацию материала боковой стенки заготовки, превышающую предел текучести этого материала.
5. Способ по п.1, отличающийся тем, что по меньшей мере на внутренней поверхности полимерного элемента изделия образуют заданный рельеф путем использования пуансона, поверхность которого имеет рельефные участки, соответствующие заданному рельефу.
6. Способ по п.1, отличающийся тем, что подачу в зазор расплава полимера осуществляют по каналу, выполненному в пуансоне.
7. Способ по п.3, отличающийся тем, что создают полимерную оболочку на внешней поверхности заготовки наружной оболочки изделия путем образования в заданном рельефе заготовки сквозной прорези, приспособленной для поступления раствора полимера из зазора в пространство, которое создают между внешней поверхностью заготовки и внутренней поверхностью пресс-формы.
РИСУНКИ
|
|