Патент на изобретение №2384397

Published by on




РОССИЙСКАЯ ФЕДЕРАЦИЯ



ФЕДЕРАЛЬНАЯ СЛУЖБА
ПО ИНТЕЛЛЕКТУАЛЬНОЙ СОБСТВЕННОСТИ,
ПАТЕНТАМ И ТОВАРНЫМ ЗНАКАМ
(19) RU (11) 2384397 (13) C1
(51) МПК

B24B39/04 (2006.01)
B21H3/12 (2006.01)

(12) ОПИСАНИЕ ИЗОБРЕТЕНИЯ К ПАТЕНТУ

Статус: по данным на 28.09.2010 – действует

(21), (22) Заявка: 2008141040/02, 15.10.2008

(24) Дата начала отсчета срока действия патента:

15.10.2008

(46) Опубликовано: 20.03.2010

(56) Список документов, цитированных в отчете о
поиске:
Справочник технолога-машиностроителя. Под. ред. Мещерякова Р.К. и др. Т.2. – М.: Машиностроение, 1983, с.412-414. SU 576203 A1, 15.10.1977. SU 1229021 A1, 07.05.1986. SU 653100 A2, 25.03.1979. US 5722878 A, 03.03.1998.

Адрес для переписки:

302020, г.Орел, Наугорское ш., 29, Орловский государственный технический университет (ОрелГТУ)

(72) Автор(ы):

Степанов Юрий Сергеевич (RU),
Киричек Андрей Викторович (RU),
Афанасьев Борис Иванович (RU),
Фомин Дмитрий Сергеевич (RU),
Самойлов Николай Николаевич (RU),
Брусов Сергей Иванович (RU),
Бурнашов Михаил Анатольевич (RU),
Иножарский Владимир Владимирович (RU)

(73) Патентообладатель(и):

Государственное образовательное учреждение высшего профессионального образования “Орловский государственный технический университет” (ОрелГТУ) (RU)

(54) СПОСОБ ЦЕНТРОБЕЖНОГО УПРОЧНЕНИЯ ВИНТОВ

(57) Реферат:

Изобретение относится к технологии машиностроения, в частности к способам отделочно-упрочняющей обработки поверхностей винтов. Осуществляют вращение устройства для поверхностного пластического деформирования и его продольную подачу. Осуществляют вращательное движение обрабатываемому винту. Используют устройство для поверхностного пластического деформирования, содержащее диск с радиальными пазами, выполненными в виде пневмоцилиндров, в которых размещены деформирующие элементы в виде двухступенчатых роликов. Каждый из двухступенчатых роликов выполнен со ступенью меньшего диаметра в виде штока пневмоцилиндра и ступенью большего диаметра в виде поршня, имеющего канавку с уплотнительным кольцом и расположенного в пневмоцилиндре. На периферийной поверхности диска установлено кольцо с отверстиями, обеспечивающими свободное прохождение через них ступеней меньшего диаметра двухступенчатых роликов и удерживание последних в радиальных пазах диска. При этом осуществляют удары по поверхности винта для ее пластического деформирования торцами штоков. В результате расширяются технологические возможности, увеличивается производительность и снижаются расходы. 4 ил., 1 табл.

Изобретение относится к технологии машиностроения, в частности к способам и устройствам для отделочно-упрочняющей обработки поверхностей деталей винтов из сталей и сплавов поверхностным пластическим деформированием (ППД) с нагруженнием деформирующих элементов центробежными силами.

Известен способ и инструмент центробежной обработки, у которого деформирующие элементы (шарики или ролики) размещают в радиальных пазах диска, при этом в работе элементы смещаются в радиальном направлении [1]. Диск с элементами вращается с высокой скоростью. Элементы при этом наносят по поверхности детали многочисленные удары, пластически деформируя поверхность, и мгновенно отскакивают от нее.

Известный способ и инструмент отличается ограниченными технологическими возможностями и не позволяет упрочнять сложнофасонные поверхности, например, винтовые, эксцентриковые, кулачковые и др., при этом способ и инструмент имеет низкую производительность и не позволяет развить больших усилий для эффективной обработки.

Задачей изобретения является расширение технологических возможностей импульсной обработки поверхностным пластическим деформированием и упрочнять сложнофасонные поверхности за счет управления глубиной и микрорельефом упрочненного слоя путем использования устройства и инструмента специальной формы с большим количеством деформирующих элементов, на которые воздействует, помимо центробежных сил, нагрузка за счет сжатого воздуха, что позволяет увеличить производительность и улучшить качество поверхности.

Поставленная задача решается предлагаемым способом для упрочнения винтов винтовых насосов, включающим осуществление вращения и продольной подачи устройству для поверхностного пластического деформирования и вращательного движения обрабатываемому винту, при этом используют устройство для поверхностного пластического деформирования, содержащее диск с радиальными пазами, выполненными в виде пневмоцилиндров, в которых размещены деформирующие элементы в виде двухступенчатых роликов, каждый из которых выполнен со ступенью меньшего диаметра в виде штока пневмоцилиндра со сферическим рабочим торцом радиуса r>, где – эксцентриситет обрабатываемого винта винтового насоса, и ступенью большего диаметра в виде поршня, имеющего канавку с уплотнительным кольцом и расположенного в пневмоцилиндре, причем на периферийной поверхности диска установлено кольцо с отверстиями, обеспечивающими свободное прохождение через них ступеней меньшего диаметра двухступенчатых роликов и удерживание последних в радиальных пазах диска, при этом осуществляют удары по поверхности винта для ее пластического деформирования упомянутыми сферическими рабочими торцами штоков под действием центробежной силы двухступенчатых роликов и путем подачи сжатого воздуха в пневмоцилиндры по радиальному каналу и кольцевым канавкам, выполненным в диске.

Сущность способа поясняется чертежами.

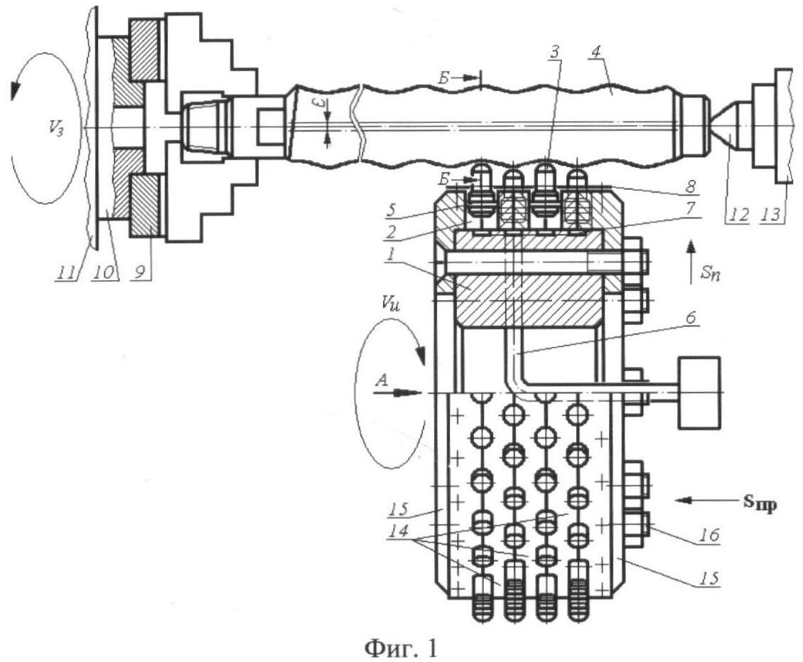
На фиг.1 представлена схема импульсного упрочнения винтовых поверхностей винтов предлагаемым способом, частичный продольный разрез деформирующего инструмента; на фиг.2 – вид по А на фиг.1, общий вид с торца; на фиг.3 – сечение Б-Б на фиг.1, деформирующие элементы упрочняют впадину винта; на фиг.4 – сечение Б-Б на фиг.1, деформирующие элементы упрочняют выступ винта.

Предлагаемый способ и реализующее его устройство предназначен для поверхностного пластического деформирования (ППД) упрочнения винтовых поверхностей винтов винтовых насосов (фиг.1) с использованием инерционных центробежных сил, действующих на деформирующие элементы. Способ можно использовать для импульсного упрочнения цилиндрических, эксцентриковых, кулачковых и др. сложнофасонных поверхностей. Предлагаемое устройство содержит диск 1 с радиальными пазами 2, в которых размещены деформирующие элементы 3. Диск 1 с деформирующими элементами 3 вращается с высокой скоростью VИ. При работе элементы могут смещаться в радиальном направлении. На деформирующие элементы 3 действуют центробежные силы, под действием которых наносятся по поверхности заготовки 4, вращающейся со скоростью VЗ, многочисленные удары.

Деформирующие элементы 3 выполнены в форме двухступенчатых роликов. Ступени меньшего диаметра расположены дальше от центра диска, а ступени большего диаметра – ближе к центру и находятся в радиальных пазах 2. Ступень меньшего диаметра является штоком пневмоцилиндра и ее рабочий торец выполнен сферическим радиусом r и ударяет по поверхности заготовки, пластически деформируя ее. Длина этой ступени больше, чем эксцентриситет обрабатываемой заготовки, например винта, согласно фиг.1. Радиус r сферы штока берется не менее эксцентриситета обрабатываемого винта, т.е. r>.

Ступень большего диаметра деформирующего элемента – ролика 3 является поршнем, имеет канавку с уплотнительным кольцом 5 и расположена в радиальном пазу – пневмоцилиндре 2. В пневмоцилиндры 2 по радиальному каналу 6 и кольцевым канавкам 7 подается сжатый воздух.

На цилиндрической периферийной поверхности диска 1 установлено и закреплено кольцо 8, выполняющее функции крышки пневмоцилиндров, с отверстиями для свободного прохождения ступени меньшего диаметра деформирующих элементов и удержания их в пневмоцилиндрах 2.

При обработке заготовка получает вращение VЗ, а устройство для упрочнения – движение продольной подачи Sпр вдоль оси обрабатываемой заготовки и вращательное движение VИ.

Устройство предназначено для импульсного упрочнения поверхностным пластическим деформированием деталей цилиндрических, эксцентриковых, кулачковых и др. сложнофасонных поверхностей валов, а также винтов винтовых насосов, для чего устройство устанавливают, например, на суппорте токарного станка (не показан). Заготовку закрепляют в патроне 9 шпинделя 10 передней бабки 11 и поджимают центром 12 задней бабки 13. Обрабатываемой заготовке сообщают вращательное движение VЗ. Скорость вращения заготовки задают в зависимости от требуемой производительности, конструктивных особенностей заготовки и оборудования.

Сборная конструкция диска 1, помимо вышеназванных отличий, имеет следующие особенности. Пневмоцилиндры 2 образованы сепараторами 14, в которых имеются радиальные пазы, и крышками 15, которые установлены с торцов диска 1 и которые закреплены винтами 16.

Сущность предлагаемого процесса с использованием вышеописанного устройства заключается в следующем. При работе деформирующие элементы могут смещаться в радиальном направлении. Используя поперечную подачу SП, подводят и поджимают деформирующие элементы к центру обрабатываемой заготовки и устанавливают нужный натяг hВП по впадине винтовой поверхности. Инструмент с деформирующими элементами вращается с высокой скоростью VИ. Элементы при этом наносят по поверхности детали многочисленные удары, пластически деформируя поверхность. Периодически деформирующие элементы ударяют как по впадинам (см. фиг.3), так и по выступам (см. фиг.4), где натяг hВЫС больше на величину эксцентриситета по сравнению с hВП. При этом деформирующие элементы не отскакивают от обработанной поверхности, как это происходит в прототипе [1], а прижаты к обрабатываемой поверхности за счет подачи и давления сжатого воздуха на поршень, которым является деформирующий ролик. Однако давление в каждом пневмоцилиндре 2 одинаковое, поэтому воздействие деформирующих элементов на выступы и впадины будет, примерно, одинаковое. Подача сжатого воздуха в пневмоцилиндры увеличивает срок службы инструментов, при этом пневмоцилиндры работают как демпферы и гасят вибрации, возникающие при ударах.

В результате пластической деформации микронеровностей и поверхностного слоя параметр шероховатости поверхности повышается до Ra=0,10,4 мкм при исходном значении Ra=0,83,2 мкм. Твердость поверхности увеличивается на 3080% при глубине наклепанного слоя 0,33 мм. Остаточные напряжения сжатия достигают на поверхности 400800 МПа.

Предварительная обработка заготовки: шлифование до значения параметра шероховатости Ra=0,41,6 мкм, а также чистовое точение поверхностей с шероховатостью Ra=3,2 мкм.

Предлагаемую ударную обработку применяют при изготовлении заготовок из цветных металлов и сплавов, чугуна и стали твердостью до HRC 5864. Помимо наружных винтовых поверхностей этим способом обрабатывают внутренние фасонные поверхности вращения, а также плоскости, соответствующим образом изготовив профиль деформирующих элементов. Можно также обрабатывать прерывистые поверхности и места сопряжении поверхностей.

Обработку выполняют на шлифовальных, токарных и фрезерных станках. Изготовляют деформирующие элементы из сталей марок ШХ15 и 9ХС с твердостью HRC 56-60.

Твердость поверхностного слоя, глубина наклепа и шероховатость поверхности зависят от силы удара и числа ударов, приходящихся на 1 мм2 поверхности. Эти параметры, в свою очередь, зависят от окружной скорости инструмента, натяга, размера элементов, их числа в инструменте, частоты вращения заготовки и времени обработки.

Режимы обработки винтовых поверхностей деформирующими элементами – роликами диаметром малой ступени 710 мм и радиусом сферической рабочей поверхности r=3,55 мм и давлением сжатого воздуха 0,63 МПа приведены в таблице.

В конкретных случаях необходима экспериментальная отработка режимов. При неправильно выбранном режиме может возникнуть перенаклеп поверхности, и в поверхностном слое могут возникнуть растягивающие остаточные напряжения, ведущие к трещинам и выкрашиванию поверхностного слоя.

1. Режимы обработки ППД винтовых поверхностей

Обрабатываемый материал Окружная скорость, м/с Продольная подача, мм/об Натяг, мм Число проходов Повышение твердости, %
инструмента-диска заготовки
1 2 3 4 5 6 7
Сталь 1540 0,51,5 0,040,16 0,10,25 34 1555
Чугун 1520 0,51,0 0,080,10 0,10,2 3 3060
Бронза, латунь 815 0,51,0 0,020,20 0,050,1 23 2545
Дюралюминий 913 0,10,5 0,020,20 0,010,15 23 2535
Примечание. Параметр шероховатости поверхности в исходном состоянии Ra=0,41,6 мкм, после обработки – Ra=0,10,4 мкм

Обработка с большими натягами приводит к увеличению шероховатости поверхности, но при этом несколько увеличивается эффект упрочнения.

Для получения поверхности заготовки высокого качества перед обработкой заготовки очищают от следов коррозии и обезжиривают. Обработку ведут с использованием СОТС. Деформирующие элементы смазывают смесью индустриального масла (60%) и керосина (40%), поверхность заготовки – керосином.

Оставлять припуск под обработку не следует, так как изменение размера весьма незначительно (15 мкм). После обработки по этому способу точность заготовок соответствует 79 квалитетам.

Пример. Для оценки параметров качества поверхностного слоя, упрочненного предлагаемым способом, проведены экспериментальные исследования обработки винта левого Н41.1016.01.001 винтового насоса ЭВН5-25-1500, который имел следующие размеры: общая длина – 1282 мм, длина винтовой части – 1208 мм, диаметр поперечного сечения винта – 27-0,05 мм, эксцентриситет – 3,3 мм, шаг – 28±0,01 мм, шероховатость Ra=0,4 мкм; винтовая поверхность однозаходная, левого направления; материал – сталь 18ХГТ ГОСТ 4543-74, твердость НВ 207-228, масса – 5,8 кг.

Обработка проводилась на токарно-винторезном станке мод. 16К20 с использованием вышеописанного устройства.

Значения технологических факторов (частоты ударов, величины подачи) выбирались таким образом, чтобы обеспечить кратность ударного воздействия на элементарную площадку обрабатываемой поверхности в диапазоне 610. Дальнейшее увеличение кратности деформирующего воздействия ведет к разупрочнению.

Величина силы импульсного воздействия деформируемых элементов на обрабатываемую поверхность составляла РИМ=25,540,0 кН. Глубина упрочненного импульсной обработкой слоя в 34 раза выше, чем при традиционном обкатывании. Упрочненный слой при традиционном обкатывании формируется в условиях длительного действия больших статических усилий. С помощью данного устройства аналогичная глубина упрочненного слоя достигается в результате кратковременного воздействия на очаг деформации пролонгированного импульса энергии.

Исследования напряженного состояния упрочненного поверхностного слоя импульсной обработкой показали, что максимальные остаточные напряжения находятся близко к поверхности, как при чеканке, что благоприятно для большинства сопрягаемых деталей механизмов и машин. Сравнение глубины напряженного и упрочненного слоя, градиента напряжений и градиента наклепа показывает, что глубина напряженного слоя в 1,11,3 раза больше, чем глубина наклепанного слоя, что согласуется с теорией поверхностного пластического деформирования. Обработка показала, что параметр шероховатости обработанных винтовых поверхностей уменьшился до значения Ra=0,320,63 мкм при исходном – Ra=3,26,3 мкм, производительность повысилась более чем в три раза по сравнению с традиционным обкатыванием. Энергоемкость процесса уменьшилась в 2,4 раза.

Гашение микровибраций, которое осуществляется за счет подвода сжатого воздуха, в процессе обработки благоприятно сказываются на условиях работы инструмента. Это приводит к более равномерному распределению нагрузки на инструмент, вызывает дополнительные циклические перемещения контактных поверхностей инструмента и заготовки, облегчает формирование упрочняемой поверхности. Демпфирование колебаний способствует лучшему проникновению СОТС в зону обработки. Демпфирование колебаний способствует увеличению стойкости деформирующих элементов инструмента. Обработка в условиях демпфирования колебаний резко увеличивает эффективность охлаждающего, диспергирующего и пластифицирующего действия СОТС вследствие облегчения ее доступа в зону контакта инструмента и заготовки.

Предлагаемый способ и реализующее его устройство расширяет технологические возможности импульсной обработки поверхностным пластическим деформированием за счет управления глубиной упрочненного слоя и микрорельефом сложнофасонной поверхности путем использования устройства и инструмента специальной формы с большим количеством деформирующих элементов и подвода сжатого воздуха, что позволяет увеличить производительность и снизить расходы на изготовление благодаря простоте конструкции.

Источники информации

1. Справочник технолога-машиностроителя. В 2-х т. Т.2 / Под ред. А.Г.Косиловой и Р.К.Мещерякова. – 4-е изд., перераб. и доп. – М.: Машиностроение, 1983, С.412-414.

Формула изобретения

Способ упрочнения винтов винтовых насосов, включающий осуществление вращения и продольной подачи устройства для поверхностного пластического деформирования и вращательного движения обрабатываемого винта, отличающийся тем, что используют устройство для поверхностного пластического деформирования, содержащее диск с радиальными пазами, выполненными в виде пневмоцилиндров, в которых размещены деформирующие элементы в виде двухступенчатых роликов, каждый из которых выполнен со ступенью меньшего диаметра в виде штока пневмоцилиндра со сферическим рабочим торцом радиуса r>, где – эксцентриситет обрабатываемого винта винтового насоса, и ступенью большего диаметра в виде поршня, имеющего канавку с уплотнительным кольцом и расположенного в пневмоцилиндре, причем на периферийной поверхности диска установлено кольцо с отверстиями, обеспечивающими свободное прохождение через них ступеней меньшего диаметра двухступенчатых роликов и удерживание последних в радиальных пазах диска, при этом осуществляют удары по поверхности винта для ее пластического деформирования упомянутыми сферическими рабочими торцами штоков под действием центробежной силы двухступенчатых роликов и путем подачи сжатого воздуха в пневмоцилиндры по радиальному каналу и кольцевым канавкам, выполненным в диске.

РИСУНКИ

Categories: BD_2384000-2384999