|
|
(21), (22) Заявка: 2005111864/11, 08.10.2003
(24) Дата начала отсчета срока действия патента:
08.10.2003
(30) Конвенционный приоритет:
24.10.2002 US 10/279,518
(43) Дата публикации заявки: 10.01.2006
(46) Опубликовано: 20.03.2010
(56) Список документов, цитированных в отчете о поиске:
WO 9832539 A1, 30.07.1998. US 4043510 A, 23.08.1977. JP 11347462 A, 21.12.1999. SU 1834716 A3, 15.08.1993. SU 1650053 A1, 23.05.1991.
(85) Дата перевода заявки PCT на национальную фазу:
24.05.2005
(86) Заявка PCT:
US 03/31985 20031008
(87) Публикация PCT:
WO 2004/037431 20040506
Адрес для переписки:
125009, Москва, Романов пер., 4, стр. 2, Сквайр, Сандерс энд Демпси (Москва) ЛЛС, пат.пов. О.М.Безруковой
|
(72) Автор(ы):
ДЖОЗЕФ Стивен С. П. (US), БРОЗЕРТОН Гари (US), РОТРАМ Роберт Дж. (US)
(73) Патентообладатель(и):
ЗМ Инновейтив Пропертиз Компани (US)
|
(54) ПИСТОЛЕТ-РАСПЫЛИТЕЛЬ С ПОДАЮЩИМ ЖИДКОСТЬ ПОД ДАВЛЕНИЕМ СТАКАНОМ, ВКЛЮЧАЮЩИМ ВНУТРЕННЮЮ ОБОЛОЧКУ
(57) Реферат:
Изобретение относится к устройствам для подачи жидкостей, например, при помощи пистолета-распылителя. Устройство имеет впускной канал, резервуар из жесткого материала, гибкий вкладыш, находящийся в полости указанного резервуара, переходной узел и узел подачи воздуха. Переходной узел имеет центральную часть и поперечную часть. Центральная часть выполнена со сквозным отверстием, которое предназначено для подсоединения к впускному каналу. Поперечная часть имеет внешнюю деталь для соединения с указанным гибким вкладышем. Узел подачи воздуха подсоединен к указанному резервуару для подачи сжатого воздуха под низким давлением в промежуток между гибким вкладышем и резервуаром. Узел подачи воздуха подсоединен также к ниппелю отбора воздуха на устройстве для распыления жидкости, сообщающемуся с источником сжатого воздуха. Решение направлено на обеспечение возможности распыления жидкости с большой вязкостью, фильтрования жидкости через фильтровальные материалы, вытеснения из вкладыша большей процентной доли жидкости. 2 н. и 12 з.п. ф-лы, 4 ил.
Область изобретения
Настоящее изобретение относится к устройствам для подачи жидкостей, которые подают распыляемую жидкость (например, краску) в устройства для распыления жидкости, например в краскопульты, и, в частности, к таким устройствам для подачи жидкости, в которых жидкости подаются в устройства для распыления жидкости или в краскопульты из сжимающихся вкладышей.
Предпосылки изобретения
Для подачи распыляемых жидкостей, например красок, в устройства для распыления жидкости, например в краскопульты, используются различные устройства подачи жидкости самотеком, в том числе устройство для подачи жидкостей, оборудованное сжимающимся вкладышем, которое описано в Международной Публикации номер WO 98/32539 (Joseph) от 30 июля 1998 г. Это устройство для подачи жидкости, описанное в публикации WO 98/32539, имеет резервуар из жесткого полимерного материала, имеющий, как правило, цилиндрическую боковую стенку и стенку днища в нижней части боковой стенки, а противоположный верхний конец боковой стенки образует отверстие, ведущее в полость резервуара, в которой находится гибкий вкладыш. Указанный вкладыш соответствует по форме внутренней поверхности резервуара и имеет по верхнему краю боковой стенки кольцевое устье, образующее отверстие, ведущее в полость вкладыша. Это устройство для подачи жидкости далее имеет переходный узел, состоящий из центральной части, имеющей сквозное отверстие, которая предназначена для подсоединения к впускному каналу устройства для распыления подаваемой самотеком жидкости, поперечной части, имеющей внешнюю деталь для соединения с гибким вкладышем вблизи верхнего конца резервуара, и приспособлений для разъемного закрепления гибкого вкладыша вокруг указанной внешней детали переходного узла. Указанный гибкий вкладыш внутри полости резервуара может использоваться для дозирования и (или) смешивания распыляемых жидкостей, а на стенке резервуара имеются отметки, которые позволяют определить объем содержимого резервуара и могут облегчить дозирование жидких компонентов. После заливки жидкости во вкладыш переходной узел соединяется и скрепляется с гибким вкладышем вблизи верхнего конца контейнера и присоединяется к впускному каналу распылителя или краскопульта. Если распылитель эксплуатируется при положении резервуара над распылителем, давление столба жидкости в резервуаре и подсос, создаваемый трубкой Вентури в распылителе, заставляют жидкость поступать в распылитель, после чего вкладыш сжимается и его объем уменьшается до объема жидкости, остающейся во вкладыше. Если распылитель эксплуатируется при положении резервуара под распылителем (что может оказаться необходимым при распылении жидкости на нижнюю сторону конструкции), столб жидкости во вкладыше может создавать отрицательное давление на входе в распылитель. Большинство распылителей способно создавать подсос, достаточный для преодоления этого отрицательного давления и подачи из вкладыша в заполненном резервуаре, вместимость которого составляет примерно 20 унций или 600 миллилитров, и подачи жидкости в количестве, достаточном для получения рабочей струи распыляемой жидкости. Однако в случае резервуаров заметно большей емкости, например около 32 унций или 950 миллилитров, отрицательное давление на входе в распылитель при работе распылителя в положением резервуара под распылителем может оказывать значительное отрицательное воздействие на форму рабочей струи распыляемой жидкости в сравнении с формой рабочей струи при положении резервуара над распылителем.
Другие типы устройств для подачи жидкости самотеком, которые используются для подачи смеси распыляемых жидких компонентов в устройства для распыления жидкостей (например, краски) или краскопульты, включают устройство для подачи жидкости, использованное в краскопультах “SATA” (tm.) NR-95, NR-92 или Jet В, выпускаемых компанией Sata, Farbspritzechnik GmbH & Co., Корнвестхайм, Германия, модифицированное для использования узла HVLP (т.е. большой объем, низкое давление) Pro Upgrade Kit, выпускаемого компанией Lex-Aire Products, Inc., г.Норт Биллерика, шт.Массачусетс, США; устройство для подачи жидкости, использованное в краскопульте “LEX-AIRE” (tm.) 2002 HVLP, выпускаемом компанией Lex-Aire Products, Inc., г.Норт Биллерика, шт.Массачусетс, США; и устройство для подачи жидкости, использованное в распылителе “GRACO” (t.m.) Turbine HVLP 4900 Fine Finish Sprayer, выпускаемом компанией Graco, г.Миннеаполис, шт.Миннесота, США. Эти устройства для подачи жидкости оборудованы резервуаром из жесткого полимерного материала, имеющим, как правило, цилиндрическую боковую стенку и, как правило, коническую стенку днища в нижней части боковой стенки, а противоположный верхний конец боковой стенки образует отверстие, ведущее в полость резервуара. Сквозное отверстие в нижней стенке соединяется с впускным каналом устройства для распыления подаваемой самотеком жидкости с помощью переходника. Распыляемые жидкости заливаются в полость, и верхний конец боковой стенки герметично закрывается крышкой. По мере распыления жидкости в полость подается воздух под низким давлением (например, с давлением в интервале примерно от 0.5 до 8 фунтов на квадратный дюйм или от 3.5 до 55 килопаскалей), поступающий по трубопроводу сжатого воздуха, один конец которого проходит через крышку, а противоположный конец подключен к источнику сжатого воздуха низкого давления, используемого в краскопульте (например, к источнику сжатого воздуха, служащего для формирования распыляемой струи) при распылении жидкости из резервуара. Считается, что это небольшое давление в полости резервуара дает определенные преимущества, включая более высокодисперсное распыление и получение веера капелек шириной 14 дюймов (35.6 см), ускоряющего работу. Однако устройства для подачи жидкости такого типа можно, как правило, использовать только, если верхний конец резервуара находится выше всех остальных деталей распылителя, поскольку если отклонить резервуар достаточно далеко от этого положения, может пропасть столб жидкости, подающий жидкость в распылитель, а жидкость может попасть в трубопровод подачи воздуха, закупорив его, или (и) жидкость может вытекать из него на распылитель, что затруднит работу и осложнит последующую чистку распылителя.
Сущность изобретения
Предметом настоящего изобретения является устройство для подачи жидкости, предназначенное для использования с устройствами для распыления жидкости, например с краскопультами, подобное устройству для подачи жидкости, описанному выше со ссылкой на Международную Публикацию номер WO 98/32539, которое подает жидкость в устройство для распыления жидкости из сжимаемого вкладыша, отличающееся тем, что оно может существенно улучшить работу и (или) эксплуатационную гибкость устройства для распыления жидкости, к которому оно присоединено, особенно если емкость резервуара указанного устройства для подачи жидкости существенно превышает 20 унций или 600 миллилитров.
Настоящее изобретение представляет собой устройство для подачи жидкости, которое подобно устройству для подачи жидкости, описанному выше со ссылкой на Международную Публикацию номер WO 98/32539, имеет (1) резервуар из жесткого полимерного материала, имеющий, как правило, цилиндрическую боковую стенку и стенку днища в нижней части боковой стенки, причем внутренняя поверхность образует полость указанного резервуара, а верхний конец указанной боковой стенки образует отверстие, ведущее в эту полость; (2) гибкий вкладыш, находящийся в полости резервуара, каковой вкладыш имеет внешнюю поверхность, соответствующую по форме внутренней поверхности резервуара, а внутренняя поверхность вкладыша образует полость вкладыша, а кольцевое устье по верхнему краю боковой стенки образует отверстие, ведущее в полость вкладыша; и (3) переходный узел, состоящий из центральной части, имеющей сквозное отверстие, которая предназначена для подсоединения к впускному каналу устройства для распыления подаваемой самотеком жидкости, поперечной части, имеющей внешнюю деталь для соединения с гибким вкладышем вблизи верхнего конца резервуара, и приспособлений для разъемного закрепления гибкого вкладыша вокруг указанной внешней детали переходного узла.
В отличие от устройства для подачи жидкости, описанного в Международной Публикации номер WO 98/32539, устройство для подачи жидкости, являющееся предметом настоящего изобретения, дополнительно имеет подсоединенный к резервуару узел подачи воздуха, предназначенный для подачи сжатого воздуха с давлением, незначительно превышающим атмосферное (например, ниже примерно 10 фунтов на квадратный дюйм или 69 килопаскалей), между внешней поверхностью гибкого вкладыша и внутренней поверхностью резервуара.
Подача между внешней поверхностью гибкого вкладыша и внутренней поверхностью резервуара сжатого воздуха с давлением, незначительно превышающим атмосферное, может дать ряд преимуществ, в частности позволяет устройству для распыления жидкости или краскопульту, к которому подсоединено указанное устройство для подачи жидкости, давать распыляемую струю значительно более стабильной и единообразной формы в сравнении с устройством для распыления жидкости, не имеющим такой подачи сжатого воздуха, особенно если емкости резервуара и вкладыша существенно превышают 20 унций или 600 миллилитров (например, 32 унции или 950 миллилитров), а краскопульт ориентирован в различных положениях, включая положения, при которых устройство для подачи жидкости находится выше и ниже краскопульта.
Очевидно, что указанная подача сжатого воздуха между внешней поверхностью гибкого вкладыша и внутренней поверхностью резервуара в значительной степени компенсирует некоторые эффекты отрицательного давления на входе в распылитель (краскопульт), возникающие из-за того, что столб жидкости во вкладыше находится ниже распылителя, позволяя поддерживать стабильность и единообразие формы распыляемой струи.
Таким образом, распылитель можно эксплуатировать с установленным на нем устройством для подачи жидкости, имеющим максимальную емкость, допускающую для большинства людей легкое ручное манипулирование распылителем (т.е. примерно 32 унции или 950 миллилитров), причем распылитель может эксплуатироваться как с резервуаром, расположенным выше, так и с резервуаром, расположенным ниже распылителя (что может требоваться, например, при распылении жидкости на нижнюю сторону конструкции) без существенного изменения стабильности и единообразия формы распыляемой струи.
Кроме того, независимо от величины вкладыша и резервуара подача сжатого воздуха между внешней поверхностью гибкого вкладыша и внутренней поверхностью резервуара позволяет распылять с помощью обычных распылителей жидкости с более высокой вязкостью, чем можно было бы распылять без использования указанной подачи сжатого воздуха; позволяет фильтровать жидкость, например краску, через фильтровальные материалы с более мелкими порами (например, менее 125 микрон или микрометров), чем можно было бы использовать для той же жидкости через более вязкие жидкости без применения указанной подачи сжатого воздуха из-за увеличения падения давления на фильтре; позволяет вытеснять из вкладыша большую процентную долю жидкости. Все эти преимущества могут достигаться путем подачи воздуха под низким давлением (например, с давлением, как правило, в интервале примерно от 0.5 до 8 фунтов на квадратный дюйм или от 3.5 до 55 килопаскалей) между внешней поверхностью гибкого вкладыша и внутренней поверхностью резервуара.
Подача воздуха с давлением, незначительно превышающим атмосферное, между внешней поверхностью гибкого вкладыша и внутренней поверхностью резервуара может производиться через отдельный редуктор от того же источника сжатого воздуха с регулируемым давлением, который используется для работы распылителя, или от другого источника, или от тех же источников сжатого воздуха с низким давлением на распыляющих устройствах, описанных выше, которые используются для подачи сжатого воздуха в резервуары.
Краткое описание чертежей.
Далее устройство, являющееся предметом настоящего изобретения, будет описываться со ссылками на приложенные чертежи, на которых одинаковые номера на разных видах обозначают одинаковые детали.
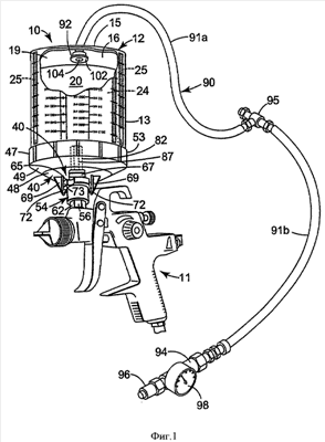
Фиг.1 является перспективным изображением устройства для подачи жидкости, являющегося предметом настоящего изобретения, где часть устройства удалена, чтобы показать детали, а устройство показано подсоединенным к распылителю или краскопульту, приводимому в действие обычным источником сжатого воздуха.
Фиг.2 является покомпонентным перспективным изображением показанного на фиг.1 устройства для подачи жидкости, являющегося предметом настоящего изобретения.
Фиг.3 является перспективным изображением устройства для подачи жидкости, являющегося предметом настоящего изобретения, где часть устройства удалена, чтобы показать детали, а устройство показано подсоединенным к модифицированному варианту распылителя или краскопульта, показанного на фиг.1.
Фиг.4 является перспективным изображением устройства для подачи жидкости, являющегося предметом настоящего изобретения, где часть устройства удалена, чтобы показать детали, а устройство показано подсоединенным к распылителю, приводимому в действие турбиной, который отличается от распылителей, показанных на фиг.1 и 3.
Подробное описание изобретения
Теперь обратимся к фиг.1 и 2, на которых показано устройство для подачи жидкости, являющееся предметом настоящего изобретения и обозначенное цифрой 10. Как показано на фиг.1, данное устройство для подачи жидкости 10 может использоваться для подачи распыляемой жидкости в обычное устройство для распыления жидкости с подачи жидкости самотеком или краскопульт 11, например, в показанный здесь краскопульт 11, который выпускается компанией Sata, Farbspritzechmk GmbH & Co., Корнвестхайм, Германия, под названием “SATA” (t.m.) NR-95″.
Данное устройство для подачи жидкости 10 имеет резервуар 12 из жесткого прозрачного полимерного материала (например, отлитый под давлением из прозрачного полипропилена и имеющий стенки толщиной примерно 0.047 дюйма или 1.2 миллиметра). Резервуар 12 имеет, как правило, цилиндрическую боковую стенку с верхним и нижним концами 14 и 15 и стенку днища 16, закрывающую нижний конец 15 указанной боковой стенки 13. В стенке днища 16 имеется центральное круглое сквозное отверстие 17, вокруг которого находится кольцевой выступ 18. Верхний конец 14 боковой стенки 13 образует отверстие, ведущее в полость резервуара 12, образованную ее внутренней поверхностью.
Указанное устройство для подачи жидкости 10 далее имеет плотный, однако тонкий и гибкий прозрачный непроницаемый для жидкости вкладыш 20 в форме стакана, который помещается в полость резервуара 12 (например, вакуумформованный вкладыш из листового полиэтилена низкой плотности, имеющий боковую стенку толщиной примерно от 0.004 до 0.01 дюйма или от 0.1 до 0.25 миллиметров и нижнюю стенку толщиной примерно 0.001 дюйма или 0.25 миллиметров или толще, сделанный так, чтобы при сжимании боковой стенки стенка днища оставалась, как правило, плоской), каковой вкладыш 20 имеет боковую и нижнюю стенки, образующие внешнюю поверхность, соответствующую по форме внутренней поверхности 19 резервуара 12, внутреннюю поверхность 21, образующую полость вкладыша 20, и кольцевой выступающий радиально наружу выступ или фланец 22 вдоль верхнего края 14 боковой стенки 13, образующий отверстие, ведущее в полость вкладыша 20. Указанные вкладыш 20 и резервуар 12 могут иметь различную емкость, например 600 миллилитров (20.3 унции) или 950 мл (32.1 унция).
Факультативно, как более подробно описано в патентной заявке США 10/118144, поданной 9 апреля 2002 г., часть внутренней поверхности 19 резервуара 12 вдоль боковой стенки 13 может иметь форму усеченного конуса, а устройство для подачи жидкости 10 может также иметь гибкую мерную пластину 24 с напечатанными на ней метками 25, которая может эластично изгибаться и помещаться в резервуар 12 вдоль его боковой стенки 13 так, чтобы соответствовать конической форме стенки. В зависимости от того, как будет установлена мерная пластина 24, метки 25 будут видны через прозрачную боковую стенку 13 резервуара 12 и их можно использовать для определения уровней, до которых в полость 21 гибкого вкладыша 20 (если указанный вкладыш также помещен в резервуар 12) следует заливать различные жидкие компоненты для достижения предварительно заданного соотношения между ними, или метки 25 будут видны при взгляде вниз через отверстие, ведущее в полость вкладыша, образованное верхним концом 14 боковой стенки 13, и их можно использовать для определения уровня жидкости во вкладыше 20, что позволяет определять уровень прозрачной жидкости, поскольку из-за разницы в показателях преломления метки 25 на мерной пластине 24 ниже уровня жидкости во вкладыше 20 будут невидимы, что позволяет определить уровень жидкости.
Устройство для подачи жидкости 10 также имеет первый переходной узел 40, предпочтительно отлитый из полимерного материала (например, из полиэтилена). Указанный первый переходной узел 40 состоит из центральной, как правило, цилиндрической части 44, имеющей сквозное отверстие 46, и поперечной части 48, имеющей внешнюю деталь 50. Эта внешняя деталь 50 поперечной части 49 имеет цилиндрический осевой выступ 51 с приливами по его внешней поверхности, которые плотно контактируют с частью гибкого вкладыша 20, соседствующей с его выступом 22, и имеет радиально выступающий фланец 52, который, когда осевой выступ 51 находится внутри вкладыша 20, а вкладыш 20 находится внутри резервуара 12, располагается вдоль боковины выступа 22 вкладыша 20 напротив верхнего конца 14 резервуара 12.
Устройство для подачи жидкости 10 имеет также крепежное кольцо 53, имеющее центральное отверстие, через которое может проходить центральная часть первого переходного узла 40. Крепежное кольцо имеет, как правило, радиально выступающую внутрь часть 49, форма которой обеспечивает наложение на и контакт с радиально выступающим фланцем 52 вдоль внешней поверхности первого переходного узла 40, и выступающую в осевом направлении часть 47 с прямоугольными нарезами на ее внутренней поверхности. Эти прямоугольные нарезы на крепежном кольце 53 могут свинчиваться с соответствующими нарезами 45 на внешней поверхности резервуара 12 вблизи его верхнего конца 14 и скреплять часть 49 кольца 53 с внешней поверхностью поперечной части 48, тем самым закрепляя выступ 22 вкладыша 20 между резервуаром 12 и первым переходным узлом 40, образуя разъемное соединение первого переходного узла 40 с концом вкладыша 20.
Указанное устройство для подачи жидкости 10 имеет также второй переходной узел 54, который изготавливается предпочтительно из металла (например, из алюминия или нержавеющей стали). Второй переходной узел имеет первую и вторую разнесенные концевые части 56 и 58 и сквозное отверстие 60, проходящее через эти концевые части 56 и 58. Первая концевая часть 56 второго переходного узла 54 имеет по окружности внутреннюю резьбу 61 и шесть плоских фасок 62 под гаечный ключ, что позволяет разъемно соединять его с внешней резьбой впускного канала устройства для распыления жидкости с подачей жидкости самотеком 11. Вместо внутренней резьбы 61 первая концевая часть 56 может альтернативно иметь любую форму, необходимую для надлежащего подсоединения к распылителю, например внутреннюю резьбу (не показана). Первый переходной узел 40 и вторая концевая часть 58 второго переходного узла 54 имеют соединительные детали, необходимые для разъемного непроницаемого для жидкости соединения с соответствующими сквозными отверстиями 46 и 60. Эти соединительные детали включают разнесенные вдоль оси радиально выступающие наружу уплотнительные кольца 63 на внешней поверхности цилиндрической части 44 первого переходного узла 40 и цилиндрическую внутреннюю поверхность второго переходного узла 54, которая образует часть сквозного отверстия 60 во второй концевой части второго переходного узла 54. Эта цилиндрическая часть сквозного отверстия 60 принимает цилиндрическую часть 44 первого переходного узла 40, и в соединенном положении уплотнительные кольца 63 слегка сжимаются, создавая непроницаемый для жидкости контакт с цилиндрической частью сквозного отверстия 60 и с концевой поверхностью буртика 65 вокруг второй концевой части 58 второго переходного узла 54, примыкая к приливу 67 на первом переходном узле 40 вокруг цилиндрической части 44.
Буртик 65 имеет большие цилиндрически вогнутые пазы 68 на противоположных сторонах его периметра, в которые входят дальние концы зацепляющих элементов 69, выступающих из поперечной части 48 первого переходного узла 40 на противоположных сторонах цилиндрической части 44, когда указанная цилиндрическая часть 44 вжимается в осевом направлении в цилиндрическую часть сквозного отверстия 60, причем первый и второй переходные узлы 40 и 54 находятся в первом положении относительно друг друга, в котором указанные зацепляющие элементы 69 совпадают с большими пазами 68 в буртике 65. После этого первый и второй переходные узлы 40 и 54 можно повернуть относительно друг друга во второе взаимное положение, заставляя эластично гибкие выступающие зацепляющие элементы 69 отклоняться наружу цилиндрически выпуклыми выступами кулачков 70, выступающих радиально наружу на соответствующих сторонах больших пазов 68, и перемещаться до тех пор пока выступающие зацепляющие элементы 69 не будут находиться в малых цилиндрически вогнутых пазах 71 буртика 65, в каковом положении противоположные выступающие внутрь фланцы 72 на дальних концах выступающих зацепляющих элементов 69 плотно контактируют с поверхностью 73 буртика 65 вблизи первого конца 56 второго переходного узла 54.
Комбинация 10 может также включать съемный узел фильтра 82 (см. фиг.1) известного серийно выпускаемого типа (например, узел фильтра, выпускаемый компанией Filtertek, г.Хеврон, шт.Иллинойс, США). Указанный узел фильтра 82 имеет корпус из жесткого полимерного материала, состоящий из цилиндрической выпускной части, имеющей цилиндрическую внешнюю поверхность, которая за счет сил трения скрепляется с внутренней поверхностью, образующей сквозное отверстие 46 в центральной части 44, каковая выпускная часть имеет сквозное отверстие. Корпус узла фильтра 82 имеет далее впускную часть, выступающую из внутренней поверхности поперечной части 48 первого переходного узла 40. Впускная часть имеет четыре проходящих в осевом направлении прямоугольных впускных канала 87, разнесенных по ее периметру, которые сообщаются со сквозным отверстием в выпускной части, а также сетчатый фильтр, расположенный поперек внутренних концов указанных впускных каналов 87. В усовершенствованном устройстве для подачи жидкости 10, являющимся предметом настоящего изобретения, указанный сетчатый фильтр, используемый для фильтрования автомобильной краски, может иметь поры размером менее 125 микрон, благодаря увеличенному перепаду давления, создаваемому устройством 10 на фильтрующем узле 82. Использование сетчатого фильтра со столь малым размером пор может привести к необходимости иметь фильтрующий узел с сетчатым фильтром увеличенной площади из-за большего количества частиц, которые будут отфильтровываться из жидкости, поступающей из устройства для подачи жидкости 10.
Комбинация резервуара 12, вкладыша 20, мерной пластины 24, первого переходного узла 40, крепящего кольца 53, второго переходного узла 54 и фильтрующего узла 82, описанных выше, в настоящее время серийно выпускается компанией 3М Company, г.Сент-Пол, шт.Миннесота, США под торговым названием 3М (t.m.) Paint Preparation System (система для подготовки краски).
Усовершенствованное устройство для подачи жидкости 10, являющееся предметом настоящего изобретения, далее имеет подсоединенный к резервуару 12 узел подачи сжатого воздуха 90 для подачи сжатого воздуха с предварительно заданным давлением между внешней поверхностью вкладыша 20 и внутренней поверхностью 19 резервуара 12. Указанный узел подачи сжатого воздуха 90 имеет первый отрезок гибкого трубопровода 91а, один конец которого подсоединен к впускному концу соединителя 92 для ввода воздуха, имеющего первую деталь 93, герметично прикрепленную к стенке днища 16 и проходящую через отверстие 17 в стенке днища 16, причем указанный соединитель 92 имеет выпускное отверстие, ведущее в полость резервуара 12. Противоположный конец первого трубопровода сжатого воздуха 91 подключается через регулируемый клапан сброса давления 95 (фиг.1) к концу второго отрезка 91b гибкого трубопровода, противоположный конец которого подключен к выходу обычного редуктора 94, с помощью которого давление воздуха, поступающего от источника сжатого воздуха высокого давления, подсоединенного к входу 96 редуктора 94, можно понизить до требуемой величины, показываемой имеющимся на редукторе 94 манометром 98. Указанный источник сжатого воздуха высокого давления может быть подсоединен с помощью отдельного трубопровода или, предпочтительно, является тем же источником сжатого воздуха, используемого для работы распылителя 11, который подсоединен к распылителю через нижний конец рукоятки распылителя 11, при этом редуктор 94 подсоединяется и крепится к нижнему концу рукоятки распылителя 11.
Первая деталь 93 соединителя подачи сжатого воздуха 92 имеет резьбу по периметру и герметично соединяется со стенкой днища 16 резервуара 12 с помощью большой круглой резиновой прокладки 100 (например, толщиной 0.12 дюйма или 0.3 см), проходящей вокруг указанного периметра и вдоль внешней поверхности стенки днища 16, двух больших стальных шайб 102, одна из которых находится на внутренней поверхности стенки днища 16, а другая – на стороне прокладки, противоположной стенке днища 16, и двух гаек 104, навинчивающихся на резьбу детали 93, которые затягиваются, прижимая шайбы 102 друг к другу, тем самым герметично прижимая прокладку 100 к выступу 18 на стенке днища 16 и к детали 93. Соединитель подвода воздуха 92 имеет также вторую деталь 106, имеющую кольцевую прокладку вокруг цилиндрической части 108 ее периметра, которая может помещаться в канале первой детали 93 с получением воздухонепроницаемого соединения, и может разъемно фиксироваться в нем с помощью защелки 97, аналогичной защелке 78, описанной в патенте США 4928859 (Krahn и др.). Указанная защелка 97 имеет пластину 99, которая надвигается в поперечном направлении на первую деталь 93. Пластина 99 имеет отверстие, которое в расцепленном положении пластины 99 позволяет цилиндрической части 108 входить в или извлекаться из канала в первой детали 93. В защелкнутом положении пластины 99 (в которое пластина 99 смещается с помощью пружины 101) пластина 88 входит в канавку вокруг цилиндрической части 108 и фиксирует ее в канале первой детали 93. Удерживающее приспособление в защелке, описанной в патенте США 4928859, удерживает пластину 99 в ее расцепленном положении, в котором отверстие в пластине сопрягается с каналом в первой детали 93, когда цилиндрическая часть 108 не находится в этом канале. Когда цилиндрическая часть 108 вставляется в канал, указанное удерживающее приспособление расцепляется и пластина 99 смещается в ее защелкнутое положение под действием пружины 101. Пластина 99 может быть впоследствии возвращена в ее расцепленное положение путем нажатия на выступ 103 на одной стороне пластины 99. Таким образом, вторая деталь 106 соединителя подачи воздуха 92 может либо входить в зацепление с его первой деталью 93, что достигается путем вставки цилиндрической части 108 в канал, или может расцепляться, что достигается путем нажатия на выступ 103, причем любая из этих операций может производиться только одной рукой. Рифленый шланговый конец 110 указанной второй детали 106, противоположный ее цилиндрической части 108, находится в герметичном контакте с внутренней поверхностью первого отрезка трубопровода подачи сжатого воздуха 91а. Указанный соединитель подачи воздуха 92 серийно выпускается компанией Colder Products Co., г.Сент-Пол, шт.Миннесота, США.
Предметом настоящего изобретения является также способ распыления жидкостей с помощью устройства для распыления жидкостей с подачей жидкости самотеком 11, включающий (если используется мерная пластина 24) надлежащую установку мерной пластины 24 вдоль внутренней поверхности боковой стенки 13 резервуара 12, последовательную заливку в полость вкладыша 20 одной или нескольких жидкостей до уровней, указываемых метками на мерной пластине 24, и (если необходимо) смешивание этих жидкостей во вкладыше 20. Затем цилиндрический осевой выступ 51 первого переходного узла 40 вставляется в часть гибкого вкладыша 20, соседствующую с его выступом 22, так, чтобы радиально выступающий фланец 52 примыкал к стороне выступа 22 вкладыша 20, противолежащей верхнему концу 14 резервуара 12. Затем внутренняя резьба на выступающей в осевом направлении части 47 кольца 53 свинчивается с резьбой 45 по периметру резервуара 12 так, чтобы часть 49 кольца 53 плотно прижималась к поперечной части 48 первого переходного узла 40 для закрепления выступа 22 вкладыша 20 между резервуаром 12 и первым переходным узлом 40, тем самым скрепляя первый переходной узел 40 с концом вкладыша 20.
Разъемно соединяемые части первого и второго переходных узлов 40 и 54 соединяются как описано выше, затем соединяются между собой первая и вторая детали 93 и 106 соединителя подачи воздуха 92 (это делается на перевернутом распылителе 11). Между внешней поверхностью гибкого вкладыша 20 и внутренней поверхностью 19 резервуара 12 через редуктор 94, гибкие трубопроводы 91а и 91b и соединитель подачи воздуха 92 подается сжатый воздух с давлением от примерно 0.5 до примерно 5 фунтов на квадратный дюйм или от 3.5 до 35 килопаскалей (например, с давлением 2 фунта на квадратный дюйм или 14 килопаскалей). Затем распылитель 11 приводится в действие в перевернутом положении, чтобы весь воздух из гибкого вкладыша 20 вышел через распылитель 11, после чего жидкость из вкладыша 20 начнет поступать в распылитель 11 через фильтрующий узел 82 и отверстия 46 и 60 в первом и втором переходных узлах 40 и 54 и по мере распыления жидкости вкладыш 20 будет сжиматься. Использование гибкого вкладыша 20 и подача сжатого воздуха между внешней поверхностью указанного гибкого вкладыша 20 и внутренней поверхностью 19 резервуара 12 позволяет ориентировать распылитель 11 в любое положение с резервуаром 12, находящимся выше или ниже распылителя 11 (что может требоваться, например, для распыления жидкости на заглубленные верхние поверхности конструкции) даже, если вкладыш 20 и резервуар 12 имеют емкость в, по меньшей мере, 950 миллилитров или 32.1 унции и заполнены жидкостью, и получать продолжительную, рациональную, как правило, стабильную и единообразную форму распыляемой струи без возникновения каких-либо эксплуатационных проблем.
После распыления требуемого количества жидкости детали первого и второго переходных узлов 40 и 56 и первой и второй деталей 93 и 106 соединителя подачи воздуха 92 разъединяются. Первый переходной узел 40 и сжатый гибкий вкладыш 20 (т.е. боковая стенка вкладыша 20 сжимается в осевом направлении, а его торцевая стенка сохраняет, в основном, круглую форму) с оставшейся в сжатом вкладыше 20 жидкостью можно извлечь из резервуара 12 и выбросить (утилизировать), а в чистке будут нуждаться только второй переходной узел 54 и сам распылитель 11.
На фиг.3 показано использование устройства для подачи жидкости 10, являющегося предметом настоящего изобретения, для подачи распыляемой жидкости в устройство для распыления подаваемой самотеком жидкости или краскопульт 111, имеющий 1/8-дюймовый ниппель отбора сжатого воздуха, подсоединенный к и выступающий из обычно верхней стороны одной из двух воздушных горловин 116, находящихся по бокам выходного сопла распылителя 111. Через указанный ниппель 114 поступает, в сущности, тот же сжатый воздух, что и воздух, подаваемый через выходные отверстия в воздушных горловинах 116 для формирования выходящей из сопла распыленной струи (например, для придания распыленной струе овальной, круглой или веерообразной формы). Примером такого распылителя 111с указанным выходным ниппелем 114 является распылитель, серийно выпускаемый компанией Sata, Farbspritzechnik GmbH & Co., Корнвестхайм, Германия, под торговым названием “SATA” (t.m.) NR-95″, который был модифицирован для использования комплекта “HVLP Pro Upgrade”, серийно выпускаемого компанией Lex-Aire Products, Inc., г.Норт Биллерика, шт.Массачусетс, США. Устройство для подачи жидкости 10, использованное на распылителе 111, имеет те же детали, обозначенные теми же цифрами, указанными выше со ссылкой на фиг.1 и 2, за исключением того, что первый отрезок гибкого трубопровода 91а узла подачи воздуха 90 подсоединен к и отбирает сжатый воздух от распылителя 111 через выходной ниппель 114, а не через клапан сброса давления 95, трубопровод 91b и редуктор 94, показанные на фиг.1. Сжатый воздух поступает только через ниппель 114 и подается между внешней поверхностью указанного гибкого вкладыша 20 и внутренней поверхностью 19 резервуара 12, когда оператор включает распылитель 111, вручную нажимая курок 112 распылителя 111. Когда курок 112 отпускается, давление воздуха между внешней поверхностью указанного гибкого вкладыша 20 и внутренней поверхностью 19 резервуара 12 сбрасывается до атмосферного через распылитель 111. Таким образом, если распылитель 111 включается только путем периодического нажатия курка 112 (как это обычно и бывает), сжатый воздух с давлением, превышающим атмосферное, периодически подается между внешней поверхностью указанного гибкого вкладыша 20 и внутренней поверхностью 19 резервуара 12 при нажатии на курок 112, и сбрасывается, когда курок 112 отпускается. Сжатый воздух, поступающий через ниппель 114 при нажатии на курок 112, имеет давление в интервале примерно от 0.5 до 8 фунтов на квадратный дюйм или от 3.5 до 55 килопаскалей для различных условий эксплуатации распылителя 111, когда давление в трубопроводе, подсоединенном к распылителю 11 превышает 45 фунтов на квадратный дюйм или 310 килопаскалей. Было установлено, что описанная подача сжатого воздуха между внешней поверхностью указанного гибкого вкладыша 20 и внутренней поверхностью 19 резервуара 12 существенно улучшает протекание жидкости через распылитель 111 и позволяет использовать распылитель 111 в любом положении, в том числе в перевернутом, даже если вкладыш 20 и резервуар 12 имеют емкость в, по меньшей мере, 950 миллилитров или 32.1 унции и заполнены жидкостью, и получать продолжительную, рациональную, как правило, стабильную и единообразную форму распыляемой струи, которая представляется не сильно худшей или отличающейся от формы струи, создаваемой распылителем 111 при его использовании в нормальном вертикальном положении.
На фиг.4 показано использование устройства для подачи жидкости 10, являющегося предметом настоящего изобретения, для подачи распыляемой жидкости в устройство для распыления подаваемой самотеком жидкости или краскопульт 121, оборудованное системой “GRACO” (t.m.) HVLP 4900 Fine Finish Sprayer, выпускаемой компанией Graco, г.Миннеаполис, шт.Миннесота, США, которая производит сжатый воздух для работы распылителя 121 с помощью портативной турбины (не показана). 1/8-дюймовый ниппель отбора сжатого воздуха 124 выступает из корпуса распылителя 121 и производит подачу сжатого воздуха тогда и только тогда, когда оператор включает распылитель 121, вручную нажимая курок 122 распылителя 121. Через указанный ниппель 124 поступает, в сущности, тот же сжатый воздух, что и воздух, подаваемый через выходные отверстия в воздушных горловинах 126 на распылителе 121 для формирования выходящей из расположенного между горловинами 126 сопла распыленной струи. Устройство для подачи жидкости 10, использованное на распылителе 121, имеет те же детали, обозначенные теми же цифрами, указанными выше со ссылкой на фиг.1 и 2, за исключением того, что первый отрезок гибкого трубопровода 91а узла подачи воздуха 90 подсоединен к и отбирает сжатый воздух от распылителя 121 через выходной ниппель 124, а не через клапан сброса давления 95, трубопровод 91b и редуктор 94, показанные на фиг.1. Устройство для подачи жидкости 10 показано на фиг.4 без мерной пластины 24. Сжатый воздух поступает только через ниппель 124 и подается между внешней поверхностью указанного гибкого вкладыша 20 и внутренней поверхностью 19 резервуара 12, когда оператор включает распылитель 121, вручную нажимая курок 122 распылителя 121. Когда курок 122 отпускается, давление воздуха между внешней поверхностью указанного гибкого вкладыша 20 и внутренней поверхностью 19 резервуара 12 сбрасывается до атмосферного через распылитель 121. Таким образом, если распылитель 121 включается только путем периодического нажатия курка 122 (как это обычно и бывает), сжатый воздух с давлением, превышающим атмосферное, периодически подается между внешней поверхностью указанного гибкого вкладыша 20 и внутренней поверхностью 19 резервуара 12 при нажатии на курок 122, и сбрасывается, когда курок 122 отпускается. Сжатый воздух, поступающий через ниппель 114 при нажатии на курок 121, имеет давление в интервале примерно от 0.5 до 8 фунтов на квадратный дюйм или от 3.5 до 55 килопаскалей для различных условий эксплуатации распылителя 121 (т.е. в интервале примерно от 0.5 до 5 фунтов на квадратный дюйм или от 3.5 до 35 килопаскалей, когда распылитель работает на первой скорости, обычно используемой для нанесения пигментной фазы автомобильных красок, в интервале примерно от 0.5 до 8 фунтов на квадратный дюйм или от 3.5 до 55 килопаскалей, когда распылитель работает на второй более высокой скорости, которая используется для нанесения более вязких грунтовок и некоторых более вязких прозрачных лаков при покраске автомобилей). Было установлено, что описанная подача сжатого воздуха между внешней поверхностью указанного гибкого вкладыша 20 и внутренней поверхностью 19 резервуара 12 существенно улучшает протекание жидкости через распылитель 121 и позволяет использовать распылитель 121 в любом положении, в том числе в перевернутом, или в нормальном положении с буртиком 128, с которым соединен второй переходной узел 54, повернутым на 180° относительно показанного на чертеже положения так, что устройство для подачи жидкости 10 висит под буртиком, даже если вкладыш 20 и резервуар 12 имеют емкость в, по меньшей мере, 950 миллилитров или 32.1 унции и заполнены жидкостью, и получать продолжительную, рациональную, как правило, стабильную и единообразную форму распыляемой струи, которая представляется не сильно худшей или отличающейся от формы струи, создаваемой распылителем 121 при его использовании в нормальном вертикальном положении расположении устройства для подачи жидкости 10 над распылителем 121.
Кроме того, мы модифицировали распылитель “GRACO” (t.m.) Delta HVLP 239-57X, серийно выпускаемый компанией Graco, г.Миннеаполис, шт.Миннесота, США, путем установки 1/8-дюймового ниппеля отбора сжатого воздуха через обычно подсоединенный к и выступающий из обычно верхнюю стенку одной из двух воздушных горловин, находящихся по бокам выходного сопла распылителя, в положении, показанном для ниппеля 114 на распылителе 111 на фиг.3. Через указанный ниппель поступает, в сущности, тот же сжатый воздух, что и воздух, подаваемый через выходные отверстия в воздушных горловинах для формирования выходящей из сопла распыленной струи. Устройство для подачи жидкости 10 описанного выше типа было подсоединено к этому распылителю через узел подвода воздуха 90, подсоединенному к и отбирающему сжатый воздух с распылителя через указанный ниппель. Сжатый воздух, поступающий через ниппель, имеет давление в интервале примерно от 0.5 до 8 фунтов на квадратный дюйм или от 3,5 до 55 килопаскалей для различных условий эксплуатации распылителя, когда давление в трубопроводе, подсоединенном к распылителю, превышает 45 фунтов на квадратный дюйм или 310 килопаскалей. Было установлено, что описанная подача сжатого воздуха между внешней поверхностью указанного гибкого вкладыша 20 и внутренней поверхностью 19 резервуара 12 существенно улучшает протекание жидкости через распылитель и позволяет использовать распылитель в любом положении, в том числе в перевернутом, и получать продолжительную, рациональную, как правило, стабильную и единообразную форму распыляемой струи, которая представляется не сильно худшей или отличающейся от формы струи, создаваемой распылителем при его использовании в нормальном вертикальном положении.
Теперь настоящее изобретение описано полностью и приведены ссылки на несколько вариантов его реализации и применения. Для компетентных в этой области специалистов очевидно, что не выходя за пределы правовой охраны настоящего изобретения можно произвести множество изменений в вариантах реализации и применения настоящего изобретения. Поэтому объем правовой охраны настоящего изобретения не должен ограничиваться конструкциями, применениями и способами, описанными в настоящей заявке, а распространяется на конструкции, применения и способы, описанные в патентных притязаниях и их эквивалентах.
Формула изобретения
1. Устройство для подачи жидкости для использования с устройствами для распыления жидкости, поступающей самотеком, имеющее впускной канал, включающее резервуар из жесткого материала, имеющий боковую стенку, которая имеет верхний и нижний концы, и нижнюю стенку, проходящую по нижнему концу указанной боковой стенки, причем указанный резервуар имеет внутреннюю поверхность, образующую полость в указанном резервуаре, а указанный верхний конец указанной боковой стенки образует отверстие, ведущее в указанную полость, гибкий вкладыш, находящийся в полости указанного резервуара, каковой вкладыш имеет внешнюю поверхность, соответствующую по форме внутренней поверхности указанного резервуара, а внутренняя поверхность указанного вкладыша образует полость указанного вкладыша, а кольцевое устье по верхнему краю боковой стенки образует отверстие, ведущее в полость указанного вкладыша, переходный узел, состоящий из центральной части, имеющей сквозное отверстие, которая предназначена для подсоединения к впускному каналу устройства для распыления жидкости, поперечной части, имеющей внешнюю деталь для соединения с указанным гибким вкладышем вблизи указанного верхнего конца указанного резервуара, и приспособлений для разъемного закрепления гибкого вкладыша вокруг указанной внешней детали переходного узла, при этом в обычном положении резервуар, гибкий вкладыш располагаются над устройством для распыления жидкости, узел подачи воздуха, подсоединенный к указанному резервуару для подачи сжатого воздуха под низким давлением в промежуток между внешней поверхностью указанного гибкого вкладыша и внутренней поверхностью указанного резервуара, приспособленный для подсоединения к ниппелю отбора воздуха на устройстве для распыления жидкости, сообщающемуся с источником сжатого воздуха, используемого для формирования струи распыленной жидкости, выходящей из сопла распылителя.
2. Устройство по п.1, отличающееся тем, что указанный узел подачи воздуха имеет приспособление для подачи сжатого воздуха с давлением менее 10 фунтов на квадратный дюйм, или 60 кПа, в промежуток между внешней поверхностью указанного гибкого вкладыша и внутренней поверхностью указанного резервуара.
3. Устройство по п.1, отличающееся тем, что указанный узел подачи воздуха имеет приспособление для подачи сжатого воздуха с давлением примерно от 0,5 до 8 фунтов на квадратный дюйм, или от 3,5 до 55 кПа, в промежуток между внешней поверхностью указанного гибкого вкладыша и внутренней поверхностью указанного резервуара.
4. Устройство по п.1, отличающееся тем, что указанный узел подачи воздуха дополнительно оборудован фильтром с порами размером менее 125 мкм, установленным поперек сквозных отверстий в указанном переходном узле.
5. Устройство по п.1, отличающееся тем, что указанный узел подачи воздуха имеет соединитель для ввода воздуха, имеющий первую деталь, прикрепленную к стенке днища указанного резервуара и имеющую отверстие, ведущее в полость указанного резервуара, и вторую деталь, предназначенную для соединения с указанной первой деталью, приспособление для разъемного скрепления указанных первой и второй деталей и трубопровод подачи воздуха, один конец которого подсоединяется к указанной второй детали, а противоположный, второй, конец предназначен для подсоединения к источнику сжатого воздуха.
6. Устройство по п.1, отличающееся тем, что указанный узел подачи воздуха имеет редуктор, предназначенный для подсоединения к источнику сжатого воздуха.
7. Устройство по п.1, отличающееся тем, что полость в указанном вкладыше имеет емкость в, по меньшей мере, 950 мл, или 32.1 унции.
8. Способ осуществления подачи жидкости в устройство для распыления жидкости, поступающей самотеком, и имеющее впускной канал, включающий: подготовку резервуара из жесткого материала, имеющего боковую стенку, которая имеет верхний и нижний концы, и нижнюю стенку, проходящую по нижнему концу указанной боковой стенки, причем указанный резервуар имеет внутреннюю поверхность, образующую полость в указанном резервуаре, а указанный верхний конец указанной боковой стенки образует отверстие, ведущее в указанную полость, подготовку гибкого вкладыша, имеющего внешнюю поверхность, соответствующую по форме внутренней поверхности указанного резервуара, внутреннюю поверхность, образующую полость в указанном вкладыше, и кольцевое устье, предназначенное для помещения по верхнему краю боковой стенки указанного резервуара, когда внешняя поверхность указанного вкладыша прилегает к внутренней поверхности указанного резервуара, причем указанное кольцевое устье образует отверстие, ведущее в полость указанного вкладыша, установку указанного вкладыша в полость указанного резервуара, налив жидкости в полость указанного вкладыша, подготовку переходного узла, состоящего из центральной части, имеющей сквозное отверстие, которая предназначена для подсоединения к впускному каналу устройства для распыления жидкости, поперечной части, имеющей внешнюю деталь для соединения с гибким вкладышем вблизи верхнего конца резервуара, и приспособлений для разъемного закрепления гибкого вкладыша вокруг указанной внешней детали переходного узла, при этом в обычном положении резервуар и гибкий вкладыш располагаются над устройством для распыления жидкости, подсоединения указанного переходного узла в впускному каналу устройства для распыления жидкости, соединения внешней детали переходного узла с гибким вкладышем вблизи верхнего конца резервуара, закрепления гибкого вкладыша вокруг внешней детали переходного узла и подачи сжатого воздуха под низким давлением в промежуток между внешней поверхностью указанного гибкого вкладыша и внутренней поверхностью указанного резервуара.
9. Способ осуществления подачи жидкости в устройство для распыления жидкости по п.8, отличающийся тем, что на указанном этапе подачи сжатого воздуха указанный сжатый воздух подается под давлением менее чем примерно 10 фунтов на квадратный дюйм, или 60 кПа.
10. Способ осуществления подачи жидкости в устройство для распыления жидкости по п.8, отличающийся тем, что на указанном этапе подачи сжатого воздуха указанный сжатый воздух имеет давление примерно от 0,5 до 8 фунтов на квадратный дюйм, или от 3,5 до 55 кПа.
11. Способ осуществления подачи жидкости в устройство для распыления жидкости по п.8, отличающийся тем, что на указанном этапе подачи сжатого воздуха указанный сжатый воздух подается через редуктор.
12. Способ осуществления подачи жидкости в устройство для распыления жидкости по п.8, отличающийся тем, что на указанном этапе подачи сжатого воздуха указанный сжатый воздух подается от источника сжатого воздуха на указанном распылителе, используемого для формирования струи распыленной жидкости, выходящей из сопла распылителя, причем указанный сжатый воздух подается только тогда, когда указанный распылитель производит распыление жидкости.
13. Способ осуществления подачи жидкости в устройство для распыления жидкости по п.8, дополнительно включающий этап фильтрования жидкости через фильтр с размером пор менее примерно 125 мкм.
14. Способ осуществления подачи жидкости в устройство для распыления жидкости по п.8, отличающийся тем, что указанный вкладыш имеет емкость, по меньшей мере, 950 мл, или 32,1 унции.
РИСУНКИ
|
|