|
|
(21), (22) Заявка: 2007132062/12, 24.01.2006
(24) Дата начала отсчета срока действия патента:
24.01.2006
(30) Конвенционный приоритет:
24.01.2005 EP 05100430.7
(43) Дата публикации заявки: 27.02.2009
(46) Опубликовано: 20.03.2010
(56) Список документов, цитированных в отчете о поиске:
WO 03073896 A1, 12.09.2003. WO 03082065 A1, 09.10.2003. RU 2003112684 A1, 20.10.2004.
(85) Дата перевода заявки PCT на национальную фазу:
24.08.2007
(86) Заявка PCT:
EP 2006/050399 20060124
(87) Публикация PCT:
WO 2006/077259 20060727
Адрес для переписки:
103735, Москва, ул. Ильинка, 5/2, ООО “Союзпатент”, пат.пов. И.С.Саломатиной
|
(72) Автор(ы):
ШТАЛЬДЕР Роланд (CH), МАНДРАЛИС Зенон Иоаннис (CH)
(73) Патентообладатель(и):
НЕСТЕК С.А. (CH)
|
(54) СПОСОБ ИЗГОТОВЛЕНИЯ ПИТАТЕЛЬНОЙ КОМПОЗИЦИИ
(57) Реферат:
Способ приготовления одноразовой порции питательной композиции, предусматривающий введение воды в рассчитанную на одну порцию капсулу, содержащую единичную дозу композиции в концентрированном виде, для восстановления концентрированной композиции и приведение в действие средств открывания, размещенных внутри капсулы, для обеспечения вытекания полученной жидкости прямо из капсулы в приемную емкость. Способ позволяет приготовить индивидуальные порции питательных композиций, таких как смеси для грудных детей, при значительном уменьшении или даже исключении риска перекрестного заражения от ранее приготовленных порций. 2 н. и 12 з.п. ф-лы, 2 ил.
Настоящее изобретение относится к способу приготовления одноразовой порции готовой к употреблению питательной композиции, такой как смесь для грудных детей.
Материнское молоко рекомендуется всем грудным детям. Однако в некоторых случаях грудное вскармливание является неадекватным или безуспешным, либо не рекомендуется по медицинским показаниям, либо сама мать отказывается от кормления грудью. Для таких ситуаций разработаны смеси для грудных детей.
Как правило, смеси для грудных детей выпускаются в сухом (порошкообразном) виде, концентрированном жидком виде или в готовом к употреблению виде. Сухие смеси для грудных детей наиболее популярны, в первую очередь, из-за их стоимости и питательной ценности. Ключевым недостатком сухих смесей для грудных детей является неудобство приготовления. Сухую смесь необходимо ложкой внести в стерилизованную емкость для питья, затем налить в емкость для питья предварительно прокипяченную и охлажденную воду для восстановления смеси, после чего емкость для питья укупоривают и встряхивают для ускорения растворения порошка. Во избежание роста бактерий смесь необходимо потребить сразу после восстановления.
Будучи приготовленными и потребленными так, как указано выше, сухие смеси для грудных детей обеспечивают безопасный и хороший в питательном отношении заменитель материнского молока в описанных выше ситуациях. Однако, в первую очередь, из-за неудобства их приготовления многие родители или лица по уходу за детьми готовят смеси не надлежащим образом и, следовательно, подвергают грудного ребенка риску инфекции или другому риску. Например, они могут не прокипятить воду перед ее использованием, и в этом случае присутствующие в воде патогенные организмы попадают при кормлении в организм ребенка. Обычно источники воды в развитых странах являются безопасными, но так может быть не везде. Альтернативно можно приготовить партии смеси для грудных детей, а затем хранить их до того времени, пока они не понадобятся. К сожалению, если смесь заражена какими-либо патогенными организмами, то у них появится время для размножения.
В больницах и других учреждениях по уходу за грудными детьми, в которых последние не могут получать индивидуального внимания, решение практических вопросов, связанных с приготовлением смеси для большого числа грудных детей, вкупе с проблемами, связанными с риском роста патогенных организмов в восстановленной смеси, не используемой в течение нескольких часов, привело к решительным мерам. Например, некоторые больницы отказываются от применения сухих продуктов, настаивая на использовании индивидуальных бутылочек со стерилизованной, готовой к употреблению смесью. Другие больницы готовят сразу все количество смеси, требуемое на данный период времени, который может составлять 48 часов, а затем либо стерилизуют приготовленную смесь в автоклаве, либо хранят ее в холодильнике. Ни одно из этих решений не является идеальным с питательной точки зрения. Интенсивная тепловая обработка, необходимая для обеспечения стерильности, может приводить как к нежелательным реакциям между белковыми и углеводными компонентами смеси, так и к распаду более чувствительных компонентов, таких как витамины и пробиотики. Кроме того, производство и реализация индивидуальных бутылочек со стерилизованной жидкой смесью требуют намного больше затрат на упаковку, а также приводят к повышенным транспортным расходам.
Альтернативным путем решения проблемы является добавление специфического противомикробного агента, как описано в WO 96/25054. Однако регулярного потребления грудными детьми противомикробных агентов следует избегать, поскольку они потенциально вредят печени и, вдобавок к этому, противомикробные агенты часто дают нежелательные побочные эффекты.
Безопасным с питательной точки зрения и эффективным путем ингибирования роста бактерий в восстановленной смеси для грудных детей является подкисление. Различные сухие смеси для грудных детей, которые имеют относительно низкий рН при изготовлении, реализуются на рынке под торговыми марками, например, Pelargon®, Bionan® и Bioguigoz®. Однако способ, которым достигается подкисление, является трудоемким и дорогостоящим: основные ингредиенты смеси для грудных детей подвергают ферментации молочнокислыми бактериями до достижения требуемого рН, после чего ферментацию прерывают, жидкость пастеризуют и перерабатывают в порошок. Ферментацию следует тщательно контролировать, поскольку она сама по себе может обеспечить возможности для роста патогенных бактерий, а также бактериофагов, которые могут вмешиваться в процесс ферментации. Кроме того, рН таких смесей невозможно регулировать с достаточной точностью или надежно стандартизировать до определенного значения. Вдобавок вкус таких продуктов не может быть полностью удовлетворительным.
Смеси для грудных детей в концентрированном жидком виде страдают, в основном, теми же недостатками, что и сухие смеси для грудных детей. То есть они не обеспечивают лучшего решения. Смеси для грудных детей в готовом к употреблению виде теоретически должны обеспечить решение проблемы неудобства приготовления. Однако они обладают собственными недостатками, в частности стоимость их намного выше и они занимают большой объем. Кроме того, зачастую необходимо обеспечить их в виде порций, рассчитанных на отдельные кормления. Однако в случае открывания для первого кормления риск обсеменения сохраняется.
Аналогичные проблемы возникают и с другими питательными композициями для детей, такими как молочные смеси для прикорма и каши для грудных детей, а также с питательными композициями для взрослых, такими как композиции, используемые при уходе за больными в благоприятных для здоровья условиях.
Таким образом, существует необходимость обеспечения жидких питательных композиций удобным и безопасным способом.
В соответствии с этим настоящее изобретение обеспечивает способ приготовления одноразовой порции питательной композиции, предусматривающий введение воды в герметично запечатанную, рассчитанную на одну порцию капсулу, содержащую единичную дозу композиции в концентрированном виде, для восстановления концентрированной композиции и приведение в действие средств для открывания, содержащихся внутри капсулы, с тем, чтобы обеспечить вытекание полученной жидкости прямо из капсулы в приемную емкость.
Изобретение распространяется также на способ безопасного и удобного приготовления жидкой питательной композиции, предусматривающий вкладывание герметично запечатанной, рассчитанной на одну порцию капсулы, содержащей единичную дозу композиции в концентрированном виде, в раздаточное устройство, которое содержит источник воды, причем капсула имеет выпускное отверстие, которое открывается в ответ на давление внутри капсулы; размещение емкости для питья под выпускным отверстием капсулы и включение раздаточного устройства для открывания герметично запечатанной капсулы и введения воды в капсулу для смешивания с концентратом и получения жидкой питательной композиции, при этом вода вводится под давлением, достаточным для открывания выпускного отверстия капсулы, с тем, чтобы питательная композиция вытекала прямо из выпускного отверстия капсулы в емкость для питья, не контактируя с раздаточным устройством.
Питательная композиция может быть любой композицией, природа которой делает ее чувствительной к обсеменению патогенными организмами, особенно в тех случаях, когда предполагаемый потребитель композиции может иметь ослабленную или неразвитую иммунную систему. Примерами предпочтительных питательных композиций для применения в способе настоящего изобретения являются молочные смеси для грудных детей, молочные продукты для прикорма и жидкие каши для грудных детей. Ингредиенты композиции не являются критическими для способа настоящего изобретения, поэтому можно использовать любой сухой или жидкий концентрат. Примеры различных видов смесей для грудных детей, которые могут использоваться в способе настоящего изобретения, включают смеси с преобладанием белков молочной сыворотки; смеси, содержащие комбинации белков молочной сыворотки с казеином; смеси на основе других белков, таких как соевый белок; смеси, в которых белковый компонент является частично или полностью гидролизованным, и др.
Питательная композиция предпочтительно присутствует в капсуле в виде порошка, но альтернативно она может быть в виде концентрированной жидкости.
Применение свежеизготовленной капсулы для приготовления каждой отдельной порции композиции вкупе с такими отличительными признаками, как оснащение капсулы средствами для ее открывания, размещенными внутри капсулы, и вытекание жидкости прямо из капсулы в приемную емкость, например в детскую бутылочку, существенно облегчают безопасное приготовление одноразовых порций композиции, позволяя, например, готовить индивидуальные порции готовой к употреблению жидкой смеси для грудных детей при значительном снижении или даже полном исключении риска заражения от ранее приготовленных порций или из окружающей среды.
Уровень мер предосторожности, принятых в целях контроля указанного риска, зависит от природы приготовляемой композиции и ее предполагаемого потребителя. Например, если способ должен применяться в больничных учреждениях для грудных детей, где требуется готовить молочные смеси не только для здоровых грудных детей, но и для грудных детей со специфическими патологиями, такими как сильная аллергия на коровье молоко, то важно следить за тем, чтобы в смеси, приготовляемые для грудных детей, страдающих аллергией (в качестве основы для таких смесей в типичных случаях используются либо подвергнутые глубокому гидролизу белки коровьего молока, либо свободные аминокислоты), не попали нативные белки коровьего молока из смесей для здоровых грудных детей.
В таких обстоятельствах нужна гарантия того, что средства, с помощью которых вода вводится в капсулу, не контактируют с содержимым капсулы. Например, капсула может быть снабжена размещенным снаружи колющим элементом, способным проколоть капсулу и обеспечить условия для введения воды в капсулу. Равным образом, капсула может быть снабжена выпускным отверстием, через которое жидкость может вытекать из капсулы, не контактируя с возможными загрязнителями на соседней поверхности.
В других случаях применения столь строгие меры предосторожности в дополнение к обязательному требованию, чтобы восстановленная жидкость вытекала прямо из капсулы в приемную емкость, могут и не понадобиться. Однако в ситуации, когда средства, с помощью которых вода вводится в капсулу, контактируют с содержимым капсулы, предпочтительно, чтобы указанные средства всегда подвергались очистке после каждого использования, например, путем ополаскивания водой повышенной температуры. Это можно проводить либо сразу после приготовления порции, либо непосредственно перед приготовлением следующей порции.
Раздаточное устройство, которое можно использовать, должно быть приспособлено для загрузки капсулами и снабжения водой для восстановления композиции. Можно использовать любое раздаточное устройство, в которое можно загружать капсулы таким образом, чтобы жидкость вытекала прямо из капсулы, не контактируя ни с какой частью раздаточного устройства. Пример пригодного для данной цели раздаточного устройства раскрывается в патентной заявке, опубликованной как International Publication Number WO 02/19875.
Раздаточное устройство может быть оборудовано средствами для обработки воды с целью удаления из нее патогенных организмов, например, средствами для предварительного нагрева воды, фильтрации воды или облучения ее ультрафиолетовым светом.
Раздаточное устройство может быть оснащено средствами для регулирования количества воды таким образом, чтобы они прерывали поток воды после введения заданного количества воды.
Раздаточное устройство может быть оборудовано также средствами для промывки капсулы сильной струей газа после введения воды с целью опорожнения капсулы от жидкости и предупреждения обратного потока питательной композиции в раздаточное устройство. Пригодным для данной цели газом является воздух, подаваемый под давлением от 200 мбар до 2 бар, например 300 мбар.
Капсула может иметь такую конфигурацию, которая выгодно подходит для выбранного раздаточного устройства, но при условии, что конфигурация капсулы позволяет вскрывать капсулу таким путем, который позволяет жидкости вытекать прямо из капсулы в приемную емкость, и что средства для открывания капсулы, чтобы позволить жидкости вытекать из нее, размещаются внутри самой капсулы и приводятся в действие в ответ на те условия, которые создаются в капсуле при введении воды в капсулу. Различные пригодные для данной цели типы конфигурации капсулы раскрываются в совместно поданной с настоящей заявкой патентной заявке, опубликованной как International Publication Number WO 03/059778, содержание которой включено в перечень ссылок к настоящей заявке. В одном из примеров из WO 03/059778 капсула включает тонкую фольгу, которая отделяет содержимое от отверстия в стенке капсулы. В процессе использования давление, индуцируемое введением воды в капсулу, разрывает фольгу и позволяет жидкости достигнуть отверстия и, следовательно, вытекать из капсулы. Другими словами, фольга работает как своего рода разрывной клапан разового использования. Альтернативно средства для открывания капсулы могут включать силиконовый разрывной клапан такого типа, который традиционно используется в раздаточных устройствах для пастообразных жидкостей, таких как сгущенное молоко.
Капсула может изготовляться любым способом и с использованием любых материалов, пригодных для обеспечения требуемой конфигурации и свойств. Например, капсула может изготовляться из пластиков методом термического формования или формования шприцеванием. Она может представлять собой одно- или многослойную конструкцию. Если материал, из которого изготовлена капсула, не является воздухонепроницаемым, то содержимое капсулы должно быть защищено от воздействия окружающей среды другими путями, например путем герметичного запечатывания снаружи, как описано выше, или путем упаковки под вакуумом либо в атмосфере инертного газа в металлическую банку или алюминиевый мешочек либо пакет.
Если необходимо использовать раздаточное устройство, то наружные размеры и конфигурация капсулы будут выбираться с учетом конфигурации раздаточного устройства. В рамках этих ограничений часть пространства, занимаемая в капсуле концентрированной композицией, будет определяться балансом между экологическими и экономическими аспектами (капсула не должна быть слишком большой по отношению к объему, занимаемому ее содержимым) и аспектами безопасности (возможность загрязнения средств для введения воды содержимым капсулы, если капсула полностью заполнена). В любой ситуации можно обеспечить набор капсул, содержащих различные количества композиции, например, отвечающие требованиям различных возрастных групп в случае смесей для грудных детей.
При приготовлении смеси для грудных детей подачу воды можно организовать таким образом, чтобы температура готового продукта в приемной емкости была приемлемой для грудного ребенка при скармливании ему свежеприготовленной смеси, например 40°С или около 40°С. Это может достигаться путем первоначального введения от 30 до 50% воды в капсулу с температурой от 70 до 80°С и последующего введения оставшейся части от заданного количества воды с комнатной или около комнатной температурой. Альтернативно сначала может вводиться вода комнатной температуры, а затем горячая вода. В обоих случаях смесь горячей воды с водой комнатной температуры гарантирует, что полученная готовая к употреблению смесь для грудных детей будет иметь температуру, приемлемую для ее немедленного потребления.
Давление, под которым вода вводится в капсулу, зависит от конструкции капсулы. В большинстве случаев предпочтительным является атмосферное или несколько повышенное давление.
Предпочтительно вода вводится в капсулу в таком месте, которое смещено от продольной оси капсулы. Такое эксцентриковое введение воды способствует образованию вихревого потока внутри капсулы, который, в свою очередь, содействует эффективному растворению и/или диспергированию при восстановлении питательной композиции.
Готовая к употреблению питательная композиция может приготовляться также способом настоящего изобретения с использованием более одной капсулы для получения одноразовой порции. Это позволяет внести определенный уровень гибкости в процесс приготовления композиций. Например, можно изготовить набор капсул, содержащих различные добавки, и снабжать потребителей инструкциями, касающимися возможного комбинирования указанных добавок для приготовления композиции для конкретного индивидуума с учетом его конкретных потребностей.
Ниже изобретение поясняется прилагаемыми к описанию чертежами, из которых
фиг.1 показывает перспективный вид одного из вариантов воплощения капсулы для использования в способе настоящего изобретения;
фиг.2 схематически показывает набор оборудования, пригодного для осуществления способа настоящего изобретения.
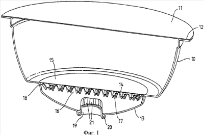
Фиг.1 показывает капсулу, содержащую чашу 10 с мембраной 11, герметично запечатывающей чашу 10 по ее периферии с помощью фланца 12. Капсула включает средства для ее открывания, размещенные в корпусе 13, формирующем нижнюю часть капсулы. Средства для открывания включают перфорированную пластину 14 с покрытием из тонкой алюминиевой фольги 15. Перфорированная пластина снабжена шипами 16, которые выдаются в сторону фольги 15. Пластина включает также ряд каналов 17, направленных к периферии 18 пластины. Корпус в самой нижней его точке снабжен входящей в него трубчатой частью 19, ограниченной в основании кольцевым каналом 20. Часть 19 снабжена отверстиями в форме прорезей 21. Капсула содержит сухую смесь для грудных детей (не показана) в той ее части, которая ограничена мембраной 11, стенками чаши 10 и фольгой 15. В процессе использования вода вводится в капсулу через мембрану 11. Смесь для грудных детей растворяется в воде, и одновременно вода прижимает фольгу 15 к шипам 16, что вызывает разрыв фольги. Растворившаяся смесь поступает по каналам 17 к периферии 18, т.е. на дно капсулы, где она сначала скапливается в кольцевом канале 20, а затем вытекает из капсулы через отверстия 21 в предназначенную для приема смеси емкость, например детскую бутылочку для кормления (не показана). Такая конфигурация обеспечивает контролируемый выходящий поток жидкости и снижает риск ее разбрызгивания.
На фиг.2 схематически показано оборудование, пригодное для осуществления способа настоящего изобретения. Оборудование включает источник водоснабжения 22, соединенный с расходомером 23 и насосом 24. Между расходомером и насосом предусмотрены средства для регулирования потока. Выпускное отверстие насоса соединяется посредством фильтра для воды с водонагревателем 27. Выпускное отверстие водонагревателя соединяется с раздаточным устройством 28. Между водонагревателем и раздаточным устройством предусмотрены средства для регулирования температуры 29. Раздаточное устройство 28 снабжено трубкой 281, приспособленной для зацепления с прокалывающим элементом 301, размещенным на верхней поверхности капсулы 30. Капсула 30, которая показана на фиг. 2 только схематически, а не в масштабе, идентична во всех других отношениях капсуле на фиг.1 и содержит примерно 10 мл сухой смеси для грудных детей. Приготовление одноразовой порции (100 мл) смеси для грудных детей согласно способу настоящего изобретения описывается ниже.
В процессе использования капсула 30 помещается в раздаточное устройство 28 таким образом, чтобы трубка 281 могла войти в зацепление с прокалывающим элементом 301, вынуждая последний проколоть мембрану 11, герметично запечатывающую капсулу (см. фиг.1). Средства для регулирования потока 25 и средства для регулирования температуры 29 установлены таким образом, чтобы раздаточное устройство 29 могло выдавать требуемые количества воды с требуемой температурой. После этого включается раздаточное устройство 28. 40 мл воды поступают из источника водоснабжения, нагреваются до 70°С и подаются по трубке 281 в капсулу. Следует заметить, что прокалывающий элемент 301 размещается на некотором расстоянии от вертикальной оси капсулы 50, и это смещенное от центра местоположение точки введения воды облегчает образование вихревого потока внутри капсулы 30, что, в свою очередь, обеспечивает эффективное растворение сухой смеси для грудных детей. Давление, оказываемое водой на фольгу 15 в капсуле, прижимает ее к шипам 16, вследствие чего фольга разрывается. Растворившаяся смесь для грудных детей поступает сначала на дно капсулы, а затем вытекает из капсулы в детскую бутылочку (не показана), установленную под капсулой. После этого раздаточное устройство забирает следующие 50 мл воды из источника водоснабжения и направляет ее при 17°С в капсулу, где она растворяет оставшийся порошок, ополаскивает капсулу, а затем выдается в детскую бутылочку. Температура приготовленной таким способом смеси для грудных детей составляет 40°С. Таким путем можно готовить одноразовые порции смеси для грудных детей при температуре, приемлемой для скармливания ребенку, и при значительно пониженном риске перекрестного заражения от ранее приготовленных порций или из окружающей среды.
Формула изобретения
1. Способ приготовления одноразовой порции питательной композиции, предусматривающий введение воды в герметично запечатанную, рассчитанную на одну порцию капсулу, содержащую единичную дозу композиции в концентрированном виде, для восстановления концентрированной композиции и приведение в действие средств для открывания, размещенных внутри капсулы, для обеспечения вытекания готовой жидкости прямо из капсулы в приемную емкость.
2. Способ по п.1, в котором питательная композиция является смесью для грудных детей.
3. Способ по п.1 или 2, в котором средства для открывания представляют собой разрывной клапан.
4. Способ по п.1, в котором капсула снабжена снаружи средствами для прокола капсулы и создания условий для введения воды в капсулу.
5. Способ по п.1, который включает также стадию регулирования температуры, при которой вода вводится в капсулу, таким образом, чтобы питательная композиция поступала в приемную емкость при температуре от 30 до 40°С.
6. Способ по п.5, в котором вода вводится в капсулу в две стадии, причем на первой стадии вводится количество воды, составляющее от 30 до 50% от объема порции, при температуре от 70 до 80°С, а на второй стадии – оставшееся количество воды от объема порции при комнатной температуре.
7. Способ по п.5, в котором вода вводится в капсулу в две стадии, причем на первой стадии вводится количество воды, составляющее от 70 до 50% от объема порции, при комнатной температуре, а на второй стадии – оставшееся количество воды от объема порции при температуре от 70 до 80°С.
8. Способ по п.1, в котором вода вводится в капсулу в месте, смещенном от продольной оси капсулы.
9. Способ по п.1, в котором для приготовления одноразовой порции питательной композиции используется более одной капсулы.
10. Способ по п.9, в котором содержимое капсул различно.
11. Способ безопасного и удобного приготовления жидкой питательной композиции, предусматривающий вкладывание герметично запечатанной, рассчитанной на одну порцию капсулы, содержащей единичную дозу композиции в концентрированном виде, в раздаточное устройство, которое содержит источник воды, причем капсула имеет выпускное отверстие, которое открывается в ответ на давление внутри капсулы; размещение емкости для питья под выпускным отверстием капсулы и включение раздаточного устройства для открывания герметично запечатанной капсулы и введения воды в капсулу для смешивания с концентратом и получения жидкой питательной композиции, причем вода вводится под давлением, достаточным для открывания выпускного отверстия капсулы, вследствие чего питательная композиция вытекает прямо из выпускного отверстия капсулы в емкость для питья, не контактируя с раздаточным устройством.
12. Способ по п.11, в котором перед введением в капсулу вода подвергается обработке в раздаточном устройстве для удаления из нее патогенных организмов.
13. Способ по п.11 или 12, в котором раздаточное устройство промывает капсулу сильной струей газа после введения воды для опорожнения капсулы от жидкости и предупреждения обратного потока питательной композиции в раздаточное устройство.
14. Способ по п.11 или 12, в котором раздаточное устройство прекращает подачу воды в капсулу после введения в капсулу заданного объема воды.
РИСУНКИ
|
|