Патент на изобретение №2384286

Published by on




РОССИЙСКАЯ ФЕДЕРАЦИЯ



ФЕДЕРАЛЬНАЯ СЛУЖБА
ПО ИНТЕЛЛЕКТУАЛЬНОЙ СОБСТВЕННОСТИ,
ПАТЕНТАМ И ТОВАРНЫМ ЗНАКАМ
(19) RU (11) 2384286 (13) C2
(51) МПК

A47B88/04 (2006.01)

(12) ОПИСАНИЕ ИЗОБРЕТЕНИЯ К ПАТЕНТУ

Статус: по данным на 28.09.2010 – действует

(21), (22) Заявка: 2007135255/12, 23.03.2006

(24) Дата начала отсчета срока действия патента:

23.03.2006

(30) Конвенционный приоритет:

10.05.2005 DE 102005021591.2

(43) Дата публикации заявки: 20.06.2009

(46) Опубликовано: 20.03.2010

(56) Список документов, цитированных в отчете о
поиске:
US 5207781 A, 04.05.1993. US 20040164654 A1, 26.08.2004. DE 1262533 A, 07.05.1968. US 3836222 A, 17.09.1974. RU 2058746 C1, 27.04.1996.

(85) Дата перевода заявки PCT на национальную фазу:

10.12.2007

(86) Заявка PCT:

EP 2006/061001 20060323

(87) Публикация PCT:

WO 2006/120056 20061116

Адрес для переписки:

191186, Санкт-Петербург, а/я 230, “АРС-ПАТЕНТ”, пат.пов. В.М.Рыбакову, рег. 90

(72) Автор(ы):

ЛАЙБЛЕ Карл-Фридрих (DE)

(73) Патентообладатель(и):

БСХ БОШ УНД СИМЕНС ХАУСГЕРЕТЕ ГМБХ (DE)

(54) БЫТОВОЙ ПРИБОР С ТЕЛЕСКОПИЧЕСКИМ ВЫДВИЖНЫМ МЕХАНИЗМОМ

(57) Реферат:

Изобретение относится к бытовому прибору, имеющему форму шкафа, внутри которого размещен выдвигающийся носитель. Подобный шкафу бытовой прибор, корпус которого имеет внутренний резервуар, в котором помещен носитель, с возможностью передвижения его между крайним задвинутым положением и крайним выдвинутым положением при помощи телескопического выдвижного механизма, включает в себя прикрепленную к корпусу первую шину и, по меньшей мере, одну вторую шину, подвижную относительно первой шины. Вторая шина имеет выступ, который соединен с автоматическим задвигающим устройством, расположенным на корпусе, на расстоянии от шин. Изобретение направлено на создание бытового прибора с выдвигающимся носителем с упрощенным автоматическим задвигающим устройством. 14 з.п. ф-лы, 15 ил.

Область техники

Изобретение относится к бытовому прибору, имеющему форму шкафа, в частности, к холодильнику или морозильнику, корпус которого имеет внутренний резервуар, где помещен носитель, выполненный с возможностью передвижения между крайним задвинутым положением и крайним выдвинутым положением при помощи телескопического выдвижного механизма. Этот носитель в холодильном устройстве может иметь, например, форму выдвижного контейнера или выдвижного ящика либо полки. Такой телескопический выдвижной механизм включает в себя в общем случае одну первую шину и по меньшей мере одну вторую шину, которые подвижны относительно друг друга, причем между шинами предусматриваются ролики или шарики, чтобы уменьшить трение и сделать возможным выдвигание или задвигание носителя без приложения значительных усилий.

Уровень техники

Если такой телескопический выдвижной механизм включает в себя только две шины, то максимальная длина его свободного хода между крайним задвинутым положением и крайним выдвинутым положением значительно меньше, чем длина шин. Ведь чем короче область наложения шин, тем больше, при том же весе носителя, будут крутящие моменты, возникающие между шинами. Поэтому для того, чтобы обеспечивать точное, надежное проведение шин также и при небольшой длине области их наложения, нужна очень высокая механическая прочность шин и, соответственно, большая толщина материала, требующая больших издержек. Однако это ограничение длины свободного хода означает, что носитель, поддерживаемый телескопическим выдвижным механизмом с двумя шинами, никогда не может быть полностью выдвинут из холодильного устройства. Поэтому предметы, находящиеся в задней части носителя, труднодоступны.

Для решения этой проблемы предлагаются телескопические выдвижные механизмы с тремя вложенными друг в друга шинами, соединенными друг с другом таким образом, что путь, пройденный средней шиной, всегда вдвое короче, чем путь той шины, на которой укреплен носитель. Таким образом, даже если носитель выдвинут на полную длину шины, между средней шиной и каждой из обеих других шин существует область наложения, равная половине длины шины. Благодаря этому обеспечивается стабильное, точное перемещение носителя.

Вследствие более высокой стоимости такого телескопического выдвижного механизма, связанной с увеличенным количеством шин, такие механизмы применяются, прежде всего, в холодильных устройствах верхнего ценового сегмента. В этих холодильных устройствах широко распространены также так называемые задвигающие устройства, т.е. механизмы, которые фиксируют телескопический выдвижной механизм незадолго до достижения им крайнего вдвинутого положения и автоматически приводят его в это крайнее положение. Такие задвигающие устройства обычно скрыты в промежутке между шинами телескопического выдвижного механизма. Поэтому такое задвигающее устройство является в общем специфичным для того типа телескопического выдвижного механизма, в котором оно применяется. Задвигающее устройство, предназначенное для выдвижного механизма с тремя шинами, невозможно применить без изменений в выдвижном механизме с двумя шинами и наоборот, так что задвигающие устройства или телескопические выдвижные механизмы, в которых они используются, приходится изготавливать сравнительно небольшими и соответственно дорогими сериями.

Раскрытие изобретения

Задачей данного изобретения является создание такого бытового прибора, в котором устраняется такая специфичность и который позволяет использовать автоматические задвигающие устройства одной и той же конструкции, изготовленные недорогим способом большими сериями, во многих различных моделях бытовых приборов.

Задача решена бытовым прибором, подобным шкафу, корпус которого имеет внутренний резервуар, где помещен выполненный с возможностью передвижения между крайним задвинутым положением и крайним выдвинутым положением при помощи телескопического выдвижного механизма носитель, причем телескопический выдвижной механизм включает в себя прикрепленную к корпусу первую шину и по меньшей мере одну вторую шину, подвижную относительно первой шины, и в котором на корпусе, на расстоянии от шин, расположено автоматическое задвигающее устройство (самозадвигающее устройство), соединенное с выступом второй шины. Пространственное отделение автоматического задвигающего устройства от шины позволяет конструировать его без учета конфигурации шины, так что имеется возможность сочетать один и тот же тип автоматического задвигающего устройства в принципе с любым телескопическим выдвижным механизмом, имеющим необходимый для соединения выступ. Поскольку единственным необходимым специфичным для данного изобретения элементом в телескопическом выдвижном механизме является выступ второй шины, любой обычный телескопический выдвижной механизм легко с незначительными затратами сделать пригодным для применения изобретения; так как стоимость выступа пренебрежимо мала, возможно также в унифицированном виде использовать телескопические выдвижные механизмы с выступом в различных моделях бытовых приборов, независимо от того, присоединено в них к телескопическим выдвижным механизмам также автоматическое задвигающее устройство или нет.

Такое автоматическое задвигающее устройство сочетаемо с простым телескопическим выдвижным механизмом, имеющим только две подвижные относительно друг друга шины, с телескопическим выдвижным механизмом, имеющим промежуточную шину, как описано выше, или с таким телескопическим выдвижным механизмом, который включает в себя дополнительно жестко связанные друг с другом третью и четвертую шины, причем третья шина помещена с возможностью передвижения на первой шине, а на четвертой шине помещена с возможностью передвижения вторая шина. Для телескопического выдвижного механизма этого последнего типа требуется, правда, большее количество отдельных элементов, чтобы достичь той же длины свободного хода, как и в выдвижном механизме с промежуточной шиной, однако он имеет то преимущество, что он особенно легко и недорого реализуется путем простого комбинирования двух простых выдвижных механизмов с двумя шинами в каждом.

Чтобы иметь возможность использовать все эти различные типы телескопических выдвижных механизмов, не изменяя их, в различных моделях устройств, с автоматическим задвигающим устройством или без него, по выбору производителя, выступ, соединяющий их с автоматическим задвигающим устройством, предпочтительно выполняется не непосредственно на второй шине, а на адаптере (переходнике), установленном на ней. Тогда телескопический выдвижной механизм, который не оборудован автоматическим задвигающим устройством, может просто оснащаться другим адаптером, не имеющим выступа.

Автоматическое задвигающее устройство предпочтительно содержит поворотный захват, в который выступ входит при вдвинутом положении механизма и из которого он выходит при выдвинутом положении, и который соответственно находится в первом из двух своих устойчивых позиций, когда телескопический выдвижной механизм задвинут, и во втором устойчивом положении, когда телескопический выдвижной механизм выдвинут.

Для обеспечения простого и надежного соединения между выступом и захватом, на выступе предпочтительно имеется входящий в зацепление с захватом палец, продольная ось которого параллельна оси поворота захвата.

Чтобы реализовать две устойчивые позиции захвата, предпочтительно использовать пружину растяжения, которая имеет первую точку крепления, жестко привязанную относительно корпуса, и вторую точку крепления на захвате, причем ось поворота захвата пересекает воображаемый треугольник, образованный первой точкой крепления, второй точкой крепления в первом положении захвата и второй точкой крепления во второй позиции захвата.

Чтобы конструкция автоматического задвигающего устройства была компактной и чтобы расстояние между ним и телескопическим выдвижным механизмом было незначительным, предпочтительно выполнить ось поворота захвата подвижной в направлении, перпендикулярном направлению движения второй шины.

Краткий комментарий к Фигурам чертежей

Дальнейшие свойства и преимущества изобретения видны из приведенного ниже описания вариантов осуществления, ссылающегося на прилагаемые фигуры чертежей. На них показано следующее:

Фиг.1: аксонометрическое изображение холодильного устройства.

Фиг.2: аксонометрическое изображение двух носителей для охлаждаемых предметов или продуктов от холодильного устройства, изображенного на фиг.1.

Фиг.3: аксонометрическое изображение левого телескопического выдвижного механизма нижнего носителя для охлаждаемых предметов.

Фиг.4: фрагменты шины телескопического выдвижного механизма и адаптера, наглядно представляющие крепление адаптера к шине.

Фиг.5: телескопический выдвижной механизм в соответствии с фиг.3, с частью смонтированного на нем носителя.

Фиг.6: разрез телескопического выдвижного механизма в соответствии с фиг.3 и фиг.5, с окружающими его элементами, на уровне адаптера.

Фиг.7: аксонометрическое изображение комбинированного телескопического выдвижного механизма для верхнего из двух носителей для изображенных на фиг.2 охлаждаемых предметов.

Фиг.8: комбинированный телескопический выдвижной механизм, изображенный на фиг.7, с частью установленного на нем носителя, вид со стороны боковой стенки корпуса.

Фиг.9: аксонометрическое изображение комбинированного телескопического выдвижного механизма и части носителя, вид со стороны холодильной камеры холодильного устройства.

Фиг.10: разрез комбинированного телескопического выдвижного механизма и окружающих его элементов на уровне адаптера, аналогично фиг.5.

Фиг.11: аксонометрическое изображение боковой стенки внутреннего резервуара холодильного устройства с установленным на ней комбинированным телескопическим выдвижным механизмом и со взаимодействующим с ним задвигающим устройством.

Фиг.12: то же аксонометрическое изображение, что и на фиг.11, но без кожуха задвигающего устройства.

Фиг.13: вид сверху механизма задвигающего устройства с изображенной в разрезе рамкой, в устойчивом положении, соответствующем крайнему задвинутому положению носителя для охлаждаемых предметов.

Фиг.14: вид сверху механизма задвигающего устройства, в неустойчивом промежуточном положении.

Фиг.15: вид сверху механизма задвигающего устройства, во втором устойчивом положении, соответствующем крайнему выдвинутому положению носителя для охлаждаемых предметов.

Осуществление изобретения

На фиг.1 показано аксонометрическое изображение холодильного устройства с корпусом 1 и дверцей 2. В холодильной камере 3 внутри устройства два носителя 4, 5 для охлаждаемых предметов или продуктов в качестве примера представлены в форме выдвижных контейнеров. Выдвижные контейнеры 4, 5 поддерживаются с возможностью передвижения при помощи не видимых на фигуре телескопических выдвижных механизмов, подвешенных на боковых стенках корпуса 1. Верхний выдвижной контейнер 4 имеет меньшую глубину, чем нижний контейнер 5, оставляя место для дверной полки 6, укрепленной на дверце 2.

В верхней части холодильной камеры 3, которая на фигуре оставлена свободной, размещаются прочие полки для хранения охлаждаемых предметов или продуктов, по мере надобности выполняемые в форме других выдвижных контейнеров или в форме плоских полок, стационарных или передвижных.

На фиг.2 показаны два выдвижных контейнера 4, 5 в аксонометрическом изображении с их задней стороны. Каждый из выдвижных контейнеров 4, 5 содержит корзину, сформированную из перфорированного металлического листа, передняя часть которой, обращенная к дверце, закрыта пластмассовым щитком 7. Этот щиток 7 проходит в верхнем выдвижном контейнере 4 по всей его высоте, в нижнем контейнере 5 – только по части высоты, так что между щитком 7 и находящимся над ним контейнером 4, как видно на фиг.1, образовано сквозное отверстие, которое позволяет иметь доступ к содержимому контейнера 5, не выдвигая его.

Боковые стенки корзин имеют соответственно вертикальные верхние и нижние участки 8 или 9 стенки и между ними скошенные заплечики 10, проходящие сверху вниз. На каждом из заплечиков 10 укреплена литая пластмассовая часть 11 носителя, которая более подробно видна на фиг.5, 8 и 9. Части 11 носителя в свою очередь закреплены посредством адаптеров на телескопических выдвижных механизмах 12 или 13.

Телескопические выдвижные механизмы 13, на которых укреплен нижний выдвижной контейнер 5, имеют по паре шин, вложенных друг в друга. Свободный ход этих шин относительно друг друга составляет от 50 до 80% их длины; здесь он равен глубине находящегося сверху выдвижного контейнера 4, так что выдвижной контейнер 5 в его крайнем выдвинутом положении полностью выходит из-под находящегося над ним выдвижного контейнера 4, и на площади всей его верхней стороны имеется свободный доступ к нему.

На фиг.3 показано аксонометрическое изображение одного из телескопических выдвижных механизмов 13 нижнего выдвижного контейнера 5, а именно левого выдвижного механизма 13, вид со стороны наблюдателя, смотрящего в холодильную камеру 3. Выдвижной механизм содержит две шины, гнутые из листовой стали, внешнюю шину 14, имеющую приблизительно С-образное сечение, и внутреннюю шину 15, вставленную в полость внешней шины 14. Полки шин 14, 15, находящиеся напротив друг друга, ограничивают два цилиндрических канала 16, в которых размещены по нескольку не видных на фигуре шариков, обеспечивающих легкое, с минимальным зазором, перемещение шин 14, 15 относительно друг друга. На расстоянии от переднего конца внешней шины 14 внутри зазора между шинами 14,15 имеется штифт 17. Его соприкосновение с укрепленным во внутренней шине 15 резиновым амортизатором 18, едва заметным на фигуре, определяет ограничение свободного хода шин 14, 15 относительно друг друга.

На внешней шине 14 укреплены передний адаптер 19 и задний адаптер 20, выполненные из пластмассы. Каждый из адаптеров 19, 20 здесь имеет основной корпус 21, например, в форме призмы, в котором на его верхней стороне сформирован горизонтальный мостик 22, лежащий сверху на верхней полке шины 14.

На расстоянии от верхней стороны каждого основного корпуса 21 находится стопорный элемент 23 или 24. Стопорный элемент 23 переднего адаптера 19 имеет в разрезе, например, форму буквы Т, причем на концах перекладины буквы Т выполнены две упругие щеки, опускающиеся вниз и сначала расходящиеся, а затем вновь сходящиеся. Стопорный элемент 24 заднего адаптера 20 представляет собой жесткий палец, имеющий на верхнем конце направленный вперед выступ 26.

Основной корпус 21 заднего адаптера 20 имеет выступ 59, направленный вниз, от которого отходит палец 60, направленный горизонтально в сторону (не показанной на фигуре) боковой стенки внутреннего резервуара холодильного устройства, на которой укреплена внутренняя шина 15.

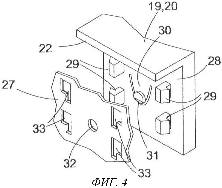
Фиг.4 иллюстрирует крепление адаптеров 19, 20 на шине 14. Соответственно показаны, отдельно друг от друга, фрагмент 27 шины 14 и обращенная к нему сторона адаптера 19 или 20, причем способ закрепления одинаков для обоих адаптеров 19, 20. На стенке 28 адаптера, обращенной к фрагменту 27, имеются четыре жестких крюка-защелки 29 и вырезанный из стенки 28 при помощи U-образной или V-образной щели упругий язычок 30, от конца которого отходит шпонка 31. Напротив них находятся круглое отверстие 32 и четыре прямоугольных отверстия 33 шины 14, последние выполнены в форме прямоугольников, у каждого из которых в нижней стороне имеется короткий шлиц. Чтобы зафиксировать адаптер 19 или 20 на шине 14, крюки-защелки 29 вводятся в прямоугольные отверстия 33, и одновременно язычок 30, шпонка 31 которого упирается в закрытую стенку шины 14, сначала оттесняется внутрь полого основного корпуса адаптера. Когда крюки-защелки 29 полностью вошли в отверстия 33 и стенка 28 адаптера прилегает к шине 14, адаптер сдвигается вниз, так что шейки крюков-защелок 29 входят в шлицы отверстий 33, а мостик 22 прилегает к верхней полке шины 14. При этом шпонка 31 находится напротив круглого отверстия 32 и входит в него. После этого отделить адаптер от шины 14 можно только в том случае, если сначала при помощи какого-либо инструмента снова выжать шпонку 31 из отверстия 32 и затем приподнять адаптер.

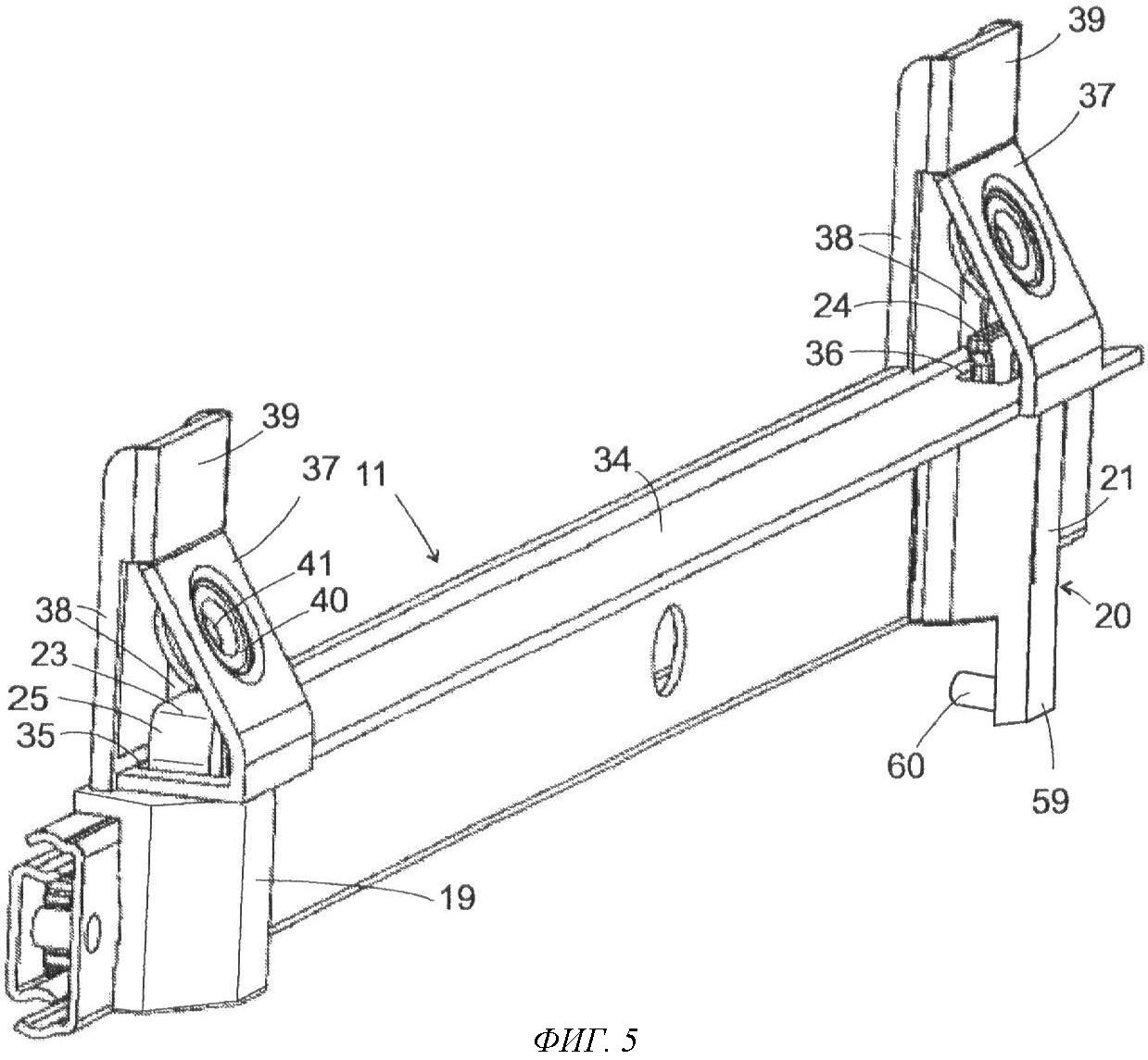
На фиг.5 показано аксонометрическое изображение телескопического выдвижного механизма 13 из фиг.3, на этот раз с зафиксированной на нем частью 11 носителя. Часть 11 носителя содержит вытянутое основание 34, которое опирается на верхние стороны адаптеров 19, 20. В передней стороне основания 34 образовано прямоугольное отверстие 35, сквозь которое проведен стопорный элемент 23 адаптера 19. Участки упругих лапок 25 стопорного элемента 23, проходящие сверху вниз, прижимаются к переднему и заднему краям отверстия 35 и таким образом прижимают основание 34 без зазора к адаптеру 19. Палец 24 заднего адаптера 20 входит в открытую сзади прорезь 36 основания 34.

На обоих концах основания 34, выше отверстия 35 или прорези 36, образованы опоры для корзины выдвижного контейнера 5. Опора содержит наклонную плиту 37, которая своим нижним краем связана с обращенной к корзине кромкой основания 34, а верхним краем образует вместе с двумя вертикальными стойками 38, отходящими от основания 34, участок 39 U-образного профиля. В центре плиты 37 выполнено плоское углубление 40, а в его центре – отверстие 41, которое к обратной стороне плиты 37 расширено до шестиугольной формы.

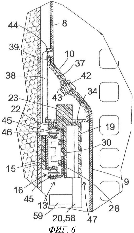
На фиг.6 показан разрез телескопического выдвижного механизма и окружающих его элементов на уровне адаптера 19. Как видно на этом разрезе, отверстие 41 в плите 37 служит для того, чтобы закрепить на ней заплечик 10 корзины при помощи болта 42 и гайки 43, входящей с геометрическим замыканием в шестиугольное расширение отверстия. Планка 44, отходящая от верхнего участка 8 боковой стенки корзины, опирается на верхнюю кромку участка 39 U-образного профиля.

На разрезе видны также уже упоминавшиеся шарики 45, которые, соединенные в обоймы по несколько штук в каждой, размещены в каналах 16 между шинами 14, 15.

Кроме того, видно, что между внешней шиной 14 и расположенным напротив нее нижним участком стенки 9 корзины находится зазор 47, который частично заполнен полым основным корпусом 21 адаптеров 19 и 20. Ширина этого зазора 47 больше, чем ширина телескопического выдвижного механизма 13, так что в случае необходимости имеется возможность разместить там второй телескопический выдвижной механизм, и для этого не придется изменять габаритные размеры выдвижного контейнера 5.

На фиг.2 видно, что такое расположение двух соединенных телескопических выдвижных механизмов предусмотрено с каждой стороны верхнего выдвижного контейнера 4. Эти соединенные телескопические выдвижные механизмы позволяют выдвижному контейнеру 4 иметь длину свободного хода, большую, чем его глубина, так что он может выдвигаться полностью из-под расположенного над ним не показанного здесь носителя такой же глубины.

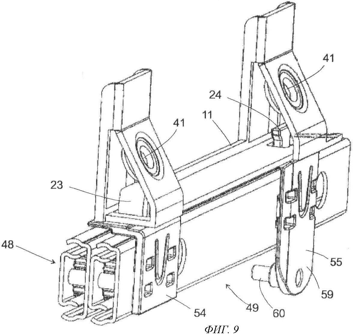
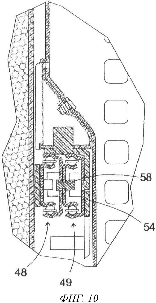
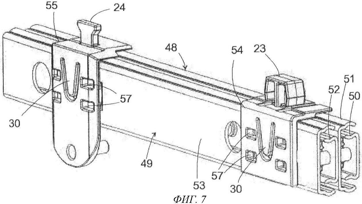
Аксонометрическое изображение двух соединенных телескопических выдвижных механизмов 48, 49 на правой, с точки зрения стоящего перед холодильной камерой 3 пользователя, стороне выдвижного контейнера 4 показано на фиг.7. Конструкция телескопических выдвижных механизмов 48, 49 с внутренней шиной 50 или 52 и с внешней шиной 51 или 53, размещенными с возможностью перемещения относительно друг друга при помощи шариков 45, идентична конструкции телескопического выдвижного механизма 13 и поэтому не нуждается в повторном разъяснении. Шины 51, 52 жестко связаны друг с другом показанными на фиг.10 заклепками 58, из которых первая или вторая одновременно служит в качестве упора для ограничения свободного хода выдвижных механизмов 48, 49.

Передний и задний адаптеры 54 или 55 прикреплены к шине 53 аналогичным способом, как описано выше на основе фиг.4. Вместо широкого полого основного корпуса, как у адаптеров 19, 20, здесь предусмотрен только тонкий, плоский основной корпус, на видимой стороне которого показан упругий язычок 30 и выемки 57, расположенные на месте крюков-защелок 29. Стопорные элементы 23, 24, расположенные на адаптерах 54, 55, такие же, как и на адаптерах 19, 20. Поэтому на этих адаптерах 54, 55, как видно на фиг.8, 9, монтируются части 11 носителя того же типа, что и те, о которых даны разъяснения со ссылкой на фиг.5.

И здесь задний адаптер 55 также имеет выступающий вниз, за нижние поверхности шин, выступ 59, который содержит палец 60, направленный горизонтально к стенке внутреннего резервуара. Функция пальца будет подробно пояснена позднее, со ссылками на фиг.11 и последующие.

В виде на фиг.8, показывающем ту сторону телескопических выдвижных механизмов 48, 49 и части 11 носителя, которая обращена к боковой стене корпуса 1, видны, в частности, шестиугольное расширение отверстия 41 и открытая с задней стороны, к задней стенке корпуса 1, прорезь 36 в основании 34 части 11 носителя. Прорезь имеет края, расходящиеся к заднему концу основания 34, чтобы облегчалось насаживание прорези на стопорный элемент 24 заднего адаптера.

Как видно на фиг.10, зазор 47 со стороны участка 9 стенки корзины практически заполнен дополнительным телескопическим выдвижным механизмом 49 и плоским основным корпусом адаптера 54 или 55. Положение стопорных выступов 23 и 24 относительно боковой стенки корпуса или смонтированного непосредственно на ней выдвижного механизма 48 показано таким же, как и на фиг.6, так что одни и те же части 11 носителя и корзины могут опираться, по усмотрению, как на простой выдвижной механизм, например, 13 так, и на двойной выдвижной механизм, например, 48, 49.

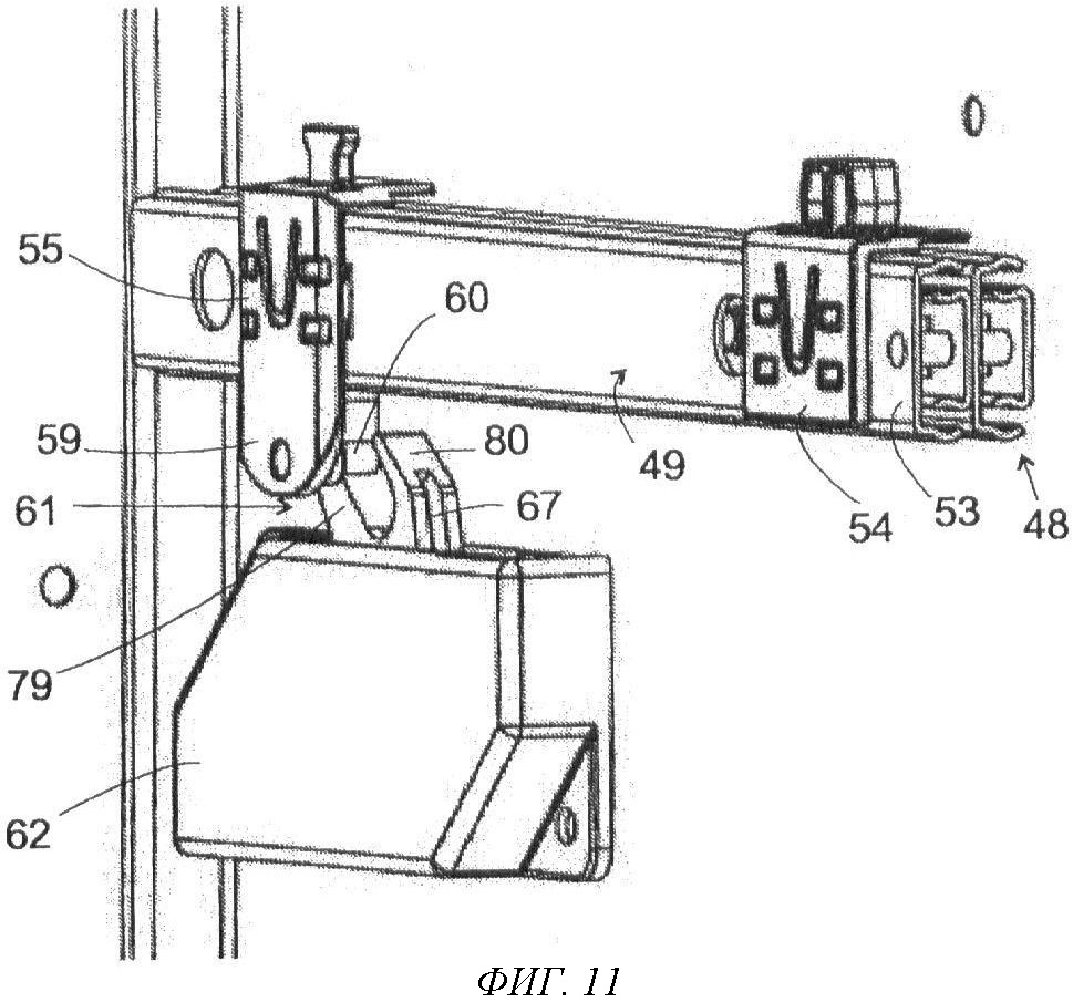
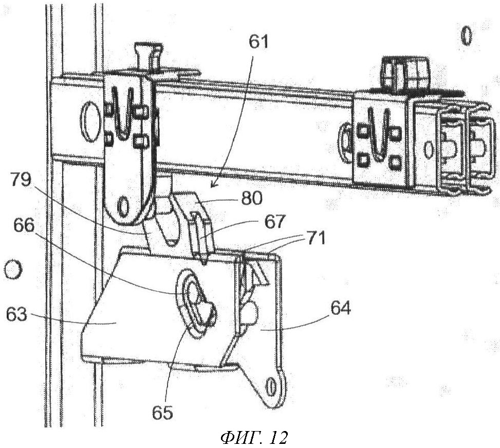
На фиг.11 показано аксонометрическое изображение боковой стенки внутреннего резервуара холодильного устройства с двумя смонтированными на ней составными телескопическими выдвижными механизмами 48, 49 и с укрепленными на шине 53 телескопического выдвижного механизма 49 адаптерами 54, 55. Телескопические выдвижные механизмы 48, 49 находятся в крайнем задвинутом положении. Палец 60 заднего адаптера 55 входит в промежуток между двумя пальцами 79, 80 раздвоенного захвата 61. Захват 61 является частью задвигающего устройства, большая часть которого скрыта под укрепленным на внутренней стенке резервуара корпусом 62 из пластмассы.

На фиг.12 показано автоматическое задвигающее устройство без корпуса 62. Видны цельные рамки из листовой стали с двумя боковыми пластинами 63, 64, в которых образованы продолговатые отверстия 65, расположенные соответственно напротив друг друга. На фигуре видно только продолговатое отверстие 65 в обращенной к наблюдателю боковой пластине 63. Продолговатые отверстия 65 проходят под углом вниз по направлению к передней части корпуса и образуют направляющую поверхность, в которой поддерживаются с возможностью перемещения две цилиндрические цапфы 66, находящиеся на расстоянии от корпуса захвата 61. Параллельно внутренней стенке резервуара через большую часть корпуса захвата 61 проходит прорезь или щель 67.

На фиг.13 показано задвигающее устройство в виде сверху на ту его сторону, которая обращена к внутренней стенке резервуара, причем боковая пластина 64 не показана. Как здесь видно, захват 61 выполнен в форме двуплечего рычага, причем рычаг 68 имеет два пальца 79, 80, охватывающих палец 60, а на конце второго рычага 69 имеется перекладина 70, которая, с незначительным зазором, распространяется на всю ширину промежутка между двумя боковыми пластинами 63, 64 и в показанном положении упирается в нижнюю поверхность двух узких перегородок 71, отходящих под углом от верхнего края боковых пластин 63 или 64, ограничивающих просвет, из которой выходит рычаг 68.

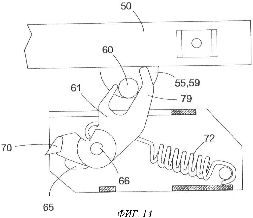
В захвате 61 между штифтом 73, жестко прикрепленным к боковым пластинам 63, 64, и штифтом 74, идущим поперек прорези 67, натянута спиральная пружина 72. Она проходит через прорезь 67, так что она не может соскользнуть со штифта 74 в сторону. Сила натяжения спиральной пружины 72 держит захват 61 в показанном положении, в котором пальцы 66 соответственно находятся в верхнем конце продолговатых отверстий 65 и перекладины 70 прижаты к перегородкам 71. Когда не показанная на фиг.13 шина 53 с установленным на ней носителем охлаждаемых предметов выдвигается и укрепленный на ней адаптер 55 перемещается вперед, захват 61 при помощи пальца 60 движется за ним, как показано на фиг.14. Вследствие давления, оказываемого пальцем 60, спиральная пружина 72 растягивается, и цапфа 66 перемещается в продолговатых отверстиях 65 вперед (налево в изображениях на фигурах 13, 14, 15) и вниз, и одновременно захват 61 поворачивается. При сочетании поворота и движения вниз пальцы 79, 80 захвата 61 остаются по существу на той же самой высоте, так что возможен монтаж автоматического задвигающего устройства в тесном соседстве с шинами 50-53, и при этом захват 61 в своем движении не задевает шины и не блокируется ими.

Когда шина 53 выдвигается еще дальше, захват 61, наконец, достигает крайнего положения, показанного на фиг.15, в котором пальцы 79, 80 высвобождают палец 60. В этом положении цапфа 66 захвата 61 снова притянута пружиной 72 к верхнему краю продолговатых отверстий 65, и перекладина 70 прилегает к стяжке 75, которая связывает нижние края боковых пластин 63, 64 друг с другом. На фиг.15 отмечен пунктирной линией треугольник, углы которого определяются точками контакта 76, 77, 79 спиральной пружины 72 со штифтом 73, со штифтом 74 в устойчивой позиции фиг.13 и со штифтом 74 в устойчивой позиции фиг.15. Как здесь видно, центр цапфы 66 и соответственно ось вращения захвата 61 находятся в пределах этого треугольника, рядом с той его стороной, которая соединяет точки 76, 78 крепления спиральной пружины 72 в положении фиг.15. Поэтому, когда шина 53 снова задвигается, и ее палец 60 входит в захват 61 и начинает вести его за собой, достаточно небольшого угла поворота захвата 61 для того, чтобы линия, соединяющая точки крепления, пересекла ось вращения захвата 61 и захват 61 двигался дальше силой натяжения спиральной пружины 72, при этом ведя за собой шину 53 вплоть до ее крайнего задвинутого положения.

Как легко видеть, точно такой же тип задвигающего устройства применим для взаимодействия с пальцем 60 в адаптере 21 телескопического выдвижного механизма 13. Таким образом, одно и то же автоматическое задвигающее устройство используется как с простым, одинарным телескопическим выдвижным устройством 13, так и с комбинированным выдвижным устройством, состоящим из двух простых выдвижных устройств 48, 49. Легко показать, что, при условии соответствующей подгонки конфигурации заднего адаптера, такое же автоматическое задвигающее устройство может использоваться для взаимодействия с телескопическим выдвижным механизмом, имеющим три вложенные друг в друга шины.

Формула изобретения

1. Бытовой прибор, имеющий форму шкафа, причем корпус (1) прибора имеет внутренний резервуар (3), в котором размещен носитель (4, 5), с возможностью передвижения его между крайним задвинутым положением и крайним выдвинутым положением при помощи телескопического выдвижного механизма (13; 48, 49), включающего в себя прикрепленную к корпусу (1) первую шину (15; 50) и по меньшей мере одну вторую шину (14; 53), подвижную относительно первой шины, отличающийся тем, что выступ (59) второй шины (14; 53) соединен с автоматическим задвигающим устройством, отстоящим от шин (14, 15; 50, 53).

2. Бытовой прибор по п.1, отличающийся тем, что автоматическое задвигающее устройство (61, 72) расположено ниже телескопического выдвижного механизма (13; 48, 49).

3. Бытовой прибор по п.1, отличающийся тем, что автоматическое задвигающее устройство содержит поворотный захват (61), в который выступ (59) входит в задвинутом положении и из которого он выходит в выдвинутом положении, и который приводится в одну из двух устойчивых позиций, когда телескопический выдвижной механизм (13; 48, 49) находится в задвинутом положении, а во вторую позицию приводится тогда, когда телескопический выдвижной механизм (13; 48, 49) находится в выдвинутом положении.

4. Бытовой прибор по п.3, отличающийся тем, что выступ (59) имеет палец (60), продольная ось которого параллельна оси поворота захвата (61).

5. Бытовой прибор по п.4, отличающийся тем, что свободный конец пальца (60) направлен в сторону от телескопического выдвижного механизма (13; 48, 49).

6. Бытовой прибор по п.4 или 5, отличающийся тем, что выступ (59) выполнен в форме стопорной серьги, с которой палец (60) составляет единое целое, и что стопорная серьга съемно установлена на задней части телескопического выдвижного механизма (13; 48, 49).

7. Бытовой прибор по п.6, отличающийся тем, что палец (60) в стопорной серьге расположен ниже телескопического выдвижного механизма (13; 48, 49).

8. Бытовой прибор по п.3, отличающийся тем, что автоматическое задвигающее устройство (61, 72) содержит пружину (72) растяжения, которая имеет первую точку (76) крепления, жестко привязанную относительно корпуса, и вторую точку (77, 78) крепления на захвате (61), и что ось поворота захвата (61) пересекает воображаемый треугольник, образованный первой точкой (76) крепления и второй точкой крепления, при первом положении (77) и при втором положении (78) захвата (61).

9. Бытовой прибор по п.3 или 8, отличающийся тем, что ось поворота захвата (61) выполнена подвижной в направлении, перпендикулярном направлению движения второй шины (14; 53).

10. Бытовой прибор по п.3 или 8, отличающийся тем, что захват (61) имеет прорезь (67), проходящую перпендикулярно оси поворота, и что пружина (72) растяжения проходит через прорезь (67).

11. Бытовой прибор по одному из пп.1-5, 7, 8, отличающийся тем, что носитель (4; 5) укреплен на второй шине (14; 53).

12. Бытовой прибор по одному из пп.1-5, 7, 8, отличающийся тем, что телескопический выдвижной механизм содержит промежуточную шину, вставленную между первой и второй шинами.

13. Бытовой прибор по одному из пп.1-5, 7, 8, отличающийся тем, что телескопический выдвижной механизм (48, 49) включает в себя жестко связанные друг с другом третью и четвертую шины (51, 52), причем третья шина (51) помещена с возможностью передвижения на первой шине (50), а четвертая шина (52) передвигает вторую шину (53).

14. Бытовой прибор по одному из пп.1-5, 7, 8, отличающийся тем, что на адаптере (20, 55), установленном на второй шине (14; 53) выполнен палец (60).

15. Бытовой прибор по п.14, отличающийся тем, что на адаптере (20, 55) образован стопорный элемент (24) для крепления носителя (4, 5).

РИСУНКИ

Categories: BD_2384000-2384999