|
|
(21), (22) Заявка: 2008111164/12, 12.09.2006
(24) Дата начала отсчета срока действия патента:
12.09.2006
(30) Конвенционный приоритет:
27.09.2005 JP 2005-280921
(43) Дата публикации заявки: 10.11.2009
(46) Опубликовано: 20.03.2010
(56) Список документов, цитированных в отчете о поиске:
JP 20011070881 А, 21.03.2001. JP 2001037526 А, 13.02.2001. JP 09262120 А, 07.10.1997. RU 2215456 С2, 10.11.2003.
(85) Дата перевода заявки PCT на национальную фазу:
28.04.2008
(86) Заявка PCT:
JP 2006/318458 20060912
(87) Публикация PCT:
WO 2007/037143 20070405
Адрес для переписки:
190068, Санкт-Петербург, ул. Садовая, 51, оф.303, ООО”ПАТЕНТИКА”, пат.пов. М.А.Можайскому, рег. 488
|
(72) Автор(ы):
УЧИНАШИ Сакае (JP)
(73) Патентообладатель(и):
ПАНАСОНИК ЭЛЕКТРИК ВОРКС КО., ЛТД. (JP)
|
(54) УЛЬТРАЗВУКОВОЕ УСТРОЙСТВО ДЛЯ УХОДА ЗА ВОЛОСАМИ
(57) Реферат:
Ультразвуковое устройство включает вибратор, имеющий вибрационный элемент для выработки ультразвуковых колебаний, и приемник, обращенный к вибратору, так чтобы подавать ультразвуковые колебания на прядь волос, зажатую между вибратором и приемником. Вибрационный элемент выполнен в форме продолговатой пластины. Резонансные точки расположены в виде периодической решетки на вибрационной поверхности, вибрирующей в направлении толщины вибрационного элемента. На поверхности вибратора, обращенной к приемнику, или на поверхности приемника, обращенной к вибратору, имеются выемки для удержания средства для ухода за волосами. Выемки сформированы так, что они содержат точки, соответствующие резонансным точкам вибрационного элемента. Конструкция устройства обеспечивает эффективное и равномерное впитывание средства для ухода за волосами, уменьшение времени обработки и энергопотребления устройства. 7 з.п. ф-лы, 8 ил.
Область техники, к которой относится изобретение
Настоящее изобретение относится к ультразвуковому устройству для ухода за волосами, передающему волосам ультразвуковые колебания, вырабатываемые вибрационным элементом вибратора, и при этом зажимающему волосы между вибратором и приемником. В особенности изобретение относится к ультразвуковому устройству для ухода за волосами, используемому для ускорения процесса впитывания волосами средства для ухода за волосами посредством ультразвуковых колебаний и при этом зажимающему волосы, пропитанные указанным средством, между вибратором и приемником.
Уровень техники
Например, в публикации патента Японии 9-262120 описано традиционное ультразвуковое устройство для ухода за волосами, которое содержит вибрационный элемент для преобразования электрических сигналов в механические колебания в ультразвуковом диапазоне и которое подает ультразвуковые колебания, вырабатываемые вибрационным элементом, на волосы и на средство для ухода за волосами для ускорения процесса его впитывания.
Ультразвуковое устройство для ухода за волосами включает два зажима, соединенные концами с возможностью поворота, вибратор, расположенный на свободном конце одного зажима и содержащий вибрационный элемент в форме диска, и приемник, расположенный на свободном конце другого зажима и обращенный к вибратору. Прядь волос, на которую нанесено средство для ухода за волосами, зажимают между плоскими поверхностями вибратора и приемника. В таком положении ультразвуковое устройство для ухода за волосами перемещают вдоль пряди волос в продольном направлении или в направлении роста волос, подавая вырабатываемые вибрационным элементом ультразвуковые колебания в направлении толщины на волосы и средство для ухода за волосами. Таким образом может быть ускорен процесс впитывания волосами средства для ухода за волосами по всей их длине.
Так как вибрационный элемент традиционного ультразвукового устройства для ухода за волосами имеет форму диска, амплитуда колебаний в направлении его толщины достигает наибольшего значения в его центральной части. Амплитуда колебаний падает по мере удаления от центра диска к его периферии в радиальном направлении. Другими словами, резонансная точка, то есть точка, в которой амплитуда колебаний в направлении толщины вибрационного элемента в форме диска достигает наибольшего значения, расположена только в центре диска, из-за чего периферийная часть вибрационного элемента мало воздействует колебаниями на волосы и средство для ухода за волосами, тогда как воздействие его центральной части может быть достаточным. Следовательно, сложно обеспечить равномерное впитывание средства для ухода за волосами в волосы по всей ширине пряди волос.
Из-за того, что средство для ухода за волосами не может в достаточной мере впитываться в волосы у периферии диска вибрационного элемента, в особенности по краям пряди волос, разнесенных по ее ширине, перпендикулярно ее продольному направлению, повышается время, необходимое для обработки волос. Кроме того, из-за того, что волосы зажаты между плоскими поверхностями вибратора и приемника, средство для ухода за волосами не может полностью соприкасаться с волосами. Из-за этого средство для ухода за волосами не может в достаточной степени впитываться в волосы. При этом то, что волосы зажаты между вибратором и приемником, препятствует распространению средства для ухода за волосами в месте, соответствующем резонансной точке вибрационного элемента, так что средство для ухода за волосами не может эффективно впитываться в волосы.
Сущность изобретения
Задача настоящего изобретения состоит в решении вышеупомянутой проблемы и создании ультразвукового устройства для ухода за волосами, с помощью которого вся прядь волос может быть равномерно и надежно пропитана средством для ухода за волосами с уменьшением времени обработки и энергопотребления устройства, а также с обеспечением эффективного и достаточного впитывания средства для ухода за волосами.
Для выполнения поставленной задачи предлагаемое ультразвуковое устройство для ухода за волосами включает вибратор, имеющий вибрационный элемент для выработки ультразвуковых колебаний, и приемник, обращенный к вибратору, так чтобы подавать ультразвуковые колебания на прядь волос, зажатую между вибратором и приемником. Вибрационный элемент выполнен в форме продолговатой пластины, при этом имеются резонансные точки, расположенные в виде периодической решетки на вибрационной поверхности, вибрирующей в направлении толщины вибрационного элемента. На поверхности вибратора, обращенной к приемнику, или на поверхности приемника, обращенной к вибратору, имеются выемки для удержания средства для ухода за волосами, сформированные так, что они содержат точки, соответствующие резонансным точкам вибрационного элемента.
Вибрационный элемент имеет форму продолговатой пластины для получения нескольких резонансных точек, расположенных в виде периодической решетки на вибрационной поверхности, так что вся вибрационная поверхность вибрационного элемента вибрирует, по существу, равномерно. Таким образом, колебания, вырабатываемые вибрационным элементом, можно передавать на волосы и средство для ухода за волосами, зажатые между вибратором и приемником, равномерно и эффективно. Следовательно, волосы можно равномерно и надежно пропитать средством для ухода за волосами по ширине пряди волос. При этом время обработки волос может быть уменьшено благодаря ускорению впитывания средства для ухода за волосами и, следовательно, может быть уменьшено потребление электроэнергии при использовании ультразвукового устройства для ухода за волосами.
Поскольку на поверхности вибратора, обращенной к приемнику, или на поверхности приемника, обращенной к вибратору, имеются выемки для удержания средства для ухода за волосами, сформированные так, что они содержат точки, соответствующие резонансным точкам вибрационного элемента, средство для ухода за волосами, удерживаемое в указанных выемках, может в достаточной степени соприкасаться с волосами, зажатыми между вибратором и приемником, так что волосы могут впитывать средство для ухода за волосами в достаточной степени. Благодаря тому что средство для ухода за волосами может удерживаться в местах, соответствующих резонансным точкам вибрационного элемента, волосы могут эффективно впитывать указанное средство по уходу за волосами с помощью колебаний, вырабатываемых вибрационным элементом.
Краткое описание чертежей
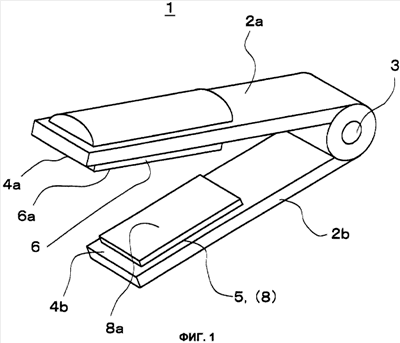
На фиг.1 изображен вид в перспективе, иллюстрирующий конструкцию ультразвукового устройства для ухода за волосами по одному из вариантов осуществления настоящего изобретения;
на фиг.2 изображен вид сбоку в разрезе, иллюстрирующий конструкцию вышеуказанного ультразвукового устройства для ухода за волосами;
на фиг.3 изображен вид сбоку, иллюстрирующий положение, когда обрабатываемая прядь волос расположена между вибратором и приемником вышеуказанного ультразвукового устройства для ухода за волосами;
на фиг.4 изображен вид в перспективе, иллюстрирующий конструкцию вибратора вышеуказанного ультразвукового устройства для ухода за волосами, а также расположение резонансных точек вибрационного элемента, отмеченных черными точками, и углублений в головке вибратора вышеуказанного ультразвукового устройства для ухода за волосами;
на фиг.5А изображен вид в перспективе, иллюстрирующий другой вариант конструкции головки, используемой в вышеуказанном ультразвуковом устройстве для ухода за волосами;
на фиг.5В изображен плоский вид, иллюстрирующий расположение резонансных точек показанной на фиг.5А головки, отмеченных черными точками;
на фиг.6 изображен график, иллюстрирующий взаимосвязь пенистости материала приемника и эффективности впитывания волосами средства для ухода за волосами;
на фиг.7 изображен график, иллюстрирующий взаимосвязь между выходной мощностью вибрационного элемента и эффективностью впитывания средства для ухода за волосами в волосы.
Подробное описание варианта реализации изобретения
Ниже описан предпочтительный вариант осуществления настоящего изобретения. Фиг.1 и 3 соответственно иллюстрируют конструкцию ультразвукового устройства 1 для ухода за волосами в соответствии с одним из вариантов осуществления настоящего изобретения. Ультразвуковое устройство 1 включает два зажима 2а и 2b, которые соединены задними концами с возможностью поворота на шарнире 3 с образованием щипцов. Как показано на фиг.3, один из зажимов 2а и 2b можно поворачивать вокруг центральной оси шарнира 3 по отношению к другому на заданный угол под действием, например, упругой силы пружины с формированием промежутка между передним концом 4а зажима 2а и передним концом 4b зажима 2b. Как показано на фиг.2, когда пользователь держит зажимы 2а и 2b, передний конец 4а зажима 2а может быть в плотном контакте с передним концом 4b зажима 2b.
Таким образом, прядь волос 15 может быть зажата между передним концом 4а зажима 2а и передним концом 4b зажима 2b.
На переднем конце 4b зажима 2b расположен вибратор 5, а на переднем конце 4а зажима 2а расположен приемник 6. Приемник 6 выполнен из вспененного материала на основе синтетической смолы, например из пеноуретана.
Вибратор 5 содержит вибрационный элемент 7 для выработки колебаний и головку 8 для передачи на волосы и распространения по ним колебаний вибрационного элемента. Фиг.4 иллюстрирует конструкцию вибратора 5.
Элемент 7 имеет форму продолговатой пластины, более длинной в продольном направлении зажима 2b. Элемент 7 расположен в углублении, имеющемся на зажиме 2b таким образом, что одна поверхность элемента 7 параллельна поверхности переднего конца 4b зажима 2b и расположена, по существу, на одном уровне с ней, а другая находится в контакте с дном углубления. Передняя сторона 7а элемента 7 является вибрационной поверхностью.
Головка 8 имеет форму продолговатой пластины, как и элемент 7 более длинной в продольном направлении зажима 2b. Головка 8 выполнена из твердого материала, такого как алюминий, а нижняя поверхность 8b головки присоединена к вибрационной поверхности 7а элемента 7, так что колебания элемента 7 можно передавать на головку.
Элемент 7 электропроводом 9 соединен с высокочастотным генератором 10, расположенным в ультразвуковом устройстве 1 или снаружи этого устройства. При подаче от генератора 10 высокочастотного переменного тока на элемент 7 элемент 7 вырабатывает колебания. Элемент 7 использует вибрацию, созданную благодаря действию продольного пьезоэлектрического эффекта, для создания вибрации в направлении толщины элемента 7. Иными словами, элемент 7 вибрирует в продольном направлении для получения колебаний в направлении толщины. Когда ток подают на элемент 7, элемент 7 расширяется и сжимается как вдоль, так и поперек вибрационной поверхности, перпендикулярной направлению толщины элемента 7. Продольные колебания интерферируют с поперечными, так что возникают колебания в направлении толщины. В результате вибрационная поверхность 7а элемента 7 вибрирует таким образом, что образованы резонансные точки “А”, расположенные в виде периодической решетки, как показано черными точками на фиг.4. Вибрационная поверхность 7а элемента 7 передает колебания на головку 8, поэтому распространяющая поверхность 8а головки 8, расположенная напротив нижней поверхности 8b головки 8 с элементом 7, вибрирует таким образом, что резонансные точки поверхности 8а расположены в виде периодической решетки, по существу, в тех же местах, что и резонансные точки поверхности 7а элемента 7. Вследствие этого при приведении в действие элемента 7 его выходная мощность составляет от 1 до 7 Вт/см2.
Как показано на фиг.4, на вибрационной поверхности 8а головки 8 выполнены круглые углубления 11, расположенные в областях, соответствующих резонансным точкам «А» элемента 7, в виде выемок для удержания средства для ухода за волосами, такого как перманент, краска для волос, восстановитель для волос и т.п. С другой стороны, принимающая поверхность 6а приемника 6, обращенная к вибрационной поверхности 8а головки 8, выполнена плоской. Поверхность 8а головки 8, за исключением углублений 11, выполнена плоской, чтобы обеспечить плотный контакт с поверхностью 6а приемника 6.
Ниже описана работа ультразвукового устройства 1. Средство для ухода за волосами предварительно наносят на поверхность 6а приемника 6 и поверхность 8а головки 8 вибратора 5 и/или на волосы. Пользователь удерживает ультразвуковое устройство 1 таким образом, что зажимы 2а и 2b расположены, по существу, перпендикулярно обрабатываемой пряди 15 волос, а прядь 15 расположена между вибратором 5 и приемником 6, как показано на фиг.3. В таком положении, когда пользователь захватывает зажимы 2а и 2b и перемещает ультразвуковое устройство 1 с приведением в действие вибрационного элемента 7 вдоль пряди волос 15 в продольном направлении, ультразвуковые колебания, вырабатываемые элементом 7, могут быть переданы на волосы и средство для ухода за волосами через головку 8. Таким образом может быть ускорен процесс впитывания волосами средства для ухода за волосами.
Элемент 7 вибрирует так, что резонансные точки “А” расположены в виде периодической решетки в направлении толщины элемента 7, поэтому, как показано на фиг.4, возможно обеспечить, по существу, равномерные колебания вибрационной поверхности 7а элемента 7. Следовательно, волосы могут впитывать средство для ухода за волосами равномерно и надежно по ширине пряди 15. Более того, время обработки волос может быть уменьшено благодаря ускорению впитывания средства для ухода за волосами и, следовательно, может быть уменьшено потребление электроэнергии при использовании ультразвукового устройства 1. С учетом того, что элемент 7 использует вибрацию, созданную благодаря действию продольного пьезоэлектрического эффекта, для создания вибрации в направлении толщины элемента 7, энергетическая эффективность ультразвуковых колебаний может быть повышена по сравнению с традиционным вибрационным элементом, использующим вибрацию, созданную благодаря действию поперечного пьезоэлектрического эффекта в направлении толщины этого элемента, т.е. когда вибрационный элемент вибрирует в поперечном направлении для получения колебаний в направлении толщины. Таким образом, потребление электроэнергии элементом 7 может быть снижено.
Как показано на фиг.4, углубления 11 для удержания средства для ухода за волосами выполнены на поверхности 8а головки 8 в областях, соответствующих точкам “А” резонанса элемента 7, благодаря чему средство для ухода за волосами, удерживаемое в углублениях 11, может в достаточной степени соприкасаться с волосами, зажатыми между вибратором 5 и приемником 6. Таким образом, волосы могут впитывать средство для ухода за волосами в достаточной степени. Благодаря возможности удержания средства для ухода за волосами в местах, соответствующих резонансным точкам “А” элемента 7, волосы могут эффективно впитывать средство для ухода за волосами, а благодаря тому, что углубления 11 выполнены на поверхности 8а головки 8 в виде периодической решетки, соответствующей резонансным точкам “А” элемента 7, средство для ухода за волосами может удерживаться в местах, соответствующих резонансным точкам “А” элемента 7.
Далее, приемник 6 выполнен из вспененного материала на основе синтетической смолы и, следовательно, может быть деформирован в зависимости от взаимного положения волос и углублений 11. Таким образом, волосы могут быть надежно зажаты между вибратором 5 и приемником 6 и могут впитывать средство для ухода за волосами более эффективно. Фиг.6 представляет собой график, иллюстрирующий взаимосвязь пенистости материала приемника 6 и эффективности впитывания волосами средства для ухода за волосами. Как видно из фиг.6, эффективность впитывания волосами средства для ухода за волосами возрастает с повышением пенистости.
С другой стороны, на фиг.7 изображен график, иллюстрирующий взаимосвязь выходной мощности элемента 7 и эффективности впитывания волосами средства для ухода за волосами. Как видно из фиг.7, эффективность впитывания средства для ухода за волосами растет пропорционально выходной мощности элемента 7 в начальный период времени. Однако когда выходная мощность элемента 7 превышает конкретное значение, эффективность впитывания средства для ухода за волосами падает обратно пропорционально выходной мощности элемента 7. Таким образом, следует приводить в действие элемент 7 таким образом, чтобы его выходная мощность была в конкретном диапазоне, например от 1 до 7 Вт/см2. Далее описан вариант выполнения головки 8 со ссылками на фиг.5А и 5В. Фиг.5А иллюстрирует конструкцию головки 8. На фиг.5В резонансные точки головки 8 показаны в виде черных точек. На поверхности 8а головки 8 выполнено несколько пазов 12, например три, в виде выемок для удержания средства для ухода за волосами, расположенных вдоль длинных сторон продолговатой пластины в соответствии с линиями расположения точек “А” резонанса, например от А1 до A3, как показано на фиг.4.
При такой конструкции, так как пазы 12 выполнены на поверхности 8а головки 8, содержащей области, соответствующие резонансным точкам “А” элемента 7, для удержания средства для ухода за волосами, средство для ухода за волосами, удерживаемое пазами 12, может в достаточной степени соприкасаться с волосами, зажатыми между вибратором 5 и приемником 6. Таким образом, волосы могут в достаточной степени впитывать средство для ухода за волосами. Кроме того, средство для ухода за волосами может удерживаться в местах, соответствующих резонансным точкам “А” элемента 7, так что волосы могут эффективно впитывать средство для ухода за волосами.
В вышеупомянутом варианте реализации углубления 11 или пазы 12 выполнены на поверхности 8а головки 8 вибратора 5. Однако настоящее изобретение не ограничено такой конструкцией. Углубления 11 или пазы 12 могут быть выполнены на принимающей поверхности 6а приемника 6, а поверхность 8а головки 8 может быть выполнена плоской. Кроме того, форма выемки для удержания средства для ухода за волосами не ограничена круглым углублением или пазом. Другими словами, достаточно, чтобы предлагаемое ультразвуковое устройство для ухода за волосами включало вибратор, содержащий вибрационный элемент для выработки ультразвуковых колебаний, и приемник, обращенный к вибратору, так чтобы подавать ультразвуковые колебания на прядь волос, зажатую между вибратором и приемником. Вибрационный элемент выполнен в форме продолговатой пластины, при этом имеются резонансные точки, расположенные в виде периодической решетки на вибрационной поверхности, вибрирующей в направлении толщины вибрационного элемента. На поверхности вибратора, обращенной к приемнику, или на поверхности приемника, обращенной к вибратору, имеются выемки, предназначенные для удержания средства для ухода за волосами, сформированные так, что они содержат точки, соответствующие резонансным точкам вибрационного элемента.
Предпочтительно, чтобы выемки представляли собой круглые углубления, каждое из которых выполнено в месте, соответствующем резонансной точке вибрационного элемента. Выемки также могут быть в виде пазов, выполненных вдоль длинной стороны продолговатой пластины вибрационного элемента, каждый из которых включает группу резонансных точек вибрационного элемента.
Кроме того, предпочтительно, чтобы вибратор имел головку в форме продолговатой пластины, присоединенную к вибрационной поверхности вибрационного элемента, а выемки были выполнены на поверхности головки, обращенной к приемнику. Выемки также могут быть выполнены на поверхности приемника, обращенной к вибратору.
Также предпочтительно, чтобы вибрационный элемент использовал вибрацию, созданную благодаря действию продольного пьезоэлектрического эффекта для создания вибрации в направлении толщины вибрационного элемента. При такой конструкции энергетическая эффективность ультразвуковых колебаний может быть повышена по сравнению с традиционным вибрационным элементом, использующим вибрацию, созданную благодаря действию поперечного пьезоэлектрического эффекта в направлении толщины этого элемента. Таким образом, потребление электроэнергии вибрационным элементом может быть снижено.
Приемник выполнен из вспененного материала на основе синтетической смолы. При такой конструкции возможно более эффективное впитывание волосами средства для ухода за волосами, так как эффективность впитывания волосами средства для ухода за волосами растет при повышении пенистости.
Также предпочтительно, чтобы конструкция содержала два зажима, задние концы которых соединены шарнирно, а вибратор и приемник соответственно были расположены на передних концах зажимов таким образом, что длинная сторона продолговатой пластины была параллельна продольному направлению зажима. Когда пользователь захватывает зажимы и перемещает ультразвуковое устройство для ухода за волосами с приведением в действие вибрационного элемента вдоль пряди волос в продольном направлении, ультразвуковые колебания, вырабатываемые вибрационным элементом, могут быть переданы на волосы и средство для ухода за волосами. Таким образом может быть ускорен процесс впитывания волосами средства для ухода за волосами.
Данный патент основан на заявке на патент Японии 2005-280921, поданной в Японии. Указание этой ссылки означает включение содержания указанной заявки в настоящее описание.
Несмотря на то что настоящее изобретение полностью описано на примерах его выполнения со ссылками на сопроводительные чертежи, для специалистов очевидна возможность различных изменений и модификаций. Следовательно, если специально не оговорено, что такие изменения и модификации отступают от объема настоящего изобретения, их следует считать включенными в объем изобретения.
Формула изобретения
1. Ультразвуковое устройство для ухода за волосами, включающее вибратор, имеющий вибрационный элемент для выработки ультразвуковых колебаний, и приемник, обращенный к вибратору, так чтобы подавать ультразвуковые колебания на прядь волос, зажатую между вибратором и приемником, отличающееся тем, что вибрационный элемент выполнен в форме продолговатой пластины, при этом имеются резонансные точки, расположенные в виде периодической решетки на вибрационной поверхности, вибрирующей в направлении толщины вибрационного элемента, а на поверхности вибратора, обращенной к приемнику, или на поверхности приемника, обращенной к вибратору, имеются выемки для удержания средства для ухода за волосами, сформированные так, что они содержат точки, соответствующие резонансным точкам вибрационного элемента.
2. Устройство по п.1, отличающееся тем, что выемки представляют собой круглые углубления, каждое из которых выполнено в месте, соответствующем резонансной точке вибрационного элемента.
3. Устройство по п.1, отличающееся тем, что выемки представляют собой пазы, выполненные вдоль длинной стороны продолговатой пластины вибрационного элемента, каждый из которых включает группу резонансных точек вибрационного элемента.
4. Устройство по любому из пп.1-3, отличающееся тем, что вибратор имеет головку в форме продолговатой пластины, присоединенной к вибрационной поверхности вибрационного элемента, а выемки выполнены на поверхности головки, обращенной к приемнику.
5. Устройство по любому из пп.1-3, отличающееся тем, что выемки выполнены на стороне приемника, обращенной к вибратору.
6. Устройство по п.1, отличающееся тем, что вибрационный элемент использует вибрацию, созданную благодаря действию продольного пьезоэлектрического эффекта для создания вибрации в направлении толщины вибрационного элемента.
7. Устройство по п.1, отличающееся тем, что приемник выполнен из вспененного материала на основе синтетической смолы.
8. Устройство по п.1, отличающееся тем, что оно содержит два зажима, задние концы которых соединены шарнирно, а вибратор и приемник соответственно расположены на передних концах зажимов таким образом, что длинная сторона продолговатой пластины параллельна продольному направлению зажима.
РИСУНКИ
|
|