|
(21), (22) Заявка: 2007148543/09, 08.10.2006
(24) Дата начала отсчета срока действия патента:
08.10.2006
(30) Конвенционный приоритет:
17.02.2006 CN 200610008335.3
(43) Дата публикации заявки: 20.11.2009
(46) Опубликовано: 10.03.2010
(56) Список документов, цитированных в отчете о поиске:
JP 2003-110383 А, 11.04.2003. JP 61-133712 А, 21.06.1986. RU 2139630 C1, 10.10.1999. SU 1073891 A, 15.02.1984. US 3519765, 07.07.1970. KR 2002-020298 A, 15.03.2002. DE 19514993 A1, 31.10.1996. CN 1355122 А, 17.04.2002.
(85) Дата перевода заявки PCT на национальную фазу:
15.05.2008
(86) Заявка PCT:
CN 2006/002627 20061008
(87) Публикация PCT:
WO 2007/093096 20070823
Адрес для переписки:
191186, Санкт-Петербург, а/я 230, “АРС-ПАТЕНТ”, пат.пов. М.В.Хмаре, рег. 771
|
(72) Автор(ы):
ЧЖАН Хеньфень (CN)
(73) Патентообладатель(и):
ХУАВЭЙ ТЕКНОЛОДЖИЗ КО., ЛТД. (CN)
|
(54) ДВУНАПРАВЛЕННЫЙ УСИЛИТЕЛЬ, СИСТЕМА ПОЛУДУПЛЕКСНОЙ СВЯЗИ, СОДЕРЖАЩАЯ ТАКОЙ УСИЛИТЕЛЬ, И СПОСОБ ОСУЩЕСТВЛЕНИЯ ПОЛУДУПЛЕКСНОЙ СВЯЗИ
(57) Реферат:
Настоящее изобретение раскрывает двунаправленное усилительное устройство, систему полудуплексной связи, содержащую такое устройство, и способ связи. Технический результат: определение направления передачи сигнала данных путем сравнения мощности сигналов данных, передаваемых в двух направлениях передачи, для повышения чувствительности приема. Двунаправленное усилительное устройство включает усилитель; устройство определения направления передачи, выполненное с возможностью определения направления передачи входного сигнала данных, поступающего в двунаправленное усилительное устройство, и подачи управляющего сигнала переключения в соответствии с определенным направлением передачи; и устройство переключения, выполненное с возможностью переключения состояния соединения в соответствии с управляющим сигналом переключения таким образом, чтобы усилитель (С) усиливал сигнал данных в направлении передачи. 3 н. и 6 з.п. ф-лы, 4 ил.
Область техники, к которой относится изобретение
Настоящее изобретение относится к области связи, в частности к одночастотному двунаправленному усилительному устройству, системе полудуплексной связи, содержащей одночастотное двунаправленное усилительное устройство, и способу осуществления полудуплексной связи.
Уровень техники
В настоящее время в системах с коаксиальными кабелями обычно используются две отдельные частоты для связи при двунаправленной передаче; другими словами, частота, используемая для связи в направлении от хоста к терминалу, отличается от частоты, используемой для связи в направлении от терминала к хосту. Когда дальность передачи велика или при добавлении пользователей, нужно добавлять больше усилителей.
На фиг.1 представлена принципиальная схема полнодуплексной системы связи в коаксиальной сети известного уровня техники. В настоящее время в качестве технологии связи в коаксиальных кабельных сетях используется FDM (Frequency-Division Multiplexing, мультиплексирование с частотным разделением); другими словами, частота, используемая в восходящей передаче, отделена от частоты, используемой в нисходящей передаче. Как показано на фиг.1, когда при связи в направлении от хоста 60 к терминалу 80 используется высокая частота, при связи в направлении от терминала 80 к хосту 60 может использоваться только низкая частота. С другой стороны, когда при связи в направлении от хоста 60 к терминалу 80 используется низкая частота, при связи в направлении от терминала 80 к хосту 60 может использоваться только высокая частота. Таким образом, хост 60 и терминал 80 не могут использовать для связи одну и ту же частоту. Двунаправленный усилитель 70 включает два усилителя соответственно для усиления низкочастотных сигналов и высокочастотных сигналов.
Из описания фиг.1 следует, что существующая технология усиления разработана для полнодуплексной FDM связи и усилитель имеет различные рабочие частоты в восходящем направлении и нисходящем направлении. Этот усилитель не может усиливать сигналы данных полудуплексной связи одной и той же частоты; другими словами, усилитель не может использоваться в полудуплексной связи на одной частоте.
Существующая система полудуплексной связи может удовлетворить требованиям большой дальности передачи только за счет увеличения мощности передачи и чувствительности приема. Если затухание между хостом и терминалом превышает пороговое значение, одночастотная полудуплексная связь должна быть заменена двухчастотной полнодуплексной связью, что позволит использовать для усиления сигнала известные двунаправленные усилители. Однако в таком варианте возрастает стоимость и занятость спектральных ресурсов.
Раскрытие изобретения
Настоящее изобретение предлагает усилительное устройство, систему связи, содержащую такое устройство, и способ связи для решения задачи, связанной с невозможностью реализации одночастотного двунаправленного усиления в известном уровне техники.
Настоящее изобретение предлагает двунаправленное усилительное устройство, включающее усилитель (С). Двунаправленное усилительное устройство усиливает сигнал данных, передаваемый в двух направлениях на одной частоте, и дополнительно включает в себя устройство определения направления передачи, выполненное с возможностью определения направления передачи сигнала данных, поступающего в двунаправленное усилительное устройство, и с возможностью подачи управляющего сигнала переключения в соответствии с определенным направлением передачи, и устройство переключения, выполненное с возможностью переключения состояния соединения в соответствии с управляющим сигналом переключения таким образом, чтобы усилитель (С) усиливал сигнал данных в направлении передачи и передавал усиленный сигнал данных в направлении передачи на сторону приема.
Варианты дополнительных технических решений двунаправленного усиливающего устройства описаны ниже.
Устройство определения направления передачи включает в себя два детектора, выполненных с возможностью определения мощности сигналов данных, передаваемых соответственно в двух направлениях передачи; и сравнивающее устройство, выполненное с возможностью сравнения мощностей, определенных двумя детекторами, с целью определения направления передачи и подачи управляющего сигнала переключения.
Устройство определения направления передачи дополнительно включает два усилителя (Е и G), выполненных с возможностью усиления мощностей, определенных соответственно двумя детекторами; причем сравнивающее устройство определяет направление передачи путем сравнения мощностей, усиленных посредством усилителей (Е и G).
Устройство определения направления передачи может производить определение направления передачи в соответствии с поступающим извне управляющим сигналом приемопередачи.
Устройство определения направления передачи также может включать фильтр, выполненный с возможностью выделения управляющего сигнала приемопередачи из сигнала, поданного со стороны приема или стороны передачи сигнала данных, и демодулятор, выполненный с возможностью демодуляции и выдачи выделенного фильтром управляющего сигнала приемопередачи, причем демодулированный посредством демодулятора управляющий сигнал приемопередачи служит в качестве управляющего сигнала переключения для управления состоянием устройства переключения.
Устройство переключения включает два двухпозиционных однополюсных переключателя, соединенных соответственно с входом и выходом усилителя (С).
В настоящем изобретении дополнительно предлагается система одночастотной полудуплексной связи, содержащая по меньшей мере одну первую сторону связи, по меньшей мере одну вторую сторону связи и двунаправленное усилительное устройство между первой стороной связи и второй стороной связи; при этом двунаправленное усилительное устройство включает усилитель (С); устройство определения направления передачи, выполненное с возможностью определения направления передачи сигнала данных, поступающего в двунаправленное усилительное устройство, и подачи управляющего сигнала переключения в соответствии с определенным направлением передачи, и устройство переключения, выполненное с возможностью переключения состояния в соответствии с управляющим сигналом таким образом, чтобы усилитель (С) усиливал сигнал данных в направлении передачи и передавал усиленный сигнал данных в направлении передачи на сторону приема.
Варианты дополнительных технических решений одночастотной системы полудуплексной связи описаны ниже.
Устройство определения направления передачи включает в себя два детектора, выполненных с возможностью определения мощности сигналов данных, передаваемых соответственно в двух направлениях передачи; и сравнивающее устройство, выполненное с возможностью определения направления передачи путем сравнения мощностей, определенных соответственно двумя детекторами.
Устройство определения направления передачи дополнительно включает два усилителя (Е и G), выполненных с возможностью усиления мощностей, определенных соответственно двумя детекторами, причем сравнивающее устройство определяет направление передачи путем сравнения мощностей, усиленных посредством усилителей (Е и G).
Устройство определения направления передачи может производить определение направления передачи в соответствии с управляющим сигналом приемопередачи, отправленным с первой стороны связи или со второй стороны связи.
Первая сторона связи или вторая сторона связи включают модулятор, выполненный с возможностью модуляции управляющего сигнала приемопередачи, поданного с первой или второй стороны связи; и смеситель, выполненный с возможностью смешения управляющего сигнала приемопередачи, модулированного посредством модулятора, с сигналом данных и передачи смешанных управляющего сигнала приемопередачи и сигнала данных в двунаправленное усилительное устройство.
Устройство определения направления передачи включает фильтр, выполненный с возможностью выделения управляющего сигнала приемопередачи из сигнала, поданного с первой или второй стороны связи; и демодулятор, выполненный с возможностью демодуляции и выдачи выделенного фильтром управляющего сигнала приемопередачи; причем демодулированный посредством демодулятора управляющий сигнал приемопередачи служит в качестве управляющего сигнала переключения для управления состоянием устройства переключения.
Устройство переключения включает два двухпозиционных однополюсных переключателя, соединенных соответственно с входом и выходом усилителя (С).
Настоящее изобретение дополнительно предлагает способ одночастотной полудуплексной связи, включающий определение направления передачи сигнала данных, подлежащего усилению; усиление сигнала данных в направлении передачи посредством усилителя в соответствии с определенным направлением передачи и передачу усиленного сигнала данных в направлении передачи на сторону приема.
Дополнительные варианты способа описаны далее.
Определение направления передачи включает определение мощности сигналов данных, передаваемых в двух направлениях передачи, и определение направления передачи путем сравнения мощности сигналов данных, передаваемых в двух направлениях передачи.
При определении направления передачи направление передачи может определяться путем использования управляющего сигнала приемопередачи, посылаемого вместе с сигналом данных.
Согласно настоящему изобретению может быть усилен сигнал данных, передаваемый двунаправленно с одной частотой, путем определения направления передачи сигнала данных и усиления сигнала данных, передаваемого в направлении передачи, посредством усилителя в соответствии с определенным направлением передачи.
Краткое описание чертежей
Фиг.1 представляет собой структурную блок-схему полнодуплексной системы связи известного уровня техники.
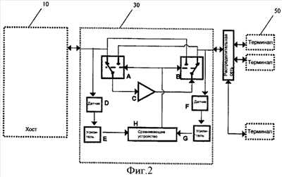
Фиг.2 представляет собой структурную блок-схему одночастотной системы полудуплексной связи согласно первому варианту осуществления настоящего изобретения, где переключатель находится в первом состоянии.
Фиг.3 представляет собой структурную блок-схему одночастотной системы полудуплексной связи согласно первому варианту осуществления настоящего изобретения, где переключатель находится во втором состоянии.
Фиг.4 представляет собой структурную блок-схему одночастотной системы полудуплексной связи согласно второму варианту осуществления настоящего изобретения.
Осуществление изобретения
Далее подробно описаны одночастотная система полудуплексной связи, двунаправленное усиливающее устройство и способ одночастотной полудуплексной связи согласно вариантам осуществления настоящего изобретения со ссылками на фиг.2-4. Система одночастотной полудуплексной связи включает хост 10 (20), двунаправленный усилитель 30 (40) и ряд терминалов 50, при этом ряд терминалов 50 соединен с двунаправленным усилителем 30 (40) через распределительную сеть. Двунаправленный усилитель 30 (40) выполнен с возможностью усиления сигнала данных, подаваемого хостом 10 (20) или терминалом 50, причем хост 10 (20) и терминал 50 не посылают данные одновременно. Двунаправленный усилитель 30 (40) выполняет функцию определения направления передачи и может усиливать передаваемый сигнал данных посредством усилителя С.
Фиг.2 демонстрирует систему одночастотной полудуплексной связи согласно первому варианту осуществления настоящего изобретения. В этом варианте двунаправленный усилитель 30 определяет направление передачи при помощи детектора.
Двунаправленный усилитель 30 включает два детектора D и F, связанные с хостом 10 и терминалом 50 соответственно и выполненные с возможностью определения эффективного значения мощности сигнала данных, передаваемого хостом 10 и терминалом 50; два усилителя Е и G, связанные с детекторами D и F соответственно и выполненные с возможностью усиления эффективного значения мощности на выходе детекторов D и F; сравнивающее устройство Н, выполненное с возможностью определения направления передачи путем сравнения выходов усилителей Е и G и подачи управляющего сигнала переключения; двухпозиционные однополюсные переключатели А и В, выполненные с возможностью переключения состояния в соответствии с управляющим сигналом переключения со сравнивающего устройства Н таким образом, чтобы передать сигнал данных, поданный стороной передачи, на вход усилителя С через двухпозиционный однополюсный переключатель А, при этом усилитель С передает сигнал данных на сторону приема после усиления сигнала данных.
Процесс функционирования системы одночастотной полудуплексной связи согласно первому варианту осуществления настоящего изобретения подробно описан ниже.
Когда хост 10 является стороной передачи, переданный с хоста 10 сигнал данных после определения детектором D передается для усиления в усилитель Е. Сравнивающее устройство Н сравнивает выходные напряжения усилителя Е и усилителя G на двух входах сравнивающего устройства Н. В этот момент, так как хост 10 находится в состоянии передачи, напряжение на выходе усилителя Е очевидно выше, чем напряжение на выходе усилителя G. Сравнивающее устройство Н подает управляющий сигнал переключения согласно такому результату сравнения. Управляющий сигнал переключения передается на двухпозиционные однополюсные переключатели А и В, так что оба двухпозиционных однополюсных переключателя А и В находятся в первом состоянии, как показано на фиг.2. Таким образом, сигнал данных хоста 10 подается в усилитель С через двухпозиционный однополюсный переключатель А и передается в терминал 50 через двухпозиционный однополюсный переключатель В после того, как он был усилен посредством усилителя С.
Когда терминал 50 является стороной передачи, переданный терминалом 50 сигнал данных после определения детектором F передается для усиления в усилитель Е. Сравнивающее устройство Н сравнивает выходные напряжения усилителя Е и усилителя G на двух входах сравнивающего устройства Н и подает управляющий сигнал переключения в соответствии с результатом сравнения, так что оба двухпозиционных однополюсных переключателя А и В находятся во втором состоянии (как показано на фиг.3). Таким образом, сигнал данных терминала 50 подается в усилитель С через двухпозиционный однополюсный переключатель А и передается на хост 10 через двухпозиционный однополюсный переключатель В после того, как он был усилен посредством усилителя С.
Фиг.4 демонстрирует систему одночастотной полудуплексной связи согласно второму варианту осуществления настоящего изобретения. В этом варианте двунаправленный усилитель 40 определяет направление передачи в соответствии с управляющим сигналом приемопередачи с хоста 20. При получении двунаправленным усилителем 40 управляющего сигнала приемопередачи с хоста 20 двунаправленный усилитель 40 определяет, что направлением передачи является направление с хоста 20 к терминалу 50. В случае когда двунаправленный усилитель 40 не принимает управляющий сигнал приемопередачи с хоста 20, двунаправленный усилитель 40 определяет, что направлением передачи является направление с терминала 50 к хосту 20.
В этом варианте осуществления хост 20 включает модулятор J и смеситель К. Когда хост 20 является стороной передачи, модулятор J модулирует управляющий сигнал приемопередачи и посылает модулированный управляющий сигнал приемопередачи в смеситель К. Смеситель К смешивает сигнал данных и модулированный управляющий сигнал приемопередачи в одном кабеле и совместно посылает сигнал данных и модулированный управляющий сигнал в двунаправленный усилитель 40.
Двунаправленный усилитель 40 включает фильтр L, выполненный с возможностью распознавания управляющего сигнала приемопередачи в поданном с хоста 20 сигнале (включающем сигнал данных и управляющий сигнал приемопередачи); демодулятор М, выполненный с возможностью демодуляции распознанного фильтром L управляющего сигнала приемопередачи; двухпозиционные однополюсные переключатели А и В, выполненные с возможностью переключения состояния в соответствии с демодулированным посредством демодулятора М управляющим сигналом приемопередачи с тем, чтобы передать поданный стороной передачи сигнал данных на вход усилителя С через двухпозиционный однополюсный переключатель А, при этом усилитель С передает сигнал данных на сторону приема через двухпозиционный однополюсный переключатель В после усиления сигнала данных. Двухпозиционные однополюсные переключатели А, В и усилитель С в этом варианте осуществления являются теми же, что и в первом варианте.
Когда демодулятор М выдает управляющий сигнал приемопередачи, оба двухпозиционных однополюсных переключателя А и В находятся в первом состоянии, как показано на фиг.4. Когда демодулятор М не выдает управляющий сигнал приемопередачи, оба двухпозиционных однополюсных переключателя А и В находятся во втором состоянии.
Процесс функционирования системы одночастотной полудуплексной связи согласно второму варианту осуществления настоящего изобретения подробно описан ниже.
Когда хост 20 является стороной передачи, то хост 20 посылает совместно сигнал данных и модулированный управляющий сигнал приемопередачи в двунаправленный усилитель 40 через модулятор J и смеситель К. Фильтр L двунаправленного усилителя 40 выделяет управляющий сигнал приемопередачи в поданном с хоста 20 сигнале и посылает управляющий сигнал приемопередачи в демодулятор М. Демодулятор М управляет двухпозиционными однополюсными переключателями А и В после демодуляции управляющего сигнала приемопередачи таким образом, что оба двухпозиционных однополюсных переключателя А и В находятся в первом состоянии, как показано на фиг.3. Таким образом, сигнал данных хоста 20 подается в усилитель С с помощью двухпозиционного однополюсного переключателя А и передается на терминал 50 через двухпозиционный однополюсный переключатель В после усиления посредством усилителя С.
Когда терминал 50 является стороной передачи, поскольку фильтр L не обнаруживает управляющий сигнал приемопередачи, оба двухпозиционных однополюсных переключателя А и В находятся во втором состоянии. Таким образом, сигнал данных терминала 50 подается в усилитель С через двухпозиционный однополюсный переключатель А и передается на хост 20 через двухпозиционный однополюсный переключатель В после усиления посредством усилителя С.
В этом варианте осуществления управление изменением состояния переключателя может также осуществляться посредством управляющего сигнала приемопередачи, подаваемого терминалом 50. Суть здесь аналогична случаю управления изменением состояния переключателя с помощью управляющего сигнала приемопередачи, поданного хостом 20, так что не будет подробно повторно описываться.
Согласно техническому решению вариантов осуществления настоящего изобретения направление передачи определяется путем определения интенсивности сигналов данных, посылаемых с хоста или с терминала в двунаправленный усилитель, или путем распознавания управляющего сигнала приемопередачи, поданного хостом; и переключатель переключается в соответствии с определенным направлением передачи с целью усиления переданного сигнала данных посредством усилителя, для того чтобы двунаправленные сигналы можно было передавать с одной и той же частотой, а заполнение полосы частот составляло только половину от заполнения полосы частот в уровне техники. Поскольку передается управляющий сигнал, способ модуляции прост и мало заполнение полосы частот. Дополнительно в настоящем изобретении для усиления сигналов данных в обоих направлениях используется только один усилитель, что снижает затраты.
Специалистам в данной области техники будут очевидны дополнительные преимущества и модификации. Таким образом, в широком смысле настоящее изобретение не ограничено конкретными деталями и примерными вариантами осуществления, показанными и описанными здесь. Соответственно, различные модификации и изменения могут быть сделаны, не отступая от духа изобретения и не выходя за пределы объема охраны настоящего изобретения, охарактеризованного прилагаемой формулой изобретения и ее эквивалентами.
Формула изобретения
1. Двунаправленное усилительное устройство, включающее усилитель (С), для усиления сигнала данных, передаваемого в двух направлениях на одной частоте, содержащее устройство определения направления передачи, выполненное с возможностью определения мощности сигналов данных, передаваемых соответственно в двух направлениях передачи, и сравнения двух мощностей для определения направления передачи сигнала данных, поступающего в двунаправленное усилительное устройство, а также с возможностью подачи управляющего сигнала переключения в соответствии с определенным направлением передачи; и устройство переключения, выполненное с возможностью переключения состояния соединения в соответствии с управляющим сигналом переключения таким образом, чтобы усилитель (С) усиливал сигнал данных в направлении передачи и передавал усиленный сигнал данных в направлении передачи на сторону приема.
2. Устройство по п.1, отличающееся тем, что устройство определения направления передачи содержит два детектора, выполненных с возможностью определения мощности сигналов данных, передаваемых соответственно в двух направлениях передачи; и сравнивающее устройство, выполненное с возможностью сравнения мощностей, определенных двумя детекторами, для определения направления передачи и подачи управляющего сигнала переключения.
3. Устройство по п.2, отличающееся тем, что устройство определения направления передачи дополнительно содержит два усилителя (Е и G), выполненных с возможностью усиления мощностей, определенных соответственно двумя детекторами, причем сравнивающее устройство определяет направление передачи путем сравнения мощностей, усиленных посредством усилителей (Е и G).
4. Устройство по любому из пп.1-3, отличающееся тем, что устройство переключения содержит два двухпозиционных однополюсных переключателя, соединенных соответственно с входом и выходом усилителя (С).
5. Система одночастотной полудуплексной связи, включающая, по меньшей мере, одну первую сторону связи, по меньшей мере, одну вторую сторону связи и двунаправленное усилительное устройство между первой стороной связи и второй стороной связи, причем двунаправленное усилительное устройство содержит усилитель (С), устройство определения направления передачи, выполненное с возможностью определения мощности сигналов данных, передаваемых соответственно в двух направлениях передачи, и сравнения двух мощностей для определения направления передачи сигнала данных, поступающего в двунаправленное усилительное устройство, а также с возможностью подачи управляющего сигнала переключения в соответствии с определенным направлением передачи; и устройство переключения, выполненное с возможностью переключения состояния соединения в соответствии с управляющим сигналом переключения таким образом, чтобы усилитель (С) усиливал сигнал данных в направлении передачи и передавал усиленный сигнал данных в направлении передачи на сторону приема.
6. Система по п.5, отличающаяся тем, что устройство определения направления передачи содержит два детектора, выполненных с возможностью определения мощности сигналов данных, передаваемых соответственно в двух направлениях передачи; и сравнивающее устройство, выполненное с возможностью определения направления передачи путем сравнения мощностей, определенных соответственно двумя детекторами.
7. Система по п.6, отличающаяся тем, что устройство определения направления передачи дополнительно содержит два усилителя (Е и G), выполненных с возможностью усиления мощностей, определенных соответственно двумя детекторами, причем сравнивающее устройство определяет направление передачи путем сравнения мощностей, усиленных посредством усилителей (Е и G).
8. Система по любому из пп.5-7, отличающаяся тем, что устройство переключения содержит два двухпозиционных однополюсных переключателя, соединенных соответственно со входом и выходом усилителя (С).
9. Способ одночастотной полудуплексной связи, в котором определяют направление передачи сигнала данных, подлежащего усилению, путем определения мощности сигналов данных, передаваемых соответственно в двух направлениях передачи, и сравнения двух мощностей; усиливают сигнал данных в направлении передачи посредством усилителя в соответствии с определенным направлением передачи и передают усиленный сигнал данных в направлении передачи на сторону приема.
РИСУНКИ
|