|
(21), (22) Заявка: 2009103163/09, 02.02.2009
(24) Дата начала отсчета срока действия патента:
02.02.2009
(46) Опубликовано: 10.03.2010
(56) Список документов, цитированных в отчете о поиске:
ЕР 1028482 A3, 16.08.2000. RU 2200359 С1, 10.03.2003. RU 2004110756 А, 10.10.2005. RU 2265262 С1, 27.11.2005. RU 2003129988 А, 10.04.2005. US 5117595 А, 02.06.1992. ЕР 0370314 А2, 30.05.1990. GB 1315794 А, 02.05.1973.
Адрес для переписки:
644099, Омск-99, а/я 91, ООО “Патентное агентство”, пат.пов. Т.А.Шишуриной, рег. 551
|
(72) Автор(ы):
Скорына Галина Дмитриевна (RU), Матвеев Владимир Николаевич (RU), Пожидаева Ирина Петровна (RU)
(73) Патентообладатель(и):
Открытое акционерное общество Омское производственное объединение “Радиозавод имени А.С. Попова” (РЕЛЕРО) (RU)
|
(54) ПОДЪЕМНОЕ УСТРОЙСТВО ДЛЯ АНТЕННОЙ МАЧТЫ
(57) Реферат:
Изобретение относится к антенной технике и предназначено для использования в мобильных антенных установках и комплексах подвижной радиосвязи. Техническим результатом является улучшение эксплуатационных характеристик и исключение возможности соударения мачты с бортом транспортного средства при ее установке. Устройство содержит подвижную поворотную консоль, опору для консоли в виде вертикальной оси, закрепленной на основании, выполненном с возможностью закрепления на транспортном средстве, и хомут для мачты, закрепленный на свободном конце консоли с возможностью поворота в вертикальной плоскости. Закрепление хомута на консоли осуществлено посредством фрикционной муфты. Корпус муфты смонтирован на свободном конце консоли с возможностью поворота относительно него в горизонтальной плоскости. При этом устройство снабжено двумя шарнирно сочлененными между собой тягами, свободный конец одной из которых жестко связан с корпусом, а свободный конец другой шарнирно соединен с основанием вертикальной оси с образованием между тягами и консолью механизма типа пантографа. 5 з.п. ф-лы, 6 ил.
Известно подъемное устройство для антенной мачты, содержащее основание, выполненное с возможностью закрепления на платформе транспортного средства, опорные элементы для мачты и механизм ее подъема из транспортного горизонтального положения в рабочее вертикальное положение (патент 2200359, МПК: H01Q 1/10, опубл. 2003.03.10). Возможность закрепления устройства на транспортном средстве позволяет использовать его в передвижных мобильных радиокомплексах. Недостатком известного устройства является невозможность установки мачты за пределами транспорта. Мачта как в транспортном, так и в рабочем поднятом положении оперта на платформу транспортного средства, вследствие чего необходимо оснащение последнего дополнительными опорами и средствами горизонтирования. Кроме того, подъем мачты осуществляют путем ее поворота в вертикальной плоскости вокруг шарнира, устроенного у основания, что требует применения мощного силового привода.
Недостатком упомянутого устройства является необходимость фиксации хомута или, напротив, ослабления этой фиксации для возможности его поворота, которая осуществляется вручную путем поворота соответствующей ручки-рычага управления. Необходимость обеспечения доступа к упомянутому рычагу управления усложняет эксплуатацию устройства, ограничивает возможности установки устройства на больших транспортных средствах, например автомобилях с будкой. Кроме того, телескопическое выполнение консоли ухудшает эксплуатационные характеристики устройства, особенно в условиях морозов и плохих погодных условий.
Раскрытие изобретения
Задачей заявляемого изобретения является улучшение эксплуатационных характеристик подъемного устройства, позволяющего удерживать мачту в процессе ее транспортировки, осуществлять подъем мачты в вертикальное положение с ее установкой на грунт или другое основание, и исключающего соударение мачты с бортом транспортного средства при этой установке.
Техническими результатами заявляемого изобретения являются: возможность дистанционного управления поворотом хомута, что облегчает эксплуатацию устройства, повышение эксплуатационной надежности устройства и расширение его эксплуатационных возможностей.
Решение поставленной задачи и достижение упомянутых технических результатов обеспечено тем, что в подъемном устройстве для антенной мачты, содержащем подвижную консоль, опору для этой консоли, выполненную с возможностью закрепления на транспортном средстве, и хомут для мачты, закрепленный на свободном конце консоли с возможностью поворота в вертикальной плоскости, согласно заявляемому изобретению опора выполнена в виде вертикальной оси, закрепленной на основании, консоль установлена на этой оси с возможностью поворота относительно нее в горизонтальной плоскости, закрепление хомута осуществлено посредством фрикционной муфты, корпус которой смонтирован на свободном конце консоли с возможностью поворота относительно него в горизонтальной плоскости, при этом устройство снабжено двумя шарнирно сочлененными между собой тягами, свободный конец одной из которых жестко связан с корпусом, а свободный конец другой шарнирно соединен с основанием вертикальной оси с образованием между тягами и консолью механизма типа пантограф.
Выполнение подвижной консоли в виде поворотной консоли, шарнирно закрепленной на вертикальной оси, позволило упростить изготовление устройства, повысить эксплуатационную надежность консольного узла: уменьшить его зависимость от климатических условий, загрязненности и т.д, за счет чего улучшить эксплуатационные характеристики устройства в целом.
Закрепление хомута на свободном конце консоли посредством фрикционной муфты позволило исключить необходимость ручной фиксации хомута относительно консоли. Поворот консоли, обеспечивающий вывод мачты за борт транспортного средства, и разворот хомута с мачтой в вертикальное положение осуществляются дистанционно, для чего может быть использована, например веревка. Фрикционная муфта обеспечивает плавность поворота хомута и его самоторможение после снятия приводных усилий.
Возможность упомянутого дистанционного управления и исключение необходимости организации доступа к узлу закрепления хомута на консоли позволили не только облегчить процесс установки мачты «на грунт», но и обеспечили возможность установки заявляемого устройства на любых по высоте транспортных средствах без ухудшения эксплуатационных характеристик устройства.
В заявляемом устройстве применено принципиально отличное от прототипа конструктивное исполнение консольного узла: в виде поворотного механизма, в связи с чем возникла опасность соударения мачты с бортом транспортного средства при ее установке.
Упомянутая опасность была устранена, благодаря созданию механизма типа «пантограф», образованного за счет закрепления корпуса (неподвижной части) муфты на свободном конце консоли с возможностью поворота относительно него в горизонтальной плоскости, и введения пары шарнирносочлененных тяг.
В основе механизма «пантографа» лежит шарнирный параллелограмм. В заявляемом устройстве сторонами такого параллелограмма являются две тяги, консоль и участок основания между вертикальной осью консоли и местом закрепления на основании тяги. Шарниры параллелограмма образуют: шарнирная опора консоли, шарнирное сочленение тяг, шарнирное закрепление одной из тяг на основании и шарнирное закрепление корпуса на конце консоли.
Наличие механизма пантографа в устройстве позволяет независимо от положения консоли обеспечить постоянную ориентацию корпуса, а значит и закрепленного на нем хомута с мачтой. Мачта всегда сориентирована параллельно плоскости борта транспортного средства, около которого происходит установка мачты, независимо от угла поворота консоли, что позволяет исключить возможность ее соударения с этим бортом в процессе разворота в вертикальной плоскости. Это позволяет осуществить качественную установку мачты в различных условиях на любом грунте.
Таким образом заявляемое устройство позволяет выполнить те же функции, что и устройство в прототипе, а именно обеспечивает удержание мачты в процессе ее транспортировки к месту установки, обеспечивает подъем и установку мачты на грунт или другое основание и исключает возможность соударения мачты с бортом транспортного средства, и при этом имеет более высокие эксплуатационные характеристики.
Закрепление мачты в рабочем вертикальном положении может быть осуществлено любым известным методом.
Хомут, продолжая охватывать ствол установленной мачты, может выполнять функцию дополнительной опоры для мачты.
Возможность поворота корпуса в горизонтальной плоскости может быть реализована за счет его установки на вертикальной оси, закрепленной в проушинах кронштейна, выполненного на свободном конце консоли.
Для фиксации консоли в рабочем и транспортном положениях служит установленный на основании фиксатор.
В конкретном случае исполнения устройства тяги выполнены в виде полых рычагов изогнутой формы, что также улучшает их эксплуатационные характеристики. Конкретная форма исполнения рычагов связана с конструктивным исполнением основания и других элементов устройства.
Заявляемое подъемное устройство предназначено, преимущественно, для мачт, имеющих трубчатый корпус: цельный либо телескопический
Устройство может быть установлено на автомобилях, имеющих будку или теплый кузов (кунг), позволяющих организовать целый комплекс подвижной радиосвязи быстрого развертывания. Такие автомобили наиболее широко используются для военных, экспедиционных, вахтовых и прочих целей, требующих организации связи. Устройство закрепляется на крыше кунга, при этом вследствие простоты и минимальных размеров конструкции обеспечено оптимальное использование пространства на крыше транспортного средства.
Упомянутое выше преимущественное использование устройства не ограничивает возможностей иного закрепления устройства, например, на платформе другого колесного или гусеничного транспорта.
Для облегчения конструкции предпочтительным является изготовление элементов устройства с использованием перфорированных материалов: листового, уголкового и таврового проката, а также использование полых труб. Такое исполнение элементов устройства позволяет максимально облегчить конструкцию, что особенно важно при закреплении устройства на крыше транспортного средства. В то же время, конструкция является достаточно прочной и жесткой, что обеспечивает надежность работы устройства.
Краткое описание чертежей
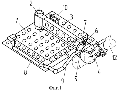
Конструкция заявляемого подъемного устройства и его работа поясняются чертежами, где на фиг.1 – приведен общий вид устройства, изометрия;
на фиг.2 – сечение А-А с фиг.1, показан узел крепления хомута на свободном конце консоли;
на фиг.3 – схематично показано устройство, установленное на транспортном средстве, вид сверху, транспортное положение;
на фиг.4 – то же, консоль в рабочем положении, перпендикулярно борту транспортного средства, мачта расположена параллельно борту;
на фиг.5 – то же, показан пример отклонения консоли от перпендикулярного положения;
На фиг.6 – устройство в рабочем положении, общий вид, изометрия.
Осуществление изобретения
Подъемное устройство содержит (см. фиг.1) основание 1 с жестко закрепленной на нем вертикальной осью 2, консоль 3, установленную на оси 2 с возможностью поворота в горизонтальной плоскости, и хомут 4, закрепленный на свободном конце консоли 3 посредством фрикционной муфты, корпус 5 которой смонтирован на вертикальной оси 6, закрепленной в проушинах кронштейна 7, выполненного на свободном конце консоли 3. Корпус 5 имеет возможность вращения в горизонтальной плоскости относительно конца консоли 3. В результате хомут 4 имеет две степени подвижности относительно консоли 3: возможность поворота в вертикальной и в горизонтальной плоскостях.
Возможное исполнение узла крепления хомута 4 показано на фиг.2. Фрикционная муфта удерживает хомут 4 от осевого перемещения, при этом он имеет возможность вращения в вертикальной плоскости, перпендикулярной плоскости консоли 3.
Устройство включает пару шарнирно сочлененных между собой полых рычагов – тяг 8 и 9. Свободный конец тяги 8 шарнирно закреплен на основании 1, а свободный конец тяги 9 жестко связан с корпусом 5. Рычаги 8 и 9 образуют вместе с основанием 1 и консолью 3 механизм «пантографа».
На основании 1 смонтирован поворотный фиксатор 10 для фиксации консоли 3 в ее транспортном и рабочем положениях.
Устройство работает следующим образом.
Основание 1 со смонтированными на нем остальными элементами устройства закрепляют на крыше кузова транспортного средства 11. Мачту 12 (на чертеже показана условно) размещают и закрепляют в хомуте 4. В транспортном положении (см. фиг.3) мачта 12 удерживается хомутом 4, располагаясь на крыше транспортного средства в горизонтальном положении, параллельно продольному борту 13 транспорта. Консоль 3 также стремится к параллельности с упомянутым бортом, и зафиксирована в этом положении посредством фиксатора 10.
Посредством транспортного средства 11 перемещают устройство к месту развертывания. Поворотом консоли 3 на 90 градусов (см. фиг.4) выводят мачту 12 в горизонтальном положении за пределы транспортного средства 11. При этом тяги 8 и 9 удерживают корпус 5 таким образом, что мачта 12 независимо от положения консоли 3 сориентирована параллельно плоскости борта 13 транспортного средства 11. Поворотом хомута 4 с мачтой 12 переводят последнюю в вертикальное положение. Благодаря тому, что предварительно была выдержана параллельность мачты 12 борту 13 транспортного средства, исключена возможность ее соударения с этим бортом во время разворота в вертикальное положение.
На фиг.5 показан случай, когда консоль 3 отклонена от перпендикулярного борту 13 положения. В этом случае также работает механизм пантографа: тяги 8 и 9 удерживают корпус 5, обеспечивая параллельность мачты 12 борту 13 транспортного средства 11 и предохраняя мачту от соударения в процессе ее разворота.
Для установки мачты на грунт ослабляют хомут 4, и мачта 12 под действием силы тяжести опускается на грунт, при этом хомут 4 выполняет роль направляющего и поддерживающего элемента, обеспечивая мачте 12 дополнительную опору (см. фиг.6). Свертывание мачты осуществляется в обратном порядке.
Таким образом, заявляемое устройство обеспечивает надежное удержание мачты в процессе транспортировки и оперативное развертывание и свертывание мачты с установкой на грунт, в том числе на неподготовленную поверхность.
Заявляемый подъемник имеет простую и надежную конструкцию, как в изготовлении, так и в обслуживании, характеризующуюся качественной работой в любых климатических условиях.
Устройство характеризуется низкими затратами времени и сил на установку, высокой безопасностью работ.
Формула изобретения
1. Подъемное устройство для антенной мачты, содержащее подвижную консоль, опору для этой консоли, выполненную с возможностью закрепления на транспортном средстве, и хомут для мачты, закрепленный на свободном конце консоли с возможностью поворота в вертикальной плоскости, отличающееся тем, что опора выполнена в виде вертикальной оси, закрепленной на основании, консоль установлена на этой оси с возможностью поворота относительно нее в горизонтальной плоскости, закрепление хомута осуществлено посредством фрикционной муфты, корпус которой смонтирован на свободном конце консоли с возможностью поворота относительно него в горизонтальной плоскости, при этом устройство снабжено двумя шарнирно сочлененными между собой тягами, свободный конец одной из которых жестко связан с корпусом, а свободный конец другой шарнирно соединен с основанием вертикальной оси с образованием между тягами и консолью механизма типа пантографа.
2. Устройство по п.1, отличающееся тем, что возможность поворота корпуса реализована путем его установки на вертикальной оси, закрепленной в проушинах кронштейна, выполненного на свободном конце консоли.
3. Устройство по п.1, отличающееся тем, что консоль выполнена с возможностью фиксации в рабочем и транспортном положениях.
4. Устройство по п.1, отличающееся тем, что в качестве транспортного средства использована машина с будкой или закрытым кузовом, причем основание закреплено на крыше будки или кузова.
5. Устройство по п.1, отличающееся тем, что тяги выполнены в виде полых рычагов изогнутой формы.
6. Устройство по п.1, отличающееся тем, что элементы устройства выполнены облегченными за счет их изготовления из перфорированного листового и/или углового проката и труб.
РИСУНКИ
|