|
|
(21), (22) Заявка: 2008129131/28, 27.12.2005
(24) Дата начала отсчета срока действия патента:
27.12.2005
(46) Опубликовано: 10.03.2010
(56) Список документов, цитированных в отчете о поиске:
US 2762397 А, 11.09.1956. US 4253491 A, 03.03.1981. US 6390122 B1, 21.05.2002. FR 1353999 A, 28.02.1964. RU 2191036 С2, 20.10.2002. RU 99103683 A, 10.12.2000.
(85) Дата перевода заявки PCT на национальную фазу:
28.07.2008
(86) Заявка PCT:
IL 2005/001382 20051227
(87) Публикация PCT:
WO 2007/074428 20070705
Адрес для переписки:
191036, Санкт-Петербург, а/я 24, “НЕВИНПАТ”, пат.пов. А.В.Поликарпову
|
(72) Автор(ы):
КЕРЕН Рон (IL)
(73) Патентообладатель(и):
Нетафим Лтд. (IL)
|
(54) РЕГУЛЯТОР ПОТОКА ТЕКУЧЕЙ СРЕДЫ
(57) Реферат:
Изобретение относится к регуляторам потока текучей среды. Регулятор потока текучей среды содержит впускное отверстие для текучей среды и выпускное отверстие для текучей среды, по меньшей мере один управляющий потоком канал с открытой поверхностью, ограниченный плоским дном и двумя боковыми стенками, сообщающийся с выпускным отверстием в месте соединения и имеющий поперечное сечение, которое уменьшается с увеличением расстояния от указанного места соединения, упругую диафрагму, опорную полку, на которой помещена диафрагма. Причем для регулирования потока текучей среды при увеличивающемся давлении текучей среды на входе диафрагма закрывает участки открытой поверхности, которые расположены дальше от указанного места соединения, в области, в которой поперечное сечение уменьшается с увеличением расстояния от места соединения. Технический результат направлен на улучшение конструкции устройства, которая обеспечивает улучшенное управление потоком текучей среды. 8 з.п. ф-лы, 7 ил.
ОБЛАСТЬ ИЗОБРЕТЕНИЯ
Изобретение относится к регуляторам потока текучей среды.
ПРЕДПОСЫЛКИ ИЗОБРЕТЕНИЯ
Регуляторы потока текучей среды, в частности регуляторы, используемые для управления потоком воды в системах орошения, часто управляют потоком воды путем управления сопротивлением потоку воды через по меньшей мере один относительно небольшой канал управления потоком. Относительно небольшие регуляторы потока воды, используемые для оросительных применений, обычно обеспечивают отрегулированные расходы между около 10 и 100 л/ч и содержат элементы, обычно выполненные из пластмассы путем отливки под давлением.
Регуляторы обычно содержат вход и выход, через которые вода соответственно входит в регулятор и выходит из него, и упругую диафрагму, которая препятствует тому, чтобы вода, которая поступила на входе, проходила сразу к выходу. Вход и выход обычно расположены таким образом, что они обращены друг к другу, а диафрагма помещена на опорной полке и расположена между ними. Диафрагма вынуждает ту воду, которая поступает в регулятор, пройти через по меньшей мере один канал управления потоком для того, чтобы эта вода достигла выхода и вытекла наружу из регулятора. Диафрагма чувствительна к давлению поступающей воды, и если давление воды на входе возрастает, то диафрагма испытывает увеличенную деформацию. Диафрагма и по меньшей мере один канал управления течением выполнены так, что если деформация увеличивается, то сопротивление потоку по меньшей мере одного канала для потока увеличивается по существу пропорционально давлению воды на входе. В результате количество воды, которое проходит через регулятор, по существу независимо от изменений давления воды на входе.
В общем случае по меньшей мере один канал управления потоком представляет собой канал для потока с открытой поверхностью, ограниченный дном и двумя боковыми стенками. Глубина канала в любом месте вдоль длины канала определена как высота боковых стенок в этом месте. В процессе работы диафрагма деформируется с увеличением входного давления для компенсации увеличенной длины открытой поверхности канала, далее называемой «длина накрытия». Вода вынуждена проходить через длину накрытия канала, чтобы достичь выхода, и поскольку длина накрытия увеличивается с увеличением давления на входе, то сопротивление канала потоку воды также увеличивается.
В некоторых регуляторах, по мере того как диафрагма деформируется с увеличивающимся давлением на входе, диафрагма сначала закрывает открытую поверхность канала потока в месте, далее в данном документе обозначаемом как «соединение», в котором канал сообщается с выходом. По мере того как давление на входе увеличивается, происходит увеличение деформации диафрагмы, и она закрывает открытую поверхность канала на все более и более значительные расстояния от соединения и в местах, более близких к опорной полке. Длина накрытия канала проходит от соединения и увеличивается с увеличением давления на входе, в направлении от выхода к опорной полке.
Тем не менее, по мере того как деформация диафрагмы регулятора приближается к опорной полке, скорость деформации диафрагмы с увеличением давления воды на входе отступает от линейной зависимости и уменьшается с увеличением входного давления. В результате скорость увеличения длины накрытия открытой поверхности указанного по меньшей мере одного канала потока как функция увеличения давления на входе в общем случае понижается с увеличением давления на входе. Если канал имеет равномерное поперечное сечение, то его сопротивление потоку увеличивается с по существу постоянной скоростью с увеличением длины накрытия и регулятор обычно должен быть изготовлен относительно крупным, так что для диапазона давлений на входе, для которых используется регулятор, сопротивление потоку по меньшей мере одного канала увеличивается по существу линейно с увеличением давления на входе.
Были изготовлены регуляторы меньшего размера, в которых по мере того, как диафрагма деформируется с увеличением давления на входе, она сначала закрывает открытую поверхность канала потока рядом с опорной полкой, и, по мере того как увеличивается давление на входе, диафрагма деформируется для того, чтобы последовательно закрывать области открытой поверхности канала, более близкие к соединению и более удаленные от опорной полки. Длина накрытия канала проходит от области, находящейся рядом с опорной полкой, и увеличивается с увеличением давления на входе в направлении к выходу и от опорной полки, а не в направлении от выхода к опорной полке.
Для этих регуляторов канал для потока выполнен так, что в областях, более близких к опорной полке, открытая поверхность канала расположена ближе к диафрагме, чем в областях, более близких к выходу, и канал шире и мельче в областях, более близких к опорной полке, чем в областях, более близких к выходу. Канал становится постепенно более широким и более мелким на расстояниях, более удаленных от входа, а сопротивление канала потоку на единицу длины канала увеличивается с увеличивающимся расстоянием от входа, далее называемым как «длина канала». Уменьшающаяся с увеличением расстояния глубина канала непосредственно уменьшает поперечное сечение с увеличением расстояния. Увеличивающаяся ширина канала увеличивает поперечное сечение канала с увеличением расстояния. Тем не менее, в процессе работы увеличение ширины в основном приводит к уменьшающемуся поперечному сечению канала с расстоянием канала, так как в более широких частях канала диафрагма вдавливается на большее расстояние в канал и «сдавливает» поперечное сечение больше, чем в более узких частях канала.
Несмотря на то что создание управляющих потоком каналов с уменьшающейся глубиной и увеличивающейся шириной позволяет изготавливать регуляторы потока меньших размеров, соотношения между глубиной канала, шириной канала и характеристиками диафрагмы являются относительно сложными, и модификация форм для литья под давлением, используемых для производства регуляторов, с целью изменения скоростей потока, которые они обеспечивают, часто представляет собой кропотливую и относительно дорогую работу. Кроме того, так как каналы становятся постепенно более узкими на расстояниях, более близких к соединению, т.е. при меньших длинах канала, то каналы склонны к закупорке грязью и частицами твердых веществ, переносимых водой. Кроме того, при более высоких давлениях воды на входе функционирование регуляторов в регулировании потока воды является относительно чувствительным к изменениям характеристик диафрагмы, например упругости и толщины.
Патент США 4796180, описание которого включено в настоящий документ посредством ссылки, описывает ротационный разбрызгиватель для орошения, содержащий регулятор управления потоком, имеющий упругую диафрагму для управления скоростью потока. Патент США 5279462, описание которого включено в настоящий документ посредством ссылки, описывает блок управления потоком текучей среды, содержащий пластмассовые элементы, полученные литьем под давлением, которые выполнены для обеспечения улучшенного монтажа с использованием процесса ультразвуковой сварки.
СУЩНОСТЬ ИЗОБРЕТЕНИЯ
Аспект некоторых вариантов выполнения изобретения относится к выполнению регулятора потока текучей среды, содержащего упругую диафрагму и улучшенную конструкцию по меньшей мере одного канала управления потоком с открытой поверхностью. Улучшенная конструкция обеспечивает улучшенное управление потоком текучей среды и позволяет формам для литья под давлением, используемым для производства регулятора, быть относительно легче модифицируемыми для изменения регулируемого потока, который обеспечивает регулятор.
Согласно аспекту некоторых вариантов выполнения изобретения регулятор содержит опорную полку, на которой помещена диафрагма и которая поддерживает диафрагму вдоль плоского контура, и по меньшей мере один канал управления потоком с открытой поверхностью, имеющий поперечное сечение, уменьшающееся с длиной канала. Этот по меньшей мере один канал управления потоком ограничен плоским дном, параллельным плоскому контуру, и двумя боковыми стенками.
Согласно аспекту некоторых вариантов выполнения изобретения канал имеет по существу равномерную глубину вдоль его длины, его боковые стенки сходятся друг к другу так, что канал сужается с длиной канала, а поперечное сечение канала уменьшается с длиной канала по существу только пропорционально сужению канала. Скорость увеличения сопротивления канала потоку как функция длины накрытия канала, следовательно, увеличивается с увеличением длины накрытия и, соответственно, давления на входе. Сужение указанного по меньшей мере одного канала, в соответствии с вариантом выполнения изобретения, компенсирует уменьшение скорости увеличения длины накрытия с давлением на входе и ослабляет зависимость выходного потока текучей среды, предусмотренного регулятором, от входного давления текучей среды.
В качестве одного из возможных вариантов указанный по меньшей мере один канал для потока содержит несколько каналов для потока, а донья всех каналов для потока находятся в одной плоскости. В одном варианте выполнения изобретения скорость, с которой указанный по меньшей мере один канал сужается, как функция расстояния, т.е. длины канала вдоль канала от соединения, согласуется с характеристиками диафрагмы и режимом давления, при которых регулятор предусмотрен работать, так что сопротивление потоку текучей среды является по существу пропорциональным давлению текучей среды на входе.
В любой заданной точке вдоль указанного по меньшей мере одного канала угол между боковыми стенками, под которым боковые стенки сходятся на длине канала, обозначается как «угол сходимости». Кроме того, ширина указанного по меньшей мере одного канала как функция длины канала является линейно уменьшающейся функцией длины канала, при этом стенки сходятся с постоянным углом сходимости. В некоторых вариантах выполнения изобретения значение угла сходимости находится в диапазоне между около 10° и 50°.
Автор изобретения установил, что для некоторых диапазонов скоростей потока на выходе, обычно используемых в применениях для орошения, регулируемая скорость потока, обеспечиваемая регулятором, в соответствии с вариантом выполнения изобретения, может быть легко отрегулирована за счет регулирования по существу только глубины каналов этого регулятора потока. Увеличение глубины увеличивает скорость потока на выходе регулятора, а уменьшение глубины уменьшает скорость потока на выходе, причем увеличение или уменьшение глубины канала по существу не оказывает влияния на функцию регулирования этого регулятора. В некоторых случаях, для которых изменение глубины изменяет регулирование скорости потока, последнее может в общем случае быть улучшено удовлетворительным образом путем относительно легко осуществимого изменения угла сходимости боковых стенок.
В предположении, что каналы для потока в регуляторе выполнены отливанием под давлением, поскольку дно каждого указанного по меньшей мере одного канала является плоским и лежит в той же плоскости, параллельной опорной полке диафрагмы, форма для литья под давлением, используемая для выполнения каналов, может часто относительно легко регулироваться для регулировки глубины канала. Например, в процессе отливания под давлением каналы для потока образуются выступами, имеющимися в литейной форме, которые имеют очертания поверхности, обратные очертаниям формы поверхности указанного по меньшей мере одного канала. Предполагается, что регулятор выполнен с относительно глубокими управляющими потоком каналами и обеспечивает отрегулированную скорость потока на выходе, которая является слишком высокой. Литейная форма, используемая для производства каналов регулятора, может относительно легко быть модифицирована для понижения скорости потока за счет снятия путем фрезерования необходимого количества материала выступов каналов для потока таким образом, что литейная форма создает более мелкие управляющие потоком каналы.
Следовательно, в соответствии с вариантом выполнения изобретения выполнен регулятор потока текучей среды, содержащий: входное отверстие для текучей среды и выходное отверстие для текучей среды; по меньшей мере, один управляющий потоком канал с открытой поверхностью, ограниченный плоским дном и двумя боковыми стенками, который сообщается с выходным отверстием в соединении и имеет поперечное сечение, которое уменьшается с расстоянием от соединения; упругую диафрагму; опорную полку, на которой помещена диафрагма и которая поддерживает диафрагму вдоль плоского контура, параллельного дну каждого из указанного по меньшей мере одного канала; в котором для регулирования потока текучей среды, при увеличивающемся давлении текучей среды на входе, диафрагма закрывает участки открытой поверхности, которые расположены дальше от соединения в области, в которой поперечное сечение уменьшается с расстоянием от соединения.
В качестве одного из вариантов указанный по меньшей мере один управляющий потоком канал с открытой поверхностью содержит несколько каналов. Кроме того, днища по меньшей мере двух управляющих потоком каналов лежат в одной плоскости.
В некоторых вариантах выполнения изобретения боковые стенки сходятся по направлению друг к другу с расстоянием от соединения. Кроме того, боковые стенки сходятся с расстоянием вдоль указанного по меньшей мере одного канала для потока с постоянным углом сходимости.
В некоторых вариантах выполнения изобретения боковые стенки различных управляющих потоком каналов в указанном по меньшей мере одном управляющем потоком канале сходятся при отличающихся постоянных углах сходимости. В некоторых вариантах выполнения изобретения боковые стенки различных управляющих потоком каналов в указанном по меньшей мере одном управляющем потоком канале сходятся при одном и том же постоянном значении угла сходимости.
В некоторых вариантах выполнения изобретения боковые стенки имеют равномерную высоту вдоль длины указанного по меньшей мере одного канала.
Кроме того, в соответствии с вариантом выполнения изобретения выполнен регулятор потока текучей среды, содержащий: входное отверстие для текучей среды и выходное отверстие для текучей среды; по меньшей мере, один управляющий потоком канал с открытой поверхностью, ограниченный плоским дном и двумя боковыми стенками, который сообщается с выходным отверстием в соединении и имеет поперечное сечение, которое уменьшается с расстоянием от соединения; упругую диафрагму; опорную полку, на которой помещена диафрагма; в котором для регулирования потоком текучей среды при увеличивающемся давлении текучей среды на входе диафрагма закрывает участки открытой поверхности, которые расположены дальше от соединения, в области, в которой поперечное сечение уменьшается с расстоянием от соединения.
КРАТКОЕ ОПИСАНИЕ ЧЕРТЕЖЕЙ
Не ограничивающие примеры вариантов выполнения настоящего изобретения описаны ниже со ссылками на прилагаемые к данному документу чертежи, которые перечислены ниже. На чертежах идентичные конструкции, элементы или части, которые появляются на более чем одном чертеже, в целом обозначены теми же самыми номерами позиций на всех чертежах, на которых они встречаются. Размеры элементов и деталей, показанных на чертежах, выбраны для удобства и понятности изображения и не обязательно показаны в масштабе.
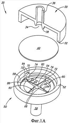
На фиг.1А схематически показан покомпонентный, частично в разрезе, вид регулятора потока текучей среды в соответствии с вариантом выполнения изобретения.
На фиг.1В схематически показан вид в сборе и частично в разрезе регулятора, показанного на фиг.1А, в соответствии с вариантом выполнения изобретения.
На фиг.2А и 2В показаны схематические изображения соответственно вида в аксонометрии и вида в поперечном сечении регулятора, показанного на фиг.1А и 1В, на которых проиллюстрирована деформация диафрагмы в регуляторе при относительно низком давлении, в соответствии с вариантом выполнения изобретения.
На фиг.2С и 2D схематически показаны соответственно вид в аксонометрии и вид в поперечном сечении регулятора, показанного на фиг.2А и 2В, на которых проиллюстрирована деформация диафрагмы в регуляторе при относительно высоком давлении, в соответствии с вариантом выполнения изобретения.
На фиг.3 показано схематическое изображение вставки литейной формы для литья под давлением, используемой для получения каналов для потока в регуляторе, в соответствии с вариантом выполнения настоящего изобретения.
ПОДРОБНОЕ ОПИСАНИЕ ИЛЛЮСТРАТИВНЫХ ВАРИАНТОВ ВЫПОЛНЕНИЯ
На фиг.1А схематически показан покомпонентный и выполненный частично в разрезе вид регулятора 20 управления потоком в соответствии с вариантом выполнения изобретения. На фиг.1В схематически показан вид в сборе и частично в разрезе регулятора 20 управления потоком, показанного на фиг.1А. Для удобства представления предполагается, что регулятор 20 используется для управления потоком воды.
Регулятор 20 в качестве одного из вариантов содержит входной кожух 30, диафрагму 40 и выходной кожух 50. Входной кожух 30 предпочтительно получен отливанием под давлением из подходящей пластмассы как цельный элемент с использованием любых разнообразных способов, известных в данной области техники. Выходной кожух 50 предпочтительно аналогично получен отливанием под давлением как единый цельный элемент.
Входной кожух 30 в качестве одного из вариантов имеет обод 32, впускное отверстие 34 регулятора и входную соединительную трубку 36 любой формы, подходящей для присоединения регулятора к источнику воды. На внутренней поверхности входного кожуха 30, кроме того, выполнена кольцеобразная поддерживающая площадка 38 диафрагмы для поддержания положения диафрагмы 40, когда регулятор 20 собран. В качестве одного из вариантов входной кожух 30 получен отливанием под давлением из подходящей пластмассы как цельный элемент с использованием любых разнообразных способов, известных в данной области техники.
Выходной кожух 50 в качестве одного из вариантов имеет обод 52 и выполнен с выпускным отверстием 54 регулятора и выходной соединительной трубкой 56 любой формы, подходящей для присоединения регулятора 20 к системе потока текучей среды, к которой регулятор 20 обеспечивает подачу отрегулированного потока воды. Выходной кожух выполнен с плоской опорной полкой 58 для диафрагмы, которая поддерживает диафрагму 40 регулятора, и с по меньшей мере одним управляющим потоком каналом 60. Каждый из по меньшей мере одного управляющего потоком канала 60 сообщается с выпускным отверстием 54 в области соединения 66 и представляет собой канал с открытой поверхностью, ограниченный дном 62 и двумя боковыми стенками 64. В месте, противоположном соединению 66, на конце 70 каждого из по меньшей мере одного канала 60 для потока канал альтернативно соединяется с входом 72 канала, выполненным в предпочтительно имеющемся наклонном козырьке 74, который может окружать область, в которой выполнен по меньшей мере один канал для потока. Наклонный козырек 74 функционирует как коллектор для входов 72 канала, и коллектор и входы действуют для того, чтобы направлять воду в по меньшей мере один канал 60. В качестве варианта указанный по меньшей мере один канал управления течением содержит несколько каналов для потока и с целью примера регулятор 20 показан содержащим четыре канала 60 для потока. Кроме того, каналы для потока выполнены симметричными вокруг выпускного отверстия 54.
В соответствии с вариантом выполнения изобретения дно 62 каждого по меньшей мере одного управляющего потоком канала 60 является плоским и лежит в плоскости, параллельной плоскости опорной полки 58. Кроме того, боковые стенки 64 данного управляющего потоком канала 60 являются зеркальными отображениями друг друга и, кроме того, по существу перпендикулярны дну 62. Боковые стенки 64 данного управляющего потоком канала 60 в соответствии с вариантом выполнения изобретения имеют одну и ту же равномерную высоту вдоль канала 60 относительно дна 62 канала для потока, а расстояние между боковыми стенками, т.е. ширина данного канала для потока, уменьшается с расстоянием, т.е. по мере удаления от соединения 66 вдоль канала. В результате канал имеет площадь поперечного сечения, которая изменяется с расстоянием от соединения 66 по существу только как функция расстояния между боковыми стенками и уменьшается с расстоянием от соединения вдоль канала. Более того, ширина канала для потока является линейно убывающей функцией длины канала.
Как показано на виде в сборе регулятора 20, изображенном на фиг.1В, входной и выходной кожухи 30 и 50 скреплены вместе для образования внутреннего объема для потока, а диафрагма 40 расположена с помощью площадки 38 так, что она опирается на опорную полку 58. Диафрагма 40 препятствует тому, чтобы вода, которая поступает во впускное отверстие 34, протекала непосредственно к выпускному отверстию 54, и делит внутренний объем для потока на впускную камеру 81, расположенную по одну сторону от диафрагмы, которая сообщается с впускным отверстием 34, и выпускную камеру 82, расположенную по другую сторону от диафрагмы, которая сообщается с выпускным отверстием 54.
Вода, которая поступает в регулятор 20 через впускное отверстие 34, накапливается во впускной камере 81 и вытекает из нее, в качестве одного из вариантов, через выходное отверстие 84 впускной камеры, через «обходной канал» (не показан) для поступления через входное отверстие 86 в выпускную камеру 82 и накопления в ней. Обходной канал предпочтительно ограничен конструкцией в наружной поверхности обода 52 выходного кожуха 50 и во внутренней поверхности обода 32 входного кожуха 30. Давление во впускной и выпускной камерах 81 и 82 неодинаково, причем давление во впускной камере больше, чем давление в выпускной камере. «Чрезмерное давление» во впускной камере 81 деформирует диафрагму 40 так, что она продавливается, для того чтобы закрыть по меньшей мере часть открытой поверхности по меньшей мере одного канала 60. Часть открытой поверхности по меньшей мере одного канала 60, которая закрывается диафрагмой, проходит от соединения 66 до места вдоль канала на таком расстоянии от соединения, которое является функцией этого чрезмерного давления. По мере того как увеличивается давление воды на входе, увеличивается чрезмерное давление во впускной камере 81, увеличивается деформация диафрагмы 40, при этом диафрагма продавливается для закрытия большей длины, т.е. «длины накрытия» открытой поверхности по меньшей мере одного канала.
Для того чтобы вытечь из регулятора 20, вода в выпускной камере должна пройти через закрытую часть по меньшей мере одного выходного канала 60 для того, чтобы достичь выпускного отверстия 54. Так как длина накрытия канала увеличивается с увеличением давления на входе, то увеличивается и сопротивление потоку текучей среды указанного по меньшей мере одного канала, что ослабляет зависимость потока воды из регулятора от входного давления. Увеличение сопротивления потоку в канале с увеличением длины накрытия является результатом одновременно как увеличения длины канала, через который должна протечь вода, для того чтобы выйти из регулятора 20, так и, в соответствии с вариантом выполнения изобретения, добавления к закрытой части канала с увеличением длины накрытия в целом последовательно уменьшающихся значений площади поперечного сечения.
На фиг.2А и 2В показаны схематические виды, соответственно, в аксонометрии и в поперечном разрезе регулятора 20, на которых схематически проиллюстрирована деформация диафрагмы 40 в регуляторе при относительно низком давлении, в соответствии с вариантом выполнения изобретения. Поток воды, поступающий в регулятор 20 и выходящий из него, схематически указан стрелками 90. На фиг.2С и 2D с целью сравнения показаны схематические виды, соответственно, в аксонометрии и в поперечном разрезе регулятора 20, на которых схематически проиллюстрирована деформация диафрагмы 40 в регуляторе при относительно высоком давлении, в соответствии с вариантом выполнения изобретения. На чертежах схематически проиллюстрированы увеличенная деформация диафрагмы 40 и являющиеся результатом этого более значительные длины накрытия при более высоком давлении на входе. При относительно низком давлении, как показано на фиг.2А, диафрагма 40 умеренно деформируется и закрывает умеренную часть по меньшей мере одного канала 60. При относительно высоком давлении на входе длина накрытия канала 60 существенно увеличивается. Для удобства представления разрез диафрагмы 40 выполнен вдоль линии, которая следует за гранями двух каналов 60 для потока.
Тем не менее, деформация диафрагмы, управляющей потоком текучей среды, в общем случае не является линейно зависимой от увеличения давления на входе. В общем случае скорость увеличения деформации диафрагмы 40 и соответствующая ей скорость увеличения длины накрытия как функция увеличивающегося входного давления замедляется. Если не осуществить компенсацию, то эти замедляющиеся скорости будут ухудшать способность регулятора 20 поддерживать по существу постоянный отрегулированный поток воды на выходе по мере того, как изменяется давление воды на входе.
В соответствии с вариантом выполнения изобретения компенсация достигается за счет сужения по меньшей мере одного канала 60 с увеличением расстояния от соединения 66 вдоль канала, как изложено выше. Сужение приводит к уменьшению поперечного сечения канала с увеличивающимся расстоянием от соединения 66 вдоль канала и к сопутствующей более значительной скорости увеличения сопротивления канала потоку с увеличивающейся длиной накрытия. Сужение канала для потока в качестве одного из вариантов определяется так, чтобы сопротивление канала потоку текучей среды являлось по существу пропорциональным давлению воды на входе, в результате чего регулятор 20 обеспечивает отрегулированный выходной поток текучей среды, который по существу не зависит от давления на входе. В некоторых вариантах выполнения изобретения характеристики диафрагмы 40 и режим давления, при котором работает регулятор 20, являются такими, что уменьшение скорости увеличения длины накрытия с давлением на входе таково, что линейное уменьшение ширины канала с длиной канала может удовлетворительно компенсировать уменьшение скорости изменения длины накрытия. Автором изобретения установлено, что для входных значений давления воды между около 0,5 бар и около 6 бар, которые обычно встречаются в применениях для орошения, в общем случае достигается удовлетворительное линейное уменьшение ширины канала, если боковые стенки сходятся с расстоянием вдоль канала под углом между приблизительно 10° и приблизительно 50°.
Для заданного угла сходимости по меньшей мере одного управляющего потоком канала 60 величина отрегулированной скорости потока воды, обеспеченная регулятором 20, определяется по существу глубиной канала. Увеличение глубины канала увеличивает отрегулированную выходную скорость потока, а уменьшение глубины канала уменьшает отрегулированную выходную скорость потока. Так как способность регулятора 20 к поддержанию относительно постоянного выходного потока определяется по существу только сужением ширины канала, то для некоторых диапазонов глубин канала и соответствующих выходных скоростей потока изменение глубины канала по существу не оказывает влияния на эффективность регулирования выходного потока в зависимости от давления на входе. Для этих диапазонов конфигурация канала в соответствии с вариантом выполнения изобретения разрывает связь регуляторной функции регулятора 20 с количеством регулируемой текучей среды и изменением глубины канала, изменяя по существу только величину выходной скорости потока, обеспечиваемой регулятором.
В качестве численного примера рассмотрим регулятор потока воды в соответствии с вариантом выполнения изобретения, аналогичный регулятору 20, который в качестве варианта имеет два управляющих потоком воды канала 60 длиной около 3 мм, при этом ширина канала в месте соединения 66 равна около 1,5 мм, а угол сходимости боковых стенок составляет около 30°. Регулятор обеспечивает удовлетворительное регулирование скорости потока при одном и том же угле сходимости в 30° для глубин канала между 0,2 мм и 0,4 мм. При глубине канала 0,2 мм регулятор обеспечивает отрегулированную скорость потока около 20 л/ч, а при глубине канала 0,4 мм регулятор обеспечивает отрегулированную скорость потока около 35 л/ч. Для промежуточных значений глубины канала, между 0,2 мм и 0,4 мм, регулятор обеспечивает скорость потока в промежутке между 20 л/ч и 35 л/ч. Для отрегулированных скоростей потока, больших чем около 40 л/ч, угол сходимости преимущественно увеличен (так что канал сужается более быстро с длиной канала), а для отрегулированных скоростей потока, меньших чем 20 л/ч, угол сходимости преимущественно уменьшен (канал сужается более медленно). Кроме того, для расходов, превышающих 40 л/ч, угол сходимости увеличен до приблизительно 35°.
Регулятор, аналогичный регулятору 20, в соответствии с вариантом выполнения изобретения может быть модифицирован для изменения его отрегулированной скорости потока на выходе относительно простым образом; форма для литья под давлением, используемая для получения регулятора, легко модифицируется для получения регуляторов, имеющих отличающиеся отрегулированные скорости потока. В частности, выходной кожух 50 может быть легко модифицирован для изменения глубины по меньшей мере одного канала 60, часто без необходимости учитывать или компенсировать то, как изменение глубины канала влияет на способность регулятора регулировать поток воды. Для изменения глубины канала, которое приведет в результате к неприемлемому компромиссу в регулировании скорости потока, в общем случае удовлетворительное регулирование скорости потока может быть восстановлено за счет изменения угла сходимости боковых стенок 64 по меньшей мере одного канала 60. Обращается внимание на то, что относительная легкость, с которой форма для литья под давлением может быть модифицирована, еще далее улучшается, так как в соответствии с вариантом выполнения изобретения дно 62 каждого по меньшей мере одного канала 60 является плоским и лежит в одной и той же плоскости, параллельной плоскости опорной полки 58 диафрагмы 40. Элемент литейной формы, который используется для формирования по меньшей мере одного канала 60, относительно легко регулируется для выполнения регуляторов, которые имеют отличающиеся глубины канала и, следовательно, отличающиеся выходные скорости потока.
Например, на фиг.3 схематически показана вставка 100 литейной формы, используемой для получения по меньшей мере одного канала 60 управления потоком в выходном кожухе 50. Вставка 100 содержит приподнятую часть 102, которая производит по меньшей мере один канал для потока. Глубина по меньшей мере одного управляющего потоком канала 60 и соответствующая величина отрегулированного выходного потока текучей среды, обеспечиваемая регулятором 20, определяются высотой «Н» приподнятой части 102. Для того чтобы адаптировать вставку 100 для выполнения регуляторов, которые обеспечивают меньший выходной поток текучей среды, вставка легко модифицируется механической обработкой, путем снятия нужного слоя приподнятой части 102, например, на фрезерном станке. Предприятие по производству предложенных регуляторов, аналогичных регулятору 20, может сохранять ассортимент «нетронутых» вставок 100, имеющих относительно высокие приподнятые части 102, и осуществлять механическую обработку приподнятых частей до необходимых значений высоты по мере того, как это требуется.
Нужно отметить, что, несмотря на то что в регуляторе 20 все каналы 60 для потока показаны идентичными, в некоторых вариантах выполнения изобретения регулятор выполнен с каналами для потока, имеющими разные формы. Например, боковые стенки отличающихся каналов для потока могут сходиться с длиной канала под различными углами, различные каналы для потока могут иметь разные глубины, а некоторые каналы для потока могут иметь боковые стенки, которые не сходятся. Кроме того, обращается внимание на то, что в некоторых вариантах выполнения изобретения боковые стенки канала не перпендикулярны дну канала. В общем случае каналы для потока являются более легкими для производства путем отливания под давлением, если боковые стенки канала расположены по отношению к дну канала под углом, превышающим 90°.
В описании и в формуле изобретения настоящей заявки каждый из глаголов «содержать», «включать» и «иметь», а также слова, получаемые спряжением этих глаголов, используются для указания того, что дополнение или дополнения глагола не являются непременно полным перечислением деталей, компонентов, элементов или частей подлежащего или подлежащих глагола.
Настоящее изобретение описано с использованием подробных описаний его вариантов выполнения, которые выполнены с целью примера и не предназначены для ограничения объема изобретения. Описанные варианты выполнения содержат различные признаки, не все из которых необходимы во всех вариантах выполнения изобретения. Некоторые варианты выполнения настоящего изобретения используют только некоторые из этих признаков или возможные комбинации этих признаков. Специалисты в данной области техники должны понять, что возможны вариации тех вариантов выполнения настоящего изобретения, которые описаны, и варианты выполнения настоящего изобретения, содержащие различные комбинации характерных признаков, отмеченных в описанных вариантах выполнения. Объем изобретения ограничивается только нижеприведенной формулой изобретения.
Формула изобретения
1. Регулятор потока текучей среды, содержащий: впускное отверстие для текучей среды и выпускное отверстие для текучей среды, по меньшей мере один управляющий потоком канал с открытой поверхностью, ограниченный плоским дном и двумя боковыми стенками, сообщающийся с выпускным отверстием в месте соединения и имеющий поперечное сечение, которое уменьшается с увеличением расстояния от указанного места соединения, упругую диафрагму, опорную полку, на которой помещена диафрагма, причем для регулирования потока текучей среды при увеличивающемся давлении текучей среды на входе диафрагма закрывает участки открытой поверхности, которые расположены дальше от указанного места соединения, в области, в которой поперечное сечение уменьшается с увеличением расстояния от места соединения.
2. Регулятор по п.1, в котором указанный по меньшей мере один управляющий потоком канал с открытой поверхностью содержит несколько каналов.
3. Регулятор по п.2, в котором донья по меньшей мере двух управляющих потоком каналов с открытой поверхностью лежат в одной плоскости.
4. Регулятор по любому из пп.1-3, в котором боковые стенки сходятся по направлению друг к другу с увеличением расстояния от места соединения.
5. Регулятор по п.4, в котором боковые стенки сходятся с увеличением расстояния вдоль указанного по меньшей мере одного канала для потока с постоянным углом сходимости.
6. Регулятор по п.2 или 3, в котором боковые стенки различных управляющих потоком каналов указанного по меньшей мере одного управляющего потоком канала сходятся под разными постоянными углами сходимости.
7. Регулятор по п.2 или 3, в котором боковые стенки различных управляющих потоком каналов указанного по меньшей мере одного управляющего потоком канала сходятся под одним и тем же постоянным углом сходимости.
8. Регулятор по п.2 или 3, в котором боковые стенки имеют равномерную высоту вдоль длины указанного по меньшей мере одного канала.
9. Регулятор по п.1, в котором опорная полка поддерживает диафрагму вдоль плоского контура, параллельного дну каждого указанного по меньшей мере одного канала.
РИСУНКИ
|
|