|
|
(21), (22) Заявка: 2007136446/28, 31.01.2006
(24) Дата начала отсчета срока действия патента:
31.01.2006
(30) Конвенционный приоритет:
05.02.2005 KR 10-2005-0010933
(43) Дата публикации заявки: 10.03.2009
(46) Опубликовано: 10.03.2010
(56) Список документов, цитированных в отчете о поиске:
US 5644283 A, 01.07.1997. US 5488307 A, 30.01.1996. JP 59131152 A, 27.07.1984. SU 1307257 A1, 07.06.1988.
(85) Дата перевода заявки PCT на национальную фазу:
05.09.2007
(86) Заявка PCT:
KR 2006/000327 20060131
(87) Публикация PCT:
WO 2006/083095 20060810
Адрес для переписки:
690035, г.Владивосток, а/я 35-94, ООО “Первое частное Приморское патентное агентство”, пат.пов. А.Г.Ермолинскому, рег. 626
|
(72) Автор(ы):
ПАРК Сеунг Хюк (KR)
(73) Патентообладатель(и):
ПАРК Сеунг Хюк (KR)
|
(54) ДАТЧИК ПЕРЕМЕЩЕНИЯ, СРАБАТЫВАЮЩИЙ ПРИ НАДАВЛИВАНИИ КОНТАКТА
(57) Реферат:
Изобретение относится к датчикам, в частности к датчику перемещения, срабатывающему при надавливании контакта, который является простым в изготовлении и при установке. Техническим результатом изобретения является создание такого датчика перемещения, срабатывающего при надавливании контакта, который имеет различные функциональные возможности и может быть установлен в различные устройства. В датчике перемещения, срабатывающем при надавливании контакта с контактным элементом, контактный элемент включает: полупроводниковую матрицу, обладающую электрической проводимостью и упругостью, первый проводник, второй проводник. Причем второй проводник включает первое сопротивление, соединенное с первым проводником и источником питания, второе сопротивление, соединенное со вторым проводником. Датчик перемещения дополнительно включает первый, второй, третий, четвертый компараторы напряжения; третье, четвертое, пятое, шестое, седьмое, восьмое сопротивления; первый, второй фазовые преобразователи; элементы ИЛИ; первый и второй аналого-цифровой преобразователи. 6 з.п. ф-лы, 23 ил.
Область техники
Изобретение относится к датчикам, в частности к датчику перемещения, срабатывающему при надавливании контакта, который является простым в изготовлении и при установке.
Предшествующий уровень техники
Настоящее изобретение относится к датчикам, в частности к датчику перемещения, срабатывающему при надавливании контакта, который является простым в изготовлении и при установке.
Основным назначением датчика, как устройства, является изменение одной физической величины на другую физическую величину.
Другими словами, т.к. датчик означает устройство, которое осуществляет ответ на воздействие, когда имеет место физическое воздействие, то существует множество видов датчиков, и постоянно создаются новые разновидности датчики.
Существует два типа датчиков:
– контактный датчик, который воспринимает существование объекта путем контакта с этим объектом; и
– бесконтактный датчик, который воспринимает существование объекта без вхождения в контакт с этим объектом.
Контактные датчики используются шире, чем бесконтактные датчики, они имеют концевой выключатель, правильно срабатывают даже в загрязненном воздухе, подходят для размещения во взрывоопасных местах и являются нечувствительными к воздействию магнитного поля.
Однако бывает трудно встроить известные контактные датчики в некоторые детали ряда устройств, которые чем место, требуемое для размещения концевого выключателя, используемого в контактных датчиках.
Поэтому известные контактные датчики имеют ограничение по встраиванию в различные функциональные устройства.
Раскрытие изобретения
Техническая проблема
Целью настоящего изобретения является решение вышеуказанной проблемы, чтобы обеспечить датчик перемещения, срабатывающий при надавливании контакта, который имеет различные функциональные возможности и может быть установлен в различные устройства.
Техническое решение
Для достижения вышеуказанной цели по настоящему изобретению предлагается датчик перемещения, срабатывающий при надавливании контакта, включающий:
полупроводящую матрицу, обладающую электрической проводимостью и упругостью, формирующую сопротивление Rx;
первый проводник, обладающий электрической проводимостью, установленный в верхней части полупроводящей матрицы;
второй проводник, обладающий электрической проводимостью, установленный в нижней части полупроводящей матрицы;
первое сопротивление, соединенное с первым проводником и с источником питания;
второе сопротивление, соединенное со вторым проводником и заземленное или соединенное с общей шиной;
первый компаратор напряжения, соединенный входом (-) с первым проводником;
второй компаратор напряжения, соединенный входом (+) со вторым проводником;
третье сопротивление, один вывод которого соединен с источником питания, а другой вывод соединен с входом (+) первого компаратора напряжения;
четвертое сопротивление, один вывод которого соединен с входом (+) первого компаратора напряжения, а другой вывод соединен с входом (-) второго компаратора напряжения;
пятое сопротивления, один вывод которого заземлен или соединен с общей шиной, а другой вывод соединен с входом (-) второго компаратора напряжения; и
элемент ИЛИ, соединенный с первым компаратором напряжения и вторым компаратором напряжения и выдающий сигнал в соответствии с сигналом на их выходах.
В связи с этим, т.к. в качестве нажимаемого элемента используется синтетический материал, в структуру которого входит электрическая проводимость, и т.к. этот материал содержит каучук или силиконовый материал типа синтетической резины, который обладает упругостью и является мягким, и нажимаемый контакт выполнен снаружи на нажимаемом элементе, при нажатии полупроводящая матрица сжимается, и величина ее электрической проводимости увеличивается, за счет чего возможно определить нажатие и его степень, причем, т.к. матрица выполнена из мягкого материала, то достаточно легко изготовить и установить датчики разной формы, например, на автоматической вращающейся двери, автоматических раздвижных дверях, бампере автомобиля, спереди, сбоку и сзади средства общественного транспорта, в датчике давления, датчике веса и на любых пневматических устройствах или трубах так, что он будет эффективен в различных областях, например для измерения давления газа или жидкости.
Преимущества
Как очевидно из вышеизложенного, в этом датчике перемещения, срабатывающем при надавливании контакта, по настоящему изобретению, благодаря тому, что контактный элемент 11 имеет переменную электрическую проводимость, а также упругость и мягкость, как у эластичных пластичных материалов типа каучука или силикона, а наружный контакт выполнен снаружи контактного элемента 11, при сжатии полупроводящей матрицы 14 величина электрической проводимости 15 полупроводящей матрицы 14 становится выше, за счет чего определяется приложенное давление, при этом он выполнен из мягкого материала, поэтому может изготавливаться с различной формой и устанавливаться на автоматической вращающейся двери (D), автоматических раздвижных дверях (D), бампере автомобиля, спереди, сбоку и сзади средства общественного транспорта, он также может монтироваться в датчике давления или веса, а также в гидравлических машинах или трубопроводах для измерения давления газа или жидкости.
Краткое описание фигур чертежей
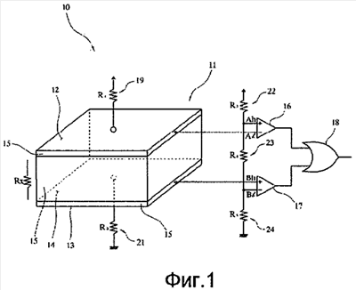
Фиг.1 – упрощенная электрическая схема датчика перемещения, срабатывающего при надавливании контакта.
Фиг.2-4 – схематичные виды в поперечном разрезе, показывающие реальные примеры установки датчика перемещения, срабатывающего при надавливании контакта, согласно настоящему изобретению.
Фиг.5 – вид в перспективе, показывающий другие признаки другого примера осуществления датчика перемещения, срабатывающего при надавливании контакта, по настоящему изобретению.
Фиг.6 и 7 – виды, показывающие различные варианты установки в качестве другого примера осуществления датчика перемещения, срабатывающего при надавливании контакта, по настоящему изобретению.
Фиг.8 и 9 – виды в перспективе, показывающие различные варианты в качестве примеров осуществления датчика перемещения, срабатывающего при надавливании контакта, по настоящему изобретению.
Фиг.10 и 11 – упрощенные электрические схемы, демонстрирующие проводное соединение между выходом датчика и электрической схемой сравнения, в качестве примеров осуществления датчика перемещения, срабатывающего при надавливании контакта, по настоящему изобретению.
Фиг.12 – упрощенная электрическая схема, определяющая степень нажатия контакта в результате аналоговых операций, в качестве примера осуществления датчика перемещения, срабатывающего при надавливании контакта, по настоящему изобретению.
Фиг.13 – упрощенная электрическая схема, определяющая степень нажатия контакта в результате цифровых операций, в качестве примера осуществления датчика перемещения, срабатывающего при надавливании контакта, по настоящему изобретению.
Фиг.14 – схема, показывающая результат операций электрической схемы с фиг.13.
Фиг.15 – упрощенная электрическая схема, показывающая способ распознавания нажатого контакта по величине тока, протекающего по полупроводящей матрице, в качестве примера осуществления датчика перемещения, срабатывающего при надавливании контакта, по настоящему изобретению.
Фиг.16 – упрощенная электрическая схема, показывающая способ разрешения погрешностей от помех за счет их удаления и распознавания обрыва провода, в качестве другого примера осуществления датчика перемещения, срабатывающего при надавливании контакта, по настоящему изобретению.
Фиг.17 – упрощенная электрическая схема, образующая основную схему и вспомогательную схему в качестве дополнения, устраняющая помехи и применяющая специальные характеристики гистерезиса для установления степени нажатия контакта и обрыва линии, в качестве другого примера осуществления датчика перемещения, срабатывающего при надавливании контакта, по настоящему изобретению.
Фиг.18-22 – схематичные виды в перспективе, показывающие различные примеры выполнения датчика перемещения, срабатывающего при надавливании контакта, по настоящему изобретению.
Цифровое обозначение основных элементов на первой фигуре чертежей: 10 – контактный элемент; 11 – контактный элемент датчика; 12 – первый проводник; 13 – второй проводник; 14 – полупроводящая матрица; 15 – электрическая проводимость; 16 – первый компаратор напряжения; 17 – второй компаратор напряжения; 18 – элемент ИЛИ; 19 – первое сопротивление; 21 – второе сопротивление; 22 – третье сопротивление; 23 – четвертое сопротивление; 24 – пятое сопротивление.
Фиг.23 – упрощенная электрическая схема, устраняющая помехи за счет использования основной схемы и вспомогательной схемы в качестве дополнения и усиливающая сигнал напряжения на контактном элементе датчика через дифференциальный усилитель, в качестве другого примера осуществления датчика перемещения, срабатывающего при надавливании контакта, по настоящему изобретению.
Вариант осуществления изобретения
Более подробные характеристики и преимущества этого изобретения будут более ясно понятны из последующих пояснений со ссылками на фигуры чертежей.
На фиг.1 представлена упрощенная электрическая схема датчика перемещения, срабатывающего при надавливании контакта, содержащего контактный элемент 11, который включает полупроводящую матрицу 14, первый проводник 12 и второй проводник 13.
Полупроводящая матрица выполнена из мягкого материала, имеющего электрическую проводимость и являющегося упругим, причем она установлена между первым проводником 12 и вторым проводником 13 и имеет переменное сопротивление RX.
Здесь, полупроводящая матрица может быть выполнена не только из губки, но также из гибкого материала типа каучука, синтетических полимерных материалов, синтетической резины, уретана или силикона, как вспененных так и не вспененных.
Первый проводник 12 выполнен из каучука, имеет электрическую проводимость 15 и является гибким, а также может выполняться из синтетических полимерных материалов, синтетической резины, уретана или силикона, причем он расположен на верхней части полупроводящей матрицы 14.
Второй проводник 13 выполнен из того же материала, что и первый проводник 12, причем он расположен на нижней части полупроводящей матрицы 14.
В первом проводнике 12 имеется первое сопротивление 19, один вывод которого соединен с первым проводником 12, а другой вывод соединен с источником питания.
Во втором проводнике 13 имеется второе сопротивление 21, один вывод которого заземлен или подключен к общей шине, а другой вывод соединен со вторым проводником 13.
Для первого проводника 12 и во второго проводника 13 имеются первый компаратор напряжения 16 и второй компаратор напряжения 17, причем в первом компараторе напряжения 16 нижний вход (-) соединен с первым проводником 12, а во втором компараторе напряжения 17 верхний вход (+) соединен со вторым проводником 13.
Также к первому компаратору напряжения 16 и второму компаратору напряжения 17 присоединены третье сопротивление 22, четвертое сопротивление 23 и пятое сопротивление 24.
Здесь, один вывод третьего сопротивления 22 соединен с источником питания, а другой вывод соединен с верхним входом (+) первого компаратора напряжения 16.
У четвертого сопротивления 23 один вывод соединен с третьим сопротивление 22 и с верхним входом (+) первого компаратора напряжения 16, а другой вывод соединен с пятым сопротивлением 24, что будет более подробно пояснено далее, и с нижним входом (-) второго компаратора напряжения 17.
У пятого сопротивления 24 один вывод заземлен или соединен с общей шиной, а другой вывод соединен с нижним входом (-) второго компаратора напряжения 17.
У первого компаратора напряжения 16 и второго компаратора напряжения 17 имеется элемент ИЛИ, который выдает сигнал в соответствии с сигналом на выходе первого компаратора напряжения 16 и второго компаратора напряжения 17.
Этот датчик перемещения, срабатывающий при надавливании контакта, согласно настоящему изобретению сконструирован, как описано выше, и этот первый датчик 10 сохраняет нормальное состояние, при котором сопротивление RX задано как две десятые от первого сопротивления 19 R1 и второго сопротивления 21 R2.
Таким образом, благодаря тому, что вход (-) первого компаратора напряжения 16 соединен с первым проводником, который установлен на 3/4 сопротивления среди сопротивлений R1, RX и R2, сигнал на входе А1 первого компаратора напряжения 16 равен 3/4 VCC (здесь и далее используются следующие обозначения: вход (+) первого компаратора напряжения 16 назван Ah, вход (-) первого компаратора напряжения 16 назван А1, вход (+) второго компаратора напряжения 17 назван Bh, и вход (-) второго компаратора напряжения 17 назван В1).
А так как вход Bh второго компаратора напряжения соединен со вторым сопротивлением 13, которое задано как 1/4 сопротивления среди сопротивлений R1, RX и R2, сигнал на входе Bh второго компаратора напряжения 17 равен 1/4 VCC.
Также, в качестве примера, поскольку имеется один и тот же номинал третьего сопротивления 22 R3, четвертого сопротивления 23 R4 и пятого сопротивления 24 R5, и они соединены с входами первого компаратора напряжения 16 и второго компаратора напряжения 17, сигнал на входе Ah первого компаратора напряжения 16 в месте соединения между третьим сопротивлением 22 R3 и четвертым сопротивлением 23 R4 равен 2/3 VCC, а сигнал на входе В1 второго компаратора напряжения 17 в месте соединения с пятым сопротивлением 24 R5 равен 1/3 VCC.
Таким образом, сигнал на входе Ah первого компаратора напряжения 16 равен 2/3 VCC, а сигнал на входе А1 становится равным 3/4 VCC, в результате чего сигнал на входе А1 становится выше, чем сигнал на входе Ah, и, наконец, сигнал на выходе первого компаратора напряжения 16 становится ниже. Также, сигнал на входе Bh второго компаратора напряжения 17 равен 1/4 VCC, а сигнал на входе В1 становится равным 1/3 VCC, в результате чего сигнал на входе В1 становится выше, чем сигнал на входе Bh, и, наконец, сигнал на выходе второго компаратора напряжения 17 становится ниже.
В связи с этим сигнал на выходах первого компаратора напряжения 16 и второго компаратора напряжения 17 становится ниже, сигнал на выходе элемента ИЛИ 18, зависящий от сигналов на выходах первого компаратора напряжения 16 и второго компаратора напряжения 17, становится ниже, другими словами становится равным «0», и датчик перемещения, срабатывающий при надавливании контакта, сохраняет свое нормальное состояние.
Как только к датчику перемещения прикладывается внешнее воздействие путем надавливания на контактный элемент 10, полупроводящая матрица 14 сжимается внешним усилием, и электрическая проводимость полупроводящей матрицы становится выше и величина электрической проводимости полупроводящей матрицы 14 становится выше, а сопротивление полупроводящей матрицы 14 начинает замыкать входы А1 и Bh.
Если сопротивление полупроводящей матрицы 14 начинает замыкать входы А1 первого компаратора напряжения 16, соединенного с первым проводником, и Bh второго компаратора напряжения 17, соединенного со вторым проводником 13, то сигнал делается близким к 1/2 VCC.
Таким образом, сигнал на входе А1, начальная установленная величина которого была 3/4 VCC, становится меньше 2/3 VCC, являющегося установленной величиной для входа Ah, величины сигналов на входах А1 и Ah реверсируются, сигнал на входе Ah превосходит сигнал на входе А1, и сигнал на выходе первого компаратора напряжения 16 становится выше.
Также, величина сигнала на входе Bh, которая была установлена как 1/4 VCC, становится выше, чем установленный сигнал на входе В1, становясь более 1/3 VCC, величины сигналов на входах В1 и Bh реверсируются, сигнал на входе Bh становится больше сигнала на входе В1, и сигнал на выходе второго компаратора напряжения 17 становится выше.
В связи с этим, сигнал на выходах первого компаратора напряжения 16 и второго компаратора напряжения 17 становится выше, поэтому сигнал на выходе элемента ИЛИ 18 возрастает и датчик 10 срабатывает.
В соответствии с вышеприведенными пояснениями, для настройки чувствительности датчика для детекции смещения контактного элемента датчика надавливанием, необходим контроль величиной сопротивления третьего сопротивления 22 R3, четвертого сопротивления 23 R4 и пятого сопротивления 24 R5, что создает небольшую разницу уровня напряжения между Ah и А1 первого компаратор напряжения 16 и между Bh и В1 второго компаратор напряжения 17.
В датчике перемещения, срабатывающем при надавливании контакта, по настоящему изобретению, электрическая проводимость или обратная электрическая полупроводимость добавлена к материалу, являющемуся упругим, причем используется то, что этот упругий материал является неэлектропроводным при помещении его между двумя проводниками при отсутствии внешнего давления, а при возникновении даже незначительного внешнего усилия возникает электрическая проводимость, за счет чего и работает датчик.
И, таким образом, если работает первый компаратор напряжения 16 или второй компаратор напряжения 17, то будет работать и элемент ИЛИ 18, или если первый компаратор напряжения 16 или второй компаратор напряжения 17 не работает, то работает элемент ИЛИ 18, и можно доверять такому датчику 10.
Датчик может быть установлен на автоматической вращающейся двери (D) или автоматической раздвижной двери (D) сбоку и сверху ее кромок различными способами, как показано на фиг.2-4. Например, если рука или нога попадет между краями автоматической вращающаяся дверь (D), то будет нажат датчик 10, и по сигналу от датчика 10 автоматическая вращающаяся дверь (D) будет остановлена.
А если рука или нога человека попадет между дверями автоматической раздвижной двери (D), то датчик 10 будет нажат и сработает, и автоматическая раздвижная дверь (D) вновь откроется. И, например, для управления двигающимися частями транспортного средства, силовых соединений, датчик может быть установлен на переднем или заднем бампере детского или реального автомобиля, спереди, сзади или сбоку средства общественного транспорта так, что он может определять столкновение между автомобилями, автомобилем и препятствием, автомобилем и пешеходом, средствами общественного транспорта, средством общественного транспорта и препятствием, средством общественного транспорта и пешеходом, чтобы остановить автомобили или средства общественного транспорта.
Также, в связи с тем, что материал, используемый в датчике 10, является мягким типа губки, уретана, силикона или каучука, обладающих упругостью, то датчик может легко устанавливаться и ослаблять ударную нагрузку.
Датчик (10) полностью покрывается изоляционным материалом, выполняющим функцию защитного экрана при использовании датчика снаружи для защиты от пыли, загрязнений и удара.
Также он может устанавливаться на дорожном покрытии перекрестков, чтобы измерять интенсивность дорожного движения для управления движением транспорта, например для изменения данных сигнальных систем, модификации таких данных, он может устанавливаться на дорожном покрытии или часть датчика (10) может находиться в районе парковки, чтобы направлять автомобили на парковку по правильному пути, а также он может устанавливаться для управления парковочными системами.
Также датчик может устанавливаться на дорожном покрытии при проведении экзамена на вождение для наблюдения за тем, находится ли автомобиль на требуемом маршруте или сошел с него.
Датчик перемещения, срабатывающий при надавливании контакта, по настоящему изобретению может быть выполнен в форме цилиндра с кольцевым поперечным сечением, как показано на фиг.5, при этом он может устанавливаться в качестве покрытия вокруг трубы газопровода, чтобы включать сигнал тревоги, когда датчик нажат, для защиты от несанкционированного доступа к трубопроводу, например, когда нежелательное лицо незаконно идет или ползет по трубе здания.
Датчик перемещения по настоящему изобретению может быть установлен, как показано на фиг.6, на полу у автоматически раздвигающихся дверей (D), или, как показано на фиг.7, на полу у автоматических вращающихся дверей (D) в качестве ступеньки.
Таким образом, когда человек наступает на датчик (10) как на ступеньку автоматических раздвижных или вращающихся дверей, датчик (10) срабатывает, и автоматические раздвижные двери открываются, или автоматические вращающиеся двери начинают вращаться.
Как было пояснено выше, он может быть установлен перед дверью лифта так, что когда кто-нибудь подходит к двери лифта, то дверь открывается, а после того, как пассажир входит в лифт, дверь закрывается.
Фиг.8 является видом в перспективе, показывающим другой пример датчика перемещения, срабатывающего при надавливании контакта, в котором в верхнюю часть полупроводящей матрицы 34 встроены с равным шагом горизонтальные проводящие линии, а в нижнюю часть полупроводящей матрицы 34 встроены с равным шагом вертикальные проводящие линии, расположенные поперек проводящих линий верхней части.
В нем проводящие линии Rm горизонтального рисунка (R) через линии L1m соединены с электрической схемой, а проводящие линии Cn вертикального рисунка (С) через линии L1n соединены с электрической схемой, они подтверждают контакт при нажатии и точку нажатия контакта за счет определения контакта между определенными линиями горизонтального и вертикального рисунков, причем три проводящие линии R и четыре проводящие линии С составляют на пересечениях двенадцать возможных контактных точек (3×4=12), и при нажатии на одну из контактных точек, эта точка определяется.
Таким образом, вышеуказанный датчик 30 может устанавливаться на монитор для использования в качестве сенсорного экрана или в качестве клавиатуры.
Фиг.9 является видом в перспективе, показывающим еще один пример датчика перемещения, срабатывающего при надавливании контакта, в котором в середине выполнен диэлектрический слой 41, в верхней части выполнены проводящие линии горизонтального рисунка (R), а в нижней части выполнены проводящие линии вертикального рисунка (С).
Сверху горизонтального рисунка (R) выполнена первая полупроводящая матрица 44, а в верхней части первой полупроводящей матрицы 44 выполнен первый проводник 42. Снизу вертикального рисунка (С) выполнена вторая полупроводящая матрица 44′, в нижней части второй полупроводящей матрицы 44′ выполнен второй проводник 42′, при этом первый проводник 42, второй проводник 42′, проводящие линии горизонтального рисунка (R) и перпендикулярные им проводящие линии вертикального рисунка (С), соединены с электрической схемой.
Это означает, что первый проводник 42 соединен через линию L1, каждая из m проводящих линий горизонтального рисунка соединена через соответствующую линию L2, чтобы подтвердить нажатие контакта в горизонтальном рисунке (R).
Далее, второй проводник 42′ соединен через линию L1‘, каждая из n проводящих линий вертикального рисунка соединена через линию L2‘, чтобы подтвердить нажатие контакта в перпендикулярном вертикальном рисунке (С).
Таким образом, возможно определение положение контакта по положению нажатой контактной точки на пересечении (m, n), а именно контакта нажатой проводящей линии m горизонтального рисунка (R) и нажатой проводящей линии n.
Фиг.10 является упрощенной электрической схемой, показывающей другой пример осуществления датчика перемещения, срабатывающего при надавливании контакта, и является схемой, которая способна обнаружить обрыв между выходом датчика и электрической схемой сравнения, где установлено контрольное сопротивление обрыва 70, которое соединено с входом А1 (-) первого компаратора напряжения 56 и с входом Bh (+) второго компаратора напряжения 57.
Это значит, что сопротивление Rch контрольного сопротивления обрыва 70 устанавливается больше, чем сопротивление RX полупроводящей матрицы 54, т.к. в нормальном состоянии сигнал на входе Ah первого компаратора напряжения 56 меньше сигнала на входе А1 первого компаратора напряжения 56, и так как сигнал на входе Bh меньше сигнала на входе В1 второго компаратора напряжения 57, то сигнал на выходе элемента ИЛИ 58 становится ниже или просто равным «0», и датчик перемещения находится в нормальном состоянии.
В этом состоянии при обрыве линии L1 сигналы на входе А1 первого компаратора напряжения 56 и входе Bh второго компаратора напряжения 57 практически сравниваются, сигнал на входе Ah первого компаратора напряжения 56 становится выше, чем сигнал на входе А1, сигнал на выходе первого компаратора напряжения 56 становится выше, и, таким образом, сигнал на выходе элемента ИЛИ 58 становится выше, и обрыв может быть установлен.
В этом состоянии при обрыве линии L2 сигналы напряжения на входе Bh второго компаратора напряжения 57 и входе А1 первого компаратора напряжения 56 практически сравниваются, сигнал на входе Bh второго компаратора напряжения становится выше, чем сигнал на входе В1, сигнал на выходе второго компаратора напряжения 57 становится выше, и, таким образом, сигнал на выходе элемента ИЛИ 58 становится выше, и обрыв может быть установлен.
И если оборваны обе линии L1 и L2, сигналы на входе А1 первого компаратора напряжения 56 и входе Bh второго компаратора напряжения 57 становятся близкими к 1/2 VCC за счет внутреннего сопротивления первого компаратора напряжения и второго компаратора напряжения 57.
Таким образом, сигнал на входе Ah первого компаратора напряжения 56 становится выше сигнала на входе А1, а сигнал на входе Bh второго компаратора напряжения 57 становится выше сигнала на входе В1, сигналы на обоих выходах первого компаратора напряжения 56 и второго компаратора напряжения 57 становятся выше, за счет чего сигнал на выходе элемента ИЛИ 58 также становится выше, и обрыв может быть установлен.
Таким образом, поскольку имеется контрольное сопротивление обрыва 70, которое соединяет вход А1 первого компаратора напряжения 56 и вход Bh второго компаратора напряжения, при обрыве одной из линий L1 и L2, которые соединяют первый проводник (52) и второй проводник (53) нажимаемого элемента 51 с этими входами, такой обрыв может быть установлен.
Фиг.11 является упрощенной электрической схемой, показывающей другой пример осуществления датчика перемещения, срабатывающего при надавливании контакта, и является упрощенной схемой, которая способна обнаружить обрыв между выходом датчика и электрической схемой сравнения, где установлен третий компаратор напряжения 96, соединенный входом Op1h (+) с первым сопротивлением 89 датчика 80, и четвертый компаратор напряжения 97, соединенный входом Ор21 (-) со вторым сопротивлением 91. Также имеется шестое сопротивление 100, один вывод которого соединен с источником питания, а другой вывод соединен с входом Ор11 (-) третьего компаратора напряжения 96, и седьмое сопротивление 101, один вывод которого соединен с входом (-) вышеупомянутого третьего компаратора напряжения 96, а другой вывод соединен с входом Op2h (+) четвертого компаратора напряжения 97, и восьмое сопротивление 102, один вывод которого соединен с землей или общей шиной, а другой вывод соединен с входом Op2h (+) четвертого компаратора напряжения 97.
Второй элемент ИЛИ 98 установлен у выходов третьего компаратора напряжения 96 и четвертого компаратора напряжения 97.
Это значит, что сигнал на входе Op1h третьего компаратора напряжения 96 равен 1/2 VCC, так же, как и сигнал на входе А1 первого компаратора напряжения 86, а сигнал на входе Ор21 четвертого компаратора напряжения равен 1/4 VCC, так же, как и сигнал на входе Bh второго компаратора напряжения 87.
Величины сопротивлений шестого сопротивления R6 100, седьмого сопротивления
R7 101 и восьмого сопротивления R8 102 могут быть установлены различными. Например, если установить соотношение величин сопротивлений как R6:R7:R8=1:3:1, то сигнал на входе Ор11 третьего компаратора напряжения 96 будет равен 4/5 VCC, а сигнал на входе Op2h четвертого компаратора напряжения 97 станет равным 4/5 VCC.
Таким образом, в нормальном состоянии, благодаря сигналу на входе Op1h третьего компаратора напряжения 96, сигнал на выходе третьего компаратора напряжения 96 становится ниже, а благодаря тому, что сигнал на входе Op2h четвертого компаратора напряжения 97 меньше сигнала на входе Ор11, сигнал на выходе четвертого компаратора напряжения 97 становится ниже.
В этом состоянии, при обрыве линии L1, вход Op1h третьего компаратора напряжения 96 соединен с первым сопротивлением 89 и запитан, величина сигнала на входе Op1h становится равной 1VCC, то есть величина сигнал на входе Op1h становится выше начальной величины сигнала на входе Op1h третьего компаратора напряжения 96, и сигнал на выходе третьего компаратора напряжения 96 становится выше.
При обрыве линии L2 вход Ор21 четвертого компаратора напряжения 97 соединен со вторым сопротивлением 91, величина сигнала на входе Ор11 становится равной «0», сигнал на входе Op2h больше, чем на входе Ор21, и сигнал на выходе четвертого компаратора напряжения 97 становится выше.
Как следует из вышеизложенного, при обрыве как L1, так и L2, сигналы на выходах третьего компаратора напряжения 96 и четвертого компаратора напряжения 97 становятся выше, и благодаря этим сигналам третьего компаратора напряжения 96 и четвертого компаратора напряжения 97, второй элемент ИЛИ 98 определяет обрыв обеих линий L1 И L2.
Соответственно, за счет установки третьего компаратора напряжения 96, четвертого компаратора напряжения 97, шестого сопротивления 100, седьмого сопротивления 101 и восьмого сопротивления 102, обрыв соединительной линии идентифицируется немедленно, как описано выше, и соединительная линия датчика 80, которая привела к отключению датчика 80 из-за ее обрыва, может быть отремонтирована или заменена.
Фиг.12 является упрощенной электрической схемой, показывающей пример осуществления датчика перемещения, и эта схема работает аналоговым способом.
Как показано на фиг.12, имеется первый повторитель напряжения, нереверсивный вход (+) которого соединен с первым проводником 111, и второй повторитель напряжения, нереверсивный вход (+) которого соединен со вторым проводником 112.
Также имеется первый фазовый преобразователь 115, реверсивный вход (-) которого соединен с первым повторителем напряжения, и второй фазовый преобразователь 116, реверсивный вход (-) которого соединен со вторым повторителем напряжения.
За первым фазовым преобразователем 115 и вторым фазовым преобразователем 116 установлен дифференциальный усилитель 117, а с другой стороны дифференциального усилителя 117 имеется нагрузка, соединенная с этим дифференциальным усилителем 117, которая показывает величину электрической мощности и напряжения визуально. В качестве системы нагрузки 118 может использоваться электродвигатель и люминесцентная лампа.
В датчике перемещения, срабатывающем при надавливании контакта, когда датчик 110 сжимается внешним усилием, то вход, выполненный в виде первого повторителя напряжения 113 и второго повторителя напряжения 114, увеличивает электрическую мощность, делая ниже полное сопротивление, чтобы приспособиться к следующему входному сопротивлению.
Также он подает два сигнала через первый повторитель напряжения 113 и второй повторитель напряжения 114 к первому фазовому преобразователю 115 и второму фазовому преобразователю 116 при работе датчика 110, при этом фазы сдвигаются и создают разницу между двумя сигналами, что приводит к смещению нейтральной точки. Эти два сигнала, которые были сдвинуты, подаются на дифференциальный усилитель 117, а дифференциальный усилитель 117 усиливает эти сигналы, которые согласовываются с величиной напряжения на системе нагрузки 118 и полным сопротивлением.
Когда сигналы, усиленные дифференциальным усилителем 117, достигают нагрузки 118, рабочий уровень системы нагрузки 118 изменяется соответственно этим поданным сигналам, и можно визуально различить степень сжатия датчика 110 с помощью нагрузки 118.
Т.о., первый повторитель напряжения 113, второй повторитель напряжения 114, первый фазовый преобразователь 115 и второй фазовый преобразователь 116, дифференциальный усилитель 117 и система нагрузки 118 соединяются друг с другом, а датчик 110 может быть приспособлен как устройство аналогового типа, такое как датчик давления или датчик веса, или другие различные датчики, и он может измерять уровень давления или вес за счет определения степени нажатия датчика 110. Здесь, когда датчик используется как датчик веса, для первого проводника 111 и второго проводника 112 может использоваться не мягкий, а твердый материал.
Также он может быть установлен в установках, использующих газ, типа посудомоечной машины, для измерения давления газа, а также на трубах для измерения давления жидкости внутри трубы. На фиг.13 представлена упрощенная электрическая схема, показывающая другой пример осуществления датчика перемещения, срабатывающего при надавливании контакта, по настоящему изобретению, когда степень нажатия контакта определяется в результате цифровых операций.
Как показано на фиг.13, первый аналого-цифровой преобразователь (АЦП) 125 соединен с первым повторителем напряжения 123, который соединен с первым проводником 121, а второй АЦП 126 соединен со вторым повторителем напряжения 124, который соединен со вторым проводником 122. Также имеется вычитатель 127, соединенный с инвертором 128, и сдвиговый регистр 129, соединенный с инвертором 128.
При надавливании контакта 120 датчика перемещения, срабатывающего при надавливании контакта, степень сжатия датчика 120 оцифровывается, и могут быть получены цифровые данные, как показано на фиг.14. Если датчик нажат, то полное выходное сопротивление становится достаточно низким как для первого повторителя напряжения 123, так и второго повторителя напряжения 124, другими словами, увеличивая количество электричества с последующим преобразованием сигналов в цифровую форму с помощью первого АЦП 125 и второго АЦП 126.
Когда цифровые данные этих двух сигналов уменьшаются вычитателем, то результат при нажатии датчика становится меньше, чем результат для нормального состояния, и уменьшенный результат становится больше, чем для нормального состояния, когда сигнал проходит через инвертор 128.
В то же время, при изменении цифрового сигнала, он все же остается цифровым до тех пока инвертор не преобразует измеренную величину с разницей в пределах 1 и получит ожидаемые результаты, при этом действия в этом случае подобны вышеописанным.
На фиг.15 представлена упрощенная электрическая схема, показывающая различные примеры использования датчика перемещения, срабатывающего при надавливании контакта, по настоящему изобретению, и является упрощенной электрической схемой датчика, распознающего как нажатие контакта, так и обрыв цепи по мощности электрического тока, протекающего через полупроводящую матрицу.
Формирователь тока 134 соединен с первым проводником 131. Также формирователь тока 134 соединен с выключателем 135 для работы формирователя тока 134, и имеется преобразователь ток-напряжение 136, вход (-) которого соединен со вторым проводником 132, причем преобразование нажатия в напряжение происходит за счет изменения электрического напряжения в зависимости от степени нажатия.
Имеются первый компаратор напряжения 137, вход (-) которого соединен с преобразователем ток-напряжение 136, и второй компаратор напряжения 138, вход (+) которого соединен с преобразователем ток-напряжение 136.
Для работы датчика перемещения, срабатывающего при надавливании контакта, включают выключатель 135 для подачи питания на формирователь тока 134 (ID), что создает ток Irx в ветви L1, которая соединяет формирователь тока с сопротивлением RX полупроводящей матрицы 133 и ветвью L2, соединяющей второй проводник 132 и преобразователь ток-напряжение 136.
В качестве примера, когда напряжение на входе в преобразователь ток-напряжение 136 составляет 1/2 VCC и VCP в точке контакта, соединяющей вход (+) первого компаратора напряжения 137, когда сопротивление RX полупроводящей матрицы 133 сжимается и при этом сопротивление RX уменьшается, то ток Irx, поясненный выше, становится больше и этот ток Irx протекает через преобразователь ток-напряжение 136, а напряжение изменяется до Viv, а его величина становится меньше, чем 1/4 VCC.
Поэтому напряжение с величиной, меньшей, чем 1/4 VCC, подается на вход (-) первого компаратора напряжения 137, а напряжение VCP, при напряжении на входе 1/4 VCC, имеет большее значение, напряжение на входе первого компаратора напряжения 137 становится выше, и можно определить нажатие полупроводящей матрицы 133.
С другой стороны, когда величина напряжения Vop в точке контакта, соединенной со входом (-) второго компаратора напряжения 138, разделяется как 3/4 VCC, то при обрыве L1 или L2 или обоих ветвей L1 и L2, ток Ir стремится к 0, и этот ток Ir определяет напряжение Viv на преобразователе ток-напряжение 136.
Измененное напряжение становится равным 3/4 VCC и подается на вход (+) второго компаратора напряжения 138.
Т.о. величина напряжения на входе (+) становится выше величины напряжения Vop второго компаратора напряжения 138, имея величину 3/4 VCC, напряжение на выходе второго компаратора напряжения 138 становится выше, и можно обнаружить обрыв
L1 или L2 или обоих ветвей L1 и L2.
Это означает, что мы можем определить как обрыв L1 или L2, так и нажатие контакта по величине электрического тока, протекающего через полупроводящую матрицу 133, и эффективность этого такая же, как было описано выше.
На фиг.16 представлена упрощенная электрическая схема, показывающая другой пример использования датчика перемещения, срабатывающего при надавливании контакта, по настоящему изобретению, с удалением погрешностей от помех и распознаванием обрыва.
Имеется первый повторитель напряжения 148, вход (+) которого соединен с первым сопротивлением 145, и второй повторитель напряжения 149, вход (+) которого соединен со вторым сопротивлением 147.
Также имеется первый компаратор напряжения 151, вход (-) которого соединен с дифференциальным усилителем 150, и второй компаратор напряжения 152, вход (+) которого соединен с дифференциальным усилителем 150.
В датчике перемещения, срабатывающем при надавливании контакта, помехи, которые могут появиться через первое сопротивление 145 R1, L1, RX, L2 и второе сопротивление 147 R2, и помехи, которые могут появиться в электрических схемах первого повторителя напряжения 148 и второго повторителя напряжения 149, устраняются с помощью дифференциального усилителя 150, и мы получаем на выходе дифференциального усилителя 150, имеющего n входов, напряжение Vdfa=n(Vf1-Vf2), за счет чего получаем сигнал изменения сопротивления RX.
В качестве одного примера, когда имеется соотношение R1:RX:R2=1:2:1 и напряжение составляет Vcp, то рассматривая точку контакта с входом (+) первого компаратора напряжения 151, напряжение на первом повторителе напряжения 148 является нормальным, а напряжение на втором повторителе напряжения 149 составляет 1/4 VCC, и если напряжение на выходе дифференциального усилителя 150 составляет 1, то напряжение Vdfa становится равным 1/2 VCC.
Т.о., напряжение на выходе дифференциального усилителя 150 становится больше, чем 1/3 VCC, а величина напряжения Vcp на выходе первого компаратора напряжения 151 становится ниже.
При этих условиях, если сопротивление RX уменьшается из-за увеличения проводимости полупроводящей матрицы 144 при оказании на нее давления, и соотношение становится равным R1:RX:R2=2:1:2, то напряжение на первом повторителе напряжения 148 составляет 3/5 VCC, напряжение на втором повторителе напряжения 149 составляет 2/5 VCC, а напряжение Vdfa на выходе дифференциального усилителя 150 становится равным 1/5 VCC.
Т.о., в связи с тем, что напряжение Vdfa на выходе дифференциального усилителя 150 имеет меньшую величину, чем 1/3 VCC, то напряжение на первом компараторе напряжения 151 становится выше, и можно определить давление на полупроводящую матрицу 144.
Что касается напряжения Vop, то точка контакта соединения со входом (-) второго компаратора напряжения 152 разделяется как 2/3 VCC при обрыве L1 или L2 или как L1, так и L2, напряжение Vf1i на входе первого компаратора напряжения 151 становится равным VCC, а напряжение Vf2i на входе второго компаратора напряжения 152 становится равным 0.
Т.о., напряжение Vf1 на выходе первого повторителя напряжения 148 становится равным VCC, а напряжение Vf2 на выходе второго повторителя напряжения 152 становится равным 0, и напряжение Vdfa имеет большую величину, чем величина напряжения Vop, напряжение на выходе второго компаратора напряжения 152 становится выше, и можно определить обрыв линий L1 или L2 или одновременный обрыв как L1, так и L2.
На фиг.17 представлена упрощенная электрическая схема, показывающая другой пример осуществления датчика перемещения, срабатывающего при надавливании контакта, где имеется основная схема и вспомогательная схема в качестве дополнения, устраняющая помехи и применяющая специальные характеристики гистерезиса для установления степени нажатия контакта и распознавания обрыва.
Имеется выключатель 165, источник электрического тока, один вывод которого соединен с выключателем 165, а другой вывод соединен с первым проводником 161 датчика 160 с помощью соединительной линии L1.
К соединительной линии L2 подключен первый преобразователь ток-напряжение 166, первый фазовый преобразователь 168 соединен с выходом первого преобразователя ток-напряжение 166, первый фазовый преобразователь 168 соединен с дифференциальным усилителем 173, имеется детектор нажатия 174, соединенный с выходом дифференциального усилителя 173, один вход детектора нажатия 174 соединен с выходом детектора нажатия 174 через сопротивление Rhis, которое присоединено к входу (+) детектора нажатия 174.
К соединительной линии L1 подключен второй преобразователь ток-напряжение 167, который соединен с вышеуказанными элементами через сопротивление Rx, второй фазовый преобразователь 169 соединен со вторым преобразователем ток-напряжение 167, а выход второго фазового преобразователя 169 соединен с дифференциальным усилителем 173.
Между первым фазовым преобразователем 168 и дифференциальным усилителем 173 имеется первый распознаватель обрыва 171, который подключен входом (-), а между вторым фазовым преобразователем 169 и дифференциальным усилителем 173 имеется второй распознаватель обрыва 172, который подключен входом (-).
В этой электрической схеме, выходное напряжение Vdfa на дифференциальном усилителе 173 имеет значение «0» при нормальных условиях, а когда контакты датчика 160 нажимаются, величина RX становится меньше и когда ток Irx увеличивается, разница между входными напряжениями Vmain и Vsub первого фазового преобразователя 168 становится больше, и выходное напряжение Vdfa на дифференциальном усилителе 173 возрастает.
Например, если величина Vcp задана как 1/3 Vcc, выходное напряжение Vdfa на дифференциальном усилителе 173 возрастает, и значение Vdfa становится выше, чем 1/3 Vcc, напряжение на выходе детектора нажатия 174 возрастает, и можно определить нажатие контакта.
После этого проявляются свойства гистерезиса, определяемого напряжением Vdfa за счет сопротивления Rhis.
Однако если ток Irx при обрыве линии L1 станет равным «0», выходное напряжение Vmin на первом фазовом преобразователе 168 становится минимальным.
По напряжению Vop1 распознается обрыв первым распознавателем обрыва 171, который определяет, что напряжение меньше минимального Vmain, напряжение на выходе первого распознавателя обрыва 171 возрастает, за счет этого определяется обрыв линии L1.
И если ток Ir2 становится равным «0» из-за обрыва L2, то напряжение Vsub становится минимальным.
Если Vop2 на втором распознавателе обрыва 172 имеет меньшее значение, чем минимальное Vsub, то напряжение на выходе второго распознавателя обрыва 172 становится выше, за счет чего определяется обрыв линии L2.
На фиг.18-22 представлены другие примеры датчика перемещения, срабатывающего при надавливании контакта, по настоящему изобретению, отличающиеся формой датчика.
Как показано на фиг.18, имеется первая полупроводящая матрица 181 и вторая полупроводящая матрица 182, а между первой полупроводящей матрицей 181 и второй полупроводящей матрицей 182 выполнен электропроводный слой, также имеется множество параллельных проводящих линий горизонтального рисунка (R), выполненных на верхней части первой полупроводящей матрицы 181, при этом форма и структура датчика 180 могут быть различными для размещения множества полупроводящих линий вертикального рисунка (С) на нижней части второй полупроводящей матрицы, и он может устанавливаться и использоваться на сенсорном экране или клавиатуре.
Как показано на фиг.19, имеется первая полупроводящая матрица 191 и вторая полупроводящая матрица 192, первый проводник 193 в виде электропроводящего слоя выполнен в верхней части первой полупроводящей матрицы 191, второй проводник 194 в виде электропроводящего слоя выполнен в нижней части второй полупроводящей матрицы 192, множество параллельных проводящих линий горизонтального рисунка (R) выполнены на верхней части первой полупроводящей матрицы 191, и множество полупроводящих линий вертикального рисунка (С) выполнены на верхней части второй полупроводящей матрицы 192, при этом форма и структура датчика 190 могут быть различными для образования изолирующего слоя 195 между первым проводником 193 и второй полупроводящей матрицей 192, такой датчик используется подобно вышеописанному.
Как показано на фиг.20, датчик 200 выполнен полым, имеется первая полупроводящая матрица 201 и вторая полупроводящая матрица 202, первый проводник 203 в форме плоского диска выполнен на верхней части первой полупроводящей матрицы 201, второй проводник 204, напоминающий по форме таблетку, выполнен в нижней части первой полупроводящей матрицы 301, третий проводник 205, напоминающий по форме мишень, выполнен в верхней части второй полупроводящей матрицы 202, четвертый проводник 206 в форме плоского диска выполнен в нижней части второй полупроводящей матрицы 202, при этом форма и структура датчика 200 могут быть различными для размещения изолирующего слоя 207 между вторым проводником 204 и третьим проводником 205, и он может использоваться в качестве планшета мишени для стрелкового оружия или стрельбы из лука.
Как показано на фиг.21, датчик 210 выполнен полым в форме колонны, имеется первый проводник 211 и второй проводник 212, форма которых напоминает мишень, при этом форма и структура датчика 210 могут быть различными для размещения полупроводящей матрицы 213 между первым проводником 211 и вторым проводником 212, и такой датчик используется подобно вышеописанному.
Как показано на фиг.22, датчик 220 выполнен полым в форме колонны, имеется первая полупроводящая матрица 221 и вторая полупроводящая матрица 222, первый проводник 223, форма которого напоминает мишень, выполнен в верхней части первой полупроводящей матрицы 221, второй проводник 224, форма которого напоминает мишень, выполнен в нижней части второй полупроводящей матрицы 222, при этом форма и структура датчика 220 могут быть различными для размещения третьего проводника 225 между первой полупроводящей матрицей 221 и второй полупроводящей матрицей 222.
На фиг.23 представлена упрощенная электрическая схема, устраняющая посторонние помехи за счет использования основной схемы и вспомогательной схемы в качестве дополнения и усиливающая сигнал напряжения на контактном элементе датчика через дифференциальный усилитель, в качестве другого примера осуществления датчика перемещения, срабатывающего при надавливании контакта, по настоящему изобретению.
Формула изобретения
1. Датчик перемещения, срабатывающий при надавливании контакта с контактным элементом (11), причем контактный элемент (11) включает: полупроводящую матрицу (14), обладающую электрической проводимостью и упругостью, формирующую сопротивление RX; первый проводник (12), обладающий электрической проводимостью (15), установленный в верхней части полупроводящей матрицы (14); второй проводник (13), обладающий электрической проводимостью (15), установленный в нижней части полу проводящей матрицы (14) также включающий: первое сопротивление (19), соединенное с первым проводником (12) и с источником питания; второе сопротивление (21), соединенное со вторым проводником (13) и заземленное или соединенное с общей шиной, отличающийся тем, что дополнительно включает: первый компаратор напряжения (16), соединенный входом (-) с первым проводником (12); второй компаратор напряжения (17), соединенный входом (+) со вторым проводником (13); третье сопротивление (22), один вывод которого соединен с источником питания, а другой вывод соединен с входом (+) первого компаратора напряжения (16); четвертое сопротивление (23), один вывод которого соединен с входом (+) первого компаратора напряжения (16), а другой вывод соединен с входом (-) второго компаратора напряжения (17); пятое сопротивление (24), один вывод которого заземлен или соединен с общей шиной, а другой вывод соединен с входом (-) второго компаратора напряжения (17); и элемент ИЛИ (18), соединенный с первым компаратором напряжения (16) и вторым компаратором напряжения (17) и выдающий сигнал в соответствии с сигналом на их выходах, при этом полупроводящая матрица (14) выполнена в виде полупроводящего слоя, выполненного из мягкого материала, имеющего электрическую проводимость и являющегося упругим, причем при сжатии полупроводящего слоя (14) внешним усилием его электрическая проводимость увеличивается; первый проводник (12) выполнен в виде проводящего слоя на верхней части полупроводящего слоя; и второй проводник (13) выполнен в виде проводящего слоя на нижней части полупроводящего слоя.
2. Датчик по п.1, отличающийся тем, что включает контрольное сопротивление обрыва (70), которое соединено с входом (-) первого компаратора напряжения (56) и с входом (+) второго компаратора напряжения (57).
3. Датчик по п.1, отличающийся тем, что включает: третий компаратор напряжения (96), соединенный входом (+) с первым сопротивлением (89); четвертый компаратор напряжения (97), соединенный входом (-) со вторым сопротивлением (91); шестое сопротивление (100), один вывод которого соединен с источником питания, а другой вывод соединен с входом (-) третьего компаратора напряжения (96); седьмое сопротивление (101), один вывод которого соединен с входом (-) третьего компаратора напряжения (96), а другой вывод соединен с входом (+) четвертого компаратора напряжения (97); восьмое сопротивление (102), один вывод которого соединен с землей или общей шиной, а другой вывод соединен с входом (+) четвертого компаратора напряжения (97); второй элемент ИЛИ (98), соединенный с выходами третьего компаратора напряжения (96) и четвертого компаратора напряжения (97).
4. Датчик по п.1, отличающийся тем, что включает: первый повторитель напряжения (113), нереверсивный вход (+) которого соединен с первым проводником (111); второй повторитель напряжения (114), нереверсивный вход (+) которого соединен со вторым проводником (112); первый фазовый преобразователь (115), реверсивный вход (-) которого соединен с выходом первого повторителя напряжения (113); второй фазовый преобразователь (116), реверсивный вход (-) которого соединен с выходом второго повторителя напряжения (114); дифференциальный усилитель (117), соединенный с выходами первого фазового преобразователя (115) и второго фазового преобразователя (116); и нагрузка, соединенная с выходом дифференциального усилителя (117) для визуализации величины электрического тока и напряжения на выходе дифференциального усилителя (117).
5. Датчик по п.4, отличающийся тем, что включает: первый аналого-цифровой преобразователь (125), соединенный с первым повторителем напряжения (123); второй аналого-цифровой преобразователь (126), соединенный со вторым повторителем напряжения (124); вычитатель (127), соединенный с первым аналого-цифровым преобразователем (125) и вторым аналого-цифровым преобразователем (126); инвертор (128), соединенный с вычитателем (127); и сдвиговый регистр (129), соединенный с инвертором (128).
6. Датчик по п.1, отличающийся тем, что включает: формирователь тока (134), соединенный с первым проводником; выключатель (135), соединенный с формирователем тока (134) для подачи электрического тока на формирователь тока (134); преобразователь ток-напряжение (136), вход (-) которого соединен со вторым проводником (132) для преобразования электрического тока в напряжение; первый компаратор напряжения (137), вход (-) которого соединен с преобразователем ток-напряжение (136); и второй компаратор напряжения (138), вход (+) которого соединен с преобразователем ток-напряжение (136).
7. Датчик по п.1, отличающийся тем, что включает: первый повторитель напряжения (148), вход (+) которого соединен с первым сопротивлением (145); второй повторитель напряжения (149), вход (+) которого соединен со вторым сопротивлением (147); дифференциальный усилитель (150), входы которого соединены с выходами первого потока напряжения (148) и второго потока напряжения (149); первый компаратор напряжения (151), вход (-) которого соединен с выходом дифференциального усилителя (150); и второй компаратор напряжения (152), вход (+) которого соединен с выходом дифференциального усилителя (150).
РИСУНКИ
|
|