|
(21), (22) Заявка: 2007148985/28, 07.06.2006
(24) Дата начала отсчета срока действия патента:
07.06.2006
(30) Конвенционный приоритет:
09.06.2005 BR PI0502779-9
(43) Дата публикации заявки: 27.06.2009
(46) Опубликовано: 10.03.2010
(56) Список документов, цитированных в отчете о поиске:
WO 00/75614 A1, 14.12.2000. EP 0275059 A2, 20.07.1988. US 5302027 A, 12.04.1994. RU 2004112784 A, 10.04.2005.
(85) Дата перевода заявки PCT на национальную фазу:
25.12.2007
(86) Заявка PCT:
BR 2006/000133 20060607
(87) Публикация PCT:
WO 2006/130941 20061214
Адрес для переписки:
129090, Москва, ул.Б.Спасская, 25, стр.3, ООО “Юридическая фирма Городисский и Партнеры”, А.В.Мицу
|
(72) Автор(ы):
БАРБОСА Жозе Рапосо (BR), МАРШАНО Луиш Фернандо (BR), МАРТИНС Фабиано Корреа (BR), СИЛВА Марлон Одилон Шавьер (BR), ГОМЕС Алойзью да Силва (BR)
(73) Патентообладатель(и):
УСИНАС СИДЕРУРГИКАС ДЕ МИНАС ГЕРАЙС С.А. УСИМИНАС (BR)
|
(54) УСТРОЙСТВО ДЛЯ НЕПРЕРЫВНОГО ИЗМЕРЕНИЯ ТЕМПЕРАТУРЫ РАСПЛАВЛЕННОЙ СТАЛИ В ПРОМЕЖУТОЧНОМ РАЗЛИВОЧНОМ ПРИСПОСОБЛЕНИИ, ИСПОЛЬЗУЮЩЕЕ ОПТИЧЕСКОЕ ВОЛОКНО И ПИРОМЕТР ИНФРАКРАСНОГО ИЗЛУЧЕНИЯ
(57) Реферат:
Изобретение относится к измерительной технике. Устройство состоит из оптического датчика инфракрасного излучения (8), защищенного охлаждающим кожухом (30). Этот двухцветный датчик (8), снабженный оптическим волокном (9) и преобразователем оптического сигнала (10), фокусируется внутри керамической трубки (15) с высокой проводимостью тепла и света, что обеспечивает возможность получать точные данные о температуре расплавленной стали (1) в промежуточном разливочном приспособлении (2). Технический результат – уменьшение времени, в течение которого оператор подвергается воздействию высокой температуры, обеспечение быстрой, простой замены керамической трубки и повышение надежности измерений. 9 з.п. ф-лы, 2 ил.
Данное изобретение представляет собой усовершенствование, введенное в систему для непрерывного измерения температуры расплавленной стали при использовании оптического процесса.
В последние несколько десятилетий на сталелитейных заводах происходило постоянное усовершенствование как производительности, так и контроля за сохранением энергии, а также защиты окружающей среды.
Принимая во внимание, что процессы изготовления стали требуют жесткого контроля теплового режима, особенно при высоких температурах, измерение температуры играет фундаментальную роль в достижении условий, которые требуются для соответствующего развития производства. Химические реакции между газами и твердым веществом внутри доменной печи и емкостей с высококачественной сталью являются примерами стадий процесса, в которых контроль температуры является существенным для достижения наилучших результатов в условиях поддержания качества продукции.
С точки зрения значительной сложности измерения температуры в ходе этих процессов, так как оно включает обращение с расплавленной сталью в конверторах, ковшах и промежуточных разливочных приспособлениях при непрерывном литье, контроль температуры осуществляется посредством использования специальных платиновых термопар или термопар из сплавов благородных металлов. Такие термопары прикрепляются к имеющимся в распоряжении головкам для возможных измерений или надлежащей защиты при длительных измерениях, как в случае процесса отверждения при непрерывном литье. Этот процесс требует непрерывного измерения температуры для получения оптимального контроля механизированного процесса непрерывного литья и надлежащего качества пластины.
В настоящее время принятым способом является использование пирометра инфракрасного излучения, принцип действия которого основан на излучении, испускаемом определенным материалом. Свет воспринимается датчиком и передается с помощью оптического волокна к преобразователю сигнала (преобразующему оптический сигнал в электрический). Данные обрабатываются электронным преобразователем сигнала с помощью математического уравнения, который вычисляет и отображает температуру. Эта система в основном состоит из измерительного устройства, шарнирного манипулятора, устройства преобразования сигнала и системы контроля.
Измерительное устройство механически соединяется с шарнирным манипулятором и электрически соединяется с устройством преобразования сигнала.
Оптический блок, который является измерительным блоком, содержит один оптический датчик, закрепляющую трубку, стальной трубопровод и оптическое волокно. По оптическому волокну передается сигнал от оптического датчика к устройству преобразования сигнала, которое в свою очередь передает его как электрический сигнал к системе контроля.
Измерительная трубка представляет собой керамическую трубку, которая погружается в расплавленный металл и работает как поле зрения для оптического датчика.
Для выполнения измерения шарнирный манипулятор управляет измерительной системой так, чтобы разместить ее над промежуточным разливочным приспособлением, и передвигает ее до тех пор, пока керамическая измерительная трубка не погрузится в металлическую ванну на предварительно заданную глубину. Настройка расстояния между оптическим датчиком и концом измерительной трубки, погруженной в металлическую ванну, наряду с регулировкой характерного внутреннего профиля измерительной трубки и датчика заставляет датчик фокусироваться в заданном поле зрения.
С точки зрения экономии доказано, что этот способ имеет больше преимуществ, чем использование платинового датчика В-типа (термопары). Однако приходится сталкиваться с определенными техническими проблемами и проблемами обработки, такими как высокая температура в корпусе датчика инфракрасного излучения (>200°C); необходимость контроля температуры для защиты датчика; тип защиты датчика и установочного блока; длина трубки из нержавеющей стали и внутренний диаметр, требующийся для прикрепления датчика; необходимость сделать применение удобным и замену керамического устройства более простой; охлаждение идеального датчика и оптического волокна без воздействия на измерения; точное определение расстояния между датчиком и дном керамической трубки; определение внутреннего диаметра керамической трубки для проведения точного измерения; подходящая длина керамической трубки; введение кварца внутрь керамической трубки и удаление из нее; изменение давления газа в системе охлаждения датчика и оптического волокна; помехи измерений при изменении уровня стали в ванне; закрепление и регулировка датчика в трубке из нержавеющей стали; настройка временного отклика измерения; настройка фактора коррекции; измерение отношения показаний двух датчиков (угловой коэффициент).
Целью настоящего изобретения является решение этих проблем и обеспечение использования оптических устройств для непрерывного измерения температуры в процессах, включающих высокие температуры, таких как непрерывное литье. Устройство было сконструировано для адаптации и защиты как измерительной трубки, так и оптического инструмента.
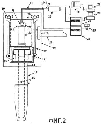
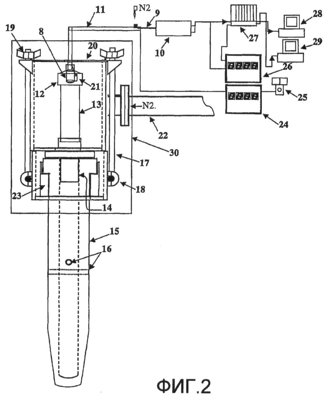
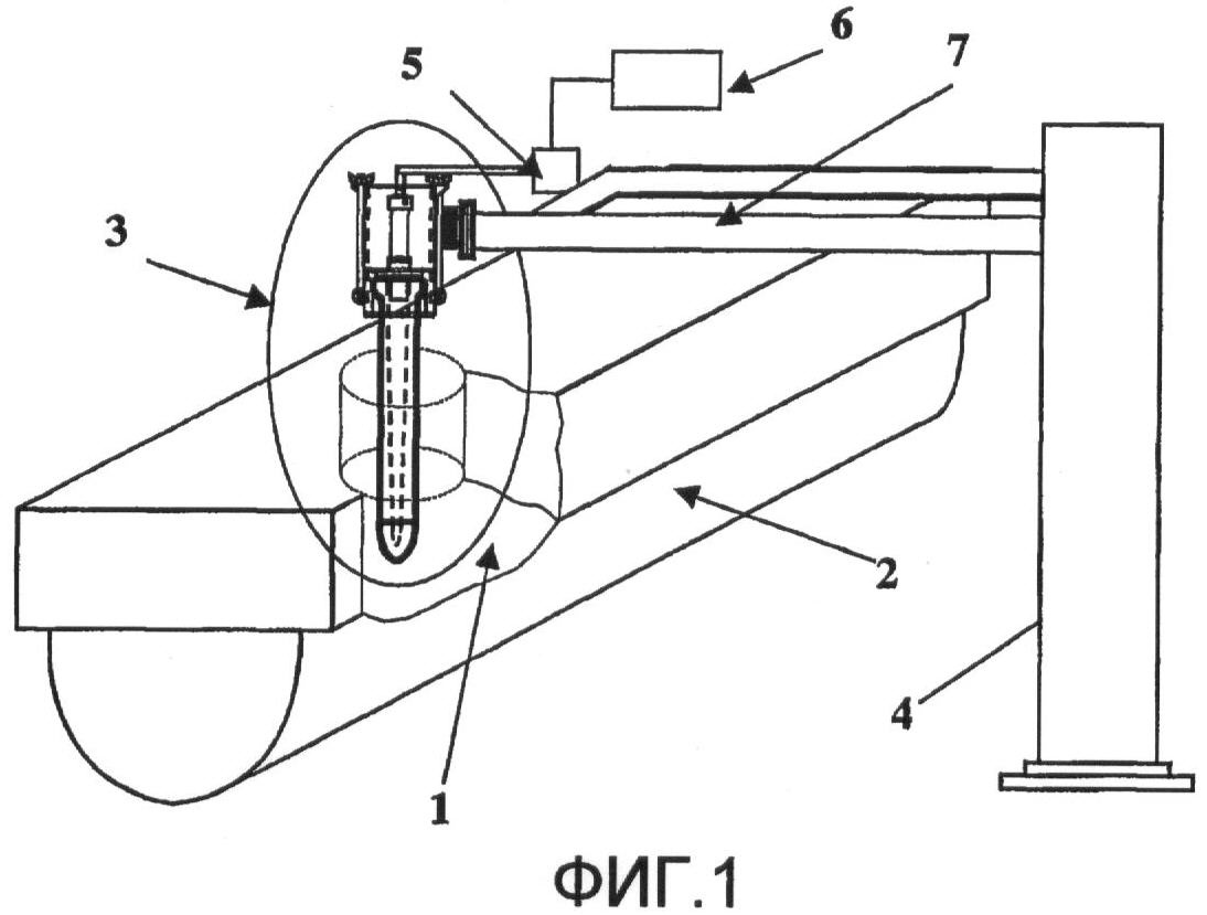
Это устройство показано на фиг.1 и 2, на которых:
1 – расплавленная сталь
2 – промежуточное разливочное приспособление
3 – измерительное устройство
4 – шарнирный манипулятор
5 – устройство преобразования сигнала
6 – система контроля
7 – манипулятор в виде руки и отверстие для инертного газа
8 – оптический датчик инфракрасного излучения
9 – оптическое волокно
10 – преобразователь оптического сигнала
11 – стальной корпус
12 – ниппель для закрепления оптического датчика
13 – трубка для закрепления и охлаждения оптического датчика
14 – направляющая трубка для керамического измерительного устройства
15 – керамическая трубка
16 – выходные отверстия для инертного газа
17 – ригельный стержень
18 – шарниры ригельного стержня
19 – гайка-барашек для закрепления ригельного стержня
20 – эксплуатационная крышка
21 – термопара для измерения температуры оптического датчика
22 – манипулятор в виде руки
23 – установочный элемент керамической трубки
24 – контроль температуры внутреннего датчика
25 – аудиовизуальный дисплей
26 – дисплей для отображения локальной непрерывной температуры
27 – программируемый логический контроллер машины непрерывного литья
28 – станция контроля
29 – компьютер для обработки
30 – охлаждаемый кожух
Усовершенствованное измерительное устройство имеет охлаждаемый кожух (30) для защиты оптического датчика инфракрасного излучения (8) (двухцветный датчик (8)). Этот датчик (8) снабжен оптическим волокном (9) и преобразователем оптического сигнала (10) (преобразующим оптический сигнал в электрический). Оптический датчик (8) инфракрасного диапазона, который фокусируется внутри керамической трубки (15), изготавливается из прессованной графитированной окиси алюминия, которая способна обеспечивать хорошую световую и тепловую проводимость, тем самым обеспечивая возможность точного измерения температуры расплавленной стали (1) при нахождении стали в промежуточном разливочном приспособлении (2). Срок службы керамической трубки (15) зависит от марки стали, которая производится. Он составляет в среднем 24 часа, иногда больше. База керамической трубки (15) изменялась для обеспечения точного изготовления и облегчения перемещения в ходе работы. Усовершенствования вводились в трубку для закрепления и охлаждения оптического датчика (13) с целью упрощения замены керамической трубки (15). Термопара (21) для измерения температуры оптического датчика прикрепляется к контроллеру температуры (24) для генерации аудиовизуального изображения на дисплее (25), если температура выше, чем установленная величина.
Основной принцип действия оптического инфракрасного датчика (8) основан на восприятии света, излучаемого определенным материалом. Излучение воспринимается оптическим датчиком инфракрасного излучения (8) и передается с помощью оптического волокна (9) к преобразователю сигнала (10), который преобразует сигнал из оптического в электрический (на выходе от 4 до 20 мА). Двухцветный оптический датчик инфракрасного излучения (8) снабжается двумя датчиками для одновременной регистрации излучения. Регистрация производится с помощью электронного преобразователя сигнала (10) с использованием математического уравнения, который вычисляет и передает на выход температуру процесса, которая пропорциональна температуре керамической трубки (15). Результат уравнения не зависит от излучательной способности керамической трубки (15); точнее он зависит только от длины волны, генерируемой внутри горячей керамической трубки (15), которая пропорциональна воздействующей температуре.
В этой системе керамическую трубку (15) необходимо заменять после каждых 15 часов работы, т.е. когда заменяется промежуточное разливочное приспособление (2); при этом нет необходимости заменять оптический датчик инфракрасного излучения (8). Эта замена является быстрой, легкой задачей.
Преимущества использования этого измерительного устройства таковы: оператор подвергается воздействию высоких температур в течение меньшего времени, повышается безопасность работы, снижается стоимость работы, снижается стоимость технического обслуживания, повышается надежность измерений и появляется возможность управления скоростью литья с помощью компьютерного процесса.
Устройство освобождается от помех, связанных с оператором, в ходе измерений и замены керамической трубки (15) вручную, т.к. оптический датчик инфракрасного излучения (8) прикрепляется таким образом, что внешние воздействия не вызывают каких-либо повреждений в процессе замены керамической трубки (15).
Формула изобретения
1. Устройство для непрерывного измерения температуры расплавленной стали в промежуточном разливочном приспособлении, использующее оптическое волокно и пирометр инфракрасного излучения, предназначено для непрерывного измерения температуры расплавленного металла (1), содержащее оптический инфракрасный датчик, снабженный оптическим волокном и оптическим преобразователем сигнала для преобразования оптического сигнала в электрический сигнал, и керамическую трубку, отличающееся тем, что оптический датчик фокусируется внутри керамической трубки, и при этом уменьшение нестабильности измерения температуры при изменениях уровня расплавленной стали (1) внутри промежуточного разливочного приспособления обеспечено посредством увеличения длины керамической трубки (15) и с помощью выходных отверстий для инертного газа (16), позволяющих удалить частицы кварца, сформированные внутри керамической трубки (15) в процессе измерения, при котором используется управление давлением охлаждающего инертного газа для сохранения стабильности измерения; керамическая трубка (15) удерживается в установочном элементе (23) и закрепляется с помощью шарнирных ригельных стержней (17), прикрепленных с помощью гаек-барашков (19).
2. Устройство по п.1, в котором устройство содержит оптический датчик (8) инфракрасного излучения, который представляет собой двуцветный датчик.
3. Устройство по п.2, в котором двуцветный датчик снабжен двумя датчиками.
4. Устройство по п.1, в котором керамическая трубка (15) выполнена из прессованной графитированной окиси алюминия.
5. Устройство по п.1, в котором устройство содержит контроллер (24) температуры.
6. Устройство по п.1, в котором указанный контроллер (24) температуры генерирует аудиовизуальный сигнал (25).
7. Устройство по п.1, в котором устройство содержит электронный преобразователь сигнала (10), который вычисляет и передает на выход температуру, которая пропорциональна температуре керамической трубки (15).
8. Устройство по п.1, в котором устройство дополнительно содержит охлаждаемый кожух (30).
9. Устройство по п.1, в котором керамическая трубка (15) содержит ригельные стержни (17), шарниры (18) ригельного стержня и гайки-барашки (19) для закрепления ригельных стержней (17).
10. Устройство по п.9, в котором имеется охлаждаемый кожух (30) для защиты оптического датчика (8) и оптический датчик прикреплен таким образом, что обеспечивается защита от внешних воздействий в процессе замены керамической трубки.
РИСУНКИ
|