|
|
(21), (22) Заявка: 2008114283/28, 11.04.2008
(24) Дата начала отсчета срока действия патента:
11.04.2008
(43) Дата публикации заявки: 20.10.2009
(46) Опубликовано: 10.03.2010
(56) Список документов, цитированных в отчете о поиске:
SU 1002834 А2 07.03.1983. RU 2258904 C1 20.08.2005. SU 721675 A1 15.03.1980. RU 2112920 C1 10.06.1998.
Адрес для переписки:
426033, г.Ижевск, а/я 4579, ЗАО “РС-Лизинг”
|
(72) Автор(ы):
Мурашов Владислав Михайлович (RU)
(73) Патентообладатель(и):
Закрытое акционерное общество “РС-Лизинг” (RU)
|
(54) УСТРОЙСТВО ДЛЯ ИЗМЕРЕНИЯ ЛИНЕЙНЫХ РАЗМЕРОВ
(57) Реферат:
Устройство относится к пневматической измерительной технике и может быть использовано для измерения линейных размеров. Изобретение направлено на расширение диапазона измерения при сохранении высокой чувствительности. Заявленное устройство для измерения линейных размеров содержит несколько последовательно соединенных пневматических длиномеров высокого давления ротаметрического типа, каждый из которых включает ротаметрическую трубку с поплавком, настроечные вентили и линейную шкалу с указателями пределов измерения, при этом вход первого длиномера соединен с источником воздуха, а выход последнего длиномера соединен с соплами измерительной оснастки. 1 ил.
Изобретение относится к пневматической измерительной технике и может быть использовано для измерения линейных размеров.
Известно устройство пневматического длиномера высокого давления ротаметрического типа, описанное в книге А.В.Высоцкого, А.П.Курочкина «Пневматические средства измерений линейных размеров в машиностроении», М., 1979, с.66-67, фиг.33-34, принятое в качестве прототипа, состоящее из ротаметрической трубки с поплавком, дросселя параллельного пропуска воздуха, последовательного сброса воздуха, дросселя сброса воздуха в атмосферу и линейной шкалы с указателями пределов измерения.
Недостатком известного устройства является малая предельная длина шкалы, в среднем составляющая 200-250 мм. Диапазон и точность измерения данного устройства зависят от цены деления шкалы и ее длины. При увеличении диапазона измерения разрешающая способность прибора падает.
Для увеличения диапазона измерения с сохранением чувствительности применяются ротаметры с увеличенной длиной шкалы 9 и 15 дюймов. Однако такие приборы сложны в изготовлении, неудобны в эксплуатации и допускают значительное увеличение диапазона.
Задачей заявляемого изобретения является расширение диапазона измерения при сохранении высокой чувствительности.
Указанный технический результат достигается тем, что устройство для измерения линейных размеров содержит несколько последовательно соединенных пневматических длиномеров высокого давления ротаметрического типа, каждый из которых включает ротаметрическую трубку с поплавком, настроечные вентили и линейную шкалу с указателями пределов измерения, при этом вход первого длиномера соединен с источником воздуха, а выход последнего длиномера соединен с соплами измерительной оснастки.
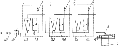
Устройство для измерения диаметра отверстий поясняется метрологической схемой, на которой изображено устройство для измерения линейных размеров, содержащее три последовательно соединенных длиномера 1, 2, 3, сопло измерительной оснастки 4 с контролируемой деталью 5, настроечные вентили 6, 7, 8, 9, 10, 11, поплавки 12, 13, 14, входной кран 15, стабилизатор воздуха 16.
Процесс измерения линейных размеров осуществляют следующим образом.
Воздух из пневмосети через кран 15 поступает в стабилизатор воздуха 16 и далее на вход длиномера 1. С выхода длиномера 1 воздух поступает на вход длиномера 2. С выхода длиномера 2 воздух поступает на вход длиномера 3. С выхода длиномера 3 воздух через измерительное сопло 4 поступает в измерительный зазор между торцом сопла 4 и плоскостью контролируемой детали 5. Минимальная величина измерительного зазора равна начальному зазору S1. Диапазон измерения устройства определяется, как = 1+ 2+ 3, где 1, 2, 3 – диапазоны измерения каждого длиномера 1, 2, 3.
При условии, что весь диапазон измерения =30 мкм, то диапазон измерения каждого длиномера 1, 2, 3 будет равен 10 мкм. С помощью настроечных вентилей 9, 10, 11 указанный диапазон измерения (10 мкм) растягивается на всю шкалу длиномеров 1, 2, 3. Таким образом, L1=10 мкм, L2=10 мкм, L3=10 мкм.
С помощью вентиля 6 длиномер 1 настраивают так, что при S1=0 его поплавок 12 находится напротив нижнего предела измерения его шкалы, а при зазоре, равном S1+ 1, напротив верхнего предела измерения. Длиномер 2 настраивают с помощью вентиля 7 так, что при зазоре, равном S1+ 1, его поплавок 13 находится напротив нижнего предела измерения его шкалы, который соответствует =10 мкм, а при зазоре, равном S2+ 2, напротив верхнего предела измерения, что соответствует диапазону измерения =20 мкм. Длиномер 3 настраивают с помощью вентиля 8 так, что при зазоре 3 его поплавок 14 находится напротив нижнего предела шкалы, который соответствует =20 мкм, а при зазоре, равном S3+ 3, напротив верхнего предела измерения, что соответствует диапазону измерения =30 мкм.
При установке перед соплом 4 контролируемой детали 5 с размерами в пределах 1 поплавок 12 длиномера 1 установится напротив деления шкалы, соответствующего этому размеру, поплавки 13, 14 длиномеров 2 и 3 будут находиться ниже нижних пределов их шкал. При контроле размеров детали 5 в пределах 2 поплавок длиномера 1 выйдет за пределы шкалы, а поплавок 14 длиномера 3 будет находиться ниже нижнего предела шкалы, а поплавок 13 длиномера 2 покажет величину контролируемого размера в пределах 2.
Таким образом, применение устройства для измерения линейных размеров позволяет расширить диапазон измерения при сохранении высокой чувствительности.
Формула изобретения
Устройство для измерения линейных размеров состоит из нескольких последовательно соединенных пневматических длиномеров высокого давления ротаметрического типа, каждый из которых содержит ротаметрическую трубку с поплавком, настроечные вентили и линейную шкалу с указателями пределов измерения, при этом вход первого длиномера соединен с источником воздуха, а выход последнего длиномера соединен с соплами измерительной оснастки.
РИСУНКИ
|
|